патент
№ RU 2456698
МПК H01J45/00

ТЕРМОЭЛЕКТРИЧЕСКИЙ ПРЕОБРАЗОВАТЕЛЬ СО ЩЕЛОЧНЫМ МЕТАЛЛОМ

Авторы:
Каландаришвили Арнольд Галактионович
Номер заявки
2011112679/07
Дата подачи заявки
04.04.2011
Опубликовано
20.07.2012
Страна
RU
Как управлять
интеллектуальной собственностью
Чертежи 
1
Реферат

Изобретение предназначено для повышения эффективности работы термоэлектрического преобразователя со щелочным металлом (АМТЕС), преобразующим тепловую энергию непосредственно в электрическую энергию. Изобретение может быть использовано как в наземных, так и в космических условиях как генератор, преобразующий различную тепловую энергию (солнечную, тепловых электростанций, ядерную и др.) с высоким КПД в электрическую энергию. Технический результат - повышение срока службы термоэлектрического преобразователя, стабильности его выходных электрических параметров за счет материалов и конструкции электродов и твердого электролита. Термоэлектрический преобразователь тепловой энергии в электрическую со щелочным металлом содержит в качестве твердого электролита ориентированный пиролитический графит интеркалированный щелочным металлом, С-ось которого перпендикулярна графитовым слоям и служит одновременно одним из электродов, второй электрод выполнен ив металла с открытой пористостью и размещен вблизи от твердого электролита в холодной области, а рабочим телом служат щелочные металлы: цезий, рубидий и калий. 1 з.п.ф-лы, 2 ил.

Формула изобретения

1. Термоэлектрический преобразователь со щелочным металлом, состоящий из средств подвода и отвода тепла, вакуумированного объема, разделенного твердым электролитом на две герметичные области, двух электродов с герметичными электрическими выводами на нагрузку, патрубка возврата жидкого конденсата щелочного металла из зоны конденсации в зону испарения с установленным на нем электромагнитным насосом, отличающийся тем, что в качестве твердого электролита используют ориентированный пиролитический графит, интеркалированный щелочным металлом, С-ось которого перпендикулярна графитовым слоям, являющийся одновременно одним из электродов, а второй электрод выполнен из металла с открытой пористостью, разделен с первым электродом межэлектродным промежутком и расположен со стороны зоны конденсации.

2. Термоэлектрический преобразователь по п.1, отличающийся тем, что в качестве щелочного металла используют цезий, или рубидий, или калий.

Описание

[1]

Изобретение относится к области энергетики, точнее к системам, преобразующим тепловую энергию (солнечную, тепловых электростанций, ядерную и др.) непосредственно в электрическую энергию как в наземных, так и в космических условиях, и может быть использовано для повышения эффективности работы одного из видов этого типа устройств, а именно, термоэлектрических преобразователей энергии (ТЭП) со щелочными металлами (далее - Alkali metal thermal to Electric Conversion (AMTEC).

[2]

Известны основополагающие работы (1. Патент США №3458356, 1969, Thermo-Electric Generator, J.T.Kummer and N.Weber, 2. Thermoelectric Energy Conversion with Solid Electrolytes, Science, 1983, p.915, T.Cole), в которых описаны устройство и способ преобразования тепловой энергии непосредственно в электрическую.

[3]

Наиболее близким прототипом является термоэлектрический преобразователь со щелочным металлом (см. Патент США №3458356, 1969, Thermo-Electric Generator, J.T.Kummer and N.Weber)

[4]

ТЭП со щелочным металлом представляет собой замкнутый вакуумный объем со средствами подачи и отвода тепла и разделенный твердым электролитом на две герметичные части - зоны испарения и конденсации рабочего тела. Зоны испарения и конденсации рабочего тела соединены патрубком с электромагнитным насосом. Твердый электролит с обеих сторон покрыт тонкопленочными пористыми металлическими электродами, которые с помощью электрических выводов через стенку устройства подсоединены к нагрузке. Твердый электролит представляет собой β″Al2O3,

[5]

(далее, BASE. - beta" - alumina solid electrolyte).

[6]

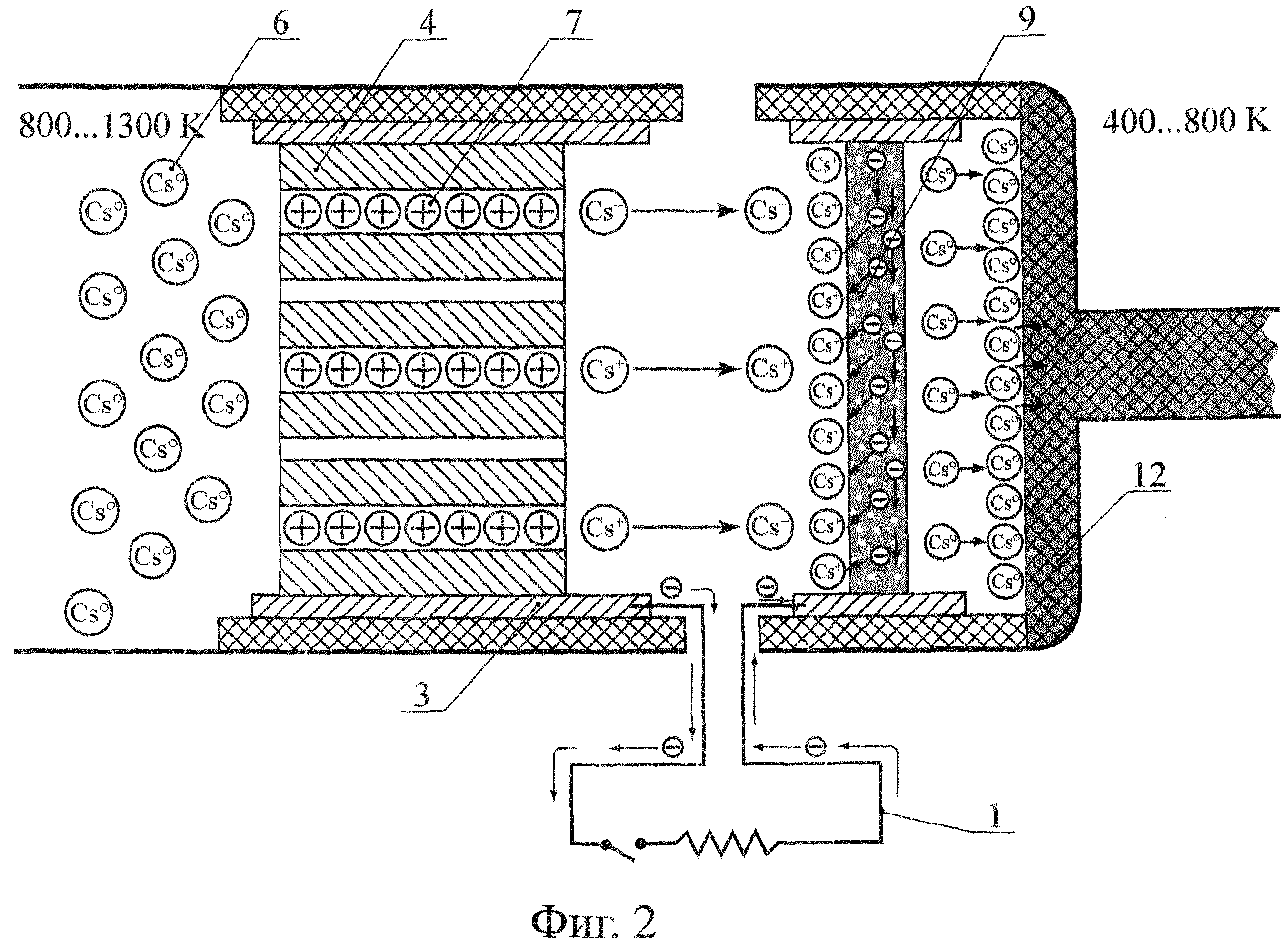
Рабочее тело - натрий заполняет область высокого давления ТЭП, которую поддерживают при температуре T2 в интервале 800…1300 K с помощью внешнего источника тепла. При этих температурах давление насыщенных паров натрия находится в интервале 0,05…2,5 атм. (5,0·103…2,5·105 Пa). Область низкого давления в основном содержит пар натрия и малое количество жидкого натрия и находится при температуре T1 в интервале 400…800 K, при которой производится давление пара натрия в интервале от 10-9 до 10-2 атм. (10-4 до 103 Па).

[7]

Пар натрия из области с высоким давлением, диффундируя через пористые электроды и твердый электролит, попадает в область низкого давления, конденсируясь в жидкую фазу, которая затем с помощью электромагнитного наноса по патрубку возврата жидкого натрия возвращается в высокотемпературную область для рециркуляции через твердый электролит, тем самым замыкая циркуляционный контур и заканчивая рабочий цикл процесса.

[8]

Вначале цикла пар натрия при температуре T1 из зоны конденсации, попадая в высокотемпературную область, аккумулирует тепловую энергию до тех пор, пока не достигнет температуры Т2. Температура генерирует давление (химический потенциал) для силового движения ионов натрия сквозь твердый электролит по направлению к поверхности с низким давлением. В BASE натрий диффундирует только в виде как Na+ по реакции:

[9]

[10]

Эта реакция имеет место на интерфейсе жидкий натрий (пар) - BASE, когда натрий диффундирует через твердый электролит. Символ (Na+) BASE означает, что ион натрия является проводником в β″Al2O3.

[11]

При разомкнутом контуре ионы натрия благодаря термической кинетической энергии диффундируют по направлению к поверхности BASE, находящейся при низком давлении, принося туда положительный заряд. Достаточно сильное электрическое поле возникает на BASE и существует до тех пор, пока есть движение потока ионов натрия. Напряжение разомкнутой цепи дается уравнением Нернста для концентрационной ячейки:

[12]

Vэдc=RT2F-lln(P2/P4),

[13]

где R - газовая константа, F - число Фарадея, Р2 - давление пара натрия при температуре Т2 и Р4 - давление пара натрия на пористом электроде, примыкающем к низкой области давления пара натрия.

[14]

Когда плотность тока через BASE равна нулю, P4 будет зависеть от давления пара натрия поверхности конденсации P1 выражением:

[15]

P4(i=0)=P1(T2/T1)1/2

[16]

Когда внешняя цепь замкнута, электроны проходят через нагрузку и нейтрализуют ионы натрия на пористом электроде низкого давления (обратное направление реакции 1). Далее уже нейтральные атомы натрия, обладая теплотой испарения, покидают пористый электрод, движутся через паровое пространство и выделяют теплоту конденсации при температуре T1.

[17]

Напряжение, которое возникает вдоль твердого электролита, является силой, которая двигает электроны через нагрузку, при которой совершается электрическая работа.

[18]

Основным недостатком термоэлектрического генератора со щелочным металлом (АМТЕС) является низкая стабильность тонкопленочных металлических электродов, связанная с коррозией материала, из-за наличия в окружающей электроды атмосфере активных составляющих: кислорода, водорода, углеводородов и др.

[19]

Технический результат - повышение срока службы термоэлектрического преобразователя, стабильности его выходных электрических параметров.

[20]

Для этого предложен термоэлектрический преобразователь со щелочным металлом. Состоящий из средств подвода и отвода тепла, вакуумированного объема, разделенного твердым электролитом на две герметичные области, двух электродов с герметичными электрическими выводами на нагрузку, патрубка возврата жидкого конденсата щелочного металла из зоны конденсации в зону испарения с установленным на нем электромагнитным насосом, при этом в качестве твердого электролита используют ориентированный пиролитический графит интеркалированный щелочным металлом, С-ось которого перпендикулярна графитовым слоям, являющийся одновременно одним из электродов, а второй электрод выполнен из металла с открытой пористостью, разделен с первым электродом межэлектродным промежутком и расположен со стороны зоны конденсации.

[21]

Кроме того, в качестве щелочного металла используют цезий или рубидий, или калий.

[22]

На фигурах 1 и 2 показан предлагаемый термоэлектрический преобразователь со щелочным металлом, который содержит следующие основные узлы:

[23]

1. Электрическая нагрузка, контур потребителя;

[24]

2. Высокотемпературная область (Температура 800…1300 K);

[25]

3. Металлокерамические электрические выводы электрод-нагрузка;

[26]

4. Изолятор из окиси алюминия;

[27]

5. Зона испарения щелочного металла;

[28]

6. Пар щелочного металла (цезий, рубидий, калий);

[29]

7. Твердый электролит (электрод) - ориентированный пиролитический графит, интеркалированный щелочным металлом, С-ось которого перпендикулярна графитовым слоям;

[30]

8. Патрубок для возврата жидкого конденсата щелочного металла из зоны конденсации в зону испарения;

[31]

9. Металлический электрод с открытой пористостью;

[32]

10. Изолятор из окиси алюминия;

[33]

11. Электромагнитный насос;

[34]

12. Зона испарения натрия из капиллярной структуры;

[35]

13. Низкотемпературная область (Температура 400…800 K).

[36]

Предлагаемый термоэлектрический преобразователь со щелочным металлом в качестве рабочего тела содержит в качестве твердого электролита 5 ориентированный пиролитический графит, интеркалированный щелочным металлом, С-ось которого перпендикулярна графитовым слоям. Твердый электролит служит одновременно одним из электродов, второй электрод 8 выполнен из металла с открытой пористостью и размещен вблизи от твердого электролита в низкотемпературной области. Рабочим телом служат щелочные металлы: цезий или рубидий, или калий.

[37]

Электроды разделены межэлектродным промежутком и изолированы от корпуса диэлектриком из окиси алюминия 4 и 10. Электрические контакты от обоих электродов выведены через металлокерамические выводы 3 через корпус изделия и подключены к внешней нагрузке 1.

[38]

Термоэлектрический преобразователь со щелочным металлом работает следующим образом. Рассмотрим работу устройства с рабочим телом, в качестве которого использован цезий. Использование рубидия и калия обусловлено их аналогичными цезию физико-химическими свойствами. Щелочные металлы цезий, рубидий и калий обладают низким потенциалом ионизации (3,89 eV - Cs, 4,34 eV - Rb, 5,14 eV - K в то время, как работа выхода электронов для графита равна 5,5 eV). Это позволяет нейтральным атомам щелочных металлов в нагретом состоянии, взаимодействуя с графитом, отдавать валентный электрон зоне проводимости графита, ионизироваться и затем внедряться между слоями графита (См. Каландаришвили А.Г. Источники рабочего тела для термоэмиссионных преобразователей энергии. - 2-е издание, доп., - Ж: Энергоатомиздат, 1993 г. - 304 с., с.183, а затем под действием перепада давления перемещаться из горячей в холодную зону, из которой они затем испаряются в виде ионов цезия. Далее они, перемещаясь, достигают металлического электрода с открытой пористостью, выполненный, например, из молибдена, вольфрама и др., где нейтрализуются и в дальнейшем в виде нейтральных атомов цезия достигают и адсорбируются в зоне конденсации. Содержание цезия в твердом электролите зависит от температуры графита и величины давления пара цезия над поверхностью графита и может управляться требуемым образом.

[39]

Разделение электродов и использование твердого электролита из графита, интеркалированного щелочным металлом, позволяет повысить стабильность и срок службы термоэлектрического преобразователя со щелочным металлом. Технический эффект достигается за счет исключения тонкопленочных пористых металлических электродов, подверженных постоянной коррозии, что приводит к нестабильности выходных электрических параметров преобразователя.

Как компенсировать расходы
на инновационную разработку
Похожие патенты