патент
№ RU 2618572
МПК B60J10/70

СПОСОБ КРЕПЛЕНИЯ ПЛОСКОГО ЗАЩИТНОГО СТЕКЛА ИЛЛЮМИНАТОРА

Авторы:
Иванов Илья Александрович Каверин Виктор Александрович Мозжухин Евгений Павлович
Все (12)
Номер заявки
2016116148
Дата подачи заявки
26.04.2016
Опубликовано
04.05.2017
Страна
RU
Как управлять
интеллектуальной собственностью
Чертежи 
2
Реферат

Изобретение относится к узлам крепления летательных аппаратов (ЛА). Способ крепления плоского защитного стекла иллюминатора включает установку стекла в оправу, его фиксацию по контуру планкой, герметизацию. Оправой служит корпус ЛА, на буртики которого изнутри наносят слой герметика или изолирующего покрытия толщиной до 3 мм. Стекло устанавливают в корпус изнутри до упора в буртики и фиксируют изнутри съемной контурной планкой с плоской прижимной частью. Герметизацию стыков между стеклом, корпусом и планкой осуществляют с помощью упругих прокладок и герметика. Контурную планку закрепляют изнутри корпуса винтами. Герметизацию внутреннего объема осуществляют посредством упругой прокладки, которую размещают между боковой поверхностью защитного стекла и корпусом. Изобретение направлено на выравнивание наружной поверхности ЛА. 10 з.п. ф-лы, 3 ил.

Формула изобретения

1. Способ крепления плоского защитного стекла иллюминатора, включающий установку стекла в оправу, его фиксацию по контуру планкой, герметизацию, отличающийся тем, что оправой защитного стекла иллюминатора при его установке на летательный аппарат служит корпус летательного аппарата, при этом на буртики корпуса изнутри наносят слой герметика или изолирующего покрытия толщиной не более 3 мм, стекло устанавливают в корпус изнутри до упора в буртики и фиксируют изнутри съемной контурной планкой с плоской прижимной частью, а герметизацию стыков между стеклом, корпусом и планкой осуществляют с помощью упругих прокладок и герметика.

2. Способ крепления плоского защитного стекла иллюминатора по п. 1, отличающийся тем, что съемной контурной планкой одновременно фиксируют не менее двух расположенных рядом защитных стекол.

3. Способ крепления плоского защитного стекла иллюминатора по п. 1, отличающийся тем, что съемную контурную планку закрепляют изнутри корпуса с помощью винтов.

4. Способ крепления плоского защитного стекла иллюминатора по п. 1, отличающийся тем, что герметизацию осуществляют посредством упругой прокладки, которую размещают между боковой поверхностью защитного стекла и корпусом.

5. Способ крепления плоского защитного стекла иллюминатора по п. 4, отличающийся тем, что упругая прокладка содержит лабиринтное уплотнение, которое ориентируют в сторону защитного стекла.

6. Способ крепления плоского защитного стекла иллюминатора по п. 1, отличающийся тем, что герметизацию осуществляют посредством упругой прокладки, которую размещают между внутренней плоской поверхностью защитного стекла и прижимной частью контурной планки.

7. Способ крепления плоского защитного стекла иллюминатора по п. 6, отличающийся тем, что дополнительно герметизацию осуществляют посредством упругой прокладки, которую размещают между внутренней поверхностью корпуса и прижимной частью контурной планки, при этом винты крепления планки к корпусу располагают снаружи пояса герметизации.

8. Способ крепления плоского защитного стекла иллюминатора по п. 1, отличающийся тем, что герметизацию осуществляют посредством герметика, который размещают между защитным стеклом и буртиками корпуса, прижимную часть которых выполняют параллельно плоскости фаски или внешней поверхности стекла.

9. Способ крепления плоского защитного стекла иллюминатора по пп. 1, 8, отличающийся тем, что герметик размещают между защитным стеклом и прижимной частью контурной планки.

10. Способ крепления плоского защитного стекла иллюминатора по пп. 1, 8, 9, отличающийся тем, что герметик размещают между боковой поверхностью защитного стекла и корпусом.

11. Способ крепления плоского защитного стекла иллюминатора по п. 1, отличающийся тем, что размещение герметика производят при его жидком состоянии с последующим отверждением и удалением натеков.

Описание

[1]

Иобретение относится к узлам крепления плоских защитных стекол иллюминаторов преимущественно беспилотных скоростных летательных аппаратов (ЛА).

[2]

Известны способы крепления плоских защитных стекол иллюминаторов, обеспечивающие термокомпенсацию и герметичность (пылевлагозащищенность) заданного внутреннего объема (рабочего контура) технических объектов (изделий) - см., например, Б.А. Асс, Н.М. Жукова, Е.Ф. Антипов "Детали и узлы авиационных приборов и их расчет", М., ЭКОЛИТ, 2011, стр. 403, 404, рис. 8.7.

[3]

Известен также способ крепления защитных стекол иллюминаторов контурными планками, который применяется, в частности, для крепления "толстых" плоских стекол различной конфигурации - см., например, М.Я. Кругер, В.А. Панов, В.В. Кулагин и др. "Справочник конструктора оптико-механических приборов", Ленинград, "Машиностроение", 1968, стр. 335, 336, рис. 61 - ближайший аналог.

[4]

К недостаткам способа - ближайшего аналога следует отнести размещение контурной планки и винтов ее крепления снаружи оправы иллюминатора, которая, в свою очередь, тем или иным способом крепится в корпус изделия. Применительно к ЛА, это нарушает "чистоту" аэродинамической поверхности скоростных (сверхзвуковых) аппаратов с соответствующим увеличением аэродинамического сопротивления либо требует применения специализированного выравнивающего покрытия. При этом возможен обгар внешнего (наружного) покрытия, особенно в носовой части корпуса ЛА, и "выход" крепежа иллюминатора в воздушный поток; одновременно продукты обгара, осаждаясь в складках микрорельефа поверхности, могут ухудшать наблюдаемость через защитное стекло. Кроме того, для относительно простых массовых ЛА, например, тактического назначения, технология выравнивания поверхности каждого изделия представляется избыточно затратной.

[5]

Технической задачей предлагаемого изобретения является создание способа крепления плоского защитного стекла иллюминатора, использующего конструктив корпуса ЛА в качестве оправы, а также обеспечивающего предельно высокий уровень аэродинамической "чистоты" летательного аппарата без применения специализированного (выравнивающего) покрытия наружной поверхности.

[6]

Указанный технический результат достигается тем, что при закреплении плоского защитного стекла иллюминатора, включающем установку стекла в оправу, его фиксацию по контуру планкой, герметизацию, - оправой защитного стекла иллюминатора при его установке на летательный аппарат служит корпус ЛА, при этом на буртики корпуса изнутри наносят слой герметика или изолирующего покрытия толщиной до 3 мм, стекло устанавливают в корпус изнутри до упора в буртики и фиксируют изнутри съемной контурной планкой с плоской прижимной частью, а герметизацию стыков между стеклом, корпусом и планкой осуществляют с помощью упругих прокладок и герметика. В ряде случаев съемной контурной планкой одновременно фиксируют не менее двух расположенных рядом защитных стекол. При этом контурную планку закрепляют изнутри корпуса, как правило, с помощью винтов. Герметизацию внутреннего объема осуществляют посредством упругой прокладки, которую размещают между боковой поверхностью защитного стекла и корпусом, при этом прокладка может включать лабиринтное уплотнение, которое ориентируют в сторону защитного стекла. Кроме того, герметизацию осуществляют посредством упругой прокладки, которую размещают между внутренней плоской поверхностью защитного стекла и прижимной частью контурной планки, а также между внутренней поверхностью корпуса и прижимной частью контурной планки, при этом винты крепления планки к корпусу располагают снаружи пояса герметизации. Для вариантов крепления защитного стекла с применением герметика (замазки) - герметик размещают между защитным стеклом и буртиками корпуса, прижимную часть которых выполняют параллельно плоскости фаски или внешней поверхности стекла, а также (дополнительно) - между защитным стеклом и прижимной частью контурной планки и/или между боковой поверхностью защитного стекла и корпусом. Допускается размещение герметика при его жидком состоянии с последующим отверждением и удалением натеков.

[7]

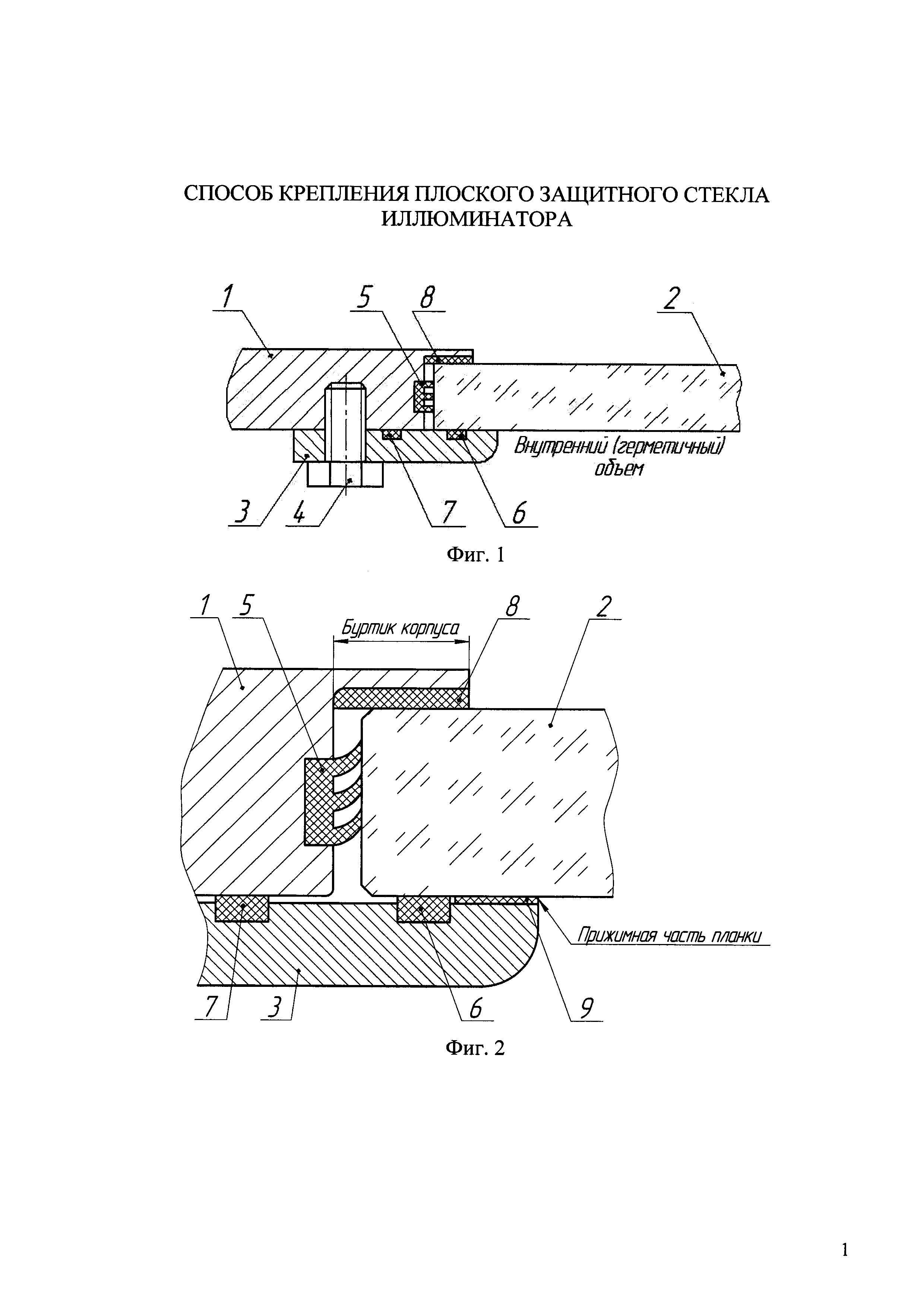
На фиг. 1 показано сечение устройства, реализующего представленное техническое решение (вариант 1), на фиг. 2, 3 - модификации подобного устройства (варианты 2, 3).

[8]

Приняты обозначения:

[9]

1 - корпус ЛА;

[10]

2 - плоское защитное стекло;

[11]

3 - съемная контурная прижимная планка;

[12]

4 - винт;

[13]

5 - упругая прокладка "боковая поверхность стекла - корпус";

[14]

6 - упругая прокладка "стекло - прижимная планка";

[15]

7 - упругая прокладка "корпус - прижимная планка";

[16]

8 - герметик (изолирующее покрытие) "стекло - буртик корпуса";

[17]

9 - герметик "стекло - прижимная планка".

[18]

Функционирование вариантов устройств по предлагаемому способу осуществляется следующим образом. Корпус поз. 1 летательного аппарата, в котором предусматривается наличие плоского защитного стекла поз. 2 оптического иллюминатора, выполняется с буртиком по контуру данного иллюминатора. Следует отметить, что в рамках предложенного технического решения предполагается непосредственное использование корпуса поз. 1 ЛА в качестве оправы иллюминатора, что, в свою очередь, предполагает обеспечение вариантами устройств заданных требований по герметичности, термокомпенсации, монтажу, эксплуатации и выполнению целевого (функционального) назначения. Этим требованиям в характерном диапазоне температурных нагружений ЛА соответствует толщина герметика (либо изолирующего покрытия) до 3 мм. При этом жесткое защитное стекло поз. 2 устанавливают изнутри корпуса поз. 1 до упора в буртик и фиксируют в таком положении съемной контурной планкой поз. 3, устанавливаемой на винтах поз. 4 (с целью исключения соприкосновения стекла поз. 2 с конструкционным материалом (металлом) корпуса поз. 1 на буртик с внутренней стороны нанесен слой герметика (изолирующего покрытия) поз. 8). Со стороны боковой (контурной) поверхности плоского защитного стекла поз. 2 ответная часть корпуса поз. 1 уперта посредством упругой прокладки поз. 5 (вариант - герметик), а нижняя (внутренняя) часть стекла поз. 2 разделена с прижимной планкой поз. 3 посредством упругой прокладки поз. 6 (см. фиг. 1, 3). Вариант: дополнительно к упругой прокладке поз. 6 концевая часть контурной планки поз. 3 разделена со стеклом поз. 2 посредством герметика поз. 9 (см. фиг. 2).

[19]

Упругая прокладка поз. 5 может включать лабиринтное уплотнение, которое при установке стекла поз. 2 изнутри корпуса поз. 1 деформируется с подгибом ребер лабиринта, как показано на фиг. 2. При этом улучшается стойкость данного контура герметизации к повышенному внешнему давлению воздуха при действии больших скоростных напоров (в т.ч. на сверхзвуковых скоростях движения ЛА).

[20]

С целью гарантированного исключения потери герметичности внутреннего объема ЛА между корпусом поз. 1 и контурной планкой поз. 3 установлена упругая прокладка поз. 7. При этом винты поз. 4 крепления планки поз. 3 к корпусу поз. 1 должны располагаться снаружи пояса герметизации (контура, ограниченного прокладкой поз. 7).

[21]

Упругие прокладки поз. 5, поз. 6, поз. 7 обеспечивают надежную многокаскадную герметизацию внутренних объемов ЛА при высоких скоростях его движения и, соответственно, при значительных силовых и температурных воздействиях. При этом характерные "плоские" (слабо выраженные "клиновые" - см. фиг. 3) упорные поверхности буртика корпуса поз. 1 и "плоские" упорные поверхности контурной планки поз. 3, между которыми закреплено плоское (плоское с фаской) защитное стекло поз. 2, при действующих температурных деформациях корпуса/иллюминатора позволяют сохранить "поперечные" габариты внешнего контура (и, соответственно, не приводят к люфту - "подвсплыванию" стекла при расширении его оправы, что возможно, например, при наклонных упорных поверхностях). Следует отметить, что заданный диапазон допустимых температурных деформаций для случая слабовыраженных "клиновых" упорных поверхностей буртика корпуса поз. 1 и жесткого стекла поз. 2 с фаской регулируется толщиной слоя герметика (изолирующего покрытия) поз. 8 и углом раствора "клина" буртика (см. фиг. 3).

[22]

В ряде случаев упругие прокладки поз. 5, поз. 6, поз. 7 могут быть дополнены (заменены) герметиком с соответствующими эксплуатационными параметрами. При этом представляется рациональной технология размещения (введения в рабочую зону) герметика при его жидком состоянии (например, посредством шприцевания) с последующим отверждением (полимеризацией) и удалением натеков (например, посредством механического срезания и/или локального химического растворения).

[23]

Применение предложенного технического решения является целесообразным для скоростных, в т.ч. сверхзвуковых беспилотных ЛА преимущественно тактического (оперативно-тактического) назначения, выпускаемых достаточно крупными партиями и чувствительных к значениям критерия "эффективность - стоимость".

Как компенсировать расходы
на инновационную разработку
Похожие патенты