патент
№ RU 2658305
МПК H01M4/04

Способ изготовления активной массы анода литиевого аккумулятора

Авторы:
Жорин Владимир Александрович Смирнов Сергей Евгеньевич Смирнов Сергей Сергеевич
Все (4)
Номер заявки
2017121028
Дата подачи заявки
15.06.2017
Опубликовано
20.06.2018
Страна
RU
Как управлять
интеллектуальной собственностью
Чертежи 
1
Реферат

Изобретение относится к электротехнической промышленности и может быть использовано при производстве литиевых аккумуляторов с анодами на основе титаната лития. Проводят смешение диоксида титана с гидрооксидом лития в сухом виде, механоактивацию и термообработку, при этом механоактивацию проводят в процессе пластического течения при кручении под давлением 1.65 ГПа и величинах относительной деформации 19-21, а термообработку при температуре 700°C в течение 6 часов в воздушной среде. Изобретение позволяет повысить технологичность процесса изготовления анода при увеличении его разрядной емкости. 1 ил.

Формула изобретения

Способ изготовления активной массы анода литиевого аккумулятора, в котором проводят смешение диоксида титана с гидрооксидом лития в сухом виде, механоактивацию и термообработку, отличающийся тем, что механоактивацию проводят в процессе пластического течения при кручении под давлением 1.65 ГПа и величинах относительной деформации 19-21, а термообработку проводят при температуре 700°С в течение 6 часов в воздушной атмосфере.

Описание

[1]

Изобретение относится к электротехнической промышленности и может быть использовано при производстве литиевых аккумуляторов с анодами на основе титаната лития. Аноды литиевых аккумуляторов являются композиционными материалами: они представляют собой смесь активной массы, связующего (фторопласт) и электропроводной добавки (сажа, графит). В качестве активной массы анода в настоящее время широко применяется титанат лития (Ярославцев А.Б., Кулова Т.Л., Скундин A.M. // Успехи химии. 2015. Т. 84, №8. С. 826-852).

[2]

Известен высокотемпературный способ изготовления титаната лития, который заключается в термообработке смеси диоксида титана с карбонатом лития при температуре 800°C в течение 12 часов (Berbenni V., Milanese С., Bruni G., Marini A. // Z. Naturforsch. 2010. V. 65b. P. 23-26).

[3]

Полученное соединение имеет формулу Li4Ti5O12 и циклируется в диапазоне потенциалов 1,5-1.6 В относительно литиевого электрода. Недостатками этого способа являются его длительность, а также низкая электронная проводимость и дисперсность порошков Li4Ti5O12 (размер частиц около 800 нм) и, как следствие, неудовлетворительные разрядно-зарядные характеристики катодов.

[4]

Наиболее близким по технической сущности и достигаемым результатам является твердофазный способ изготовления Li4Ti5O12, который заключается в следующем: порошок диоксида титана TiO2 перемешивают с гидрооксидом лития LiOH, механически активируют на планетарных мельницах, а затем отжигают при температуре 800°C в течение 4 часов на воздухе (Косова Н.В., Девяткина Е.Т. // Электрохимия. 2012. Т. 48, №2. С. 351-361). К недостаткам твердофазного способа можно отнести энергоемкость процесса, связанную с механической активацией на планетарных мельницах, что удорожает продукт, невысокую дисперсность порошков Li4Ti5O12 (размер частиц около 500 нм), что сказывается на емкости и ресурсе работы анода на его основе и аккумулятора в целом.

[5]

Техническая задача, решаемая изобретением, состоит в повышении технологичности процесса изготовления анода и увеличении его емкости. Технический результат, заключающийся в увеличении дисперсности титаната лития и увеличении коэффициента диффузии лития, достигается тем, что в известном способе изготовления титаната лития, заключающемся в том, что проводят смешение диоксида титана с гидрооксидом лития в сухом виде, механоактивацию и термообработку, согласно изобретению механоактивацию проводят в процессе пластического течения при кручении под давлением 1.65 ГПа и величинах относительной деформации 19-21, а термообработку проводят при температуре 700°C в течение 6 часов в воздушной среде.

[6]

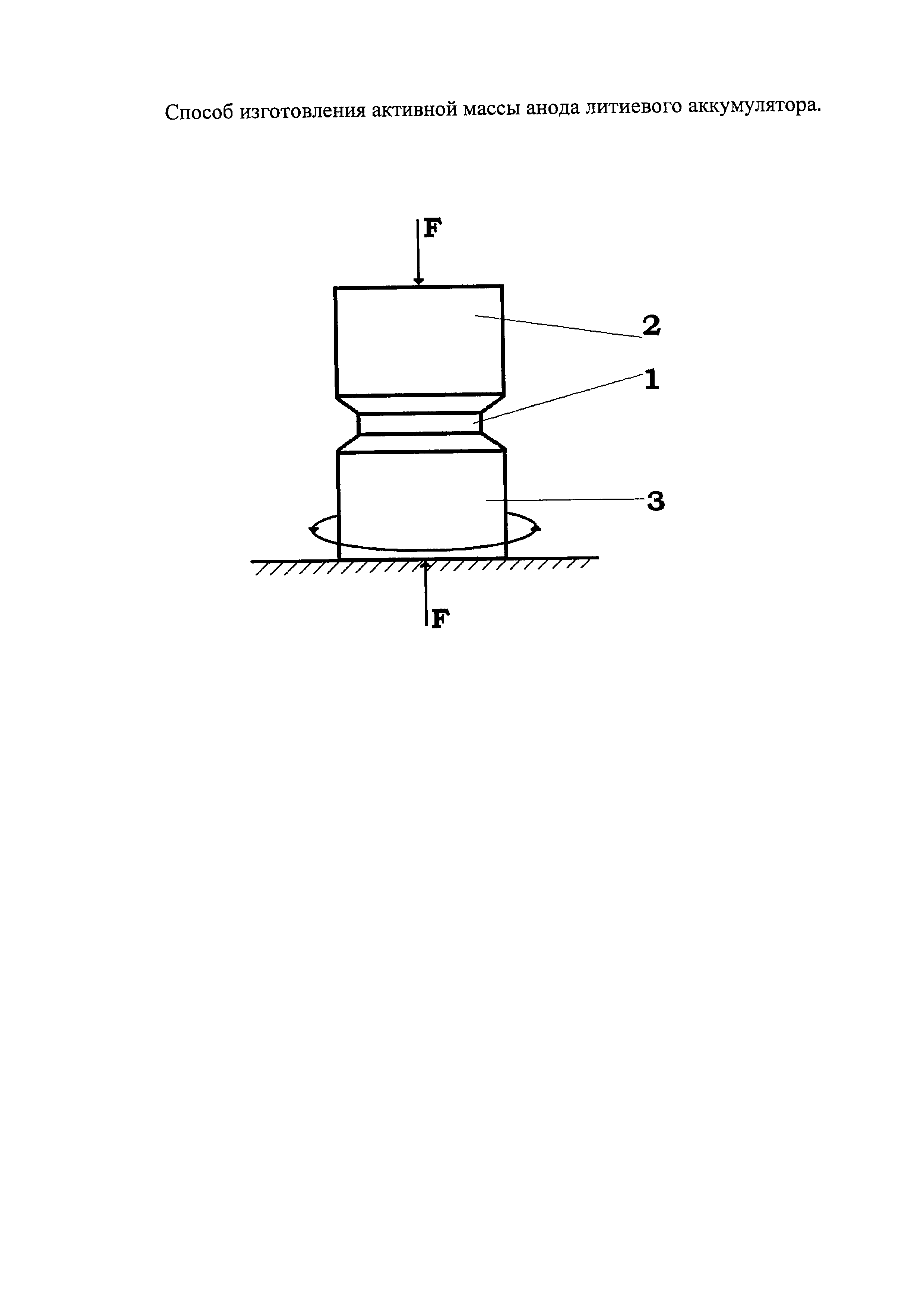
На чертеже схематично представлено устройство для осуществления механоактивации, включающее смесь TiO2+LiOH 1, пуансон 2, наковальню Бриджмена 3.

[7]

Способ осуществляют следующим образом.

[8]

TiO2 и LiOH в соотношении 4:1 насыпают в керамическую чашку. Затем стеклянной палочкой их предварительно слегка перемешивают в сухом виде в течение пятнадцати секунд. Схематически это представлено на чертеже. Полученную массу 1 насыпают на наковальню Бриджмена 3, прижимают сверху пуансоном 2 и помещают под пресс. Затем массу подвергают относительной деформации величиной 19-21 при давлении не менее 1.65 ГПа. В результате получается плоский диск толщиной от 1,5 до 2 мм. Этот диск затем помещается в муфельную печь, где выдерживается при температуре 700°C в течение 6 часов в воздушной атмосфере.

[9]

Аппаратура, на которой проводилась механоактивация, позволяет подвергать исследуемые вещества одновременному воздействию одноосного сжатия и сдвиговым напряжениям, величина которых не превышает предела текучести материала при данном давлении. Особенностью аппаратуры данного типа является то, что по мере увеличения давления напряжение, необходимое для поддержания постоянной скорости пластического деформирования, увеличивается. При постоянном давлении напряжение, необходимое для удержания постоянной скорости пластического деформирования, остается постоянным. При данной методике можно развивать в исследуемых материалах при давлении выше пороговых пластические деформации в большом диапазоне без нарушения сплошности образцов. В нашем случае пластическая деформация относится не к единичным частицам, из которых состоит смесь, а ко всему образцу, который представляет собой цилиндр. Для данной схемы воздействия и геометрии образцов необходимо применять представления о деформациях кручения при воздействии скручивающих напряжений на цилиндрическое тело. Указанные деформации можно охарактеризовать отношением длины винтовой линии, в которую при деформировании трансформируется образующая цилиндра, к начальной высоте цилиндра (Жорин В.А., Усиченко В.М., Епиколонян Н.С. // Высокомолекулярные соединения, 1982, Т. 24, №9, с. 1889-1893). Пластическое течение на аппаратуре данного типа реализуется в том случае, когда сила поверхностного трения больше или равна пределу текучести обрабатываемого материала. Такое соотношение для исследуемых смесей возникает при давлениях порядка 1.65 ГПа и относительной деформации 19. При меньших давлениях и относительной деформации сжимающего вещества наковальня и пуансон проскальзывают по поверхности вещества и исходные порошкообразные материалы так и остаются в виде порошка. При давлениях выше 1.65 ГПа порошкообразные материалы компактируются, т.е. составляющие части подвергаются пластическому деформированию. При относительной деформации менее 19 единиц получается недостаточное равномерное перемешивание компонентов, что приводит к снижению дисперсности титаната лития и электрохимических параметров анода на его основе. При относительной деформации более 21 единиц после термообработки полученной смеси образуется фаза титаната лития с размерами частиц более 100 нм, что усложняет процесс диффузии иона лития по твердой фазе в процессе разряда аккумулятора и, соответственно, приводит к снижению разрядной емкости анода. При температуре ниже 700°C не получается фазово-однородный продукт: образуется титанат лития с небольшими количествами примеси TiO2. При температуре выше 700°C образуется титанат лития с небольшими количествами примеси Li2TiO3. Примеси отличаются меньшими коэффициентами диффузии иона лития и, соответственно, повышенными поляризационными потерями. 6 часов достаточно для полного преобразования смеси в нанодисперсную фазу титаната лития: размер частиц 60-70 нм. Таким образом, выход вышеописанных параметров за указанные пределы приводит к снижению эффективности способа.

[10]

Реализация указанного способа позволяет увеличить емкость анодов и их ресурс на 15-20%, а также значительно повысить воспроизводимость результатов при массовом производстве. Для осуществления способа необходимы пресс, пуансон, наковальня и муфельная печь.

[11]

Пример 1. 0.650 г смеси TiO2 и LiOH в соотношении 4:1 перемешивали в сухом виде в течение пятнадцати секунд в керамической чашке. Полученную смесь подвергали относительной деформации величиной 21 при давлении 1.65 ГПа. После этого полученную массу помещали в муфельную печь, где выдерживали при температуре 700°C в течение 6 часов в воздушной атмосфере. Затем изготавливали анод аккумулятора: 0.495 г анодной массы с содержанием титаната лития (размер частиц 70 нм), сажи и фторопласта в соотношении 85:10:5, соединяли с токоотводом. После сборки аккумулятора Li4Ti5O12-LiCoO2 в типоразмере 2325 его разрядная емкость составила 65 мА⋅ч в диапазоне напряжения 3.5-2.0 В на протяжении 120 циклов.

[12]

Пример 2. 0.710 г смеси TiO2 и LiOH в соотношении 4:1 перемешивали в сухом виде в течение пятнадцати секунд в керамической чашке. Полученную смесь подвергали относительной деформации величиной 20 при давлении 1.65 ГПа. После этого полученную массу помещали в муфельную печь, где выдерживали при температуре 700°C в течение 6 часов в воздушной атмосфере. Затем изготавливали анод аккумулятора: 0.530 г анодной массы с содержанием титаната лития (размер частиц 65 нм), сажи и фторопласта в соотношении 85:10:5, соединяли с токоотводом. После сборки аккумулятора Li4Ti5O12-LiCoO2 в типоразмере 2325 его разрядная емкость составила 76 мА⋅ч в диапазоне напряжения 3.5-2.0 В на протяжении 130 циклов.

[13]

Пример 3.0.700 г смеси TiO2 и LiOH в соотношении 4:1 перемешивали в сухом виде в течение пятнадцати секунд в керамической чашке. Полученную смесь подвергали относительной деформации величиной 18 при давлении 1.65 ГПа. После этого полученную массу помещали в муфельную печь, где выдерживали при температуре 700°C в течение 6 часов в воздушной атмосфере. Затем изготавливали анод аккумулятора: 0.535 г анодной массы с содержанием титаната лития (размер частиц 60 нм), сажи и фторопласта в соотношении 85:10:5, соединяли с токоотводом. После сборки аккумулятора Li4Ti5O12-LiCoO2 в типоразмере 2325 его разрядная емкость составила 78 мА⋅ч в диапазоне напряжения 3.5-2.0 В на протяжении 140 циклов.

[14]

Во всех случаях аккумуляторы удовлетворяли требованиям ГОСТ по емкости, разрядному напряжению и ресурсу.

Как компенсировать расходы
на инновационную разработку
Похожие патенты