патент
№ RU 2606730
МПК E01D18/00

Универсальная опорная конструкция (эстакада)

Авторы:
Колпашников Дмитрий Николаевич
Номер заявки
2013153871
Дата подачи заявки
04.12.2013
Опубликовано
10.01.2017
Страна
RU
Как управлять
интеллектуальной собственностью
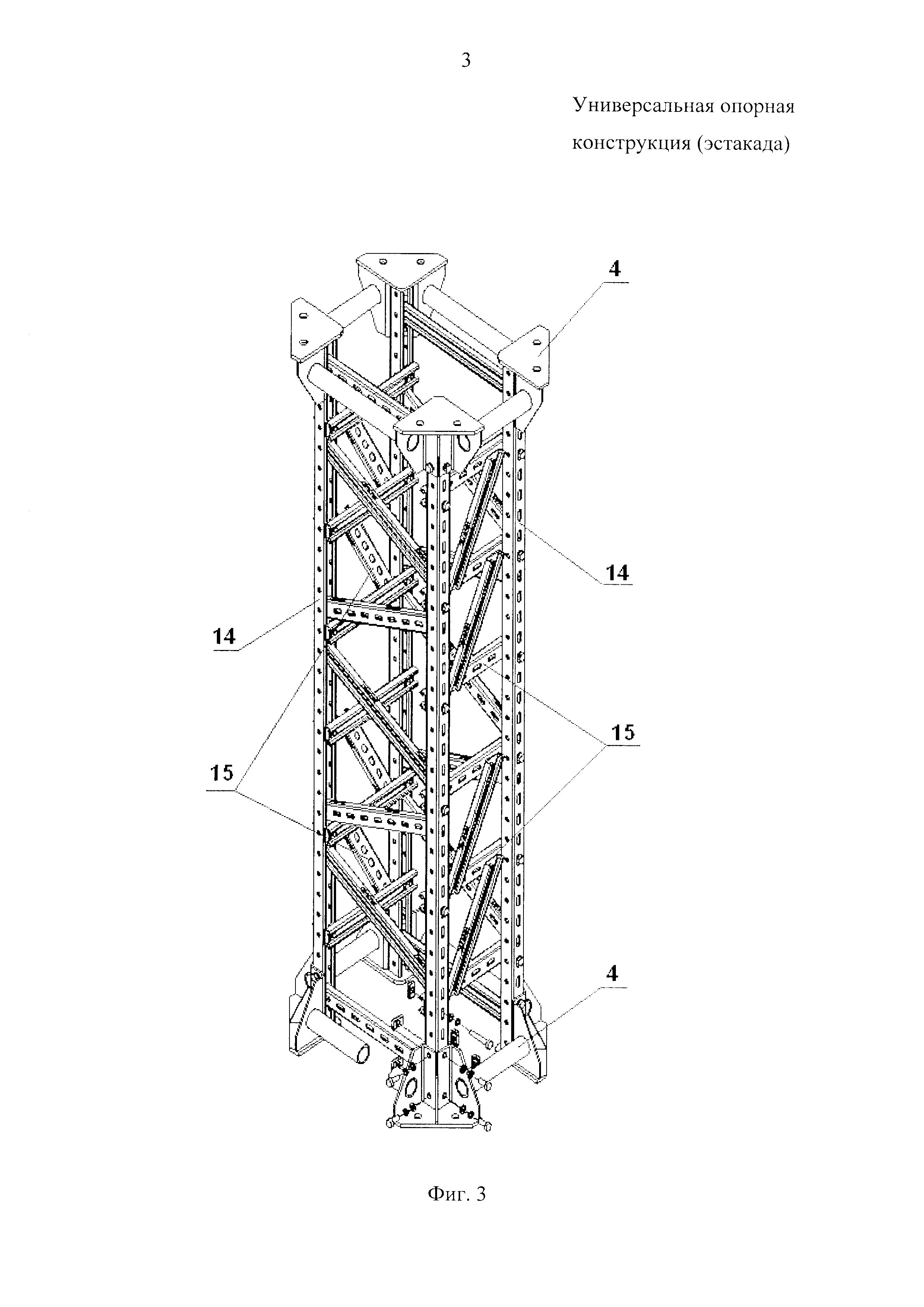
Чертежи 
4
Реферат

Изобретение относится к строительству эстакад для совместной прокладки кабелей различного назначения напряжением до 110 кВ включительно с трубопроводами водяного или парового теплоснабжения с наружным диаметром труб до 219 мм или без таковых. Технический результат - расширение функциональных возможностей эстакады. Разборная универсальная опорная конструкция (эстакада) для прокладки кабелей и/или трубопроводов с расстоянием между опорами до 9 м содержит вертикальные опоры и горизонтальные прогоны (ригели). Вертикальные опоры и горизонтальные прогоны, представляющие собой пространственные фермы, образованы из набора сварных секций различной длины от 1 до 4 м, соединяющихся между собой диафрагмами при помощи болтовых соединений. Сварные секции и диафрагмы изготовлены из перфорированного тонкостенного профиля. Вертикальные опоры соединены с одной стороны с фундаментом через сварную опору, а с другой стороны - с верхними установочными сварными опорами. К верхним сварным опорам прикреплены горизонтальные прогоны. Нижние профили горизонтальных прогонов соединены скобами через поперечные монтажные профили и прикреплены к верхним установочным сварным опорам. 5 ил.

Формула изобретения

Универсальная опорная конструкция (эстакада) для прокладки кабелей и/или трубопроводов, содержащая вертикальные опоры и горизонтальные прогоны (ригели), при этом вертикальные опоры и горизонтальные прогоны состоят из одинаковых секций, к боковым несущим сварным секциям горизонтальных прогонов болтами прикреплены поперечные монтажные профили, к поперечным монтажным профилям болтами и гайками прикреплены консоли для кабельных лестниц, металлических кабель-каналов, отличающаяся тем, что вертикальные опоры и горизонтальные прогоны изготовлены из тонкостенного перфорированного профиля; вертикальные опоры прикреплены фундаментными болтами к фундаменту при помощи нижней сварной опоры, на верхнюю сварную опору с помощью поперечного монтажного профиля установлены горизонтальные прогоны; горизонтальный прогон прижат к верхней сварной опоре с помощью поперечных монтажных профилей и хомутов и зафиксирован с использованием комплекта крепления; вертикальная опора представляет собой ферму прямоугольной формы, которая состоит из боковых сварных секций, которые соединены между собой сварными диафрагмами, при помощи болтовых соединений; к концам прямоугольной пространственной фермы прикреплены сварные опоры, которые служат для установки вертикальной опоры на фундамент, для фиксации горизонтальных прогонов и для соединения вертикальных опор между собой; горизонтальные прогоны соединяются между собой четырьмя П-образными профилями; поперечные монтажные профили соединены между собой шпильками; для крепления болтами консолей для кабельных лестниц, металлических кабель-каналов к поперечным монтажным профилям использованы гайки; хомут, используемый для прижатия горизонтального прогона к верхней сварной опоре, имеет прямоугольную форму.

Описание

[1]

Изобретение относится к строительству эстакад для совместной прокладки кабелей различного назначения напряжением до 110 кВ включительно с трубопроводами водяного или парового теплоснабжения с наружным диаметром труб до 219 мм или без таковых. В последнем случае эстакада будет являться кабельной. При отводах от комбинированной эстакады возможна прокладка по горизонтальным прогонам только труб теплоснабжения, и в этом случае участок эстакады будет являться трубопроводным.

[2]

Из RU 3021 U1, F16L 3/00, 16.10.1996 известна эстакада технологического трубопровода, содержащая промежуточные опоры и анкерные опоры, состоящие из стоек, верхних и нижних траверс, крестовых связей, продольных распорок, которые установлены в уровне нижних траверс, при этом стойки, траверсы и продольные распорки выполнены из стального каркаса, заполненного бетоном. Преимуществом данной конструкции является низкая себестоимость элементов эстакады. Однако при этом использовать элементы эстакады многократно невозможно. Кроме того, в процессе строительства необходимы дополнительные технологические операции по подгонке длины монтируемых секций резкой, для крепления связей прогонов и опор, стоек используется сварка. Для защиты металлоконструкций технологической эстакады от коррозии используется лакокрасочное покрытие. Для установки одной промежуточной опоры необходимы два фундамента, а одной анкерной опоры - четыре фундамента.

[3]

Из SU 1217974 A, E01D 17/00, 15.03.1986 известна разборная эстакада для прокладки трубопроводов, содержащая вертикальные опоры и горизонтальные прогоны. Горизонтальные прогоны состоят из двух плоскостных ферм, состоящих из нижних поясов, верхних поясов и раскосов, связанных между собой поперечными и продольными связями. Горизонтальные опоры крепятся к разъемным опорам, которые, в свою очередь, при помощи фундаментных болтов крепятся к фундаменту. В результате снижается материалоемкость эстакады, упрощается ее монтаж и демонтаж, повышается ее несущая способность. Однако для изготовления горизонтальных прогонов используется слишком много элементов, что усложняет конструкцию. Кроме того, данная эстакада не предназначена для прокладки кабелей. Для защиты металлоконструкций эстакады от коррозии используется лакокрасочное покрытие. Для установки одной промежуточной опоры необходимы два фундамента, а одной анкерной опоры - четыре фундамента.

[4]

Из патента РФ №2412301 известна разборная комбинированная эстакада для прокладки кабелей и/или трубопроводов, содержащая вертикальные опоры и горизонтальные прогоны. Преимуществом данной конструкции является использование унифицированных секций для формирования вертикальных опор и горизонтальных прогонов, позволяющих без применения сварки осуществлять монтажные работы по возведению трассы. Но при формировании кабельной трассы, для установки консолей и лотков, требуется дополнительная организация металлоконструкции для их фиксации с применением дополнительных элементов, тем самым увеличивается время монтажа трассы.

[5]

Зачастую, в строительстве применяют массивные конструкции горизонтальных прогонов и вертикальных опор, для того чтобы проложить всего несколько кабелей. В таком случае нецелесообразно используется металлоконструкция, имеющая большую металлоемкость и несущую способность по сравнению с заявленными требованиями.

[6]

Во всех известных эстакадах для формирования вертикальных опор и горизонтальных прогонов используются несколько видов элементов (двутавров, швеллеров, уголков, труб, деталей из листового материала), с последующими операциями для получения готового изделия (резка, гибка, сверление, штамповка), что приводит к затрате времени на их изготовление. Элементы модульных конструкций сформированы только из одного вида продукции - перфорированного тонкостенного профиля, который производится на линиях непрерывного холодного профилирования.

[7]

Задачей изобретения является расширение функциональных возможностей эстакады, с возможностью использовать ее как для прокладки труб, так и для прокладки кабелей. Кроме этого, стоит задача существенно упростить саму конструкцию, использовать для нее унифицированные элементы - секции, одинаковые как для опор, так и для горизонтальных прогонов для снижения затрат и времени при монтаже конструкции.

[8]

Второй задачей, решаемой изобретением, является легкость конструкций в сочетании с прочностью и устойчивостью, снижение нагрузок от собственного веса.

[9]

Третьей задачей, решаемой изобретением, является снижение транспортных расходов за счет снижения массы и перевозки в упаковочной таре. Возможность доставки к месту строительства полного комплекта конструкций.

[10]

Четвертой задачей, решаемой изобретением, является сокращение сроков строительства за счет снижения затрат времени на проектирование, изготовление, доставку и монтаж конструкций.

[11]

Разборная универсальная опорная конструкция (эстакада) для прокладки кабелей и/или трубопроводов с расстоянием между опорами до 9 м содержит вертикальные опоры и горизонтальные прогоны (ригели). Вертикальные опоры и горизонтальные прогоны, представляющие собой пространственные фермы, образованы из набора сварных секций различной длины от 1 до 4 м, соединяющихся между собой диафрагмами при помощи болтовых соединений. Сварные секции и диафрагмы изготовлены из перфорированного тонкостенного профиля. Вертикальные опоры соединены с одной стороны с фундаментом через сварную опору, а с другой стороны - с верхними установочными сварными опорами. К верхним сварным опорам прикреплены горизонтальные прогоны. Нижние профили горизонтальных прогонов соединены скобами через поперечные монтажные профили и прикреплены к верхним установочным сварным опорам.

[12]

В связи с применением тонкостенных профилей в эстакадах, существенно снизилась металлоемкость конструкций, и, как следствие, масса, что позволяет без применения дополнительной техники и специального инструмента осуществлять монтаж элементов эстакады перед установкой их на фундамент. Так как для сборки вертикальных опор и горизонтальных прогонов используются только четыре элемента, а также не требуется применение сварки, существенно снижается время монтажа. Универсальные опорные конструкции позволяют комбинировать кабельную трассу, позволяя варьировать высоту кабельной трассы, рабочую нагрузку в зависимости от проекта. Еще одним важным преимуществом является применение покрытия методом горячего оцинкования после изготовления, позволяющее значительно продлить срок службы эстакады, в отличие от подобных изделий. Среди преимуществ стоит выделить и удобство при транспортировке, что очень важно, поскольку монтаж зачастую осуществляется в труднодоступных местах и связан с существенными затратами на доставку.

[13]

Изобретение поясняется чертежами:

[14]

- на фиг. 1 - опора разборной комбинированной эстакады с установленными на ней горизонтальным прогоном и элементами для крепления труб и кабелей;

[15]

- на фиг. 2 - крепление горизонтальных прогонов к вертикальной опоре;

[16]

- на фиг. 3 - вертикальная опора;

[17]

- на фиг. 4 - крепление сварной опоры к вертикальной опоре;

[18]

- на фиг. 5 - вид соединения горизонтальных прогонов;

[19]

Разборная комбинированная эстакада (фиг. 1) состоит из вертикальных опор и горизонтальных прогонов. При этом вертикальные опоры 1 и горизонтальные прогоны 2 состоят из одинаковых секций.

[20]

Вертикальные опоры 1 крепятся фундаментными болтами к фундаменту 3. На верхнюю сварную опору 4 с помощью поперечного монтажного профиля 5 устанавливают горизонтальные прогоны. К боковым несущим сварным секциям горизонтальных прогонов болтами прикреплены поперечные монтажные профили 6 высотой до 1,5 м, соединенные между собой шпильками 7. К поперечным монтажным профилям 6 болтами и специальными плоскими гайками прикреплены консоли 8 для кабельных лестниц и металлических кабель-каналов. С помощью поперечных монтажных профилей 5 и прямоугольных хомутов 9 горизонтальный прогон прижимается к верхней сварной опоре и фиксируется с использованием комплекта крепления 10 - 13 (фиг. 2). Вертикальная опора представляет собой ферму прямоугольной формы (фиг. 3), состоящую из боковых сварных секций 14, соединенных между собой диафрагмами 15 при помощи болтовых соединений. Количество диафрагм зависит от высоты вертикальной опоры. К концам прямоугольной пространственной фермы прикреплены сварные опоры 4, которые могут служить как для установки вертикальной опоры на фундамент, так и для фиксации горизонтальных прогонов, а также для соединения вертикальных опор между собой. На фиг. 4 показано крепление сварной опоры 4 к вертикальной опоре 1. Горизонтальные прогоны соединяются между собой четырьмя П-образными профилями 16 (фиг. 5).

Как компенсировать расходы
на инновационную разработку
Похожие патенты