патент
№ RU 2704570
МПК F28D15/02

Шахтная установка для передачи тепла на большие расстояния при малых температурных перепадах

Авторы:
Новиков Андрей Евгеньевич Саврушкин Владимир Андреевич Будыка Сергей Михайлович
Все (8)
Номер заявки
2018131111
Дата подачи заявки
29.08.2018
Опубликовано
29.10.2019
Страна
RU
Как управлять
интеллектуальной собственностью
Чертежи 
1
Реферат

Изобретение относится к теплотехнике, в частности к системам обеспечения теплового режима на основе контурных тепловых труб. Шахтная установка для передачи тепла на большие расстояния при малых температурных перепадах содержит термоэлектрическую батарею и контурную тепловую трубу. Холодный спай термоэлектрической батареи сопряжен с охлаждаемым объектом, а коммутационная пластина горячего спая - с испарителем контурной тепловой трубы. В шахтной установке, расположенной в вертикальном шахтном сооружении, охлаждаемый объект с контактирующим холодным спаем термоэлектрической батареи размещен в верхней части шахтного сооружения с более высокой температурой, а конденсатор контурной тепловой трубы расположен в нижней части шахтного сооружения с пониженной температурой и находится в теплообмене излучением и конвекцией со стенками шахтного сооружения. Технический результат - создание надежного устройства с упрощенной конструкцией, работоспособного при любой ориентации в поле сил тяжести и способного передавать тепло на большие расстояния при малых температурных перепадах и небольших энергетических затратах. 1 з.п. ф-лы, 1 ил.

Формула изобретения

1. Шахтная установка для передачи тепла на большие расстояния при малых температурных перепадах, содержащая термоэлектрическую батарею и контурную тепловую трубу, при этом холодный спай термоэлектрической батареи сопряжен с охлаждаемым объектом, а коммутационная пластина горячего спая с испарителем контурной тепловой трубы, отличающаяся тем, что в шахтной установке, расположенной в вертикальном шахтном сооружении, охлаждаемый объект с контактирующим холодным спаем термоэлектрической батареи размещен в верхней части шахтного сооружения с более высокой температурой, а конденсатор контурной тепловой трубы расположен в нижней части шахтного сооружения с пониженной температурой и находится в теплообмене излучением и конвекцией со стенками шахтного сооружения.

2. Шахтная установка по п. 1, отличающаяся тем, что шахтная установка для передачи тепла включает несколько последовательно соединенных между собой контурных тепловых труб, при этом испаритель каждой последующей, начиная со второй контурной тепловой трубы, сопряжен с конденсатором предыдущей, а конденсатор последней тепловой трубы находится в теплообмене излучением и конвекцией со стенками шахтного сооружения.

Описание

[1]

Техническое решение относится к теплотехнике, в частности к системам обеспечения теплового режима на основе контурных тепловых труб.

[2]

В ряде случаев необходимо обеспечивать тепловой режим длительно функционирующей в наземных условиях аппаратуры с незначительным тепловыделением. При этом решается задача передачи избыточного тепла на большие расстояния при малом температурном перепаде между источником тепловой нагрузки и охладителем.

[3]

Известна тепловая трубка по авторскому свидетельству №389364, 1973, F25B 19/04, F25D 7/00, содержащая герметичный корпус с капиллярно-пористым наполнителем на его внутренней поверхности, разделенный поперечными перегородками выполненных в виде термоэлектрических батарей на заполненные рабочем телом отсеки с зонами конденсации и испарения. Данное устройство способно передавать тепло на большие расстояния при малых температурных перепадах, однако имеет недостатки:

[4]

в конструкции реализовано сопряжение потоков теплоносителя в жидкой и парообразной фазах в рабочем цикле трубки. Это, а также большая длина капиллярного участка, создают большие гидравлические потери и ограничивают длину отсеков трубки. Небольшая длина отсеков приводит к увеличению их количества и использованию большого числа термоэлектрических батарей, что значительно усложняет устройство, уменьшает его надежность, увеличивает массу и приводит к большим дополнительным энергетическим затратам;

[5]

устройство выполнено в едином корпусе, что усложняет как сборку самой трубки, так и ее монтаж на охлаждаемый объект;

[6]

тепловая трубка контактирует с охлаждаемым объектом непосредственно горячим концом, что увеличивает температурный перепад между охлаждаемым объектом и охладителем, а также значительно усложняет регулирование передаваемого теплового потока от охлаждаемого объекта (при переменной тепловой нагрузке) к охладителю, что не позволяет поддерживать температуру объекта в узком диапазоне;

[7]

известная тепловая трубка функционирует в невесомости и в поле сил тяжести только в горизонтальном положении и при небольшом превышении зоны конденсации над зоной испарения.

[8]

Задачей настоящего технического решения является устранение указанных недостатков.

[9]

Технический результат заключается в создании простого устройства, обеспечивающего надежную передачу тепла с малыми гидравлическими потерями и энергетическими затратами на большие расстояния при малых температурных перепадах при любой его ориентации в поле сил тяжести.

[10]

Технический результат достигнут тем, что в устройстве для передачи тепла на большие расстояния при малых температурных перепадах, содержащем тепловые трубы и термоэлектрическую батарею, тепловые трубы выполнены контурными, коммутационная пластина холодного спая термоэлектрической батареи сопряжена с охлаждаемым объектом, а коммутационная пластина горячего спая закреплена с испарителем первой (ближней к охлаждаемому объекту) контурной тепловой трубы, при этом испаритель каждой последующей из соединенных между собой последовательно контурных тепловых труб сопряжен с конденсатором предыдущей, а конденсатор последней тепловой трубы находится в теплообмене с окружающей его средой.

[11]

В качестве теплопередающих агрегатов в предложенном устройстве используются контурные тепловые трубы (КТТ), являющиеся герметичными двухфазными теплопередающими устройствами, обладающими сверхнизким термическим сопротивлением и работающими по замкнутому испарительно-конденсационному циклу с использованием «капиллярного механизма» для прокачки теплоносителя. Конструктивно КТТ состоит из испарителя и конденсатора, соединенных транспортными линиями - паропроводом и конденсаторпроводом. Контурные тепловые трубы обладают всеми основными достоинствами обычных тепловых труб. Дополнительно, благодаря разделению потоков теплоносителя в жидкой и парообразной фазах, они способны эффективно передавать тепло на расстояние до нескольких метров при любой ориентации в гравитационном поле и до нескольких десятков метров - в горизонтальном положении или в невесомости.

[12]

Расположение термоэлектрической батареи в предложенном устройстве, когда холодная сторона батареи сопряжена с охлаждаемой поверхностью, а горячая - с испарителем первой контурной тепловой трубы, позволяет с одной стороны поддерживать постоянную температуру на охлаждаемой поверхности, а с другой - искусственно создать требуемый для работы КТТ перепад температур между испарителем первой и конденсатором последней КТТ.

[13]

Поддержание постоянной температуры на охлаждаемой поверхности, т.е. термостабилизация, может быть реализована путем изменения, проходящего через термоэлектрическую батарею электрического тока.

[14]

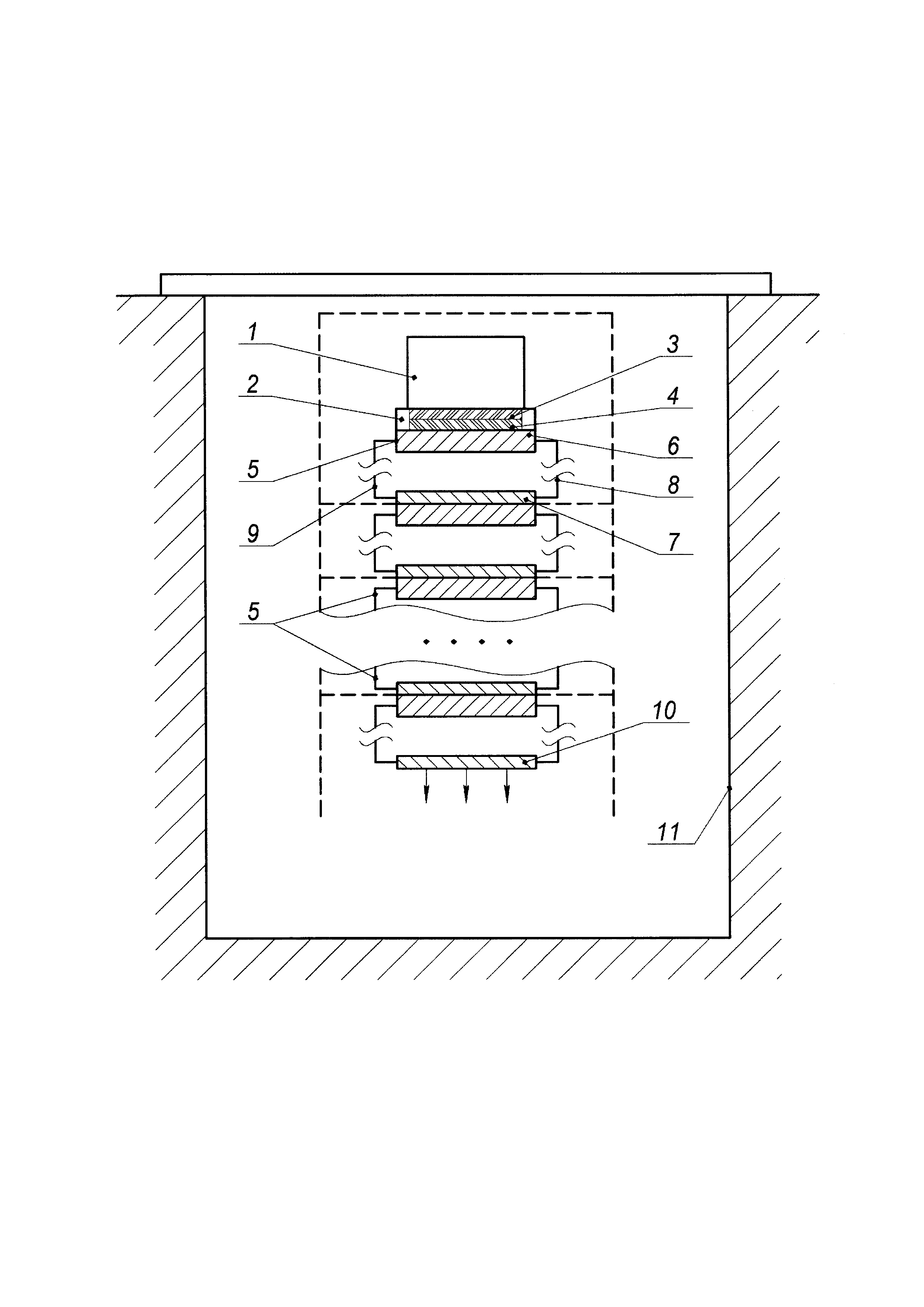
Сущность предложенного технического решения поясняется чертежом, на котором схематически изображено предложенное устройство для передачи тепла на большие расстояния при малых температурных перепадах. Устройство отводит тепло от прибора, расположенного, например, в шахтном сооружении.

[15]

На чертеже введены следующие обозначения:

[16]

1 - охлаждаемый прибор;

[17]

2 - термоэлектрическая батарея;

[18]

3 - коммутационная пластина «холодного» спая;

[19]

4 - коммутационная пластина «горячего» спая;

[20]

5 - КТТ;

[21]

6 - испаритель КТТ;

[22]

7 - конденсатор КТТ;

[23]

8 - паропровод;

[24]

9 - конденсатопровод;

[25]

10 - конденсатор последней КТТ;

[26]

11 - шахтное сооружение.

[27]

Температура окружающей среды - воздуха в шахтном сооружении уменьшается с его глубиной, при этом перепад, как правило, незначительный и не превышает нескольких градусов.

[28]

Предложенное устройство осуществляет передачу тепла от охлаждаемого прибора 1, размещенного в верхней части шахтного сооружения с повышенной температурой, к конденсатору последней КТТ 10, находящегося в нижней части шахты с пониженной температурой.

[29]

Предложенное устройство работает следующим образом.

[30]

На охлаждаемую поверхность прибора 1 устанавливается термоэлектрическая батарея 2 коммутационной пластиной холодного спая 3. К коммутационной пластине горячего спая 4 крепится испаритель первой КТТ 6, а к конденсатору КТТ 7 испаритель второй КТТ. Далее КТТ соединяются последовательно друг с другом. Конденсатор КТТ 10 является последним в теплопередающей цепи.

[31]

Избыточный тепловой поток прибора 1 кондуктивным способом передается на коммутационную пластину холодного спая 3. Термоэлектрическая батарея 2, работая в качестве теплового насоса, обеспечивает одновременно как требуемую температуру посадочного места прибора 1, так и необходимый для работы КТТ 5 перепад температур между испарителем и конденсатором. В результате посадочное место прибора охлаждается, а испаритель первой КТТ нагревается. Далее тепловой поток согласно рабочему циклу КТТ передается на конденсатор КТТ, откуда кондуктивным способом передается на испаритель следующей КТТ. Для обеспечения плотного теплового контакта сопрягающихся испарителя и конденсатора могут быть использованы теплопроводящие материалы (прокладки, пасты), крепеж и подпружиненные элементы конструкции. Таким образом, тепловой поток последовательно передается от одной КТТ к другой, до конденсатора 10, который находится в теплообмене конвекцией и излучением с воздухом и стенками шахты.

[32]

Следует отметить следующее важное обстоятельство: включение нескольких последовательно сопряженных КТТ в новом устройстве для передачи тепла предпочтительно при некоторых конструктивных особенностях и ограничениях, например, при необходимости осуществлять передачу тепла через несколько герметичных отсеков или в случае отсутствия возможности размещения одной КТТ одновременно в нескольких соседних отсеках. При этом в каждом отсеке устанавливается одна КТТ, а контакт между ними осуществляется сопряжением испарителя каждой последующей из соединенных между собой контурных тепловых труб с конденсатором предыдущей.

[33]

Представленное в качестве примера новое устройство передачи тепла с использованием нескольких контурных тепловых труб может работать при общей длине КТТ от нескольких метров до нескольких десятков метров при любом расположении в поле сил тяжести.

[34]

По сравнению с аналогом: в горизонтальном положении новое устройство функционирует с одной КТТ на расстоянии нескольких метров, а известное - с тремя и более. В вертикальном положении, при работе против сил тяжести аналог не работоспособен в отличие от предложенного изобретения. Кроме того, в предложенном устройстве используется одна термоэлектрическая батарея, а в известном - несколько, что в несколько раз повышает энергозатраты, массу и, соответственно, снижает надежность.

[35]

Совокупность новых признаков предложенного технического решения - использование контурных тепловых труб в качестве теплопередающих элементов устройства, расположение термоэлектрической батареи между охлаждаемой поверхностью прибора и испарителем первой КТТ - позволяет получить новый, обусловленный взаимосвязью признаков, технический результат, заключающийся в создании надежного устройства с упрощенной конструкцией, работоспособного при любой ориентации в поле сил тяжести и способного передавать тепло на большие расстояния при малых температурных перепадах и небольших энергетических затратах.

Как компенсировать расходы
на инновационную разработку
Похожие патенты