патент
№ RU 2669156
МПК G01N21/35

Поточный влагомер

Авторы:
Никулин Сергей Геннадьевич Зайцев Евгений Вячеславович Григорьев Борис Владимирович
Все (4)
Номер заявки
2017138953
Дата подачи заявки
09.11.2017
Опубликовано
08.10.2018
Страна
RU
Как управлять
интеллектуальной собственностью
Чертежи 
2
Реферат

[21]

Изобретение относится к области нефтедобычи. Поточный влагомер содержит основной корпус, широкополосный источник инфракрасного излучения, инфракрасные фильтры, инфракрасные детекторы, инфракрасную камеру, размещенную в основном корпусе с образованием между камерой и корпусом кольцевого канала, и установленные в инфракрасной камере коллиматорную линзу и отражатель. Источник инфракрасного излучения и инфракрасные фильтры размещены внутри инфракрасной камеры, при этом в инфракрасной камере и в основном корпусе выполнены кольцевые окна. Инфракрасные детекторы размещены снаружи основного корпуса напротив кольцевых окон с возможностью регистрации интенсивности излучения, прошедшего через кольцевой канал. Технический результат заключается в повышении точности измерения обводненности в потоке нефти путем обеспечения возможности проведения многоточечных измерений потока по всему сечению трубопровода. 3 ил.

Формула изобретения

Поточный влагомер, содержащий основной корпус, широкополосный источник инфракрасного излучения, инфракрасные фильтры, инфракрасные детекторы, отличающийся тем, что он дополнительно содержит инфракрасную камеру, размещенную в основном корпусе с образованием между камерой и корпусом кольцевого канала, и установленные в инфракрасной камере коллиматорную линзу и отражатель, причем источник инфракрасного излучения и инфракрасные фильтры также размещены внутри инфракрасной камеры, при этом в инфракрасной камере и в основном корпусе выполнены кольцевые окна, а инфракрасные детекторы размещены снаружи основного корпуса напротив его кольцевых окон с возможностью регистрации интенсивности излучения, прошедшего через кольцевой канал.

Описание

[1]

Изобретение относится к области нефтедобычи и может быть использовано в контрольно-измерительных установках для обеспечения непрерывного контроля обводненности продукции добывающих скважин и углеводородных смесей в трубопроводах для транспортировки нефти.

[2]

Известен диэлькометрический поточный влагомер ВСН-АТ, содержащий первичный преобразователь и электронный блок. Первичный преобразователь состоит из высокочастотного цифрового генератора колебаний и подключенного к нему волновода. Волновод состоит из внешней трубы, являющейся корпусом влагомера, и центрального металлического электрода. В корпусе влагомера находится датчик температуры для коррекции показаний влагомера в зависимости от температуры измеряемой среды. Электронный блок обеспечивает преобразование измеренного комплексного сопротивления волновода и резонансной частоты в объемную долю воды в водно-нефтяной смеси и передачу этой информации на табло или на внешнее электронное оборудование, осуществляет температурную компенсацию и диагностику влагомера (http://www.all-pribors.ru/opisanie/62863-15-vsn-at-69049).

[3]

Принцип действия влагомеров основан на измерении комплексного электрического сопротивления первичного преобразователя влагомера и резонансной частоты электрических колебаний, создаваемых высокочастотным генератором в зависимости от объемной доли воды в водно-нефтяной смеси.

[4]

Недостатками влагомера являются ограничение по содержанию свободного газа в потоке газожидкостной эмульсии (его объемная доля не должна превышать 5%), существенная зависимость результатов измерений от солености воды и дисперсности эмульсии, а также высокие требования к однородности потока, особенно при прямом типе эмульсии «нефть в воде».

[5]

Наиболее близким к предлагаемому устройству является семейство измерителей обводненности Red Eye, содержащих первичный преобразователь, включающий широкополосный источник ближнего инфракрасного (ИК) излучения, проточную ячейку, оптоволоконный коллиматор, оптические фильтры и фотодиоды, и электронный блок обработки информации, как например инфракрасный датчик по заявке США № US 2006/0186340 А1, публ.2006 г.

[6]

В известном датчике контролируемая водонефтяная смесь проходит через проточную ячейку (длина оптического пути около 2 мм).

[7]

Недостатком таких измерителей является их возможность измерения обводненности в очень узком диапазоне исследуемого потока. Однако в реальных водонефтегазовых потоках значение обводненности, измеренное в одной точке, может не соответствовать значению обводненности всего потока. Для получения достоверных результатов измерений обводненности в данном случае необходима гомогенная (равномерно перемешанная) структура потока. Измерители могут осуществлять измерения обводненности и при высоком содержании свободного газа, однако при объемной доле газа более 10% погрешности измерений превышают допустимые.

[8]

Задачей заявленного технического решения является повышение точности измерения обводненности в потоке нефти путем обеспечения возможности проведения многоточечных измерений потока по всему сечению трубопровода.

[9]

Технический результат достигается тем, что, поточный влагомер, содержащий основной корпус, широкополосный источник инфракрасного излучения, инфракрасные фильтры, инфракрасные детекторы, дополнительно содержит инфракрасную камеру, размещенную в основном корпусе с образованием между камерой и корпусом кольцевого канала, и установленные в инфракрасной камере коллиматорную линзу и отражатель, причем источник инфракрасного излучения и инфракрасные фильтры также размещены внутри инфракрасной камеры, при этом в инфракрасной камере и в основном корпусе выполнены кольцевые окна, а инфракрасные детекторы размещены снаружи основного корпуса напротив его кольцевых окон с возможностью регистрации интенсивности излучения, прошедшего через кольцевой канал.

[10]

Многоточечные измерения обводненности всего проходящего потока по кольцевому сечению устройства позволят с высокой точностью осуществлять измерения в негомогенном потоке при повышенном содержании газа.

[11]

Изобретение поясняется графически, где на фиг. 1 представлена схема поточного влагомера, на фиг. 2 изображено сечение А-А фиг. 1, на фиг. 3 схематично представлена конструкция узкополосных ИК-фильтров.

[12]

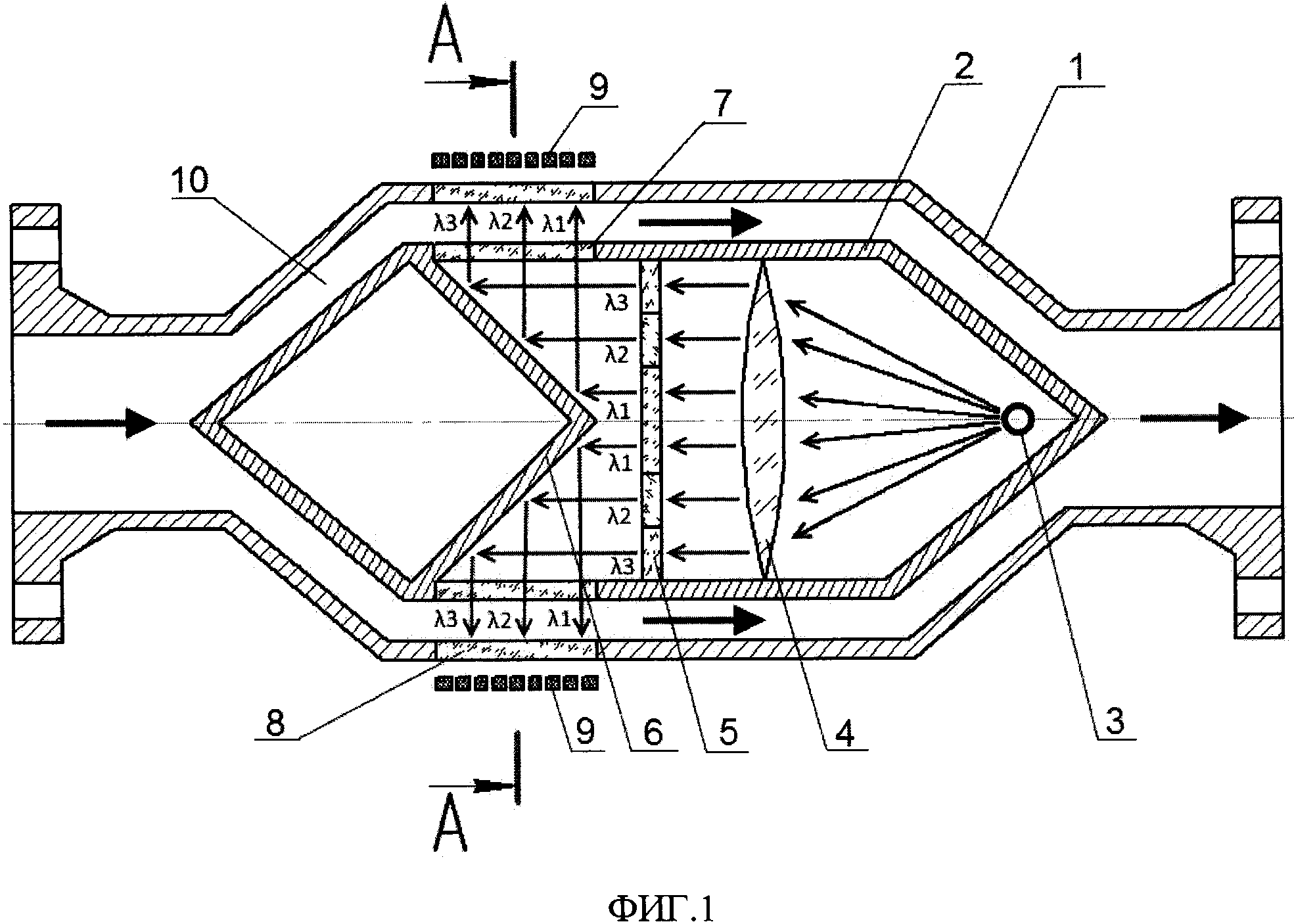
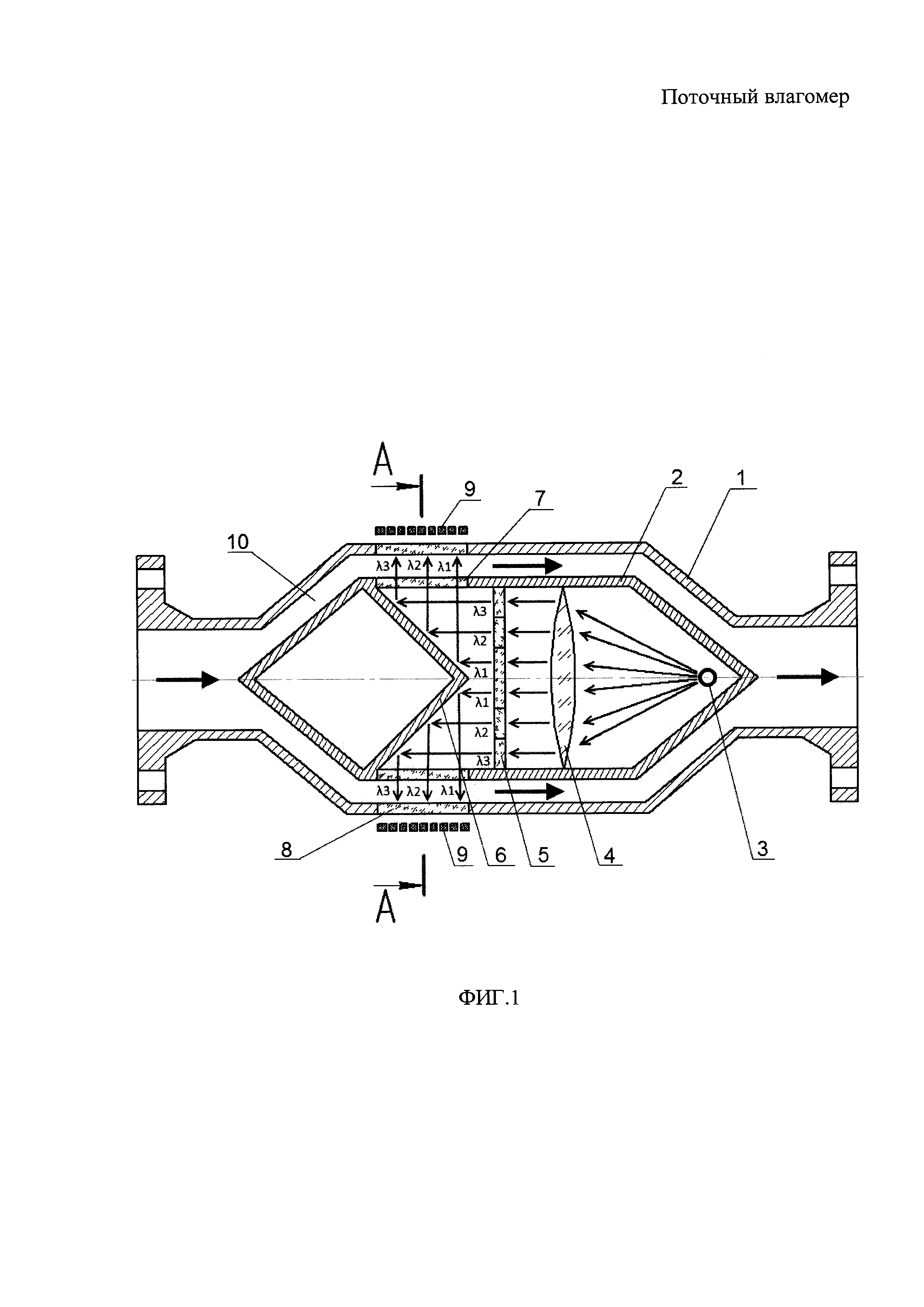
Устройство содержит основной корпус 1 и размещенную в нем инфракрасную камеру 2, в которой расположены широкополосной источник ИК-излучения 3, коллиматорная линза 4, ИК-фильтры 5 и конический отражатель 6. В стенках инфракрасной камеры 2 и основного корпуса 1 выполнены кольцевые окна 7 и 8. Снаружи основного корпуса 1 напротив кольцевого окна 8 расположены ИК-детекторы 9. Наружная поверхность инфракрасной камеры 2 и внутренняя поверхность основного корпуса 1 образуют кольцевой канал 10, по которому проходит поток исследуемой нефтесодержащей жидкости. ИК-фильтры 5 имеют форму концентрических колец 11, 12, 13 (см. фиг. 3). ИК-детекторы 9 соединены с внешним вычислительным устройством (на схеме не показано), которое обеспечивает обработку результатов измерений и их отображение на цифровом дисплее.

[13]

Принцип действия данного влагомера заключается в определении обводненности газожидкостного потока по степени поглощения ИК-излучения ближнего диапазона в области длин волн от 1000 до 2000 нм. По интенсивностям падающего и прошедшего излучения определяется оптическая плотность, по значению которой вычисляется значение влагосодержания. Причем в измерениях могут быть использованы несколько значений длин волн.

[14]

Устройство работает следующим образом.

[15]

Поточный влагомер встраивается в технологический трубопровод, что позволяет производить определение влажности нефти в рабочих условиях в процессе ее добычи и перекачки.

[16]

Излучение от широкополосного ИК-источника 3 проходит через коллиматорную линзу 4, которая преобразует расходящийся пучок ИК-излучения в параллельный. Далее параллельный пучок излучения проходит через узкополосные ИК-фильтры 5, имеющие форму концентрических колец (см. фиг. 3). Каждый ИК-фильтр пропускает только часть излучения определенной длины волны. Количество ИК-фильтров зависит от числа выбранных длин волн, на которых будут осуществляться измерения. Одна длина волны может соответствовать поглощению нефти, другая - поглощению воды, дополнительное значение длины волны может быть использовано для учета эффекта рассеяния. Для газа же поглощение на всех длинах волн может быть не существенным. Благодаря расположению фильтров 5 образуется пространственное разделение ИК-излучения на области с соответствующей длиной волны (фиг. 1). Фильтрующее кольцо 11 (см. фиг. 3) образует область излучения с длиной волны λ1, фильтрующее кольцо 12 - область излучения с длиной волны λ2, а фильтрующее кольцо 13 - область излучения с длиной волны λ3. Таким образом, использование нескольких длин волн позволяет определять количество воды при наличии попутного газа с учетом эффекта рассеяния излучения. Далее излучение с помощью конического отражателя 6 (фиг. 1) в радиальном направлении перпендикулярно потоку направляется на кольцевые окна 7 и 8 инфракрасной камеры 2 и основного корпуса 1. Через все поперечное сечение потока газожидкостной смеси, протекающего в кольцевом канале 10, последовательно проходят все области ИК-излучения с соответствующей длиной волны, которые попадают на ИК-детекторы 9, фиксирующие интенсивность прошедшего излучения. Сигналы с ИК-детекторов 9 поступают на внешнее вычислительное устройство, в котором производится расчет среднего значения обводненности измеряемого потока жидкости и отображение его на цифровом дисплее. Перерасчет сигналов с ИК-детекторов в значение обводненности осуществляется на основе системы уравнений, базирующейся на законе поглощения Бугера-Ламберта-Бера, выражающимся известной формулой:

[17]

,

[18]

где D - оптическая плотность анализируемой среды; I0 - интенсивность падающего излучения; I - интенсивность прошедшего излучения; k - коэффициент поглощения, зависящий от природы вещества и длины волны падающего излучения; С - концентрация поглощающего вещества в просвечиваемой среде; l - толщина слоя анализируемой среды.

[19]

Для предотвращения перепада давления на участке технологического трубопровода с встроенным влагомером характерный диаметр кольцевого канала 10 подобран таким образом, чтобы площадь его поперечного сечения была равной или незначительно меньше площади поперечного сечения технологического трубопровода.

[20]

Использование предложенного устройства позволяет расширить область применения поточного влагомера, используя его не только на вертикальных участках трубопроводов, но и на горизонтальных, а также повысить точность измерения обводненности в потоке водонефтегазовой смеси путем осуществления измерений по всему сечению потока.

Как компенсировать расходы
на инновационную разработку
Похожие патенты