патент
№ RU 2667984
МПК B64D39/00

СИСТЕМА И СПОСОБ РЕГУЛИРОВАНИЯ СКОРОСТИ УБОРКИ-ВЫПУСКА ШЛАНГА НА ПОДВЕСНЫХ АГРЕГАТАХ ЗАПРАВКИ

Авторы:
Степаненко Владимир Александрович
Номер заявки
2017137488
Дата подачи заявки
26.10.2017
Опубликовано
25.09.2018
Страна
RU
Как управлять
интеллектуальной собственностью
Чертежи 
1
Реферат

Изобретение относится к системам дозаправки летательных аппаратов в полете. Система регулирования скорости уборки-выпуска шланга на подвесных агрегатах заправки состоит из блока (1) автоматики агрегата заправки, турбины слежения (4) со створкой (3), барабана (5) со шлангом, датчика оборотов (6), сигнализатора (7) зон заправки. Также система включает в себя электромеханизм (2) управления створкой (3) и систему управления этим электромеханизмом. Изобретение улучшает регулирование скорости уборки-выпуска шланга. 2 н.п. ф-лы, 1 ил.

Формула изобретения

1. Система регулирования скорости уборки-выпуска шланга на подвесных агрегатах заправки, состоящая из блока автоматики агрегата заправки, турбины слежения со створкой, барабана со шлангом, датчика оборотов, сигнализатора зон заправки, отличающаяся тем, что в ее состав введен электромеханизм управления створкой и система управления этим электромеханизмом.

2. Способ регулирования скорости уборки-выпуска шланга на подвесных агрегатах заправки, включающий алгоритм, заложенный в программу управления блока автоматики, по которому створка турбины слежения меняет свое положение в зависимости от режима уборки-выпуска, отличающийся тем, что регулирование осуществляют путем передачи данных о длине, направлении и скорости движения шланга от датчика оборотов и сигнализаторов зон заправки в блок автоматики, который включает электромеханизм на открытие или закрытие створки турбины слежения в соответствии с заложенным в программу управления алгоритмом на время, пока скорость движения шланга не достигнет заданного алгоритмом значения, и отключает электромеханизм, который при своем отключении фиксирует створку турбины слежения в заданном положении до момента, когда скорость движения шланга достигнет предела регулирования.

Описание

[1]

Изобретение относится к области авиации, а именно - к системам дозаправки летательных аппаратов топливом в полете.

[2]

Известна система слежения, обеспечивающая выпуск и уборку шланга без регулирования скорости его движения («Подвесной агрегат заправки ПАЗ-МК». Руководство по технической эксплуатации М-7000-0 РЭ, ОАО «НПП «Звезда», 2012 г.), состоящая из блока автоматики агрегата заправки, турбины слежения со створкой, барабана со шлангом, датчика оборотов, сигнализатора зон заправки, гидроцилиндра управления створкой турбины слежения и трех электромагнитных кранов, управляющих гидроцилиндром.

[3]

Система работает в соответствии с алгоритмом, заложенным в программу блока автоматики, позволяя открывать створку турбины слежения на фиксированный угол при уборке шланга и закрывать створку на режиме выпуска шланга.

[4]

Существенным недостатком этой системы является следующее.

[5]

На различных режимах полета (при разных высоте и скорости полета) скорость движения шланга изменяется в больших пределах.

[6]

Гидроцилиндр управления створкой турбины слежения не имеет промежуточных положений в силу своих конструктивных свойств, поэтому отсутствует регулирование скорости движения шланга в зависимости от открытия створки турбины слежения.

[7]

Увеличение скорости движения шланга на выпуске приводит к резкому рывку шланга при торможении на конце выпуска, что влияет на прочность шланга и уменьшает его ресурс.

[8]

Увеличение скорости на уборке ограничено торможением с запоминанием состояния системы на уровне 40% от максимальной скорости, что приводит к лишним действиям оператора по снятию режима торможения.

[9]

Задачей изобретения является обеспечение регулирования скорости выпуска и скорости уборки шланга в заданных пределах путем открытия створки турбины слежения на необходимый угол.

[10]

Поставленная задача решается введением в состав системы вместо гидроцилиндра управления створкой турбины слежения электромеханизма поступательного действия и системы управления этим электромеханизмом по заданному алгоритму. Электромеханизм может открывать или закрывать створку турбины слежения на угол, при котором скорость движения шланга не будет выходить за заданные пределы.

[11]

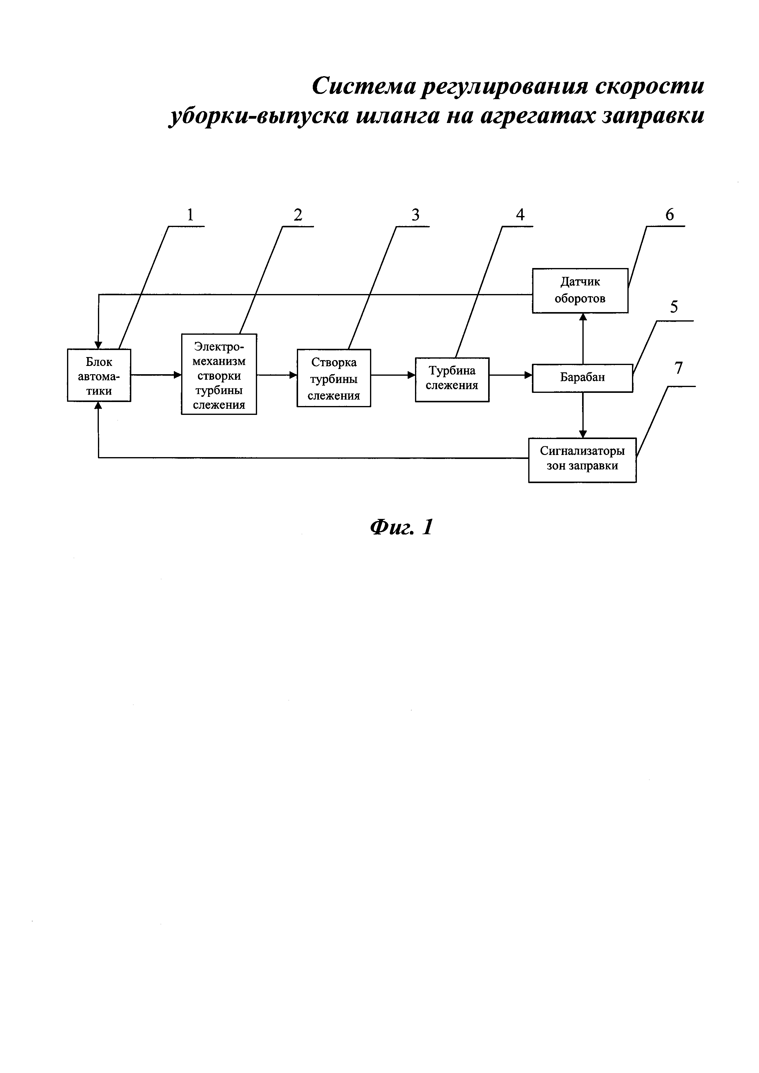
Структурная схема системы регулирования скорости уборки-выпуска шланга на подвесных агрегатах заправки представлена на фиг. 1.

[12]

Заявляемая система регулирования скорости уборки-выпуска шланга на агрегатах заправки состоит из блока автоматики 1, электромеханизма 2 управления створкой турбины слежения, створки 3 турбины слежения, турбины слежения 4, барабана 5, на который намотан шланг, датчика оборотов 6, сигнализатора 7 зон заправки.

[13]

Блок автоматики 1 выдает команды на электромеханизм 2 по алгоритму, заложенному в программу управления.

[14]

Электромеханизм 2 створки турбины слежения позволяет открывать и закрывать створку 3 турбины слежения в зависимости от команд, поступающих с блока автоматики 1.

[15]

Створка 3 турбины слежения изменяет крутящий момент на турбине слежения 4 в зависимости от набегающего потока воздуха.

[16]

Турбина слежения 4 передает крутящий момент на барабан 5, и тем самым заставляет его вращаться в сторону намотки или размотки шланга с регулируемой скоростью.

[17]

Датчик оборотов 6 определяет направление и скорость вращения барабана 5, т.е. скорость выпуска-уборки шланга.

[18]

Сигнализатор 7 зон заправки определяет длину выпущенного шланга.

[19]

Система работает следующим образом.

[20]

При выпуске или уборке шланга данные о длине, направлении и скорости его движения передаются в блок автоматики 1.

[21]

Блок автоматики 1 включает электромеханизм 2 на открытие или закрытие створки 3 турбины слежения 4 в соответствии с заложенным в программу управления алгоритмом на время, пока скорость движения шланга не достигнет заданного значения, и отключает электромеханизм.

[22]

При отключении электромеханизм 2 фиксирует створку 3 турбины слежения в заданном положении до момента, когда скорость движения шланга выйдет за пределы регулирования.

[23]

Таким образом, решается задача создания системы, позволяющей регулировать скорость уборки-выпуска шланга на подвесных агрегатах заправки.

Как компенсировать расходы
на инновационную разработку
Похожие патенты