патент
№ RU 2630332
МПК E21B7/08

СПОСОБ СТРОИТЕЛЬСТВА МНОГОЗАБОЙНОЙ СКВАЖИНЫ И УСТРОЙСТВО ДЛЯ ЕГО ОСУЩЕСТВЛЕНИЯ

Авторы:
Насыров Азат Леонардович Мухаметшин Алмаз Адгамович Ахмадишин Фарит Фоатович
Все (4)
Номер заявки
2016133671
Дата подачи заявки
16.08.2016
Опубликовано
07.09.2017
Страна
RU
Как управлять
интеллектуальной собственностью
Чертежи 
3
Реферат

Группа изобретений относится к области бурения многозабойных скважин, в частности к устройствам для создания механического соединения обсадных колонн основного и дополнительного стволов с сохранением проходного диаметра основного ствола скважины. Способ включает вскрытие окна в обсадной колонне основного ствола скважины и бурение нового дополнительного ствола до проектной глубины с использованием извлекаемого клина-отклонителя, спуск хвостовика с обсадными трубами на устье бокового ствола скважины с последующей герметизацией бокового ствола скважины, разбуривание верхней части хвостовика. Клин-отклонитель с якорем извлекают до спуска хвостовика, который оснащают в зоне окна продольно-гофрированной подвеской, или изготавливают в виде продольно-профильной трубы. Хвостовик размещают в боковом стволе при помощи прикрепленного снизу направляющего башмака. Выправление гофрированных участков хвостовика осуществляют избыточным давлением с фиксацией и последующим развальцовыванием в боковом стволе. Разбуривание верхней части хвостовика осуществляют в три этапа, на первом производят вырезание направляющего окна в хвостовике для создания сообщения с основным стволом, на втором - развальцовку верхней части хвостовика до прижатия его к стенкам основного ствола выше окна, на третьем - удаление верхней части хвостовика, находящейся в основном стволе. Устройство для разбуривания верхней части хвостовика для реализации способа включает инструмент с выполненными раздвижными режущими элементами, спускаемый на колонне труб и выполненный с возможностью вращения при разбуривании. Снизу устройства размещен сверлящий инструмент. Между сверлящим и режущим инструментами установлен вальцующий инструмент с вращающимися выдвижными роликами, смещенными по диаметру относительно режущих элементов. Расстояние между сверлящим и вальцующим инструментами не менее длины окна в продольном направлении основного ствола. Обеспечивается снижение временных, трудовых и материальных затрат на строительство бокового ствола из ранее пробуренной и обсаженной скважины. 2 н. и 2 з.п. ф-лы, 5 ил.

Формула изобретения

1. Способ строительства многозабойной скважины, включающий вскрытие окна в обсадной колонне первичного основного ствола скважины и бурение нового дополнительного бокового ствола до проектной глубины с использованием извлекаемого клина-отклонителя, спуск хвостовика с обсадными трубами на устье бокового ствола скважины с последующей герметизацией бокового ствола скважины, разбуривание верхней части хвостовика, отличающийся тем, что клин-отклонитель с якорем извлекают до спуска хвостовика, который оснащают в зоне окна продольно-гофрированной подвеской или изготавливают в виде продольно-профильной трубы, хвостовик размещают в боковом стволе при помощи прикрепленного снизу направляющего башмака, выправление гофрированных участков хвостовика осуществляют избыточным давлением с фиксацией и последующим развальцовыванием в боковом стволе, разбуривание верхней части хвостовика осуществляют в три этапа, на первом из которых производят вырезание направляющего окна в хвостовике для создания сообщения с основным стволом, на втором - развальцовку верхней части хвостовика до прижатия его к стенкам основного ствола выше окна, на третьем - удаление верхней части хвостовика, находящейся в основном стволе.

2. Устройство для разбуривания верхней части хвостовика для реализации способа по п.1, включающее инструмент с режущими элементами, спускаемый на колонне труб и выполненный с возможностью вращения при разбуривании, отличающееся тем, что снизу размещен сверлящий инструмент, а между сверлящим и режущим инструментами установлен вальцующий инструмент с вращающимися выдвижными роликами, которые смещены по диаметру относительно режущих элементов, причем расстояние между сверлящим и вальцующим инструментами не менее длины окна в продольном направлении основного ствола.

3. Устройство для разбуривания верхней части хвостовика по п. 2, отличающееся тем, что режущие элементы режущего инструмента выполнены раздвижными.

4. Устройство для разбуривания верхней части хвостовика по п. 2 или 3, отличающееся тем, что один из вальцующих роликов вальцующего инструмента изготовлен диаметром, большим на 1-3% диаметра остальных роликов.

Описание

[1]

Изобретение относится к области бурения многозабойных скважин, в частности к устройствам для создания соединения обсадных колонн основного и дополнительного стволов с сохранением проходного диаметра основного ствола скважины.

[2]

Известен способ проведения и крепления многозабойной скважины (пат. RU №2074944, МПК 6 Е21В 7/04, опубл. 20.03.1997 г., Бюл. №7).

[3]

Сущность изобретения: по способу осуществляют бурение основного и дополнительных стволов. Бурение основного ствола осуществляют до последнего по глубине разветвления. Затем проводят крепление основного ствола трубами, устанавливают съемный или легко разбуриваемый клин, бурят дополнительный ствол и осуществляют его крепление, при этом часть верхних труб хвостовика, вошедших в основной ствол, выполнена из легкосплавных бурильных труб, которые разбуривают вместе с клином (если был установлен съемный клин, его извлекают).

[4]

Верхняя часть хвостовика обрабатывается устройством, включающим режущий инструмент (долото), спускаемый на колонне труб и выполненный с возможностью вращения.

[5]

Недостатками данного способа являются:

[6]

- невозможность создания надежного механического соединения между собой обсадных колонн стволов многозабойной скважины, так как диаметр обсадных труб (хвостовика) бокового ствола меньше проходного диаметра окна в стенке обсадной колонны основного ствола скважины (диаметр обсадной колонны основного ствола - 245 мм, бурение дополнительного ствола производили долотом диаметром 190,5 мм, для прохода долота в окно его диаметр должен быть не менее 200 мм, боковой ствол крепили хвостовиком диаметром 146 мм, у которого верхние трубы из легкосплавных бурильных труб диаметром 147 мм. Зазор между хвостовиком и стенками окна составляет 53 мм). В процессе цементирования хвостовика он под действием силы тяжести ложится на нижнюю стенку дополнительного ствола и весь зазор суммируется в верхней части окна. Цемент не является герметизирующим веществом, поэтому под воздействием перепада давлений при освоении и эксплуатации скважины происходят: проникновение пластовых флюидов в зону соединения стволов, разрушение и обрушение цемента и породы в основной ствол скважины. Герметичность соединения нарушается, и тонкий верхний участок отфрезерованного хвостовика отгибается внутрь основного ствола скважины, перекрывая его и ограничивая доступ ниже этой точки (Новые подходы к строительству многоствольных горизонтальных скважин / Хосе Фрайя [и др.] // Нефтегазовое обозрение. - 2003. - Весна. - С. 44-67 и Оценка напряженно-деформированного состояния конструкции соединения стволов многоствольных скважин / Ошибков А.В. [и др.] // Нефтяное хозяйство. - 2015. - №6. - С. 83-85);

[7]

- возникновение заколонных перетоков вследствие нарушения герметичности заколонного пространства дополнительного ствола в зоне окна может привести к сдвигам в пластах и даже к потере дополнительного ствола;

[8]

- невозможность создания герметичного соединения обсадных колонн многозабойной скважины в зоне окна с помощью цемента, так как он является пористым веществом;

[9]

- невозможность создания механического соединения обсадных колонн основного и бокового стволов из-за большой разности диаметров окна и хвостовика;

[10]

- необходимость разбуривания клина приводит к увеличению сроков и стоимости строительства многозабойной скважины.

[11]

Недостатками данного устройства являются:

[12]

- невозможность сохранения равнопроходного сечения основного ствола скважины, так как разбуривание верхней части трубы хвостовика, выходящей в основной ствол скважины, как следует из описания, производят долотом, диаметр которого меньше внутреннего диаметра обсадной колонны основного ствола, а значит, часть хвостовика и цемента будет оставаться неразбуренной и выступать в основной ствол, при проведении спуско-подъемных операций верхняя тонкая часть будет загибаться и перекрывать проход в дополнительный ствол скважины;

[13]

- невозможность сохранения проходного диаметра бокового ствола, так как при разбуривании долотом верхней части хвостовика, выполненной из легкосплавных бурильных труб (например, сплава Д16-Т), происходит затекание металла внутрь трубы хвостовика, что также будет создавать препятствия для прохождения инструментов в боковой ствол скважины;

[14]

- невозможность создания механического и герметичного соединения обсадных колонн многозабойной скважины при обработке (разбуривании) верхней части хвостовика, выходящей в основной ствол скважины, так как долото не центрируется по оси основного ствола, значит, оно будет двигаться по пути наименьшего сопротивления, а в зоне окна будет стремиться сместиться в сторону бокового ствола, оставляя не вырезанной часть хвостовика, так как со стороны окна отсутствует опорная плоскость, и вырезая часть хвостовика в окне, что приведет разрушению механического соединения обсадных колонн и, как следствие, к разрушению цемента в зоне окна;

[15]

- невозможность с применением устройства произвести отбортовку конца хвостовика, находящегося в зоне окна, и привальцевать его к стенкам окна в обсадной колонне основного ствола, так как режущий инструмент (долото) не предназначен для производства операций по вальцовке концов труб.

[16]

Известны метод внутрискважинной полимеризации и оборудование для герметизации соединения между боковым и основным стволами скважины (пат. US №6015012 А, МПК 7 Е21В 7/06, опубл. 29.08.1997 г.). Метод включает следующие технологические операции: спуск и установку нижнего отклонителя в обсадной колонне основного ствола; спуск и установку направляющего устройства фрезера для вырезания окна в обсадной колонне основного ствола; вырезание окна; бурение бокового ствола; извлечение направляющего устройства фрезера из скважины; спуск и установку верхнего отклонителя в основном стволе над нижним отклонителем; спуск обсадной колонны (хвостовика) в боковой ствол так, чтобы верхний короткий участок выходил в основной ствол; фрезерование этого участка вровень (заподлицо) с внутренним диаметром обсадной колонны основного ствола; извлечение верхнего клина-отклонителя; спуск и установку полимеризуемой втулки в основном стволе; спуск и установку направляющего устройства фрезера для вырезания окна меньшего диаметра в стенке полимеризуемой втулки; вырезание окна; извлечение направляющего устройства фрезера меньшего диаметра из скважины; разбуривание нижнего отклонителя. Метод может включать этап очистки основного ствола после фрезерования участка хвостовика, выходящего в основной ствол. Уплотняющая втулка может использоваться самостоятельно для создания первичного уплотнения или в качестве дополнительного уплотнения в сочетании с цементом или другими герметизирующими материалами.

[17]

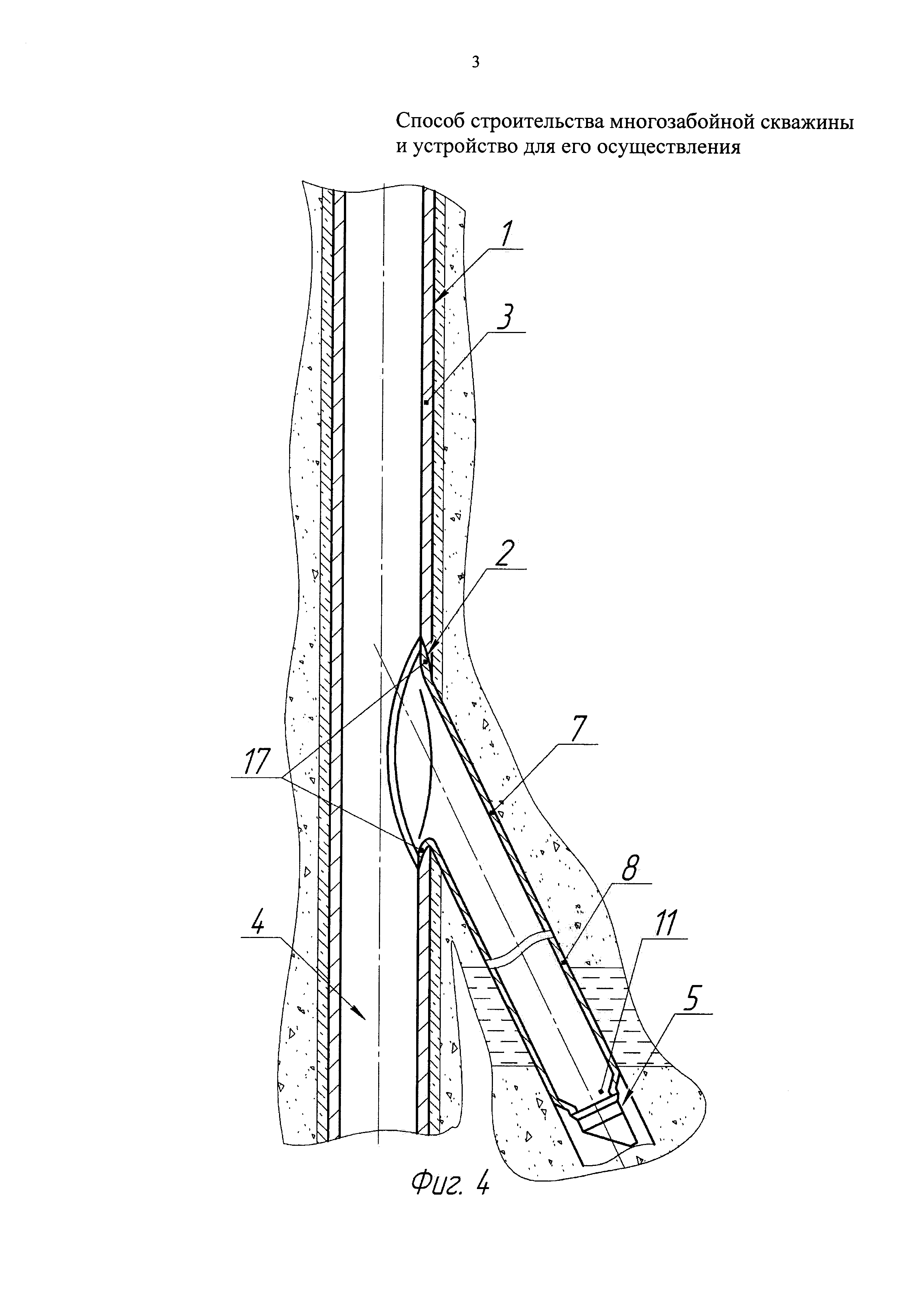
Верхняя часть хвостовика обрабатывается устройством, включающим режущий инструмент (фрезер), спускаемый на колонне труб и выполненный с возможностью вращения.

[18]

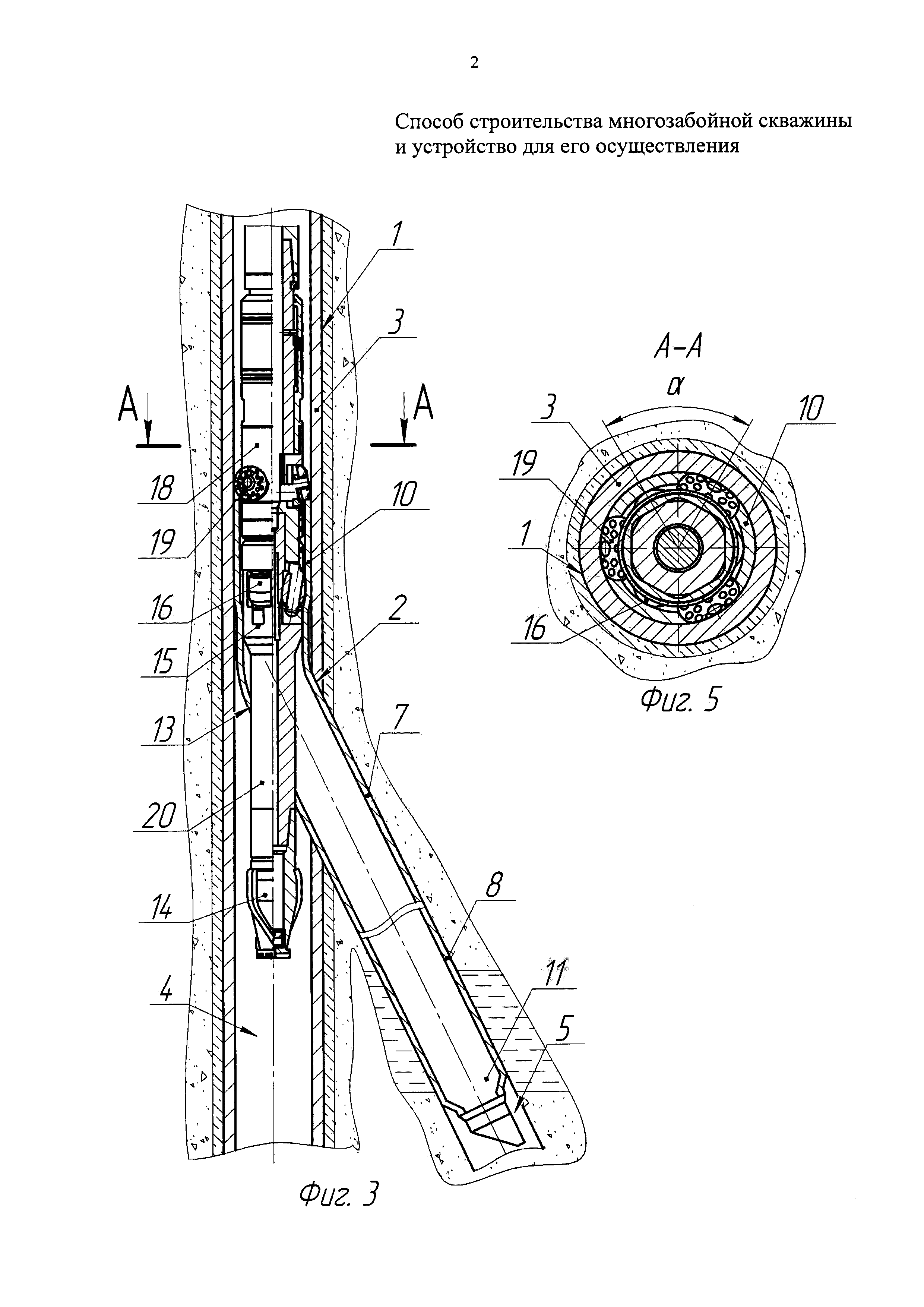
Недостатками данного метода являются:

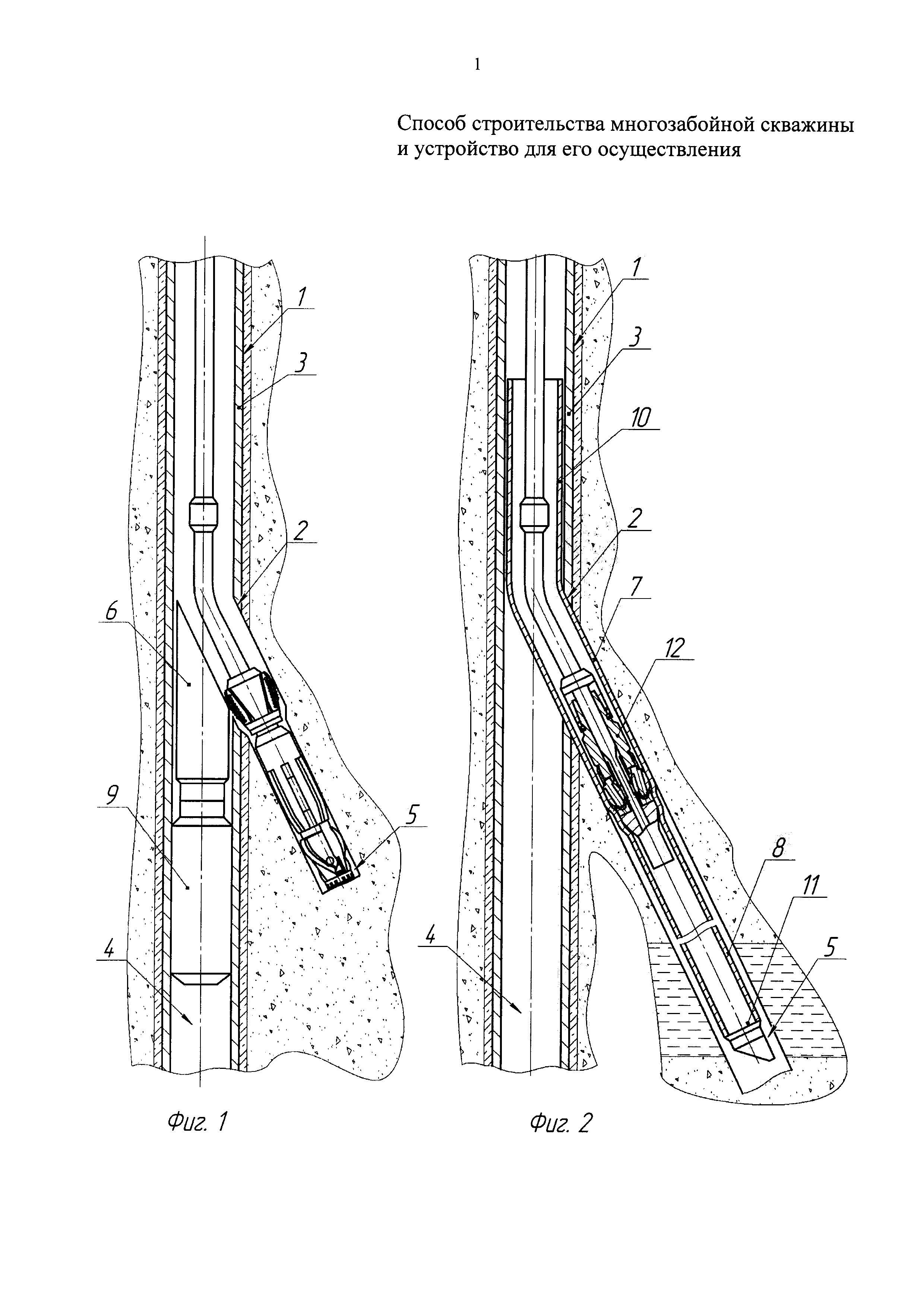
[19]

- уменьшение проходного диаметра основного ствола скважины;

[20]

- разрушение и разгерметизация соединения стволов в процессе спуско-подъемных операций, при которых будет происходить задир верхнего и нижнего концов уплотняющей втулки, а также кромок ее окна;

[21]

- затрудненность извлечения верхнего клина-отклонителя после расфрезеровывания короткого участка обсадной колонны (хвостовика) бокового ствола, выходящего в основной ствол скважины, из-за того, что фрезер не может полностью вырезать этот участок хвостовика, упираясь в клин-отклонитель, который направляет его в боковой ствол;

[22]

- увеличение сроков и стоимости строительства многозабойных скважин из-за необходимости проведения дополнительных операций по установке съемного клина внутри уплотняющей втулки, вырезания окна в боковой стенке уплотняющей втулки вровень (заподлицо) с внутренним диаметром хвостовика, извлечения съемного клина и разбуривания нижнего клина;

[23]

- невозможность создания механического соединения обсадных колонн основного и бокового стволов из-за большой разности диаметров окна и хвостовика.

[24]

Недостатками данного устройства являются:

[25]

- невозможность расфрезеровать верхний короткий участок хвостовика, выходящего в основной ствол, вровень (заподлицо) с внутренним диаметром обсадной колонны основного ствола, так как диаметр фрезера меньше внутреннего диаметра обсадной колонны основного ствола. При фрезеровании хвостовика для получения ровного среза фрезер должен проходить вдоль окна в основной ствол, центрируясь по оси основного ствола, что не позволяет выполнить клин-отклонитель;

[26]

- устройство разрушает соединение обсадных колонн многозабойной скважины, так как при фрезеровании хвостовика в зоне окна фрезер упирается в клин, который отклоняет его в боковой ствол. Фрезер продолжает вырезать хвостовик в зоне окна, разрушая соединение обсадных колонн и фрезеруя клин, который после такой обработки трудно захватить и извлечь из скважины;

[27]

- невозможно создать механическое соединение обсадных колонн многозабойной скважины, так как устройство, включающее режущий инструмент (фрезер), не предназначено для производства операций по вальцовке концов труб.

[28]

Наиболее близким является способ строительства многозабойных скважин (пат. RU №2279522, МПК 7 Е21В 7/08, опубл. 10.07.2006 г., Бюл. №19), включающий вырезание окна в обсадной колонне первичного ствола скважины и бурение нового дополнительного ствола до проектной глубины с использованием клина-отклонителя, оборудованного шлицами в нижней части и посадочной площадкой, который опирается на извлекаемый посадочный узел со шлицами, опирающейся на шлицы обсадной колонны первичного ствола скважины. После бурения дополнительного ствола клин-отклонитель извлекают из скважины и спускают хвостовик с обсадными трубами и узлом для герметизации устья при помощи вспомогательного клина. Хвостовик цементируют, а вспомогательный патрубок с манжетами в верхней части разбуривают долотом. По окончании освоения нового дополнительного ствола производят извлечение посадочного узла со вспомогательным клином.

[29]

Верхняя часть хвостовика обрабатывается устройством, включающим режущий инструмент (долото), спускаемый на колонне труб и выполненный с возможностью вращения.

[30]

Недостатками данного способа являются:

[31]

- невозможность применения данного способа в ранее построенных скважинах, так как в них отсутствует оборудование низа обсадной колонны основного ствола шлицами для посадки на них извлекаемого посадочного узла с посадочной обсадной трубой, на верхнем конце муфты которой устанавливается вспомогательный клин;

[32]

- увеличение сроков и стоимости строительства многозабойных скважин из-за увеличения количества дополнительных операций по установке и снятию извлекаемого оборудования, закачке вязкопластичной жидкости, разбуриванию долотом вспомогательного патрубка с манжетами, промывке основного ствола от вязкопластичной жидкости;

[33]

- значительное уменьшение проходного диаметра хвостовика в зоне окна, так как размещенный на его поверхности клин для закрепления неустойчивых пород в зоне окна увеличивает диаметр конструкции и ее жесткость, что приведет к аварийным ситуациям при прохождении хвостовика через окно;

[34]

- повышение вероятности гидроразрыва пласта при прокачивании тампонажной смеси в кольцевое пространство между породой и стенкой хвостовика вследствие того, что зазор между хвостовиком и стенками окна из-за увеличения наружного диаметра хвостовика может уменьшиться до технологически недопустимого значения;

[35]

- невозможность создания механического соединения обсадных колонн основного и бокового стволов из-за большой разности диаметров окна и хвостовика и конструкции хвостовика в зоне окна, состоящей из нескольких трубных деталей, размещенных одна в другой (вспомогательный патрубок с манжетами и клин для разобщения неустойчивых пород);

[36]

- увеличение процента аварийности при проведении работ при спуске и креплении хвостовика и разбуривании его верхней части, так как малейшая неточность установки хвостовика относительно окна приведет к заходу клина, предназначенного для закрепления неустойчивых пород в зоне окна, в основной ствол скважины и, соответственно, к необходимости разбуривания дополнительного металла, поломкам долота и дополнительным спуско-подъемным операциям, увеличению времени и материальных затрат при строительстве многозабойных скважин;

[37]

- снижение добычных возможностей скважины и ее рентабельности вследствие того, что крепление обсадной колонны дополнительного ствола осуществляется цементом, а это приводит к уменьшению диаметра дополнительного ствола в продуктивном пласте и загрязнению (кольматации) его цементом.

[38]

Недостатками данного устройства являются:

[39]

- неполное восстановление проходного сечения основного ствола, так как разбуривание верхней части вспомогательного патрубка с манжетами производят долотом меньшего диаметра, чем внутренний диаметр обсадной колонны основного ствола, а значит, часть хвостовика будет оставаться не разбуренной и выступать в основной ствол, и при производстве любых работ верхняя тонкая часть будет загибаться и перекрывать проход в основной и дополнительный стволы скважины;

[40]

- разрушение соединения обсадных колонн многозабойной скважины, так как долото в процессе обработки верхней части хвостовика (разбуривании) не центрируется по оси основного ствола и в зоне окна из-за отсутствия опорной плоскости со стороны окна будет стремиться сместиться в сторону бокового ствола, продолжая вырезать часть хвостовика в окне, полностью разрушая соединение обсадных колонн и цемента в зоне окна;

[41]

- с применением устройства невозможно произвести отбортовку конца хвостовика, находящегося в зоне окна, и привальцевать его к стенкам окна в обсадной колонне основного ствола, так как режущий инструмент (долото) не предназначен для производства операций по вальцовке концов труб;

[42]

- увеличение сроков и материальных затрат при строительстве многозабойной скважины, так как долото в процессе обработки верхней части хвостовика (разбуривании) не центрируется по оси основного ствола, значит, оно будет двигаться по пути наименьшего сопротивления и по винтообразной траектории, разбуривая и стенки хвостовика, и стенки обсадной колонны основного ствола, оставляя не вырезанной часть хвостовика, что приведет к многократным обработкам (разбуриванию) хвостовика в зоне окна для восстановления проходного диаметра основного ствола и создания условий для извлечения посадочного узла.

[43]

Техническими задачами настоящего способа являются:

[44]

- создание надежного механического соединения между собой обсадных колонн стволов многозабойной скважины;

[45]

- сохранение проходного сечения основного ствола скважины после создания механического соединения между собой обсадных колонн стволов многозабойной скважины;

[46]

- увеличение проходного диаметра дополнительного ствола скважины;

[47]

- повышение надежности соединения стволов путем развальцовывания подвески хвостовика или колонны профильных труб в зоне окна и боковом стволе и предотвращение тем самым заколонных перетоков пластовой жидкости вдоль хвостовика;

[48]

- сохранение коллекторских свойств пласта за счет исключения цементных технологий и, как следствие, повышение дебита скважины и ее рентабельности.

[49]

Техническими задачами настоящего устройства для реализации способа являются:

[50]

- получение простой и надежной конструкции устройства, позволяющего производить разбуривание верхней части хвостовика, выходящей в основной ствол вровень (заподлицо) с внутренним диаметром обсадной колонны без задиров и затекания металла внутрь хвостовика;

[51]

- разбуривание верхней части хвостовика, выходящей в основной ствол в один этап;

[52]

- повышение надежности соединения стволов путем оснащения хвостовика в зоне окна продольно-гофрированной подвеской и создания отбортовки на конце хвостовика, находящегося в зоне окна, методом развальцовывания, при необходимости, с элементами ударной обработки трубных изделий для увеличения жесткости конструкции по краю реза;

[53]

- сокращение сроков и стоимости строительства многозабойных скважин.

[54]

Технические задачи решаются способом строительства многозабойной скважины, включающим вскрытие окна в обсадной колонне первичного – основного - ствола скважины и бурение нового дополнительного – бокового - ствола до проектной глубины с использованием извлекаемого клина-отклонителя, спуск хвостовика с обсадными трубами на устье бокового ствола скважины с последующей герметизацией бокового ствола скважины, разбуривание верхней части хвостовика.

[55]

Новым является то, что клин-отклонитель с якорем извлекают до спуска хвостовика, который оснащают в зоне окна продольно-гофрированной подвеской или изготавливают в виде продольно-профильной трубы, хвостовик размещают в боковом стволе при помощи прикрепленного снизу направляющего башмака, выправление гофрированных участков хвостовика осуществляют избыточным давлением с фиксацией и последующим развальцовыванием в боковом стволе, разбуривание верхней части хвостовика осуществляют в три этапа, на первом из которых производят вырезание направляющего окна в хвостовике для создания сообщения с основным стволом, на втором - развальцовку верхней части хвостовика до прижатия его к стенкам основного ствола выше окна, на третьем - удаление верхней части хвостовика, находящейся в основном стволе.

[56]

Технические задачи для реализации способа решаются также устройством для разбуривания верхней части хвостовика, включающим инструмент с режущими элементами, спускаемый на колонне труб и выполненный с возможностью вращения при разбуривании.

[57]

Новым является то, что снизу размещен сверлящий инструмент, а между сверлящим и режущим инструментами установлен вальцующий инструмент с вращающимися выдвижными роликами, которые смещены по диаметру относительно режущих элементов, причем расстояние между сверлящим и вальцующим инструментами не менее длины окна в продольном направлении основного ствола.

[58]

Новым является также то, что режущие элементы режущего инструмента выполнены раздвижными.

[59]

Новым является также то, что один из вальцующих роликов вальцующего инструмента изготовлен диаметром, большим на 1-3% диаметра остальных роликов.

[60]

На фиг. 1 показан разрез скважины в процессе вырезания окна в стенке эксплуатационной колонны и зарезки бокового ствола.

[61]

На фиг. 2 показан разрез скважины в процессе развальцовывания хвостовика, изготовленного из колонны профильных труб.

[62]

На фиг. 3 показан разрез скважины с устройством для разбуривания верхней части хвостовика за один этап;

[63]

На фиг. 4 показан разрез многозабойной скважины с соединением обсадных колонн.

[64]

На фиг. 5 показан разрез А-А на фиг. 3.

[65]

Способ строительства многозабойной скважины 1 (фиг. 1), включает вскрытие окна 2 в обсадной колонне 3 основного ствола 4 скважины и бурение бокового ствола 5 до проектной глубины с использованием извлекаемого клина-отклонителя 6 (см. патент РФ №2414580 и т.п. - на фиг. 1 показан условно), спуск хвостовика 7 (фиг. 2) с обсадными продольно-профильными трубами 8 на устье бокового ствола 5 скважины с последующей герметизацией бокового ствола 5 скважины, разбуривание верхней части хвостовика 7 (фиг. 3). Перед началом работ по спуску хвостовика 7 (фиг. 2) клин-отклонитель 6 (фиг. 1) с якорем 9 извлекают из скважины, например, с помощью устройства (см. патент РФ №2415250 и т.п.- на фиг. 1 не показано) для извлечения клина-отклонителя 6. Спуск хвостовика 7 (фиг. 2), который оснащают в зоне окна 2 продольно-гофрированной подвеской 10 или изготавливают в виде продольно-профильных труб 8 (см. патент РФ №2463433 и т.п.- на фиг. 2 показано условно), которые в транспортном положении по габаритному диаметру не превышают диаметр бокового ствола 5 с технологическими зазорами. Хвостовик 7 направляют и размещают в боковом стволе 5 при помощи прикрепленного снизу направляющего башмака 11 (см. патент РФ №2483187 и т.п.- на фиг. 2-4 показан условно), при этом хвостовик 7 свободно проходит в окно 2 до забоя бокового ствола 5. Выправление гофрированных участков хвостовика 7 осуществляют избыточным давлением с фиксацией и последующим развальцовыванием (например, роликовым развальцевателем 12, дорном и т.п. - на фиг. 2 не показано) в боковом стволе 5 скважины 1, что позволяет полностью выбрать зазор между стенками участков хвостовика 7 и стенками бокового ствола 5 и предотвратить тем самым перетоки пластовой жидкости вдоль участков хвостовика 7. В процессе развальцовывания внутренний диаметр продольно-профильных труб 8 в составе хвостовика 7 становится идеально круглым, стенки профильных труб 8 хвостовика 7 подвергаются наклепу и упрочняются. С целью исключения цементных технологий при креплении хвостовика и сохранения коллекторских свойств пласта, повышения добычных возможностей скважины в сложных геологических условиях, когда по длине бокового ствола 5 (на фиг. 2 не показано) расположены пласты с аномально высоким и низким давлением или пласты, подверженные осыпанию, на поверхности профильных труб 8 хвостовика 7 устанавливают герметизирующие пакеры (см. патент РФ №2463433 и т.п. - на фиг. 2-4 не показаны), которые в процессе развальцовывания хвостовика 7 плотно прижимаются к стенкам бокового ствола 5 и дополнительно герметизируют его заколонное пространство без применения цементных технологий.

[66]

Разбуривание верхней части хвостовика 7 (фиг. 3), т.е. подвески 10, осуществляют в три этапа, на первом из которых производят вырезание направляющего окна 13 в подвеске 10 хвостовика 7 для создания сообщения с основным стволом 4 сверлящим инструментом 14, спускаемым на колонне труб (на фиг. 3 не показаны) и выполненным с возможностью вращения, например компоновкой фрез для вырезания окна в стенке обсадной колонны, фрезой для разбуривания сломанных труб в скважине и т.п. На втором этапе производят развальцовку подвески 10 хвостовика 7 до прижатия ее к стенкам обсадной колонны 3 основного ствола 4 выше окна 2 вальцующим инструментом 15 с вращающимися выдвижными роликами 16, например раздвижным развальцевателем (см. патент РФ №2392415 и т.п.), плотно прижимая подвеску 10 хвостовика 7 к обсадной колонне 3. При большом внутреннем диаметре обсадной колонны 3 (более 130 мм) основного ствола 4 изготавливают вальцующий инструмент 15, один из вальцующих роликов 16 (не показан) которого изготовлен диаметром, большим на 1-3% диаметра остальных роликов 16 и который в зоне окна 2 будет работать следующим образом. При прокатывании ролика 16 большего диаметра по внутренней стенке подвески 10 хвостовика 7 он попадает в окно 2 и в этот момент происходит резкое изменение траектории его движения (удар об стенку окна), затем ролик 16 в свободном состоянии движется в окне 2 и при выходе из окна 2 опять происходит удар о другую стенку подвески 10 в окне 2. В результате многократных ударов ролика 16 большего диаметра об стенку подвески 10 хвостовика 7, прилегающего к стенкам окна 2, вокруг окна 2 образуется наклеп, который приводит к загибу конца трубы подвески 10 хвостовика 7 (фиг. 4) в зоне окна 2 и упрочнению металла продольно-профильной трубы, из которой выполнена подвеска 10 (фиг. 3) хвостовика 7, а также к созданию элемента, называемого в технологии обработки металлов отбортовкой 17 (фиг. 4).

[67]

В процессе третьего этапа производят удаление верхней части хвостовика 7 (фиг. 3), находящейся в основном стволе 4, устройством для разбуривания верхней части хвостовика 7, включающим режущий инструмент 18 с режущими элементами 19, спускаемый на колонне труб (на фиг. 3 не показаны) и выполненный с возможностью вращения при разбуривании. При этом режущие элементы 19 режущего инструмента 18 выполнены раздвижными, как, например, у расширителя (см. патент РФ №2117747, универсального вырезающего устройства (УВУ) и т.п. - на фиг. 3 не показано). Режущий инструмент 18, имеющий рабочий диаметр, равный внутреннему диаметру обсадной колонны 3 основного ствола 4, позволяет производить удаление верхней части хвостовика 7 (фиг. 4) вровень (заподлицо) с внутренним диаметром обсадной колонны 3 основного ствола 4, полностью восстанавливая проходной диаметр основного ствола 4, без дополнительных проработок.

[68]

Для сокращения количества спуско-подъемных операций до одной и центрирования сверлящего 14 и режущего 18 инструментов (фиг. 3) при удалении верхней части хвостовика 7, находящейся в основном стволе 4, разработано устройство, объединяющее эти три операции. Устройство включает режущий инструмент 18, размещенный снизу сверлящий инструмент 14, а между сверлящим 14 и режущим 18 инструментами установлен вальцующий инструмент 15 с вращающимися выдвижными роликами 16, которые смещены по диаметру относительно режущих элементов 19, причем расстояние между сверлящим 14 и вальцующим 15 инструментами не менее длины окна 2 в продольном направлении основного ствола 4. Инструменты 14 и 15 соединены между собой жестким переводником 20 диаметром, близким диаметру сверлящего инструмента 14, и длиной не меньшей длины окна 2 в продольном направлении основного ствола 4.

[69]

Соединение трех инструментов 14, 15 и 18 в один посредством жесткого переводника 20 диаметром, близким диаметру режущего инструмента 14, и длиной не менее длины окна 2 в продольном направлении основного ствола 4 приведет к тому, что в процессе работы они будут взаимно друг друга центрировать и способствовать выполнению ими своих функций при работе в зоне окна 2. В тот момент, когда вальцующие ролики 16 раздвижного развальцевателя 15 и режущие элементы 19 режущего инструмента 18 выдвинутся в рабочее положение под действием давления промывочной жидкости, все устройство для разбуривания верхней части хвостовика 7 будет жестко центрироваться по оси основного ствола 4. Сверлящий инструмент 14 под действием жесткого переводника 20 начнет вырезать направляющее окно 13 в стенке подвески 10 хвостовика 7 практически без отклонения от оси основного ствола 4. После прорезания направляющего окна 13 в подвеске 10 хвостовика 7 переводник 20 сверлящего инструмента 14 начнет работать как нижняя центрирующая опора раздвижного развальцевателя 15 и режущего инструмента 18, которые одновременно развальцовывают и разбуривают подвеску 10 хвостовика 7 в зоне окна 2.

[70]

Стенки подвески 10 хвостовика 7 в процессе обработки вальцующим инструментом 15 с вальцующими вращающимися выдвижными роликами 16, один из которых изготовлен диаметром, большим на 1-3% диаметра остальных роликов (не показан), подвергаются наклепу, который приводит к загибу конца трубы подвески 10 хвостовика 7 в зоне окна 2, упрочнению металла трубы подвески 10 и созданию отбортовки 17 (фиг. 4). Отбортовка 17, придавая жесткость и прочность срезанному концу подвески 10 хвостовика 7, изготовленной из продольно-профильной трубы с наружным диаметром в выправленном положении, равным внутреннему диаметру окна 2, создает прочное надежное механическое соединение обсадных колонн 3 и 7 многозабойной скважины 1 в зоне окна 2, которое противостоит деформации хвостовика 7 при изменении внешних и внутренних механических и гидравлических воздействий.

[71]

Для предотвращения деформации стенки подвески 10 (фиг. 3) (например, задиров, смятия, загибов, затекания металла) в процессе обработки ее режущими элементами 19 режущего инструмента 18 ее необходимо удерживать в зафиксированном (прижатом) положении к стенке обсадной колонны 3 основного ствола 4. В момент, когда режущие элементы 19 врезаются в стенку подвески 10 хвостовика 7 и срезают часть металла, тело подвески 10 испытывает большое радиальное сдвигающее усилие. Этому усилию противостоит только сила трения, которая зависит от усилия прижатия подвески 10 к стенке обсадной колонны 3 основного ствола 4. С целью увеличения силы трения и фиксации стенки подвески 10 в момент срезания стенки подвески 10 режущим элементом 19 режущего инструмента 18 вальцующие ролики 16 вальцующего инструмента 15 смещены по диаметру относительно режущих элементов 19 на определенный угол α (фиг. 5). Двигаясь впереди режущих элементов 19 по высоте (фиг. 3), а также со смещением на угол α по окружности (фиг. 5), они развальцовывают стенку подвески 10 и удерживают ее в прижатом положении к стенке обсадной колонны 3 основного ствола 4 спереди и сзади режущих элементов 19 режущего инструмента 18 по ходу вращения. Для скважин с обсадными колоннами диаметрами 168 и 146 мм и подвески 10, изготовленной из стали 10, экспериментальным путем установлена величина угла смещения α вальцующих роликов 16 вальцующего инструмента 15 относительно режущих элементов 19 режущего инструмента 18, равная 60°±10°. Для скважин с обсадными колоннами 3 другого диаметра и с учетом прочности материала трубы подвески 10 определяют величину угла смещения α вальцующих роликов 16 вальцующего инструмента 15 относительно режущих элементов 19 режущего инструмента 18 эмпирическим путем.

[72]

Предлагаемый способ обеспечивает создание надежного механического соединения между собой обсадных колонн стволов многозабойной скважины путем оснащения хвостовика в зоне окна продольно-гофрированной подвеской, сохранение проходного сечения основного ствола скважины, увеличение проходного диаметра бокового ствола скважины, сохранение коллекторских свойств пласта за счет исключения цементных технологий и, как следствие, повышение дебита скважины и ее рентабельности.

[73]

Предлагаемое устройство позволяет производить разбуривание верхней части хвостовика, выходящей в основной ствол в один этап, вровень (заподлицо) с внутренним диаметром обсадной колонны основного ствола без задиров, смятия, загибов и затекания металла внутрь хвостовика, создание отбортовки на конце хвостовика, находящегося в зоне окна, методом развальцовывания, при необходимости с элементами ударной обработки трубных изделий для увеличения жесткости конструкции по краю реза.

[74]

Предлагаемые способ и устройство для его осуществления позволяют снизить временные, трудовые и материальные затраты на строительство бокового ствола из ранее пробуренной и обсаженной скважины за счет сокращения спуско-подъемных операций по установке и снятию извлекаемого оборудования и объединения операций по обработке верхней части хвостовика, исключения цементных технологий и многократных обработок хвостовика в зоне окна, сокращения процента аварийности и тем самым сокращения сроков и стоимости строительства многозабойных скважин.

Как компенсировать расходы
на инновационную разработку
Похожие патенты