патент
№ RU 2627476
МПК F04D29/22

Рабочее колесо центробежного насоса

Авторы:
Яблочко Сергей Викторович
Номер заявки
2016146611
Дата подачи заявки
29.11.2016
Опубликовано
08.08.2017
Страна
RU
Как управлять
интеллектуальной собственностью
Чертежи 
3
Реферат

Изобретение относится к насосной технике, а именно к рабочим колесам центробежного насоса для перекачки различных жидких сред. Рабочее колесо содержит основной диск (1) со ступицей (2), покрывной диск (3) и размещенные между ними 7 лопастей, выполненных криволинейными загнутыми назад. В диске (1) между входными участками лопастей выполнены сквозные отверстия (5), а с наружной стороны диска (1) - кольцевой коаксиальный ступице (2) бурт (6). Колесо выполнено литым с отклонением по шагу лопастей на их входном участке не более 2 мм и на выходном участке не более 3 мм, Наружная поверхность диска (1) между ступицей (2) и буртом (6) выполнена конической, плавно сопряженной со ступицей (2) и поверхностью бурта (6). Ось отверстия (5) наклонена к оси колеса под углом 25°±5°, внутренний диаметр бурта (6) составляет от 0,4 до 0,45 от диаметра колеса. Отверстия (5) расположены по окружности и их диаметр составляет от 0,038 до 0,041 от диаметра колеса. Периферийные наружные участки дисков (1, 3) образованы коническими, сужающимися к периферии колеса поверхностями, образующие которых наклонены к оси колеса под углом 75°±5°. Диаметр колеса составляет от 155 до 157 мм. Изобретение направлено на уменьшение величины осевой силы на рабочем колесе, возникающей при работе насоса. 3 ил.

Формула изобретения

Рабочее колесо центробежного насоса, содержащее основной диск со ступицей, покрывной диск и размещенные между ними лопасти, выполненные криволинейными загнутыми назад, причем в основном диске в пространстве между входными участками лопастей выполнены сквозные отверстия, а с наружной стороны на основном диске выполнен кольцевой коаксиально охватывающий выступающий из основного диска участок ступицы бурт, отличающееся тем, что рабочее колесо выполнено литым с отклонением по шагу лопастей на их входном участке не более 2 мм и на выходном участке не более 3 мм, наружная поверхность основного диска, расположенная между выступающим из основного диска участком ступицы и кольцевым буртом, выполнена конической с образованием боковой поверхности усеченного конуса, плавно сопряженной со стороны меньшего диаметра со ступицей и со стороны большего диаметра - с внутренней цилиндрической поверхностью кольцевого бурта, причем ось сквозного отверстия наклонена к оси рабочего колеса под углом 25°±5°, внутренний диаметр кольцевого бурта составляет от 0,4 до 0,45 от диаметра рабочего колеса, сквозные отверстия расположены по окружности, и их диаметр составляет от 0,038 до 0,042 от диаметра рабочего колеса, при этом между основным и покрывным дисками расположено 7 лопастей, периферийные наружные участки основного и покрывного дисков образованы коническими, сужающимися к периферии рабочего колеса поверхностями, образующие которых наклонены к оси рабочего колеса под углом 75°±5°, а диаметр рабочего колеса составляет от 155 до 157 мм.

Описание

[1]

Изобретение относится к насосной технике, а именно к рабочим колесам центробежного насоса для перекачки различных жидких сред.

[2]

Известно рабочее колесо центробежного насоса, содержащее основной диск со ступицей и выполненные на его лицевой поверхности лопасти, выполненные криволинейными загнутыми назад, причем в основном диске в пространстве между входными участками лопастей выполнены сквозные отверстия (см. патент US №5224821, кл. F01D 5/14, опубл. 06.07.1993).

[3]

Однако выполнение наружной задней поверхности основного диска гладкой не позволяет в полной мере использовать возможность уменьшить осевую силу, возникающую при работе рабочего колеса в составе центробежного насоса.

[4]

Наиболее близким к изобретению по технической сущности и достигаемому результату является рабочее колесо центробежного насоса, содержащее основной диск со ступицей, покрывной диск и размещенные между ними лопасти, выполненные криволинейными загнутыми назад, причем в основном диске в пространстве между входными участками лопастей выполнены сквозные отверстия, а с наружной стороны на основном диске выполнен кольцевой коаксиально охватывающий выступающий из основного диска участок ступицы бурт (см. патент US №5628616, кл. F04D 29/22, опубл. 13.05.1997).

[5]

Однако выполнение рабочего колеса со сквозными отверстиями, оси которых расположены параллельно оси рабочего колеса, не позволяет создать равномерный градиент давления с наружной стороны основного диска, что снижает возможность уменьшения осевой силы, которая возникает на рабочем колесе при работе центробежного насоса.

[6]

Технической проблемой является устранение выявленных в аналогах недостатков.

[7]

Технический результат заключается в том, что достигается возможность уменьшить на рабочем колесе величину осевой силы, возникающей при работе центробежного насоса.

[8]

Указанный технический результат достигается за счет того, что рабочее колесо центробежного насоса содержит основной диск со ступицей, покрывной диск и размещенные между ними лопасти, выполненные криволинейными загнутыми назад, причем в основном диске в пространстве между входными участками лопастей выполнены сквозные отверстия, а с наружной стороны на основном диске выполнен кольцевой коаксиально охватывающий выступающий из основного диска участок ступицы бурт, причем рабочее колесо выполнено литым с отклонением по шагу лопастей на их входном участке не более 2 мм и на выходном участке - не более 3 мм, наружная поверхность основного диска, расположенная между выступающим из основного диска участком ступицы и кольцевым буртом, выполнена конической с образованием боковой поверхности усеченного конуса, плавно сопряженной со стороны меньшего диаметра со ступицей и со стороны большего диаметра - с внутренней цилиндрической поверхностью кольцевого бурта, причем ось сквозного отверстия наклонена к оси рабочего колеса под углом 25°±5°, внутренний диаметр кольцевого бурта составляет от 0,4 до 0,45 от диаметра рабочего колеса, сквозные отверстия расположены по окружности и их диаметр составляет от 0,038 до 0,042 от диаметра рабочего колеса, при этом между основным и покрывным дисками расположены 7 лопастей, периферийные наружные участки основного и покрывного дисков образованы коническими, сужающимися к периферии рабочего колеса поверхностями, образующие которых наклонены к оси рабочего колеса под углом 75°±5°, а диаметр рабочего колеса составляет от 155 до 157 мм.

[9]

В ходе проведенного исследования было выявлено, что для снижения возникающей при работе рабочего колеса осевой силы имеет значение, каким образом организовано сообщение входного участка проточной части рабочего колеса с пространством за рабочим колесом с наружной стороны основного диска рабочего колеса. Выполнение рабочего колеса с указанными выше параметрами позволяет снизить гидравлические потери при сообщении указанного выше входного участка проточной части рабочего колеса с пространством за основным диском рабочего колеса и тем самым уменьшить величину осевой силы, которая возникает при работе рабочего колеса в составе центробежного насоса.

[10]

На фиг. 1 представлен продольный разрез рабочего колеса центробежного насоса.

[11]

На фиг. 2 представлен вид спереди на рабочее колесо центробежного насоса.

[12]

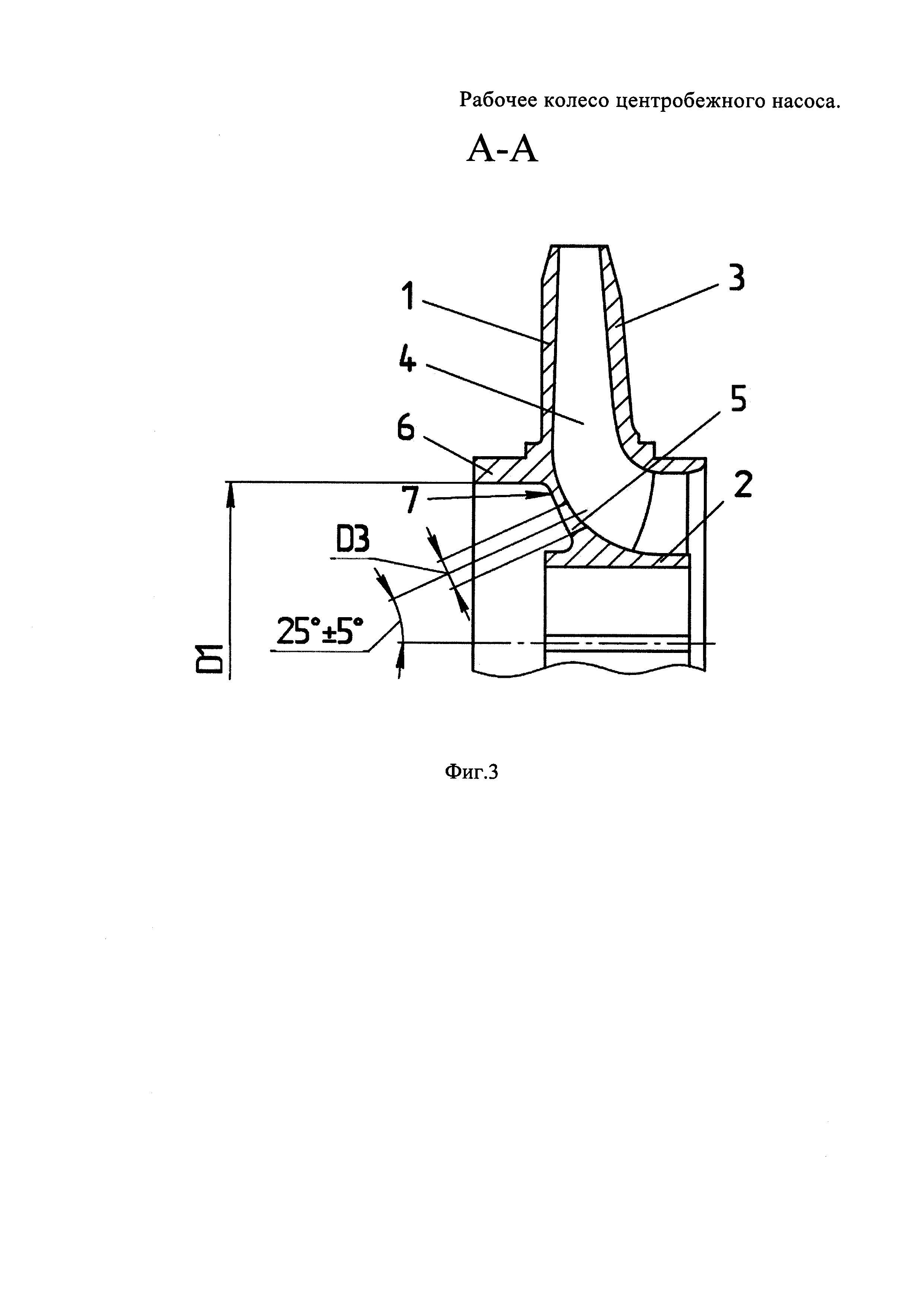
На фиг. 3 представлен разрез А-А на фиг. 2.

[13]

Рабочее колесо центробежного насоса содержит основной диск 1 со ступицей 2, покрывной диск 3 и размещенные между ними лопасти 4, выполненные криволинейными загнутыми назад.

[14]

В основном диске 1 в пространстве между входными участками лопастей 4 выполнены сквозные отверстия 5, а с наружной стороны на основном диске 1 выполнен кольцевой коаксиально охватывающий выступающий из основного диска 1 участок ступицы 2 бурт 6.

[15]

Рабочее колесо выполнено литым с отклонением по шагу лопастей 4 на их входном участке не более 2 мм и на выходном участке - не более 3 мм. Наружная поверхность 7 основного диска 1, расположенная между выступающим из основного диска 1 участком ступицы 2 и кольцевым буртом 6, выполнена конической с образованием боковой поверхности усеченного конуса, плавно сопряженной со стороны меньшего диаметра со ступицей 2 и со стороны большего диаметра с внутренней цилиндрической поверхностью кольцевого бурта 6, причем ось сквозного отверстия наклонена к оси рабочего колеса под углом 25°±5°. Внутренний диаметр D1 кольцевого бурта 6 составляет от 0,4 до 0,45 от диаметра D2 рабочего колеса, сквозные отверстия 5 расположены по окружности, диаметр D3 сквозных отверстий составляет от 0,038 до 0,042 от диаметра рабочего колеса. Между основным 1 и покрывным 3 дисками расположены семь лопастей 4, периферийные наружные участки основного 1 и покрывного 3 дисков образованы коническими, сужающимися к периферии рабочего колеса поверхностями, образующие которых наклонены к оси рабочего колеса под углом 75°±5°, а диаметр D2 рабочего колеса составляет от 155 мм до 157 мм.

[16]

Во время работы центробежного насоса вращающиеся на валу рабочие колеса увеличивают в межлопаточных каналах, образованных основным диском 1, покрывным диском 3 и лопастями 4, скорость перекачиваемого насосом текучей среды. При многоступенчатом выполнении центробежного насоса вытекающая из рабочего колеса текучая среда поступает в направляющий аппарат, где поток текучей среды частично тормозится, а кинетическая энергия потока частично преобразуется в потенциальную энергию давления. Далее из направляющего аппарата поток текучей среды поступает в рабочее колесо следующей, в которой происходит дальнейшее повышение его давления.

[17]

Сквозные отверстия 5, соединяющие входной участок проточной части рабочего колеса, расположенный между входными участками лопастей 4, позволяют использовать расположенное за рабочим колесом пространство, образованное кольцевым буртом 6, наружной поверхностью основного диска 1 рабочего колеса, расположенной внутри кольцевого бурта 6 и поверхностью направляющего аппарата (для многоступенчатых центробежных насосов) уравновешивающей камеры, для снижения осевой силы, которая возникает при работе центробежного насоса на рабочем колесе.

[18]

Рабочее колесо центробежного насоса можно использовать в скважинных насосах, погружных насосах или любых других центробежных насосах.

Как компенсировать расходы
на инновационную разработку
Похожие патенты