патент
№ RU 2643921
МПК F04B47/00

СКВАЖИННЫЙ ШТАНГОВЫЙ НАСОС

Авторы:
Исмагилова Алсу Ильдусовна Муртазин Фарид Раисович Дульский Олег Александрович
Все (4)
Номер заявки
2017115124
Дата подачи заявки
27.04.2017
Опубликовано
06.02.2018
Страна
RU
Как управлять
интеллектуальной собственностью
Чертежи 
1
Реферат

Изобретение относится к отрасли нефтедобывающей промышленности и предназначено для добычи нефти из скважин. Насос содержит полый плунжер с нагнетательным клапаном, цилиндр с всасывающим клапаном в нижней части и кольцевым выступом в средней части. На кольцевом выступе размещены уплотнительные кольца, взаимодействующие с боковой стенкой плунжера. На верхний торец кольцевого выступа цилиндра установлены две оболочки боковой стенки усеченного конуса, сужающегося кверху. Оболочки выполнены с цилиндрическими стенками на внутренних гранях. В цилиндрических стенках обеих оболочек выполнены радиальные прорези, не доходящие до наружной грани оболочек. Лепестки одной оболочки расположены напротив радиальных прорезей другой оболочки. При этом оболочки, в местах между наружной гранью и лепестками, прикреплены друг к другу контактной сваркой. Цилиндрические стенки лепестков обеих оболочек плотно прижимаются к боковой стенке плунжера. Оболочки зафиксированы от перемещения вверх пластинчатым кольцом, имеющим форму конической шайбы. Нижняя коническая стенка пластинчатого кольца прилегает к верхней конической стенке верхней оболочки. Напротив верхней конической стенки пластинчатого кольца в наружной боковой стенке цилиндра выполнены радиальные цилиндрические выборки, со дна каждой из которых выполнена радиальная резьбовая выборка, снабженная установочным винтом, выполненным с цилиндрической головкой и с коническим концом, взаимодействующим с конической стенкой пластинчатого кольца. Упрощается конструкция и повышается КПД. 3 ил.

Формула изобретения

Скважинный штанговый насос, содержащий полый плунжер с нагнетательным клапаном, цилиндр с всасывающим клапаном в нижней части и кольцевым выступом в средней части, где размещены уплотнительные кольца, взаимодействующие с боковой стенкой плунжера, отличающийся тем, что на верхний торец кольцевого выступа цилиндра установлены две оболочки боковой стенки усеченного конуса, сужающегося кверху, выполненные с цилиндрическими стенками на внутренних гранях, причем в цилиндрических стенках обеих оболочек выполнены радиальные прорези, не доходящие до наружной грани оболочек, причем лепестки одной оболочки расположены напротив радиальных прорезей другой оболочки, при этом оболочки, в местах между наружной гранью и лепестками, прикреплены друг к другу контактной сваркой, причем цилиндрические стенки лепестков обеих оболочек плотно прижимаются к боковой стенке плунжера, причем оболочки зафиксированы от перемещения вверх пластинчатым кольцом, имеющим форму конической шайбы, причем нижняя коническая стенка этого кольца прилегает к верхней конической стенке верхней оболочки, а напротив верхней конической стенки пластинчатого кольца в наружной боковой стенке цилиндра выполнены радиальные цилиндрические выборки, со дна каждой из которых выполнена радиальная резьбовая выборка, снабженная установочным винтом, выполненным с цилиндрической головкой и с коническим концом, взаимодействующим с конической стенкой пластинчатого кольца.

Описание

[1]

Изобретение относится к отрасли нефтедобывающей промышленности и предназначено для добычи нефти из скважин.

[2]

Известен скважинный штанговый насос (а. св. СССР №909298, М.Кл. F04В 47/00, опубл. 05.03.1982), содержащий цилиндр, полый плунжер с трубкой на нижнем конце, вращатель потока жидкости, выполненный в виде шнека и с патрубком, сообщающим полость трубки с наружной поверхностью плунжера. В известном насосе при ходе плунжера вверх в зазор между плунжером и цилиндром попадают механические примеси, которые изнашивают плунжерную пару и снижают срок его службы.

[3]

Наиболее близким к предлагаемому техническому решению является скважинный штанговый насос (патент RU №2369775, МПК F04B 47/00, опубл. 10.10.2009), содержащий полый плунжер с нагнетательным клапаном, цилиндр с всасывающим клапаном в нижней части и кольцевым выступом в средней части, где размещены уплотнительные кольца, взаимодействующие с боковой стенкой плунжера. Недостатком прототипа является то, что он имеет сложную конструкцию и низкий КПД. Между плунжером и цилиндром имеется насос смазывающей жидкости, который потребляет энергию и тем самым снижает КПД прототипа. Наличие насоса смазывающей жидкости, масляного бака, каналов, сообщающих замкнутую полость цилиндра с этим насосом и масляным баком, а также наличие узлов и деталей соединений каналов усложняют конструкцию прототипа.

[4]

Технической задачей изобретения является упрощение конструкции и повышение КПД устройства.

[5]

Поставленная техническая задача решается тем, что в скважинном штанговом насосе, содержащем полый плунжер с нагнетательным клапаном, цилиндр со всасывающим клапаном в нижней части и кольцевым выступом в средней части, где размещены уплотнительные кольца, взаимодействующие с боковой стенкой плунжера, новым является то, что на верхний торец кольцевого выступа цилиндра установлены две оболочки боковой стенки усеченного конуса, сужающегося кверху, выполненные с цилиндрическими стенками на внутренних гранях, причем в цилиндрических стенках обеих оболочек выполнены радиальные прорези, не доходящие до наружной грани оболочек, причем лепестки одной оболочки расположены напротив радиальных прорезей другой оболочки, при этом оболочки, в местах между наружной гранью и лепестками, прикреплены друг к другу контактной сваркой, причем цилиндрические стенки лепестков обеих оболочек плотно прижимаются к боковой стенке плунжера, причем оболочки зафиксированы от перемещения вверх пластинчатым кольцом, имеющим форму конической шайбы, причем нижняя коническая стенка этого кольца прилегает к верхней конической стенке верхней оболочки, а напротив верхней конической стенки пластинчатого кольца в наружной боковой стенке цилиндра выполнены радиальные цилиндрические выборки, со дна каждой из которых выполнена радиальная резьбовая выборка, снабженная установочным винтом, выполненным с цилиндрической головкой и с коническим концом, взаимодействующим с конической стенкой пластинчатого кольца.

[6]

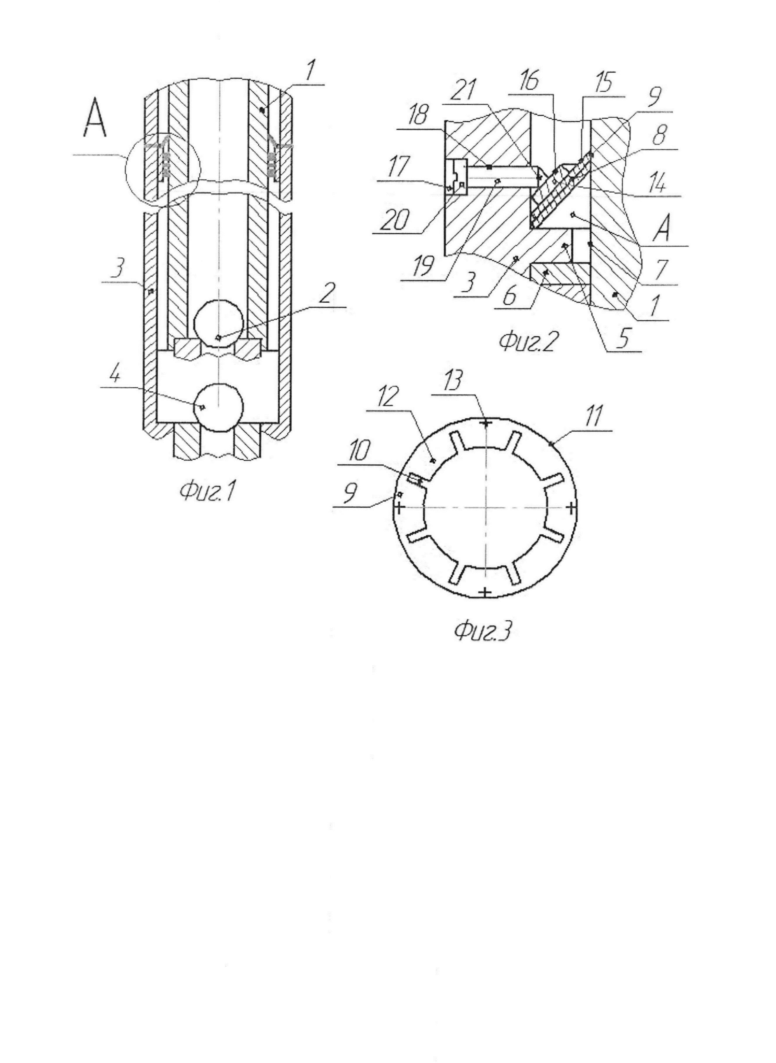
На фиг. 1 изображен скважинный штанговый насос в продольном разрезе; на фиг. 2 - вид А фиг. 1; на фиг. 3 - вид сверху на оболочку усеченного конуса.

[7]

Скважинный штанговый насос содержит полый плунжер 1 (фиг. 1) с нагнетательным клапаном 2, цилиндр 3 с всасывающим клапаном 4 в нижней части и кольцевым выступом 5 в средней части. На кольцевом выступе 5 размещены уплотнительные кольца 6, взаимодействующие с боковой стенкой 7 плунжера. На верхний торец кольцевого выступа 5 цилиндра установлены две оболочки 8 боковой стенки усеченного конуса, сужающегося кверху. Оболочки 8 выполнены с цилиндрическими стенками 9 на внутренних гранях. В цилиндрических стенках 9 обеих оболочек выполнены радиальные прорези 10, не доходящие до наружной грани 11 оболочек. Лепестки 12 одной оболочки 8 расположены напротив радиальных прорезей 10 другой оболочки. При этом оболочки, в местах между наружной гранью 11 и лепестками 12, прикреплены друг к другу контактной сваркой 13. Этим обеспечивается правильная сборка насоса, так как после контактной сварки лепестки 12 одной оболочки 8 всегда будут находиться напротив радиальных прорезей 10 другой оболочки. Цилиндрические стенки 9 лепестков 12 обеих оболочек плотно прижимаются к боковой стенке 7 плунжера, чтобы механические примеси пластовой жидкости не проникали в трущиеся стенки уплотнительных колец 6 и плунжера 1. Оболочки зафиксированы от перемещения вверх пластинчатым кольцом 14, имеющим форму конической шайбы. Нижняя коническая стенка пластинчатого кольца 14 прилегает к верхней конической стенке 15 верхней оболочки. Напротив верхней конической стенки 16 пластинчатого кольца 14 в наружной боковой стенке цилиндра 3 выполнены радиальные цилиндрические выборки 17, со дна каждой из которых выполнена радиальная резьбовая выборка 18, снабженная установочным винтом 19, выполненным с цилиндрической головкой 20 и с коническим концом 21, взаимодействующим с верхней конической стенкой 16 пластинчатого кольца 14. Головка 20 винта 19, прижимаясь ко дну цилиндрической выборки 17, предотвращает самопроизвольное отворачивание этого винта с резьбовой выборки 18. При заворачивании винта 19 его конический конец 21 сверху давит на коническую стенку 16 пластинчатого кольца 14 и удерживает это кольцо от перемещения вверх. Также это кольцо 14, упираясь нижней конической стенкой в верхнюю коническую стенку 15 верхней оболочки, фиксирует оболочки 5 от осевого перемещения.

[8]

Принцип работы скважинного штангового насоса заключается в следующем. При движении плунжера 1 по полости цилиндра 3 вверх, а также при движении вниз падающие под собственным весом вниз механические примеси пластовой жидкости встречаются с верхней конической стенкой лепестков 12 оболочек 8 и не проходят в полость А над верхним уплотнительными кольцом 6. Лепестки 12 одной оболочки 8 расположены напротив радиальных прорезей 10 другой оболочки, а цилиндрические стенки 9 лепестков 12 плотно прижимаются к боковой стенке 7 плунжера 1. Поэтому оболочки 8 своими лепестками 12 препятствуют проникновению механических примесей в трущиеся стенки уплотнительных колец 6 и плунжера 1. Из-за этого рабочие стенки уплотнительных колец 6 и плунжера изнашиваются незначительно.

[9]

В предлагаемом скважинном штанговом насосе в отличие от прототипа отсутствует насос смазывающей жидкости и тем самым повышается КПД предлагаемого устройства. Для предотвращения попадания в трущиеся стенки уплотнительных колец и плунжера в предлагаемом устройстве имеются: две оболочки усеченного конуса, пластинчатое кольцо в форме конической шайбы и несколько стандартных деталей - установочных винтов, завернутых в резьбовые выборки цилиндра. Из-за отсутствия насоса смазывающей жидкости, масляного бака, каналов, узлов соединения каналов и крепежных деталей масляного бака и насоса смазывающей жидкости упрощается конструкция предлагаемого устройства.

[10]

Перечень использованной информации

[11]

А. св. СССР №909298, М.Кл. F04B 47/00, опубл. 05.03.1982; патент RU №2369775, МПК F04B 47/00, опубл. 10.10.2009.

Как компенсировать расходы
на инновационную разработку
Похожие патенты