патент
№ RU 2674644
МПК B60K17/28

КОРОБКА ОТБОРА МОЩНОСТИ

Авторы:
Киселев Олег Васильевич
Номер заявки
2018109115
Дата подачи заявки
14.03.2018
Опубликовано
11.12.2018
Страна
RU
Как управлять
интеллектуальной собственностью
Чертежи 
1
Реферат

Изобретение относится к коробке отбора мощности. Коробка отбора мощности содержит одноступенчатый трехвальный редуктор с цилиндрическими шестернями постоянного зацепления, картер и крышку. Редуктор содержит ведущий вал с ведущей шестерней, находящийся в постоянном зацеплении с двумя валами-шестернями. Коробка отбора мощности дополнительно содержит шестеренчатый насос, установленный на ведущем валу, подающий масло через масляные каналы к форсункам. На валах-шестернях выполнены соответствующие дополнительные масляные каналы. Достигается уменьшение линейных размеров коробки отбора мощности. 1 ил.

Формула изобретения

Коробка отбора мощности, содержащая картер и крышку, жестко закрепленные между собой, внутри которых установлены через соответствующие подшипники ведущий вал, ведущая шестерня, установленная на шлицах ведущего вала и находящаяся в постоянном зацеплении с двумя валами-шестернями, установленными через соответствующие шариковые подшипники, дополнительно содержит шестеренчатый насос, установленный на ведущем валу, подающий масло через масляные каналы к форсункам, причем на валах-шестернях выполнены соответствующие дополнительные масляные каналы.

Описание

[1]

Область техники, к которой относится изобретение

[2]

Изобретение относится к области машиностроения, а именно к коробке отбора мощности, представляет собой одноступенчатый трехвальный редуктор с цилиндрическими шестернями постоянного зацепления и передаточным числом равным 4 и предназначено для отбора мощности на привод дополнительных агрегатов.

[3]

Уровень техники

[4]

Известна коробка отбора мощности (RU 2137620, опубл. 20.09.1999), с широким диапазоном чисел оборотов выходных валов. Вариант коробки с одним выходным валом обеспечивает выходному валу пять различных скоростей вращения за счет пяти ступеней коробки передач. Вариант коробки с двумя выходными валами и разным передаточным отношением между ведущей шестерней и ведомыми шестернями обеспечивает вращение валов с 10-ю различными скоростями. Однако недостатком является большие габаритные замеры коробки.

[5]

Известна также коробка отбора мощности (RU №71300, опубл. 10.03.2008) от двигателя, расположенная между двигателем и коробкой передач, содержащая картер, соединенный с корпусом ведомого вала, ведущий вал с ведущей шестерней, расположенный на двух опорах, одна из которых выполнена в виде подшипника, установленного в картере, и соединенный с одной стороны посредством шлицевой втулки и гибкого диска с маховиком двигателя, а с другой стороны - с механизмом сцепления, установленном в картере коробки отбора мощности, промежуточную шестерню, ведомую шестерню с ведомым валом, на конце которого установлен фланец, механизм включения. Недостатком указанного технического решения является невозможность осуществления отбора мощности одновременно для двух агрегатов.

[6]

Известна коробка отбора мощности от двигателя (RU 103153, опубл. 27.03.2011), содержащая картер, ведущий вал, соединенный с одной стороны с маховиком двигателя, а с другой стороны - с механизмом сцепления, установленную на ведущем валу ведущую шестерню, зацепленную с промежуточной шестерней, закрепленный на картере коробки корпус механизма привода, в котором размещены зацепленная с промежуточной шестерней ведомая шестерня, ведомый вал, имеющий на конце фланец, ведомая зубчатая втулка, установленная на ведомом валу, и взаимодействующая с муфтой, установленной посредством зубчатой втулки на ведомой шестерне, пневмомеханизм, дополнительно снабжена вторым механизмом привода, ведомая шестерня которого зацеплена с промежуточной шестерней коробки, при этом корпуса обоих механизмов привода закреплены на картере коробки под углом. Однако недостатком данного решения является увеличенные габаритные размеры.

[7]

Раскрытие изобретения

[8]

Задачей заявленного изобретения является уменьшение линейных размеров коробки отбора мощности, обеспечивая при этом оптимальный объем масла, необходимого для смазки и охлаждения.

[9]

Поставленная задача решается за счет того, что коробка отбора мощности, содержащая картер и крышку, жестко закрепленные между собой, внутри которых установлены через соответствующие подшипники ведущий вал, ведущая шестерня, установленная на шлицах ведущего вала и находящаяся в постоянном зацеплении с двумя валами-шестернями, установленными через соответствующие шариковые подшипники, дополнительно содержит шестеренчатый насос, установленный на ведущем валу, подающий масло через масляные каналы к форсункам, причем на валах-шестернях выполнены соответствующие дополнительные масляные каналы.

[10]

Краткое описание чертежей

[11]

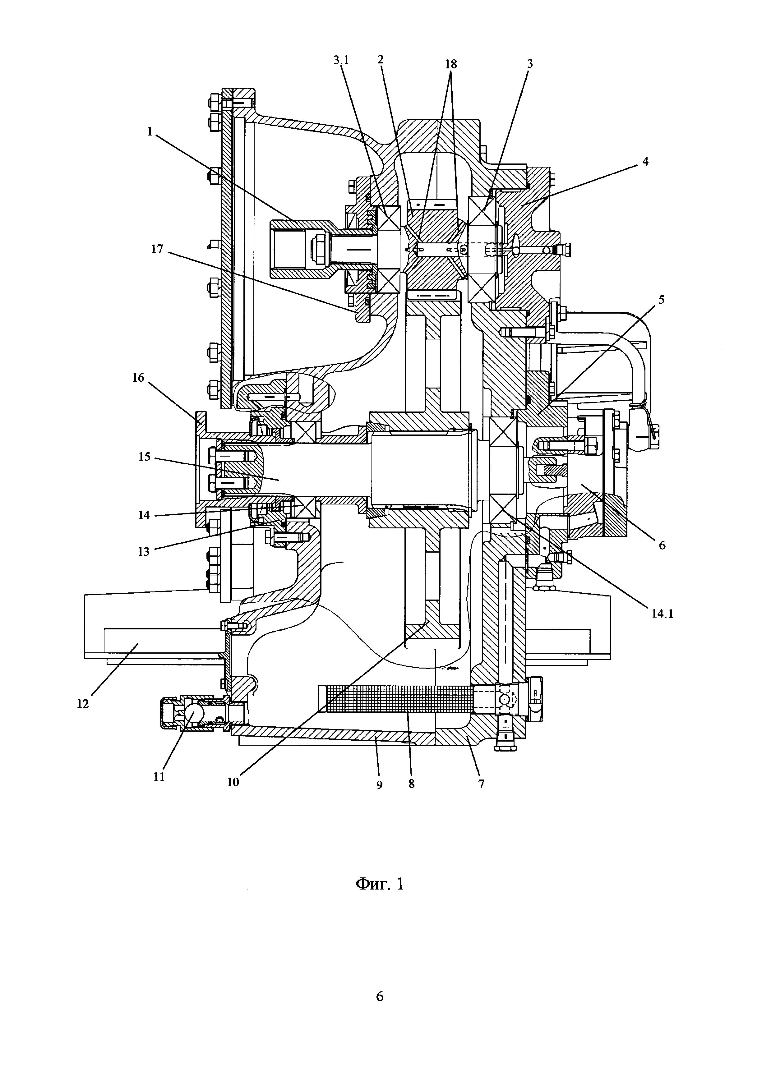
Фиг. 1 - конструкция коробки в разрезе, где 1 - муфта, 2 - вал-шестерня привода генератора, 3, 3.1, 14 и 14.1 - подшипники, 4 - крышка, 5 - крышка, 6 - масляный насос, 7 - крышка картера, 8 - маслозаборник,, 9 - картер коробки отбора мощности, 10 - шестерня ведущая, 11 - сливное устройство, 12 - кронштейн подвески, 13 - крышка, 15 - ведущий вал, 16 - фланец, 17 - крышка.

[12]

Осуществление изобретения Заявленная коробка отбора мощности представляет собой одноступенчатый трехвальный редуктор с цилиндрическими шестернями постоянного зацепления и передаточным числом равным 4 и служит для отбора мощности на привод дополнительных агрегатов, устанавливаемых на автомобиль.

[13]

Крутящий момент к коробке отбора мощности передается от раздаточной коробки через раздаточный вал через фланец 16. Далее крутящий момент через фланец 16 передается на ведущий вал 15, который установлен на двух шариковых подшипниках 14 и 14.1. Ведущая шестерня 10 установлена шлицах на ведущем валу 15. Ведущая шестерня 10 находится в постоянном зацеплении с двумя валами шестерни 2. Валы- шестерни 2 установлены на соответствующих шариковых подшипниках 3 и 3.1.

[14]

На валах-шестернях 2 для соединения с генератором установлены соответствующие шлицевые муфты 1. Все валы с подшипниковыми узлами установлены в картер 9, закрываемом крышкой 7.

[15]

Уменьшение габаритных размеров за счет уменьшения монтажных расстояний между подшипниковыми узлами (14 и 14.1) и (3 и 3.1), что дало уменьшение линейного размера коробки отбора мощности в целом. Однако прямое уменьшение указанного расстояния существенно уменьшает объем масла, необходимого для смазки и охлаждения коробки отбора мощности, что существенно ограничивает возможности по уменьшению упомянутого линейного размера.

[16]

Система смазки подшипниковых узлов и манжетных уплотнений выполнена таким образом, что масло нагнетается в масляные каналы шестеренчатым насосом 6, установленным на ведущем валу 15. Далее по масляным каналам масло поступает к форсункам, которые распыляют его непосредственно в зацепление ведущей шестерни 10 и валов 2. Для смазки подшипников 3 и 3.1 в валах шестернях 2 выполнены соответствующие масляные каналы 18.

[17]

Избыточные масла через дренажное отверстие масло сливается обратно в картер 9. Для фильтрации масла в крышке 7 установлен маслозаборник 8, а для слива масла в картере 9 установлено сливное устройство 11.

[18]

Выполненная таким образом система смазки позволяет уменьшить линейный размер коробки отбора мощности, обеспечивая при этом оптимальный объем масла, необходимого для смазки и охлаждения.

Как компенсировать расходы
на инновационную разработку
Похожие патенты