патент
№ RU 2656166
МПК F02C7/36

Штифтовое соединение для вала турбомашины

Авторы:
Терешко Антон Герольдович
Номер заявки
2017114485
Дата подачи заявки
26.04.2017
Опубликовано
31.05.2018
Страна
RU
Как управлять
интеллектуальной собственностью
Чертежи 
1
Реферат

Изобретение относится к области турбомашиностроения, преимущественно к авиадвигателестроению, а именно к штифтовым соединениям частей вала турбины низкого давления (ТНД) газотурбинного двигателя. Штифтовое соединение для вала турбомашины, состоящее по меньшей мере из двух соосно расположенных частей вала (1, 3), с выполненными на их торцах выступом (4) и ответным пазом (2) соответственно, и соединенных между собой штифтами (5). Штифты (5) расположены в окружном направлении вала. Штифты (5) установлены наклонно к радиальному направлению относительно оси вала, причем угол наклона (6) каждого следующего штифта (5) выполнен в отличную от предыдущего сторону. Углы наклонов (6) штифтов (5) к радиальному направлению относительно оси вала равны. Углы наклонов (6) штифтов (5) к радиальному направлению относительно оси вала образуют острый угол не более 15°. Изобретение обеспечивает увеличение прочности и надежности штифтового соединения с наклонными штифтами, за счет увеличения площади поверхности среза последних и восприятия центробежных нагрузок не только натягом и вальцовкой удерживающих штифт вдоль оси, но и боковой поверхностью штифта, частично снимающей нагрузку в поперечном направлении, а также в частных случаях реализации позволяет сохранить существующие заготовки частей вала ТНД, используемые для соединения радиальными штифтами. 2 з.п. ф-лы, 1 ил.

Формула изобретения

1. Штифтовое соединение для вала турбомашины, состоящее по меньшей мере из двух соосно расположенных частей вала, с выполненными на их торцах выступом и ответным пазом соответственно, и соединенных между собой штифтами, расположенными в окружном направлении вала, отличающееся тем, что штифты установлены наклонно к радиальному направлению относительно оси вала, причем угол наклона каждого следующего штифта выполнен в отличную от предыдущего сторону.

2. Штифтовое соединение по п. 1, отличающееся тем, что углы наклонов штифтов к радиальному направлению относительно оси вала равны.

3. Штифтовое соединение по п. 1, отличающееся тем, что углы наклонов штифтов к радиальному направлению относительно оси вала образуют острый угол не более 15°.

Описание

[1]

Изобретение относится к области турбомашиностроения, преимущественно к авиадвигателестроению, а именно к штифтовым соединениям частей вала турбины низкого давления (ТНД) газотурбинного двигателя.

[2]

Известно штифтовое соединение для вала ТНД авиационного газотурбинного двигателя, содержащее по меньшей мере две соосно расположенные части вала ТНД, с выполненными на торцах выступом и ответным пазом соответственно, и соединенных между собой штифтами, расположенными в окружном направлении вала ТНД (Основы конструирования, производства и эксплуатации авиационных газотурбинных двигателей и энергетических установок в системе CALS технологий: в 3 кн. / Н.Н. Сиротин, А.С. Новиков, А.Г. Пайкин, А.Н. Сиротин. - 2-е изд., перераб. и доп. - М.: Наука, 2011. Кн. 1: Конструкция и прочность ГТД и ЭУ. - 2011. -1087 с., см. стр. 528, рис. 10.20).

[3]

Недостатками известного штифтового соединения частей вала ТНД турбомашины является радиальное расположение штифтов, что в случае недостаточного натяга и/или некачественной развальцовки может привести к потере штифта в результате действия центробежных сил в работе, а также восприятие штифтом передаваемой соединением срезающей нагрузки по площади среза, подобной кругу, то есть минимальная площадь среза для штифта.

[4]

Техническим результатом, достигаемым при использовании заявленного изобретения, является устранение описанных недостатков, что увеличивает прочность и надежность вновь разрабатываемого штифтового соединения с наклонными штифтами, относительно радиальных штифтов, за счет увеличения площади поверхности среза последних и восприятия центробежных нагрузок не только натягом и вальцовкой удерживающих штифт вдоль оси, но и боковой поверхностью штифта, частично снимающей нагрузку в поперечном направлении, а также в частных случаях реализации позволяет сохранить существующие заготовки частей вала ТНД, используемые для соединения радиальными штифтами.

[5]

Указанный технический эффект достигается тем, что в известном штифтовом соединении для вала ТНД, состоящем по меньшей мере из двух соосно расположенных частей вала, с выполненными на их торцах выступом и ответным пазом соответственно, и соединенных между собой штифтами, расположенными в окружном направлении вала. При этом штифты установлены наклонно к радиальному направлению относительно оси вала, причем угол наклона каждого следующего штифта выполнен в отличную от предыдущего сторону.

[6]

Кроме того, углы наклонов штифтов к радиальному направлению относительно оси вала равны.

[7]

При этом, углы наклонов штифтов к радиальному направлению относительно оси вала образуют острый угол не более 15°.

[8]

Выполнение штифтов с углом наклона оси к радиальному направлению относительно оси вала ТНД увеличивает площадь поверхности среза последних, а также снижает вероятность потери штифта в работе от действия центробежных сил, что повышает прочность и надежность штифтового соединения конструкции вала ТНД.

[9]

Выполнение угла наклона оси к радиальному направлению каждого следующего в окружном направлении штифта в отличную от предыдущего сторону, в частном случае реализации, в противоположную сторону от предыдущего, позволяет увеличить расстояние между отверстиями под штифты на каждой части вала ТНД, тем самым снизив влияние зон концентрации напряжений вокруг последних друг на друга, что повышает прочность и надежность штифтового соединения конструкции вала ТНД.

[10]

Выполнение углов наклонов штифтов к радиальному направлению относительно оси вала ТНД равными позволяет равномерно распределить передаваемую нагрузку на большую часть области штифтового соединения, что повышает прочность и надежность штифтового соединения конструкции вала ТНД.

[11]

Выполнение угла наклона оси штифтов к радиальному направлению относительно оси вала ТНД с образованием острого угла не более 15° позволяет в частном случае реализации использовать заготовки отдельных частей существующего вала ТНД, предназначенных для соединения радиальными штифтами.

[12]

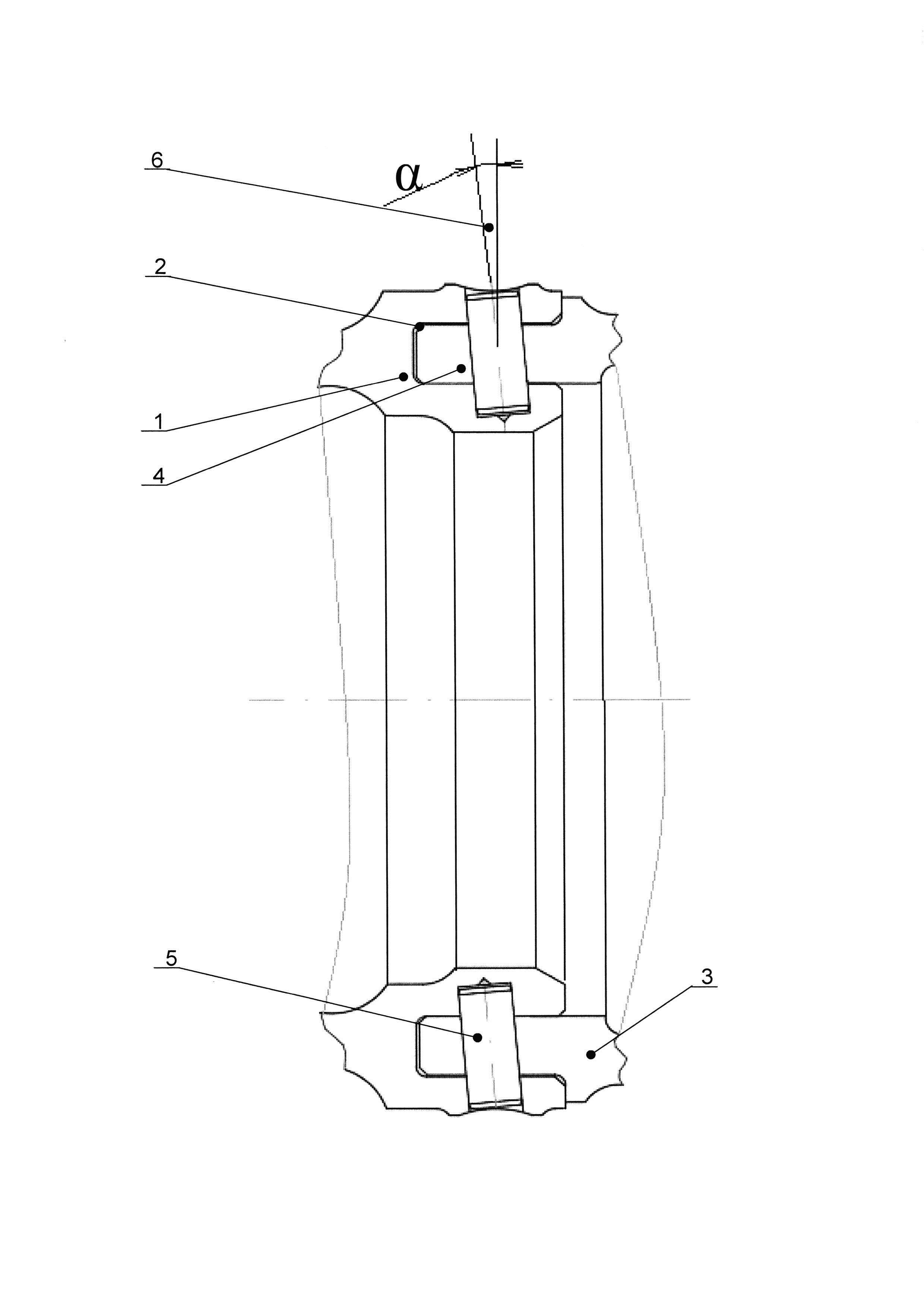
На чертеже представлен вариант установки штифтов, плоскость угла наклона каждого из которых проходит через ось вала ТНД турбореактивного двигателя.

[13]

Штифтовое соединение для вала ТНД авиационного ГТД, содержащее часть 1 вала ТНД, на торце которой выполнен цилиндрический паз 2, и ответную часть 3 вала ТНД, на торце которой выполнен цилиндрический выступ 4 с возможностью входить в паз 2 и контактировать по меньшей мере с одной поверхностью последнего. При этом в области соединения частей 1, 3 вала ТНД наклонно установлены штифты 5, ось каждого из которых наклонена к радиальному направлению относительно оси вала ТНД, при этом угол наклона 6 (α) расположен в плоскости, проходящей через ось вала ТНД, а наклон каждого последующего штифта 5 в окружном направлении выполнен в противоположную сторону от предыдущего. Данный частный вариант штифтового соединения позволяет увеличить передаваемую последним срезающую нагрузку и повысить его надежность относительно традиционного соединения с радиальными штифтами. При этом, для выполнения данного штифтового соединения возможно использовать существующие заготовки частей вала ТНД, так как для них можно использовать угол наклона оси штифтов 5 до 15° включительно при том же диаметре штифтов 5. Иначе осевой размер паза 2 на части 1 вала и выступа 4 на ответной части 3 вала ТНД должен быть увеличен. Использование существующих заготовок частей 1, 3 вала ТНД также влияет на надежность соединения в лучшую сторону, так как производство новых заготовок требует освоения нового технологического процесса их производства, что на ранних этапах может привести к ряду технологических дефектов. А использование существующих заготовок сохраняет известную вероятность технологических дефектов, что по совокупности признаков увеличивает надежность штифтового соединения.

[14]

При сборке штифтового соединения выступ 4 ответной части 3 вала ТНД заводят в паз 2, выполненный на торце части 1, обеспечив при этом посадку с натягом по контактирующим цилиндрическим поверхностям (например, разогреванием охватывающей детали). После чего, устанавливают собранные части 1, 3 вала ТНД на сверлильный станок и выполняют совместные наклонные отверстия под штифты 5. Далее устанавливают с натягом штифты 5 в совместные отверстия и завальцовывают по наружной поверхности вала ТНД.

[15]

В процессе работы ТНД газотурбинного двигателя основные нагрузки (осевая сила, крутящий момент) передаются с ответной части 3 вала ТНД на часть 1. Эти нагрузки большей своей частью воспринимаются штифтами 5, которые дополнительно нагружены центробежными силами, действующими в радиальном направлении. Прочность и надежность соединения, при этом, обеспечивается прочностью штифтов 5 и соединяемых частей 1, 3 вала ТНД в области паза 2 и выступа 4. Наклон оси штифтов 5 увеличивает площадь поверхности среза последних, которая подобна эллипсу, что снижает напряжения среза в штифтах 5. Это также увеличивает расстояние между отверстиями под штифты 5, что снижает влияние зон концентрации напряжений вокруг отверстий друг на друга и увеличивает область передачи нагрузки, что увеличивает прочность вала ТНД вокруг штифтового соединения.

[16]

Наклонное расположение штифтов 5 к радиальному направлению позволяет частично воспринимать центробежные силы, действующие на штифты 5, боковой поверхностью последних, что помогает удерживать их в отверстиях и повышает надежность соединения.

[17]

Реализация штифтового соединения частей 1, 3 вала ТНД газотурбинного двигателя с наклонными штифтами 5 позволяет передавать большие срезающие нагрузки через штифты 5 и работать последним в поле больших центробежных сил, что повышает прочность и надежность соединения в целом.

Как компенсировать расходы
на инновационную разработку
Похожие патенты