патент
№ RU 2663306
МПК H01P1/16

ПРЕОБРАЗОВАТЕЛЬ ПОЛЯРИЗАЦИИ

Авторы:
Гольберг Борис Хаимович
Номер заявки
2017141120
Дата подачи заявки
27.11.2017
Опубликовано
03.08.2018
Страна
RU
Как управлять
интеллектуальной собственностью
Чертежи 
4
Реферат

Изобретение относится к области радиотехники, а именно к средствам преобразования поляризации волноводных волн. Изобретение может быть использовано в антенных системах с полосой рабочих частот порядка 5%. Преобразователь поляризации содержит последовательно расположенные и соединенные переходами отрезок входного круглого волновода диаметром D, отрезок промежуточного волновода, имеющий поперечное сечение в форме овала, и отрезок выходного круглого волновода диаметром D. Размер малой оси овала равен D, а размер большой оси овала равен D>D. В результате использования изобретения достигается технический результат, заключающийся в возможности изготовления преобразователя поляризации из единой заготовки путем токарно-фрезерной или электроэрозионной обработки внутренней полости заготовки с одной из ее сторон. 5 з.п. ф-лы, 8 ил.

Формула изобретения

1. Преобразователь поляризации, содержащий последовательно расположенные и соединенные переходами отрезок входного круглого волновода диаметром D1, отрезок промежуточного волновода, имеющий поперечное сечение в форме овала, и отрезок выходного круглого волновода диаметром D2, отличающийся тем, что размер малой оси овала равен D1, а размер большой оси овала равен D2>D1.

2. Преобразователь поляризации по п. 1, отличающийся тем, что диаметр отрезка входного круглого волновода D1>0,63λmax, а диаметр отрезка выходного круглого волновода D2<0,73λmin, где λmax и λmin - длины волн в свободном пространстве, соответствующие нижней и верхней границе рабочего диапазона частот.

3. Преобразователь поляризации по п. 1 или 2, отличающийся тем, что отрезок промежуточного волновода имеет поперечное сечение в форме эллипса.

4. Преобразователь поляризации по п. 1 или 2, отличающийся тем, что отрезок промежуточного волновода имеет поперечное сечение в форме овала, образованного двумя параллельными отрезками прямых и двумя полуокружностями, диаметр которых равен расстоянию между двумя параллельными отрезками прямых.

5. Преобразователь поляризации по п. 1 или 2, отличающийся тем, что переходы выполнены с плавным изменением их поперечного сечения.

6. Преобразователь поляризации по п. 1 или 2, отличающийся тем, что переходы выполнены со ступенчатым изменением их поперечного сечения.

Описание

[1]

Изобретение относится к области радиотехники, а именно к средствам преобразования поляризации волноводных волн, и может быть использовано в антенных системах с полосой рабочих частот порядка 5%.

[2]

Известен преобразователь поляризации, содержащий корпус, внутри которого размещены отрезок круглого волновода и механическое приспособление, которое, в процессе использования преобразователя поляризации, с помощью микрометрического винта деформирует поперечное сечение отрезка круглого волновода в эллиптическое сечение на части продольного размера (см. SU 1631630, МПК Н01Р 1/165, опубл. 28.02.1991).

[3]

Известен преобразователь поляризации, содержащий последовательно расположенные и соединенные переходом отрезок круглого волновода диаметром D1 и отрезок круглого волновода диаметром D2>D1. На стенках каждого из этих отрезков установлены радиальные металлические стержни (см. US 4672334, МПК Н01Р 1/17, опубл. 09.06.1987).

[4]

Известен преобразователь поляризации, содержащий последовательно расположенные и соединенные коническим переходом отрезок круглого волновода диаметром D1 и отрезок круглого волновода диаметром D2>D1. На стенках отрезка круглого волновода диаметром D1 установлены радиальные металлические стержни и продольные металлические пластины. На стенках отрезка круглого волновода диаметром D2 установлены поперечные металлические диафрагмы (см. SU 1596407, МПК Н01Р 1/165, опубл. 30.09.1990).

[5]

Общим недостатком известных преобразователей поляризации является низкая технологичность их изготовления, обусловленная сложностью конструкции.

[6]

Наиболее близким по технической сущности к предлагаемому устройству является преобразователь поляризации, содержащий последовательно расположенные и соединенные плавными переходами отрезок входного круглого волновода диаметром D1, отрезок промежуточного волновода и отрезок выходного круглого волновода диаметром D2, равным D1 (см. JPH 0197001, МПК Н01Р 1/161, Н01Р 1/17, Н01Р 1/18, опубл. 14.04.1989).

[7]

Отрезок промежуточного волновода и переходы имеют поперечные сечения в форме овалов (эллипсов), причем размер большой оси эллипса промежуточного волновода равен D1, а размер малой оси эллипса равен D3<D1.

[8]

Данный преобразователь поляризации принят в качестве ближайшего аналога заявляемого преобразователя поляризатора.

[9]

Недостатком данного преобразователя поляризации является невозможность его изготовления из единой заготовки путем обработки с одной из ее сторон, что делает невозможным его применение в антенных системах, выполненных в виде моноблока.

[10]

Технической проблемой, решаемой настоящим изобретением, является создание преобразователя поляризации, лишенного указанного недостатка.

[11]

В результате достигается технический результат, заключающийся в возможности изготовления преобразователя поляризации из единой заготовки путем токарно-фрезерной или электроэрозионной обработки внутренней полости заготовки с одной из ее сторон.

[12]

Указанный технический результат достигается созданием преобразователя поляризации, содержащего последовательно расположенные и соединенные переходами отрезок входного круглого волновода диаметром D1, отрезок промежуточного волновода, имеющий поперечное сечение в форме овала, и отрезок выходного круглого волновода диаметром D2, в котором размер малой оси овала равен D1, а размер большой оси овала равен D2>D1.

[13]

Согласно частному варианту выполнения диаметр отрезка входного круглого волновода D1>0,63λmax, а диаметр отрезка выходного круглого волновода D2<0,73λmin, где λmax и λmin - длины волн в свободном пространстве, соответствующие нижней и верхней границам рабочего диапазона частот.

[14]

Согласно другому частному варианту выполнения отрезок промежуточного волновода имеет поперечное сечение в форме эллипса.

[15]

Согласно еще одному частному варианту выполнения отрезок промежуточного волновода имеет поперечное сечение в форме овала, образованного двумя параллельными отрезками прямых и двумя полуокружностями, диаметр которых равен расстоянию между двумя параллельными отрезками прямых.

[16]

Согласно еще одному частному варианту выполнения переходы выполнены с плавным изменением их поперечного сечения.

[17]

Согласно еще одному частному варианту выполнения переходы выполнены со ступенчатым изменением их поперечного сечения.

[18]

На фиг. 1 представлено схематичное изображение внутренней поверхности преобразователя поляризации в частном варианте выполнения.

[19]

На фиг. 2 представлено схематичное изображение преобразователя поляризации со стороны отрезка выходного круглого волновода в частном варианте выполнения.

[20]

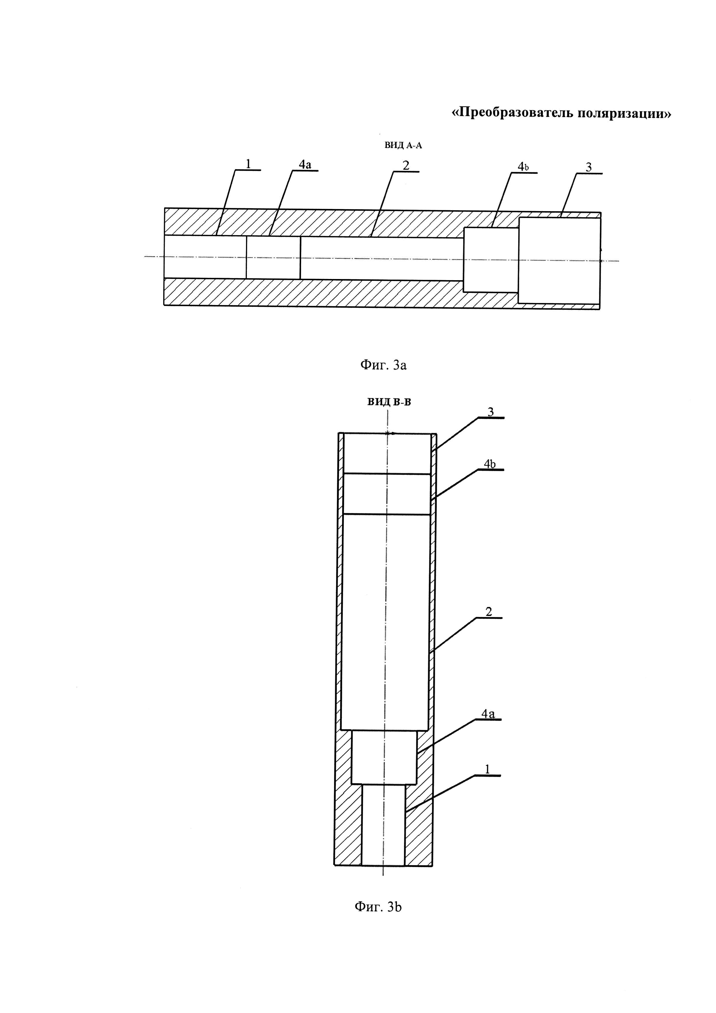
На фиг. 3а и 3b представлены два взаимно перпендикулярных продольных разреза преобразователя поляризации в частном варианте выполнения.

[21]

На фиг. 4 представлено схематичное изображение антенного устройства, в котором реализован заявленный преобразователь поляризации.

[22]

На фиг. 5 представлено поперечное сечение отрезка промежуточного волновода в частном варианте выполнения.

[23]

На фиг. 6 представлены зависимости от частоты коэффициента стоячей волны по напряжению (КСВН) во входном и выходном отрезках преобразователя поляризации в частном варианте выполнения.

[24]

На фиг. 7 представлена зависимость от частоты коэффициента эллиптичности поля излучения антенного устройства в направлении продольной оси.

[25]

Преобразователь поляризации, представленный на фиг. 1, 2, 3а и 3b, содержит последовательно расположенные отрезок входного круглого волновода 1 диаметром D1, отрезок промежуточного волновода 2, имеющий поперечное сечение в форме овала, и отрезок выходного круглого волновода 3 диаметром D2>D1, соединенные переходами 4а и 4b. В различных частных вариантах переходы 4а и 4b могут быть выполнены с плавным или ступенчатым (как показано на фиг. 1) изменением поперечного сечения. Размер малой оси овала отрезка промежуточного волновода 2 равен D1, а размер большой оси - D2.

[26]

Для согласования предлагаемого преобразователя поляризации со стороны отрезка входного круглого волновода 1 его диаметр D1 следует выбирать из выражения D1>0,63λmax. В этом выражении величина λmax определяет длину волны в свободном пространстве, которая соответствует нижней границе рабочего диапазона частот. Такой выбор минимального размера D1 обеспечивает интервал порядка десяти процентов между критической частотой основной волны Н11 круглого волновода и нижней границей рабочего диапазона частот. Аналогично, диаметр D2 отрезка выходного круглого волновода 3 следует выбирать из выражения D2<0,73λmin. В этом выражении величина λmin определяет длину волны в свободном пространстве, которая соответствует верхней границе рабочего диапазона частот. Такой выбор максимального размера D2 обеспечивает интервал порядка пяти процентов между критической частотой первой высшей волны E01 круглого волновода и верхней границей рабочего диапазона частот.

[27]

Для уменьшения продольного габаритного размера преобразователя поляризации диаметры D1 и D2 следует выбирать таким образом, чтобы отношение D2 к D1 было максимально возможным (с учетом вышеприведенных неравенств).

[28]

Преобразователь поляризации может быть изготовлен путем токарно-фрезерной или электроэрозионной обработки внутренней поверхности заготовки с одной из ее сторон.

[29]

Заявленный преобразователь поляризации работает следующим образом.

[30]

Волна Н11 линейной поляризации, поступающая в отрезок входного круглого волновода 1 диаметром D1, ориентирована под углом 45 градусов к осям симметрии поперечных сечений отрезка промежуточного волновода 2 и переходов 4а и 4b в форме овалов. Электромагнитное поле этой волны можно разложить на две ортогональные составляющие Н11в и Н11г, ориентированные параллельно осям 5а и 5b, соответствующим малой и большой осям овала. Фазовые скорости волн Н11в и Н11г в волноводах, имеющих поперечные сечения в форме овалов, различны (см., например, книгу «Гибкие волноводы в технике СВЧ» / Под редакцией Э.А. Альховского, Москва, Радио и Связь, 1986, с. 17-22). Продольные и поперечные размеры отрезка промежуточного волновода 2 и переходов 4а и 4b выбраны так, что обеспечивают дифференциальный фазовый сдвиг девяносто градусов вблизи центральной частоты рабочего диапазона и минимальное отклонение дифференциального фазового сдвига от этой величины внутри рабочего диапазона частот. Профиль и длина переходов 4а и 4b выбраны так, что обеспечивают согласование преобразователя поляризации со стороны отрезков входного и выходного круглых волноводов 1 и 3 соответственно. В результате распространения волн Н11в и Н11г в предлагаемом преобразователе поляризации в отрезке выходного круглого волновода 3 в рабочем диапазоне частот возбуждается волна Н11 эллиптической поляризации, которая близка к круговой поляризации.

[31]

Примером использования предлагаемого преобразователя поляризации может являться его применение в составе моноблока 6, состоящего из поляризационного селектора 7, предлагаемого преобразователя линейной поляризации в круговую поляризацию и облучателя осесимметричной параболической антенны 8 с отношением 0,4 фокусного расстояния к диаметру апертуры (см. фиг. 4).

[32]

Моноблок 6 изготовлен на универсальном фрезерном обрабатывающем центре «Maho» и предназначен для работы в диапазоне частот шириной 0,3 ГГц с центральной частотой 8,5 ГГц. Ширина рабочей полосы частот в процентах составляет 3,53%.

[33]

Отрезок промежуточного волновода 2 и переходы 4а и 4b (как показано на фиг. 5) имеют поперечные сечения в форме овалов, ограниченных двумя параллельными отрезками прямых 9а и 9b и двумя полуокружностями 10а и 10b, диаметр d которых равен расстоянию между двумя параллельными отрезками прямых. Переходы 4а и 4b выполнены в виде одной ступени.

[34]

Оптимизация геометрических размеров преобразователя поляризации выполнена с помощью программного комплекса «CST Microwave Studio». Измерения радиотехнических параметров моноблока выполнены с помощью векторного измерителя цепей «Agilent N5224A» с модулями восстановления калибровки 85540А.

[35]

Результаты расчета зависимости от частоты КСВН в отрезке входного круглого волновода 1 (KCBH1) и отрезке выходного круглого волновода 3 (КСВН3) для рабочего положения преобразователя поляризации приведены на фиг. 6. В этом положении преобразователя поляризации линейно поляризованная падающая волна Н11 в отрезках входного круглого волновода 1 и выходного круглого волновода 3 ориентирована под углом 45 градусов к осям симметрии поперечных сечений отрезка промежуточного волновода 2 и переходов 4а и 4b в форме овалов. В рабочей полосе частот 8,35-8,65 ГГц уровень КСВН в отрезках входного круглого волновода 1 и выходного круглого волновода 3 не превышает 1,010 и 1,017, а амплитуда отраженной волны составляет не более минус 45 дБ и минус 41 дБ.

[36]

Результаты измерения зависимости от частоты коэффициента эллиптичности поля излучения моноблока в направлении продольной оси приведены на фиг. 7. В рабочей полосе частот 8,35-8,65 ГГц коэффициент эллиптичности не превышает 0,92 дБ, а амплитуда кросс-поляризованной волны составляет не более минус 25,5 дБ.

Как компенсировать расходы
на инновационную разработку
Похожие патенты