патент
№ RU 2470833
МПК B64C1/26

ПРИСПОСОБЛЕНИЕ И СПОСОБ УСТАНОВКИ ПЕРЕДНЕЙ ШТОРКИ СТАБИЛИЗАТОРА САМОЛЕТА

Авторы:
Мингазов Руслан Фирдусович Дикунов Алексей Александрович Матус Виктор Владимирович
Все (4)
Номер заявки
2011118993/11
Дата подачи заявки
13.05.2011
Опубликовано
27.12.2012
Страна
RU
Как управлять
интеллектуальной собственностью
Чертежи 
4
Реферат

Изобретение относится к авиационной технике, в частности к сборке конструкций и агрегатов самолета, и касается крепления стабилизатора к фюзеляжу самолета. Во время установки передней шторки стабилизатора в зазор между фюзеляжем и торцевой частью носка стабилизатора выставляют стабилизатор в 0° по отношению к фюзеляжу, снимают панели с торцевой части носка и устанавливают переднюю шторку в свободном состоянии в зазор. Предварительно закрепляют на внешней шторке кронштейны для установки шторки. Далее вставляют тяги-ключи через сквозные отверстия и поворотом на 90° устанавливают тяги-ключи в несквозную прорезь кронштейна и деформируют (обжимают) шторку до рабочих размеров. После чего устанавливают съемные панели стабилизатора, располагая их по контуру деформированной шторки, и убирают тяги-ключи. Приспособление для установки передней шторки стабилизатора содержит кронштейны и тяги-ключи, которые имеют сочленяемые сферические поверхности. При этом кронштейны с одной стороны имеют крестообразные отверстия, у которых одна прорезь сквозная, а другая несквозная. Несквозные прорези образуют поверхности упора для буртиков тяг-ключей. С противоположной стороны кронштейнов выходные отверстия выполнены в форме усеченных конусов. Тяги-ключи выполнены с одного конца в виде стержней с резьбой, а с другого - в виде пластин с буртиками и имеют геометрические размеры, соответствующие сквозным прорезям и сферическим поверхностям кронштейнов. Достигается исключение механических повреждений передней шторки и торцевой части носка стабилизатора, повышение контроля и качества установки шторки, возможность проведения

Формула изобретения

1. Приспособление для установки передней шторки стабилизатора самолета в зазор между фюзеляжем и торцевой частью носка стабилизатора, содержащее кронштейны и тяги-ключи, имеющие сочленяемые сферические поверхности, отличающееся тем, что кронштейн имеет с одной стороны крестообразное отверстие, одна прорезь которого сквозная, а другая несквозная, образующая поверхность упора для буртиков тяги-ключа, при этом с противоположной стороны выходное отверстие выполнено в форме усеченного конуса, а тяга-ключ выполнен с одного конца в виде стержня с резьбой, а с другого в виде пластины с буртиками, и имеет геометрические размеры, соответствующие сквозной прорези кронштейна и его сферической поверхности.

2. Способ установки передней шторки стабилизатора самолета, включающий ее упругое обжатие, отличающийся тем, что сначала стабилизатор выставляют в 0° по отношению к фюзеляжу, снимают панели с торцевой части носка стабилизатора, устанавливают переднюю шторку в свободном состоянии в зазор и, предварительно закрепив на внешней шторке кронштейны приспособления по п.1, вставив тяги-ключи через сквозные отверстия во внешней поверхности фюзеляжа, а также шторке и крестообразном отверстии кронштейна, поворотом тяги-ключа на 90° устанавливают в несквозную прорезь кронштейна и деформируют (обжимают) шторку до рабочих размеров, после чего устанавливают съемные панели стабилизатора, располагая их по контуру деформированной шторки, и убирают тяги-ключи.

Описание

[1]

Изобретение относится к авиационной технике, в частности к сборке конструкций и агрегатов самолета.

[2]

Шторки закрывают конструктивный вырез в фюзеляже самолета под стабилизатор, изготовлены из композиционного материала и работают по принципу тарельчатой пружины.

[3]

Известно изобретение, в котором закрепленные края шторки располагаются на стабилизаторе, а свободные опираются на поверхность фюзеляжа самолета (см. патент ЕР 1834873 А1). При изменении угла установки стабилизатора шторки перемещаются вместе со стабилизатором по поверхности фюзеляжа.

[4]

Известен способ установки передней шторки стабилизатора самолета, в котором используют упругие свойства шторки и последовательные перемещения носка стабилизатора вверх-вниз, фиксируя промежуточные положения шторки относительно стабилизатора с помощью деревянных опор, при этом производится постепенное заполнение шторного зазора между фюзеляжем и торцом стабилизатора и установка шторки в рабочее положение. Недостатками этого способа являются механические повреждения по периметру шторки и торцовой части носка стабилизатора, возникающие при ее установке, нетехнологичная сборка, большие трудозатраты.

[5]

Известно изобретение (см. патент US 6199798 В1) для крепления панелей на несущей конструкции летательных аппаратов, причем один крепежный элемент которого используется для поглощения силы сдавливания, а другой выполнен таким образом, что позволяет снимать крепление без применения дополнительных инструментов.

[6]

Наиболее близким решением к предлагаемому изобретению является соединительное устройство (см. патент RU 2373107 - прототип) для крепления щитков или панелей на несущей конструкции летательного аппарата. Устройство содержит закрепленный на щитке или панели фиксатор, удерживающий регулируемую в ограниченных пределах вставную цапфу. При этом приемное устройство на несущей конструкции выполнено из упругодеформируемого мягкого материала.

[7]

Недостатком перечисленных решений является незначительная деформация упругих панелей с приложением небольших усилий. Положение панелей можно регулировать в ограниченных пределах, по меньшей мере, по вертикали по отношению к поверхности панели. Существенным недостатком аналогов и прототипа являются жесткие требования к взаимно согласованному расположению ответных деталей на каркасе и монтируемой панели.

[8]

Главной задачей изобретения является предложение способа, который позволит производить монтаж и демонтаж передней шторки стабилизатора самолета и контроль выполнения данных операций с исключением механических повреждений шторки и торцовой части носка стабилизатора, повысить качество установки деталей, снизить трудозатраты.

[9]

Другой задачей изобретения является предложение приспособления, позволяющего проводить значительную упругую деформацию шторки стабилизатора за счет изменения направления действия силы в процессе ее обжатия.

[10]

Поставленные задачи решаются тем, что сначала стабилизатор выставляют в 0° по отношению к фюзеляжу, снимают панели с торцевой части носка стабилизатора и устанавливают переднюю шторку в свободном состоянии в зазор. Далее с помощью предлагаемого приспособления, состоящего из кронштейнов, предварительно закрепленных на внешней поверхности шторки, и тяги-ключей, каждый из которых вставляют через сквозные отверстия во внешней поверхности фюзеляжа, в шторке, через крестообразное отверстие кронштейна, поворотом тяги-ключа на 90° устанавливают в несквозную прорезь кронштейна и деформируют шторку до рабочих размеров, после чего устанавливают съемные панели стабилизатора и убирают тяги-ключи.

[11]

Приспособление для установки шторки стабилизатора самолета состоит из кронштейнов и тяги-ключей. Кронштейн имеет крестообразное отверстие, где одна прорезь сквозная, а другая несквозная с поверхностью упора для буртиков тяги-ключа, при этом поверхность сочленения с тягой-ключом выполнена в виде сферы, а для возможности манипуляции тягами-ключами и изменения направления действия силы в процессе обжатия шторки выходное отверстие выполнено в форме усеченного конуса. Тяга-ключ выполнен с одного конца в виде стержня с резьбой, а с другого конца - в виде пластины с буртиками, имеющей геометрические размеры, соответствующие сквозной прорези кронштейна и его сферической поверхности.

[12]

Приспособление и способ по установке передней шторки стабилизатора иллюстрируется чертежами:

[13]

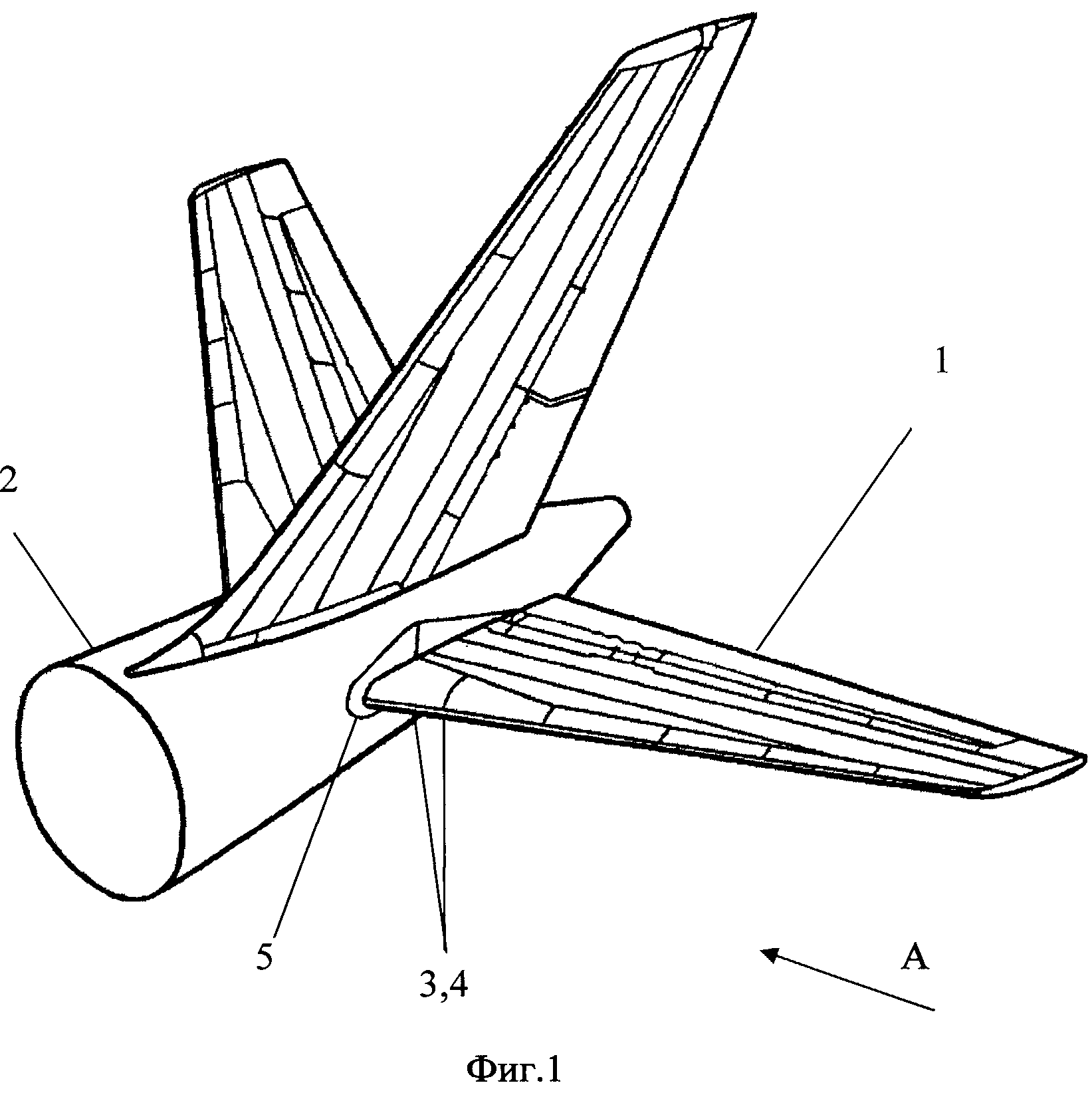
фиг.1 - общий вид на стабилизатор самолета;

[14]

фиг.2 - передняя шторка с установленными на ее поверхности кронштейнами;

[15]

фиг.3 - принципиальная схема установки передней шторки с помощью приспособления (сечение В-В фиг.2);

[16]

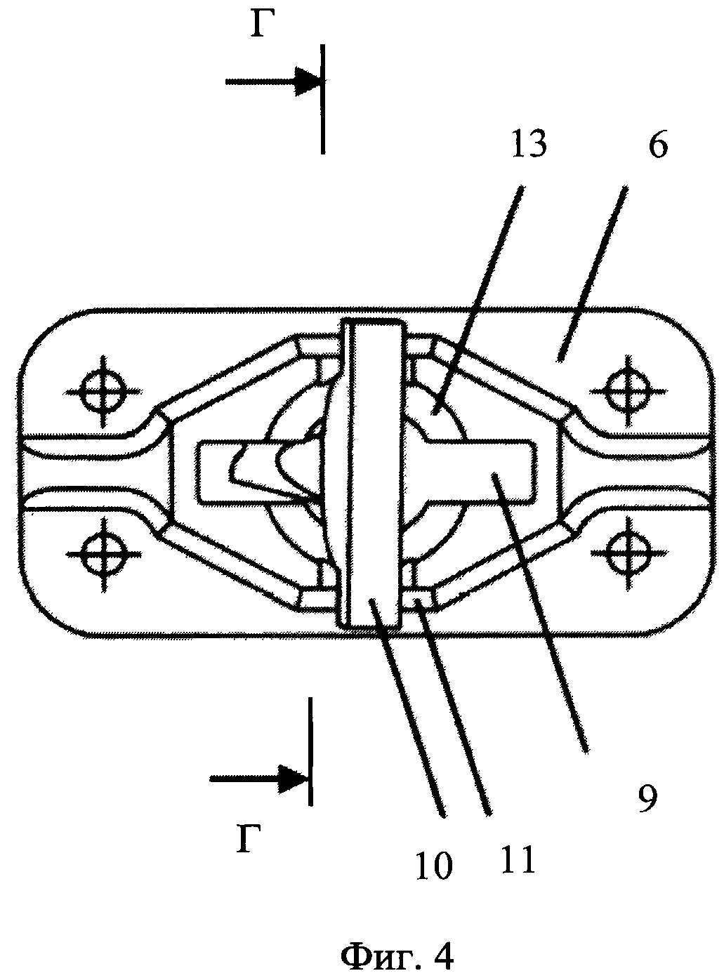
фиг.4 - конструкция приспособления, состоящего из кронштейна и тяги-ключей и их взаимного расположения (узел Б фиг.2);

[17]

фиг.5 - сечение Г-Г приспособления.

[18]

Приспособление для установки передней шторки стабилизатора самолета состоит из кронштейна 6 и тяги-ключа 7, которые имеют сочленяемые сферические поверхности 12. При этом кронштейн с одной стороны имеет крестообразное отверстие, у которой одна прорезь 9 сквозная, а другая прорезь 11 несквозная, образующая поверхность упора для буртиков 10 тяги-ключа 7. С противоположной стороны выходное отверстие 13 выполнено в форме усеченного конуса, а тяга-ключ 7 выполнен с одного конца в виде стержня с резьбой, с другого конца - в виде пластины с буртиками 10 и имеет геометрические размеры, соответствующие сквозной прорези 9 кронштейна и его сферической поверхности 12.

[19]

Способ установки передней шторки стабилизатора самолета осуществляют с помощью предлагаемого приспособления следующим образом:

[20]

a) стабилизатор 1 выставляют под углом 0° по отношению к фюзеляжу 2;

[21]

b) снимают панели 3, 4 с торцевой части носка стабилизатора 1;

[22]

c) устанавливают переднюю шторку 5 в свободном состоянии в зазор между фюзеляжем 2 и торцом стабилизатора 1;

[23]

d) шторку 5 упруго деформируют с помощью предлагаемого приспособления, состоящего из кронштейнов 6, закрепленных на внешней поверхности шторки 5 в зоне внутреннего теоретического контура стабилизатора 1, и тяги-ключей 7, которые вставляют через сквозные отверстия 8 во внешней поверхности фюзеляжа 2, в шторке 5 и через крестообразные сквозные прорези 9 кронштейнов 6;

[24]

e) закрепляют соединение с помощью буртиков 10 тяги-ключа 7 в несквозных прорезях 11 кронштейнов 6 поворотом тяги-ключа 7 на 90°.

[25]

Следует иметь ввиду, что деформацию передней шторки 5 начинают с помощью тандеров 14, закрепленных за резьбовую часть тяги-ключей 7, поочередно и постепенно увеличивая нагрузку на тяги-ключи 7 в пределах 10-20 кгс до максимального (суммарного) усилия 500 кгс. После обжатия шторки 5 до рабочего состояния устанавливают съемные панели стабилизатора 1, которые свободно располагают по контуру деформированной шторки 5, и убирают тяги-ключи 7.

[26]

Таким образом, благодаря использованию предлагаемого изобретения повышается контроль и качество установки передней шторки стабилизатора самолета, так как расширяются возможности значительной упругой деформации шторки стабилизатора самолета за счет изменения направления действия силы в процессе обжатия. При этом снижается риск механического повреждения передней шторки и торцевой части носка стабилизатора самолета, а также появляется возможность неоднократно производить монтаж и демонтаж передней шторки стабилизатора самолета.

Как компенсировать расходы
на инновационную разработку
Похожие патенты