патент
№ RU 2677860
МПК H02J3/18

Конденсаторная группа, коммутируемая тиристорами

Авторы:
Панфилов Дмитрий Иванович
Номер заявки
2018105505
Дата подачи заявки
14.02.2018
Опубликовано
22.01.2019
Страна
RU
Как управлять
интеллектуальной собственностью
Чертежи 
3
Реферат

Изобретение относится к области электротехники и силовой электроники и может быть использовано для управления источниками реактивной мощности, построенными на основе тиристорных преобразователей. Техническим результатом, на получение которого направлено предлагаемое техническое решение, является увеличение дискретности регулирования емкостей конденсаторной группы при ограниченном количестве конденсаторов, входящих в ее состав. Технический результат достигается тем, что конденсаторная группа, коммутируемая тиристорами, содержащая две ветви, каждая из которых состоит из последовательно соединенных двунаправленного тиристорного ключа и конденсатора, включенных параллельно выводам конденсаторной группы, реализована так, что каждая ветвь содержит последовательно включенный дополнительный двунаправленный тиристорный ключ, при этом одни из выводов дополнительных двунаправленных тиристорных ключей ветвей соединены с противоположными выводами конденсаторной группы, а между другими выводами дополнительных двунаправленных тиристорных ключей ветвей включен вспомогательный двунаправленный тиристорный ключ, при этом дополнительно к ветвям, содержащим последовательное соединение двунаправленного тиристорного ключа и конденсатора, параллельно подключено любое количество дополнительных ветвей, содержащих последовательное соединение двунаправленного тиристорного ключа и конденсатора. 1 з.п. ф-лы, 3 ил.

Формула изобретения

1. Конденсаторная группа, коммутируемая тиристорами, содержащая две ветви, каждая из которых состоит из последовательно соединенных двунаправленного тиристорного ключа и конденсатора, включенных параллельно выводам конденсаторной группы, отличающаяся тем, что каждая ветвь содержит последовательно включенный дополнительный двунаправленный тиристорный ключ, при этом одни из выводов дополнительных двунаправленных тиристорных ключей ветвей соединены с противоположными выводами конденсаторной группы, а между другими выводами дополнительных двунаправленных тиристорных ключей ветвей включен вспомогательный двунаправленный тиристорный ключ.

2. Конденсаторная группа, коммутируемая тиристорами по п. 1, отличающаяся тем, что к ветвям, содержащим последовательное соединение двунаправленного тиристорного ключа и конденсатора, параллельно подключено любое количество дополнительных ветвей, содержащих последовательное соединение двунаправленного тиристорного ключа и конденсатора.

Описание

[1]

Изобретение относится к области электротехники и силовой электроники и может быть использовано для управления источниками реактивной мощности, построенными на основе тиристорных преобразователей. Подобные устройства широко применяются в электроэнергетике, электроприводе, электротермии, электролизе, преобразовательной технике, для плавного регулирования реактивной мощности в электрической сети, как в режиме ее потребления, так и генерации в составе управляемых блоков конденсаторных батарей и комбинированных статических тиристорных компенсаторов реактивной мощности.

[2]

Известна конденсаторная группа, коммутируемая тиристорами, использующая параллельно соединенные ветви, каждая из которых содержит конденсатор с последовательно подключенным к нему двунаправленным тиристорным ключом и токоограничивающим реактором. Изменение емкости конденсаторной группы достигается изменением количества конденсаторов, подключаемых параллельно с помощью соответствующих двунаправленных тиристорных ключей. Система управления устройством синхронизирует моменты отпирания встречно-параллельно соединенных тиристоров в каждой из параллельных ветвей относительно приложенного к ним напряжения. («Энергосбережение в системах промышленного электроснабжения» Справочно-методическое издание под общей редакцией Вакулко А.Г. Из-во «Теплоэнергетик», М. 2014 г., 298 стр. с ил. стр. 137, рис. 5.10).

[3]

Недостатком данной конденсаторной группы, коммутируемой тиристорами, является ступенчатое регулирование емкости конденсаторной группы, обеспечивающее небольшую дискретность уровней регулируемой емкости конденсаторной группы, а также увеличенную суммарную установленную мощность реактивных элементов схемы за счет применения токоограничивающих реакторов в каждой из ветвей конденсаторной группы.

[4]

Известна конденсаторная группа, коммутируемая тиристорами, использующая параллельно соединенные ветви, каждая из которых содержит конденсатор с последовательно подключенным к нему двунаправленным тиристорным ключом. Изменение емкости конденсаторной группы также осуществляется за счет управления двунаправленными тиристорными ключами каждой из ветвей и подключением различного количества конденсаторов параллельно. При этом, за счет выбора различных реактивных сопротивлений каждой ветви конденсаторной группы, например 1:2:3:5, и включением каждой секции или комбинации нескольких из них с помощью двунаправленных тиристорных ключей, достигается большая дискретность уровней регулирования емкости конденсаторной группы. Система управления устройством также синхронизирует моменты отпирания встречно-параллельно соединенных тиристоров в каждой из параллельных ветвей относительно приложенного к ним напряжения и реализует получение требуемого значения результирующей емкости конденсаторной группы. («Дальние электропередачи сверхвысокого напряжения» Ю.П. Рыжов, М., Издательский дом МЭИ, 2007 г., 486 с, стр. 313, рис. 9.11а).

[5]

Недостатком данной схемы построения конденсаторной группы является небольшая дискретность изменения емкости конденсаторной группы, вытекающая из ограниченного числа комбинаций параллельно включаемых ветвей с разными величинами емкостей конденсаторов каждой из ветвей. Этот недостаток сказывается на плавности регулирования реактивной мощности, обеспечиваемой такой схемой построения конденсаторной группы.

[6]

Техническим результатом, на получение которого направлено предлагаемое техническое решение, является увеличение дискретности регулирования емкости конденсаторной группы по сравнению с прототипами при одинаковом количестве конденсаторов, входящих в ее состав.

[7]

Технический результат достигается тем, что конденсаторная группа, коммутируемая тиристорами, содержащая две ветви, каждая из которых состоит из последовательно соединенных двунаправленного тиристорного ключа и конденсатора, включенных параллельно выводам конденсаторной группы, реализована так, что каждая ветвь содержит последовательно включенный дополнительный двунаправленный тиристорный ключ, при этом одни из выводов дополнительных двунаправленных тиристорных ключей ветвей соединены с противоположными выводами конденсаторной группы, а между другими выводами дополнительных двунаправленных тиристорных ключей ветвей включен вспомогательный двунаправленный тиристорный ключ, при этом дополнительно к ветвям, содержащим последовательное соединение двунаправленного тиристорного ключа и конденсатора, параллельно может быть подключено любое количество дополнительных ветвей, содержащих последовательное соединение двунаправленного тиристорного ключа и конденсатора.

[8]

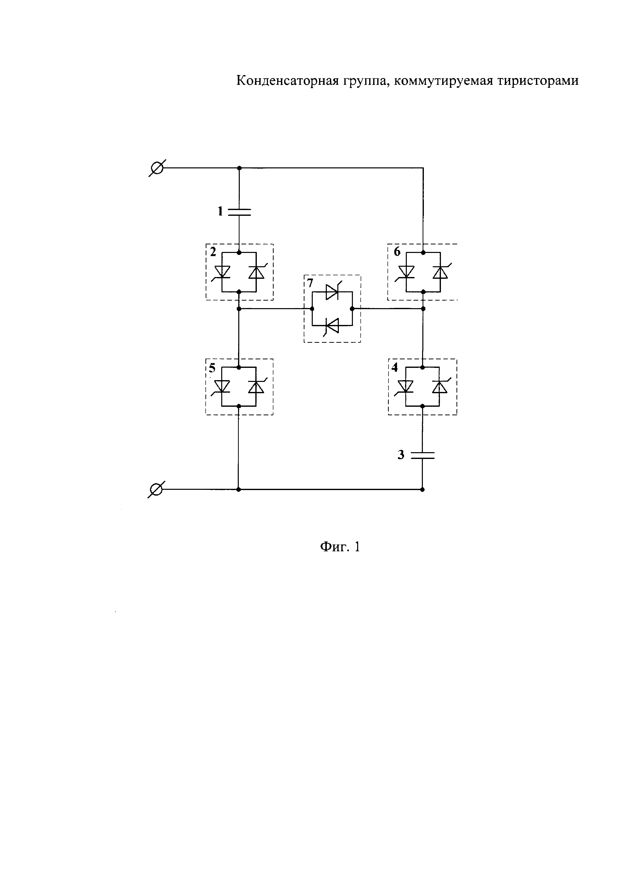
Сущность предлагаемого устройства поясняется чертежом, где на фиг. 1 приведена схема построения конденсаторной группы, коммутируемой тиристорами, состоящая из двух ветвей с конденсаторами.

[9]

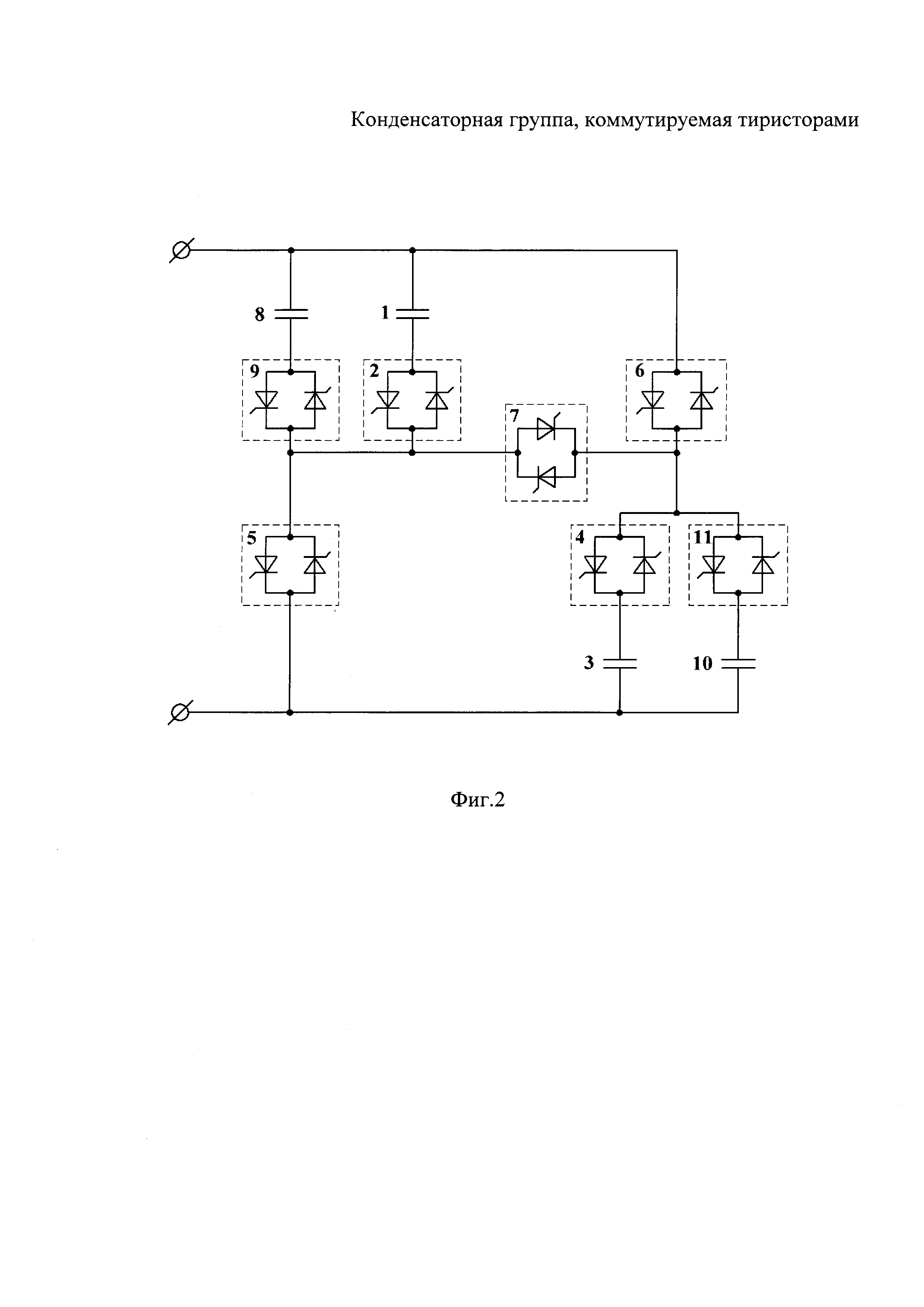
На фиг. 2 приведена схема построения конденсаторной группы, коммутируемой тиристорами, состоящая из четырех ветвей с конденсаторами.

[10]

На фиг. 3 приведена таблица результирующих величин емкостей конденсаторной группы, получаемых при различных комбинациях, включенных двунаправленных тиристорных ключей в схеме фиг. 2.

[11]

Конденсаторная группа, коммутируемая тиристорами, включает две ветви, образованные последовательным соединением конденсатора и двунаправленного тиристорного ключа (фиг. 1). Первая ветвь содержит последовательное соединение конденсатора 1 и двунаправленного тиристорного ключа 2. Вторая ветвь содержит последовательное соединение конденсатора 3 и двунаправленного тиристорного ключа 4. К выводу двунаправленного тиристорного ключа 2, не соединенному с конденсатором 1, подключен первый вывод дополнительного двунаправленного тиристорного ключа 5. К выводу двунаправленного тиристорного ключа 4, не соединенному с конденсатором 3, подключен первый вывод дополнительного двунаправленного тиристорного ключа 6. Второй вывод дополнительного двунаправленного тиристорного ключа 6 и вывод конденсатора 1, не соединенный с двунаправленным тиристорным ключом 2, подключены к первому выходу конденсаторной группы. Второй вывод дополнительного двунаправленного тиристорного ключа 5 и вывод конденсатора 3, не соединенный с двунаправленным тиристорным ключом 4, подключены к второму выходу конденсаторной группы. К общей точке соединения двунаправленного тиристорного ключа 2 и дополнительного двунаправленного тиристорного ключа 5 подключен первый вывод вспомогательного тиристорного ключа 7, второй вывод которого подключен к общей точке соединения двунаправленного тиристорного ключа 4 и дополнительного двунаправленного тиристорного ключа 6.

[12]

На фиг. 2 изображена схема фиг. 1, дополненная в целях увеличения количества ступеней регулирования реактивной мощности двумя дополнительными ветвями, состоящими из последовательного соединения конденсатора и двунаправленного тиристорного ключа. Первая дополнительная ветвь содержит конденсатор 8, первый вывод которого подключен к общей точке соединения конденсатора 1 и дополнительного двунаправленного тиристорного ключа 6, а второй вывод - к первому выводу двунаправленного тиристорного ключа 9. Второй вывод двунаправленного тиристорного ключа 9 подключен к первому выводу вспомогательного тиристорного ключа 7. Вторая дополнительная ветвь содержит конденсатор 10, первый вывод которого подключен к общей точке соединения конденсатора 3 и дополнительного двунаправленного тиристорного ключа 5, а второй вывод - к первому выводу двунаправленного тиристорного ключа 11. Второй вывод двунаправленного тиристорного ключа 11 подключен к второму выводу вспомогательного тиристорного ключа 7.

[13]

Конденсаторная группа, коммутируемая тиристорами, изображенная на фиг. 1 работает следующим образом. Управление двунаправленными тиристорными ключами 2, 4, 5, 6, 7 осуществляется системой управления в определенные моменты времени относительно синусоидального напряжения, приложенного к выходам конденсаторной группы. При этом, в зависимости от набора одновременно включенных двунаправленных ключей обеспечивается подключение к выходам конденсаторной группы различной комбинации конденсаторов. При включенных ключах 2 и 5 и выключенных ключах 4, 6, 7 к выходам конденсаторной группы подключен конденсатор 1. При включенных ключах 4 и 6 и выключенных ключах 2, 5, 7 к выходам конденсаторной группы подключается конденсатор 3. При включенных ключах 2, 4, 7 и выключенных ключах 5 и 6 к выходам конденсаторной группы подключаются два конденсатора 3 и 4, соединенные последовательно. При включенных ключах 2, 4, 5, 6 и выключенном ключе 7 к выходам конденсаторной группы подключаются два конденсатора, соединенные параллельно. Таким образом, схема, изображенная на фиг. 1 при двух конденсаторах, в зависимости от управления двунаправленными тиристорными ключами и подбора величин емкостей каждого из конденсаторов позволяет обеспечить четыре различных значения емкостей конденсаторов подключаемых к выходам конденсаторной группы.

[14]

Увеличить дискретность значений емкостей конденсаторов, получаемых на выходах конденсаторной группы, можно за счет подключения дополнительных ветвей, состоящих из последовательного соединения конденсатора и двунаправленного ключа, параллельно первой или второй ветвям конденсаторной группы, изображенной на фиг. 1. При этом подключение дополнительных ветвей можно осуществлять как независимо к первой или второй ветвям, так и одновременно к двум ветвям.

[15]

На фиг. 2 представлена схема с подключением двух дополнительных ветвей к каждой из ветвей конденсаторной группы. За счет управления двунаправленными тиристорными ключами и подбора величин емкостей четырех конденсаторов в такой схеме можно получить 25 различных величин емкостей на выходах конденсаторной группы. На фиг. 3 приведена таблица значений емкостей конденсаторной группы при различных состояниях тиристорных ключей 2, 4, 5, 6, 7, 9, 11 и выбранных значениях емкостей конденсаторов 1, 3, 8, 10 соответственно: С1=0,3 См; С3=0,1 См; С8=0,2 См; С10=0,4 См, где См - максимальная величина емкости на выходах конденсаторной группы, получаемая при параллельной включении всех четырех конденсаторов 1, 3, 8, 10 в схеме фиг. 2. В таблице, приведенной на фиг. 3, включенному состоянию двунаправленных тиристорных ключей соответствует значение - «1», а выключенному состоянию значение - «0».

[16]

Таким образом, повышение дискретности регулирования величин емкостей конденсаторной группы при ограниченном количестве конденсаторов в схеме достигается за счет увеличения количества комбинаций различных подключений конденсаторов с помощью двунаправленных тиристорных ключей.

Как компенсировать расходы
на инновационную разработку
Похожие патенты