патент
№ RU 2658196
МПК F41C7/02

Стрелковое оружие

Авторы:
Чаузов Константин Николаевич
Номер заявки
2017122221
Дата подачи заявки
23.06.2017
Опубликовано
19.06.2018
Страна
RU
Как управлять
интеллектуальной собственностью
Чертежи 
3
Реферат

Изобретение относится к области вооружения, а именно к стрелковому оружию. Стрелковое оружие содержит ствольную коробку со стволом, жестко закрепленную направляющую трубку, механизм перезаряжания, включающий затворную раму, подвижное цевье. Затворная рама снабжена наконечником с поперечным отверстием, в которое устанавливается ось цевья, соединяющая наконечник с цевьем. На боковых сторонах трубки выполнены пазы, имеющие расширенный конец, обращенный к ствольной коробке. На оси цевья выполнены кольцевые канавки с возможностью продольного перемещения по пазам. Достигается повышение надежности работы механизма перезаряжания стрелкового оружия. 5 ил.

Формула изобретения

Стрелковое оружие, содержащее ствольную коробку со стволом, жестко закрепленную направляющую трубку, механизм перезаряжания, включающий затворную раму, подвижное цевье, отличающееся тем, что затворная рама снабжена наконечником с поперечным отверстием, в которое устанавливается ось цевья, соединяющая наконечник с цевьем, на боковых сторонах трубки выполнены пазы, имеющие расширенный конец, обращенный к ствольной коробке, а на оси цевья выполнены кольцевые канавки с возможностью продольного перемещения по пазам.

Описание

[1]

Изобретение относится к области вооружения и может быть использовано в стрелковом оружии с перезарядкой подвижным цевьем.

[2]

Известно охотничье ружье «Бекас» (ж. «Калашников. Оружие, Боеприпасы, Снаряжение», № 4, 2000 г., с. 20-23), содержащее ствольную коробку со стволом, подствольный трубчатый магазин, механизм перезаряжания, включающий затворную раму, подвижное цевье, соединенное с затвором.

[3]

Недостатком указанного образца является низкая надежность механизма перезаряжания из-за соединения цевья с затвором при помощи двух тяг. По технологическим причинам обеспечить равную длину тяг затруднительно, следовательно, при перезаряжании возможен перекос и повышенное трение затвора о направляющие ствольной коробки, что затрудняет перезаряжание оружия.

[4]

Известно ружье охотничье многозарядное МР 133 (http://www.baikalinc.ru/res_ru/0_value_7735_192.pdf), содержащее ствольную коробку со стволом, механизм перезаряжания, включающий затворную раму, подвижное цевье. Под стволом расположен магазин, выполненный трубчатым, по которому перемещается цевье, соединенное с затвором. Затвор соединен с цевьем при помощи длинной тяги, расположенной между цевьем и трубчатым магазином.

[5]

Недостатком указанного образца является низкая надежность механизма перезаряжания оружия из-за соединения затвора с цевьем при помощи длинной тяги. Так как тяга расположена открыто, то при перемещении по пересеченной местности, например по лесу, в тягу может попасть посторонний предмет (сучок) и затруднить перезаряжание либо заклинить механизм перезаряжания.

[6]

Технической задачей заявляемого изобретения является повышение эксплуатационных характеристик, а именно повышение надежности механизма перезаряжания стрелкового оружия.

[7]

Технический результат заключается в обеспечении беспрепятственного перемещения и исключения заклинивания подвижного цевья для надежного и быстрого перезаряжания стрелкового оружия с перезарядкой подвижным цевьем.

[8]

Поставленная задача достигается тем, что стрелковое оружие содержит ствольную коробку со стволом, направляющую трубку, механизм перезаряжания, включающий затворную раму, подвижное цевье. Затворная рама снабжена наконечником с поперечным отверстием, в которое устанавливается ось цевья, соединяющая наконечник с цевьем, на боковых сторонах направляющей трубки выполнены пазы, имеющие расширенный конец, обращенный к ствольной коробке, а на оси цевья выполнены кольцевые канавки с возможностью продольного перемещения по пазам.

[9]

Сущность изобретения поясняется чертежами, на которых изображено:

[10]

на фиг. 1 – общий вид стрелкового оружия;

[11]

на фиг. 2 – затворная рама с затвором, штоком и наконечником;

[12]

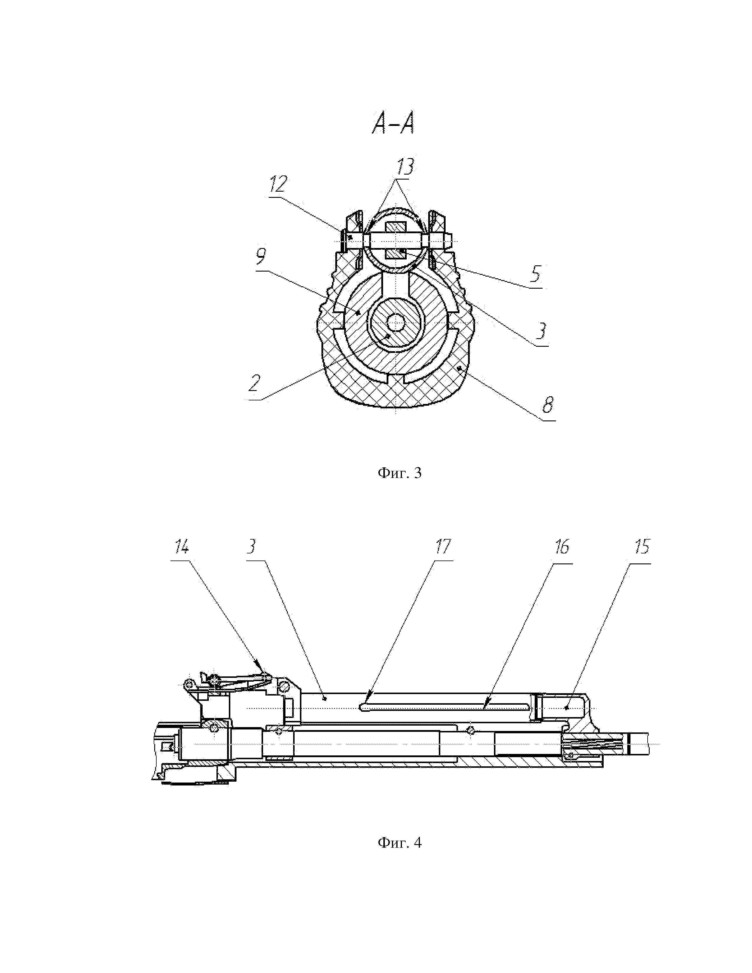
на фиг. 3 –разрез А-А на фиг. 1;

[13]

на фиг. 4 – продольный разрез оружия;

[14]

на фиг. 5 – ось цевья с кольцевыми канавками.

[15]

Стрелковое оружие содержит ствольную коробку 1 со стволом 2, направляющую трубку 3, магазин 4, механизм перезаряжания, включающий затворную раму 5 с затвором 6 и штоком 7, подвижное цевье 8 с основанием 9. Шток 7 затворной рамы 5 снабжен наконечником 10 с поперечным отверстием 11, в которое установлена ось 12 цевья. Ось 12 цевья соединяет наконечник 10 затворной рамы 5 с цевьем 8. На оси 12 цевья выполнены кольцевые канавки 13. Направляющая трубка 3 жестко закреплена между прицельной колодкой 14 и газовой камерой 15. На боковых сторонах направляющей трубки 3 выполнены продольные закрытые пазы 16, в которых размещены кольцевые канавки 13 оси 12 цевья. Продольные закрытые пазы 16 имеют расширенный конец 17, обращенный к ствольной коробке 1. Расширенный конец 17 пазов 16 выполнен размером, превышающим диаметр оси 12 цевья. Для удобства сборки ось 12 цевья имеет буртик 18.

[16]

Перед заряжанием стрелкового оружия цевье 8 находится в переднем положении. При заряжании необходимо присоединить магазин 4, снять оружие с предохранителя и отвести назад до упора цевье 8, которое перемещается по основанию 9, жестко закрепленному на стволе 2. При перемещении цевья 8 кольцевые канавки 13 оси 12 цевья перемещаются по продольным пазам 16 направляющей трубки 3, при этом кромки кольцевых канавок 13 препятствуют поперечному перемещению оси 12 цевья, предохраняя ее от выпадения. При перемещении цевья 8 вперед до упора затвор 6 досылает очередной патрон в патронник и запирает канал ствола 2.

[17]

Для разряжания оружия необходимо отсоединить магазин 4, цевье 8 отвести назад до упора, при этом стреляная гильза или досланный в патронник патрон извлекаются из патронника.

[18]

Для разборки оружия необходимо снять крышку ствольной коробки и отделить возвратный механизм с ограничителем хода затворной рамы (на чертежах не указаны), при этом механизм перезаряжания получает возможность переместиться назад до упора в расширенный конец 17 пазов 16 направляющей трубки 3. Кольцевые канавки 13 оси 12 цевья выходят из пазов 16 направляющей трубки 3, и ось 12 цевья извлекается в поперечном направлении, а затворная рама 5 со штоком 7 и наконечником 10 смещается назад до упора в затылок ствольной коробки 1 и отделяется от оружия.

[19]

Предлагаемая конструкция стрелкового оружия позволяет повысить эксплуатационные характеристики, а именно надежность работы механизма перезаряжания, за счет обеспечения беспрепятственного перемещения и исключения заклинивания подвижного цевья для надежного и быстрого перезаряжания стрелкового оружия с перезарядкой подвижным цевьем.

Как компенсировать расходы
на инновационную разработку
Похожие патенты