патент
№ RU 2653349
МПК F16D21/06

ДВОЙНОЕ СЦЕПЛЕНИЕ

Авторы:
Лихачёв Дмитрий Сергеевич Давыдов Евгений Михайлович Мохов Павел Игоревич
Все (4)
Номер заявки
2017117859
Дата подачи заявки
23.05.2017
Опубликовано
07.05.2018
Страна
RU
Как управлять
интеллектуальной собственностью
Чертежи 
1
Реферат

Изобретение относится к области машиностроения, а более конкретно к трансмиссиям транспортных средств. Двойное сцепление содержит корпус (1), соединенный с ведущим валом (4), две фрикционные муфты (5, 6) и ведомые валы. Корпус (1) соединен со ступицей (2), крышкой (3) и ведущим валом (4). Две фрикционные муфты (5, 6) большего и меньшего размеров предназначены для связи ведомых валов с ведущим валом. Фрикционные диски меньшей муфты (6) имеют наружные зубья и зацеплены с барабаном (9), соединенным с корпусом (10) гидроцилиндра (11) меньшей муфты (6), установленным на ступице (2) корпуса (1) сцепления. На корпусе (1) сцепления имеется кольцевой выступ (14), охватывающий трубчатый участок (15) поршня (16) гидроцилиндра (17) большей муфты (5), окружающий трубчатый участок (18) корпуса (10) гидроцилиндра (11) меньшей муфты (5). Поршень (16) гидроцилиндра (17) большей муфты (5) установлен на ступице (2) корпуса (1) сцепления на сделанном на нем трубчатом выступе (19). На поршне (22) гидроцилиндра (11) меньшей муфты (6) сделан трубчатый выступ (23), охватывающий крышку (24) компенсационной камеры (25). Достигается уменьшение габаритов. 1 з.п. ф-лы, 1 ил.

Формула изобретения

1. Двойное сцепление, содержащее корпус в виде барабана, соединенный с его ступицей и крышкой, соединенной с ведущим валом сцепления, две фрикционные муфты большего и меньшего размеров с гидравлическим управлением для связи ведомых валов меньшего и большего диаметров с ведущим валом, фрикционные диски большей муфты, имеющие наружные зубья, зацеплены с корпусом сцепления, а фрикционные диски этой муфты, имеющие внутренние зубья, зацеплены с их ступицей, соединенной со втулкой, устанавливаемой на ведомом валу меньшего диаметра, отличающееся тем, что фрикционные диски меньшей муфты, имеющие наружные зубья, зацеплены с барабаном, соединенным с корпусом гидроцилиндра меньшей муфты, установленным на ступице корпуса сцепления, а фрикционные диски меньшей муфты, имеющие внутренние зубья, зацеплены с их ступицей, соединенной с втулкой, устанавливаемой на ведомом валу большего диаметра, на корпусе сцепления сделан внутри кольцевой выступ, охватывающий трубчатый участок поршня гидроцилиндра большей муфты, окружающий трубчатый участок корпуса гидроцилиндра меньшей муфты, поршень гидроцилиндра большей муфты установлен на ступице корпуса сцепления на сделанном на нем трубчатом выступе, а его участок, расположенный вокруг упомянутого кольцевого выступа, сделанного на корпусе сцепления, выполнен чашеобразной формы и в нем установлена пружина, прилегающая к барабану, с которым зацеплены фрикционные диски меньшей муфты, имеющие наружные зубья, на поршне гидроцилиндра меньшей муфты сделан трубчатый выступ, расположенный в пространстве внутри ступицы, с которой зацеплены фрикционные диски этой муфты, имеющие внутренние зубья, и охватывающий крышку компенсационной камеры, установленную на корпусе гидроцилиндра меньшей муфты и образующую упор для пружины, установленной в этой камере между крышкой и поршнем гидроцилиндра.

2. Двойное сцепление по п. 1, отличающееся тем, что корпус гидроцилиндра меньшей муфты связан со ступицей корпуса сцепления посредством шлицевого соединения и закреплен на ней с помощью резьбовой втулки, имеющей фланец, примыкающий к торцу корпуса гидроцилиндра меньшей муфты, напротив фланца резьбовой втулки расположены упорные подшипники, разделенные между собой фланцами втулок, с которыми соединены ступицы фрикционных дисков обеих муфт, в ступице корпуса сцепления сделаны продольное отверстие, пересекающееся с наклонным отверстием, сообщающимся с гидроцилиндром большей муфты, продольное отверстие, сообщающееся с гидроцилиндром меньшей муфты через наклонные отверстия в ступице корпуса сцепления и в корпусе гидроцилиндра меньшей муфты, продольное отверстие, открытое со стороны внутренней полости ступицы корпуса сцепления, сообщающейся через отверстия в этой ступице и в корпусе гидроцилиндра меньшей муфты с компенсационными камерами обеих муфт, а именно сообщающейся через радиальное отверстие в этой ступице с кольцевой канавкой на ней, сообщающейся через наклонное отверстие в корпусе гидроцилиндра меньшей муфты с компенсационной камерой большей муфты и сообщающейся через наклонное и продольное отверстия в корпусе гидроцилиндра меньшей муфты с компенсационной камерой этой муфты.

Описание

[1]

Техническое решение относится к трансмиссиям транспортных средств. Оно касается двойного сцепления, расположенного между двигателем внутреннего сгорания и коробкой передач.

[2]

В транспортных средствах находят применение трансмиссии, состоящие из двойного сцепления и ступенчатой коробки передач, в которых обеспечивается переключение передач без разрыва потока мощности, что повышает плавность движения транспортного средства. Такие трансмиссии показаны в патентах США №6523657, 7743898 и представлены в заявках №1174631, 2975282, опубликованных Европейским патентным ведомством.

[3]

В качестве прототипа принято двойное сцепление, показанное в патенте №7318512, выданном в США. Это двойное сцепление содержит корпус гидроцилиндров, в котором концентрично расположены внешняя и внутренняя муфты, имеющие опорные и фрикционные диски, одни из которых зацеплены с корпусом, а другие с барабанами, соединенными с валами коробки передач. Между ведущим валом и ступицей корпуса установлены упорные подшипники, разделенные барабанами. С ведущим валом соединен тарельчатый диск, имеющий наружные выступы, установленные во внутренних пазах корпуса. В местах сцепления корпуса с опорными дисками выполнены внутренние кольцевые канавки, в которых размещены пружинные стопорные кольца. Однако представленная конструкция имеет большие осевые габариты.

[4]

Технической проблемой является уменьшение габаритов двойного сцепления для обеспечения большей компактности трансмиссии транспортного средства.

[5]

Решение технической проблемы обеспечено тем, что двойное сцепление содержит корпус в виде барабана, соединенный с его ступицей и с крышкой, соединенной с ведущим валом сцепления, две фрикционные муфты большего и меньшего размеров для связи соосно расположенных ведомых валов соответственно меньшего и большего диаметров с ведущим валом. Фрикционные диски большей муфты, имеющие наружные зубья, зацеплены с корпусом сцепления, а фрикционные диски этой муфты, имеющие внутренние зубья, зацеплены с их ступицей, соединенной со втулкой, устанавливаемой на ведомом валу меньшего диаметра. Фрикционные диски меньшей муфты, имеющие наружные зубья, зацеплены с барабаном, соединенным с корпусом гидроцилиндра меньшей муфты, установленным на ступице корпуса сцепления, а фрикционные диски меньшей муфты, имеющие внутренние зубья, зацеплены с их ступицей, соединенной с втулкой, устанавливаемой на ведомом валу большего диаметра. На корпусе сцепления сделан внутри кольцевой выступ, охватывающий трубчатый участок поршня гидроцилиндра большей муфты, окружающий трубчатый участок корпуса гидроцилиндра меньшей муфты. Поршень гидроцилиндра большей муфты установлен на ступице корпуса сцепления на сделанном на нем трубчатом выступе, а его участок, расположенный вокруг упомянутого кольцевого выступа, сделанного на корпусе сцепления, выполнен чашеобразной формы и в нем установлена кольцевая листовая пружина, соприкасающаяся с барабаном, с которым зацеплены фрикционные диски меньшей муфты, имеющие наружные зубья. На поршне гидроцилиндра меньшей муфты сделан трубчатый выступ, расположенный в пространстве внутри барабана, с которым зацеплены фрикционные диски этой муфты, имеющие внутренние зубья, и охватывающий крышку компенсационной камеры, установленную на корпусе гидроцилиндра меньшей муфты и образующую упор для кольцевой листовой пружины, установленной в этой камере между крышкой и поршнем гидроцилиндра.

[6]

При таком выполнении корпуса и поршней гидроцилиндров двойного сцепления достигается такой технический результат, как уменьшение габаритов двойного сцепления, с обеспечением его надежности, удобства сборки и разборки и технологичности.

[7]

Корпус гидроцилиндра меньшей муфты соединен со ступицей корпуса сцепления посредством шлицевого соединения и закреплен на ней с помощью резьбовой втулки, имеющей фланец, примыкающий к торцу корпуса гидроцилиндра меньшей муфты. Напротив фланца резьбовой втулки расположены упорные подшипники, установленные между фланцами втулок, с которыми соединены ступицы фрикционных дисков обеих муфт. В ступице корпуса сцепления сделаны продольное отверстие, пересекающиеся с наклонным отверстием, сообщающимся с гидроцилиндром большей муфты, продольное отверстие, сообщающееся с гидроцилиндром меньшей муфты через наклонные отверстия в ступице корпуса сцепления и в корпусе гидроцилиндра меньшей муфты, продольное отверстие, открытое со стороны внутренней полости ступицы корпуса сцепления, сообщающейся через отверстия в этой ступице и в корпусе гидроцилиндра меньшей муфты с компенсационными камерами обеих муфт, а именно сообщающейся через радиальное отверстие в этой ступице с кольцевой канавкой на ней, сообщающейся через наклонное отверстие в корпусе гидроцилиндра меньшей муфты с компенсационной камерой большей муфты и сообщающейся через наклонное и продольное отверстия в корпусе гидроцилиндра меньшей муфты с компенсационной камерой этой муфты.

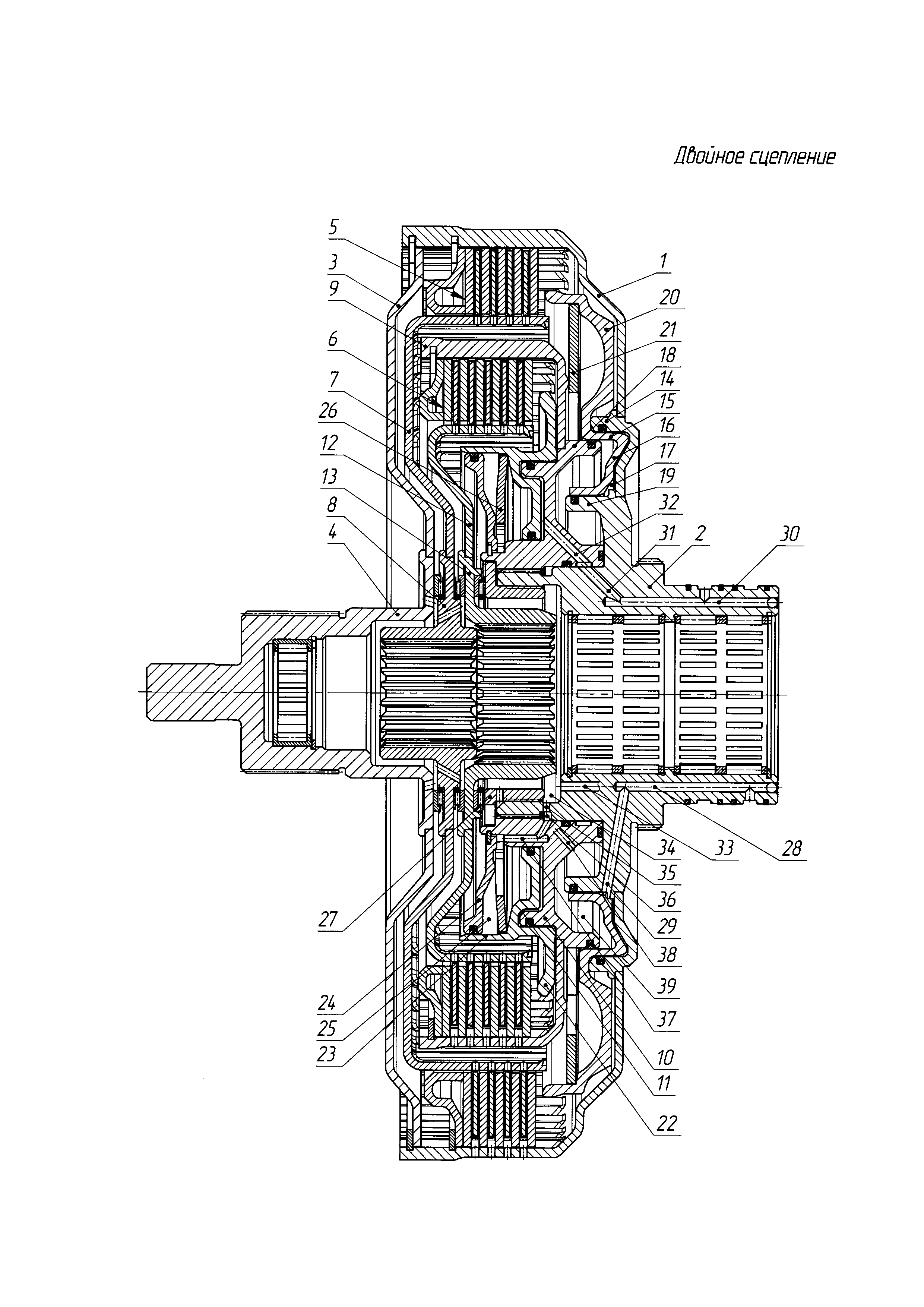
[8]

Двойное сцепление трансмиссии автомобиля с гидравлическим управлением содержит корпус 1 в виде барабана, соединенный с его ступицей 2 и с крышкой 3, соединенной с ведущим валом 4 сцепления. Крышка 3 зацеплена зубьями с корпусом 1 и зафиксирована в нем с помощью разрезного пружинного стопорного кольца. Внутри корпуса 1 расположены две нормально разомкнутые фрикционные муфты 5 и 6 большего и меньшего диаметров для поочередной связи с ведущим валом 4 соосно расположенных ведомых валов соответственно меньшего и большего диаметров (не показаны), которые являются первичными валами коробки передач. Фрикционные диски большей муфты 5, имеющие наружные зубья, зацеплены с корпусом 1 сцепления. Фрикционные диски этой муфты 5, имеющие внутренние зубья, зацеплены с их ступицей 7, соединенной с шлицевой втулкой 8, устанавливаемой на ведомом валу меньшего диаметра. Фрикционные диски меньшей муфты 6, имеющие наружные зубья, зацеплены с барабаном 9, соединенным с корпусом 10 гидроцилиндра 11 меньшей муфты 6. Корпус 10 гидроцилиндра 11 установлен на ступице 2 корпуса 1 сцепления. Фрикционные диски меньшей муфты 6, имеющие внутренние зубья, зацеплены с их ступицей 12, соединенной со шлицевой втулкой 13, устанавливаемой на ведомом валу большего диаметра.

[9]

На корпусе 1 сцепления сделан внутри кольцевой выступ 14, охватывающий трубчатый участок 15 поршня 16 гидроцилиндра 17 большей муфты 5, окружающий трубчатый участок 18 корпуса 10 гидроцилиндра 11 меньшей муфты 6.

[10]

Поршень 16 гидроцилиндра 17 большей муфты 5 установлен на ступице 2 корпуса 1 сцепления на сделанном на нем трубчатом выступе 19. Участок 20 поршня, расположенный вокруг упомянутого кольцевого выступа 14, сделанного на корпусе 1 сцепления, выполнен чашеобразной формы с бортиком, расположенным напротив фрикционных дисков. С другой стороны фрикционных дисков муфты 5 установлен фасонный опорный диск, имеющий в сечении, например, форму крючка. Он зафиксирован в корпусе 1 с помощью разрезного пружинного стопорного кольца. На участке 20 поршня 16 установлена кольцевая листовая возвратная пружина 21 плоской или тарельчатой формы с внутренними лепестками, прилегающими к кольцевому бугорку, сделанному на барабане 9, с которым зацеплены фрикционные диски меньшей муфты 6, имеющие наружные зубья.

[11]

Поршень 22 гидроцилиндра 11 меньшей муфты 6 сделан фигурным с кольцевым козырьком тарельчатой формы, расположенным напротив фрикционных дисков. С противоположной стороны этих дисков расположен опорный диск, имеющий в сечении, например, форму крючка, зафиксированного в барабане 9 с помощью разрезного пружинного стопорного кольца. На поршне 22 сделан трубчатый выступ 23, расположенный в пространстве внутри ступицы 12, с которой зацеплены фрикционные диски этой муфты 6, имеющие внутренние зубья, и охватывающий крышку 24 компенсационной камеры 25, установленную на корпусе 10 гидроцилиндра меньшей муфты 6. На крышке 24 сделан кольцевой бугорок, образующий упор для лепестков кольцевой листовой возвратной пружины 26, установленной в камере 25 между крышкой 24 и поршнем 22 гидроцилиндра 11.

[12]

Корпус 10 гидроцилиндра 11 меньшей муфты 6 соединен со ступицей 2 корпуса 1 сцепления посредством шлицевого соединения и закреплен на ней с помощью резьбовой втулки 27. Втулка 27 сделана с фланцем, примыкающим к торцу корпуса 10 гидроцилиндра 11 меньшей муфты 6. Напротив фланца резьбовой втулки 27 расположены одинаковые упорные подшипники качения, установленные между фланцами шлицевых втулок 8 и 13, с которыми соединены ступицы 7 и 12 фрикционных дисков муфт 5 и 6. В ступице 2 корпуса 1 сцепления сделано продольное отверстие 28, пересекающееся с наклонным отверстием 29, сообщающимся с гидроцилиндром 17 большей муфты 5, продольное отверстие 30, сообщающееся с гидроцилиндром 11 меньшей муфты 6 через наклонное отверстие 31 в ступице 2 корпуса 1 сцепления и наклонное отверстие 32 в корпусе 10 гидроцилиндра 11 меньшей муфты 6. Кроме того, в ступице 2 сделано продольное отверстие 33, открытое со стороны внутренней полости 34 ступицы 2 корпуса 1 сцепления, сообщающейся через вертикальное отверстие 35 с кольцевой канавкой 36 в ступице 2. С кольцевой канавкой 36 через наклонное отверстие и продольное отверстие 37, выполненные в корпусе 10 гидроцилиндра 11 меньшей муфты 6, сообщена компенсационная камера 25 меньшей муфты 6. Кроме того, с кольцевой канавкой 36 через наклонное отверстие 38, выполненное в корпусе 10 гидроцилиндра 11 меньшей муфты 6, сообщена компенсационная камера 39 большей муфты 5. Указанных отверстий в ступице 2 корпуса 1 сцепления и в корпусе 10 гидроцилиндра 11 меньшей муфты 6 может быть несколько.

[13]

Это двойное сцепление работает следующим образом. Для включения муфты 5 большего диаметра рабочую жидкость подают под давлением через продольное отверстие 28 и наклонное отверстие 29 в гидроцилиндр 17. При создании давления в гидроцилиндре 17 поршень 16 перемещается в осевом направлении, сжимая кольцевую листовую возвратную пружину 21, и прижимает фрикционные диски к опорному диску. За счет сил трения между фрикционными дисками они начинают вращаться вместе со ступицей 7, соединенной со втулкой 8, передавая крутящий момент с ведущего вала 4 через крышку 3, зацепленную с корпусом 1, на ведомый вал меньшего диаметра. При отсутствии давления рабочей жидкости в гидроцилиндре 17, муфта 5 выключается. Пружина 21, разжимаясь, перемещает поршень 16 в исходное положение, расцепляя фрикционные диски. Совместное вращение фрикционных дисков и ступицы 7 прекращается, и ведомый вал меньшего диаметра отсоединяется от ведущего вала 4.

[14]

Для включения муфты 6 меньшего диаметра рабочую жидкость подают под давлением через продольное отверстие 30 и наклонное отверстие 31 в гидроцилиндр 11. При создании давления в гидроцилиндре 11 поршень 22 перемещается в осевом направлении, сжимая кольцевую листовую возвратную пружину 26, и прижимает фрикционные диски к опорному диску. За счет сил трения между фрикционными дисками они начинают вращаться вместе со ступицей 12, соединенной со втулкой 13, передавая крутящий момент с ведущего вала 4 на ведомый вал большего диаметра через крышку 3, зацепленную с корпусом 1, и через ступицу 2, которая имеет шлицевое соединение с корпусом 10, на котором установлен барабан 9. При отсутствии давления рабочей жидкости в гидроцилиндре 11 муфта 6 выключается. Пружина 26, разжимаясь, перемещает поршень 22 в исходное положение, расцепляя фрикционные диски. Совместное вращение фрикционных дисков и ступицы 12 прекращается, и ведомый вал большего диаметра отсоединяется от ведущего вала 4.

[15]

Наполнение рабочей жидкостью компенсационных камер 25 и 39 муфт 5 и 6 соответственно производится при ее подаче в продольный канал 33, из которого она поступает в полость 34. Из полости 34 рабочая жидкость проходит через радиальное отверстие 35 в кольцевую канавку 36. Из канавки 36 рабочая жидкость поступает через отверстие 38 в компенсационную камеру 39 большей муфты 5. А через наклонное отверстие и продольное отверстие 37 рабочая жидкость поступает в компенсационную камеру 25 меньшей муфты 6.

[16]

Таким образом, при указанном выполнении двойного сцепления, содержащего корпус в виде барабана, соединенный с его ступицей и крышкой, соединенной с ведущим валом сцепления, две фрикционные муфты большего и меньшего размеров с гидравлическим управлением для связи ведомых валов меньшего и большего диаметров с ведущим валом, достигнуто уменьшение габаритов двойного сцепления, с обеспечением его надежности, удобства сборки и разборки и технологичности.

Как компенсировать расходы
на инновационную разработку
Похожие патенты