патент
№ RU 2437636
МПК A61F2/66

ИСКУССТВЕННАЯ СТОПА

Авторы:
Махонин Петр Иванович Максименко Нина Васильевна Козлов Олег Владимирович
Все (6)
Номер заявки
2010129229/14
Дата подачи заявки
15.07.2010
Опубликовано
27.12.2011
Страна
RU
Как управлять
интеллектуальной собственностью
Чертежи 
6
Реферат

[16]

Изобретение относится к медицинской технике и может быть использовано для протезирования нижних конечностей. Искусственная стопа содержит наружную эластичную облицовку, передний амортизатор, задний амортизатор и голеностопную опору, размещенную на несущем элементе, имеющем носочную часть, пяточную часть и рабочую поверхность, связанную с поверхностью рессорной пластины, изогнутой в продольной плоскости. Голеностопная опора выполнена в виде адаптера, жестко соединенного с несущим элементом, установленным с возможностью поворота на закрепленном на пластине закругленном упоре. Несущий элемент имеет выемку под закругленный упор и рабочую поверхность для взаимодействия с изогнутой рессорной пластиной, выполненную с дугообразными сечениями в продольной и поперечных плоскостях. Носочная и пяточная части несущего элемента связаны с изогнутой рессорной пластиной внутренними поверхностями манжет, выполненных в виде ограничителей поворота. Передний и задний амортизаторы расположены между изогнутой рессорной пластиной и носочной и пяточной частями несущего элемента. Изобретение обеспечивает улучшенные вальгус-варусные функции, обеспечивающие плавность походки инвалида, и упрощенную эксплуатацию протеза, не требующую специального обслуживания и дополнительных регулировок. 6 з.п. ф-лы, 6 ил.

Формула изобретения

1. Искусственная стопа, содержащая наружную эластичную облицовку, передний амортизатор, задний амортизатор и голеностопную опору, размещенную на несущем элементе, имеющем носочную часть, пяточную часть и рабочую поверхность, связанную с поверхностью рессорной пластины, изогнутой в продольной плоскости, отличающаяся тем, что голеностопная опора выполнена в виде адаптера, жестко соединенного с несущим элементом, установленным с возможностью поворота на закрепленном на пластине закругленном упоре, причем несущий элемент имеет выемку под закругленный упор и рабочую поверхность для взаимодействия с изогнутой рессорной пластиной, выполненную с дугообразными сечениями в продольной и поперечных плоскостях, при этом носочная и пяточная части несущего элемента связаны с изогнутой рессорной пластиной внутренними поверхностями манжет, выполненных в виде ограничителей поворота, а передний и задний амортизаторы расположены между изогнутой рессорной пластиной и носочной и пяточной частями несущего элемента.

2. Стопа по п.1, отличающаяся тем, что изогнутая рессорная пластина имеет толщину носочного и пяточного участков 0,3-0,45 от толщины ее среднего участка.

3. Стопа по п.1, отличающаяся тем, что закругленный упор выполнен в виде части сферы высотой 0,3-0,5 от диаметра сферы.

4. Стопа по п.1, отличающаяся тем, что закругленный упор снабжен прокладкой для снижения трения.

5. Стопа по п.1, отличающаяся тем, что передний и задний амортизаторы выполнены за единое целое с наружной эластичной облицовкой.

6. Стопа по п.1, отличающаяся тем, что рессорная пластина выполнена из углепластика и/или стеклопластика.

7. Стопа по п.1, отличающаяся тем, что манжеты выполнены из арамидной нити.

Описание

[1]

Изобретение относится к медицинской технике и может быть использовано для протезирования нижних конечностей.

[2]

Известна искусственная стопа US 2005/0171618 A1, 04.08.2005, содержащая передний амортизатор, задний амортизатор и голеностопную опору, связанную с рессорными пластинами, изогнутыми в продольной плоскости. Передний и задний амортизаторы в стопе US 2005/0171618 выполнены в виде поршневых цилиндров, давление в которых регулируют специальные средства. Наличие в конструкции специальных регулировочных средств в значительной степени усложняет конструкцию стопы и повышает стоимость ее эксплуатации.

[3]

Аналогом, более близким к нашему изобретению (прототипом), можно считать искусственную стопу US 6280479 B1, 28.08.2001, содержащую наружную эластичную облицовку, передний амортизатор, задний амортизатор и голеностопную опору, размещенную на несущем элементе, имеющем носочную часть, пяточную часть и рабочую поверхность, связанную с поверхностью рессорной пластины, изогнутой в продольной плоскости.

[4]

По сравнению с US 2005/0171618 искусственная стопа US 6280479 имеет более простую конструкцию, но не обеспечивает вальгус-варусные функции в полной мере, т.к. упругие свойства изогнутой в продольной плоскости рессорной пластины используются не полностью.

[5]

Предлагаемое изобретение направлено на решение задачи по созданию простой и технологичной искусственной стопы, имеющей высокие эксплуатационные показатели и приближающейся по биомеханическим показателям к стопе человека.

[6]

Техническим результатом изобретения являются улучшенные вальгус-варусные функции, обеспечивающие плавность походки инвалида, и упрощенная эксплуатация протеза, не требующая специального обслуживания и дополнительных регулировок.

[7]

Сущность изобретения определяется совокупностью существенных признаков, в которой искусственная стопа, содержащая наружную эластичную облицовку, передний амортизатор, задний амортизатор и голеностопную опору, размещенную на несущем элементе, имеющем носочную часть, пяточную часть и рабочую поверхность, связанную с поверхностью рессорной пластины, изогнутой в продольной плоскости, отличается от ближайшего аналога тем, что голеностопная опора выполнена в виде адаптера, жестко соединенного с несущим элементом, установленным с возможностью поворота на закрепленном на пластине закругленном упоре, причем, несущий элемент имеет выемку под закругленный упор и рабочую поверхность для взаимодействия с изогнутой рессорной пластиной, выполненную с дугообразными сечениями в продольной и поперечных плоскостях, при этом носочная и пяточная части несущего элемента связаны с изогнутой рессорной пластиной внутренними поверхностями манжет, выполненных в виде ограничителей поворота, а передний и задний амортизаторы расположены между изогнутой рессорной пластиной и носочной и пяточной частями несущего элемента.

[8]

В частных случаях выполнения или использования искусственная стопа может содержать изогнутую рессорную пластину, которая имеет толщину носочного и пяточного участков 0,3-0,45 от толщины ее среднего участка; закругленный упор, выполненный в виде части сферы высотой 0,3-0,5 от диаметра сферы; закругленный упор, снабженный прокладкой для снижения трения; передний и задний амортизаторы, выполненные за единое целое с наружной эластичной облицовкой; рессорную пластину, выполненную из углепластика и/или стеклопластика; манжеты, выполненные из арамидной нити.

[9]

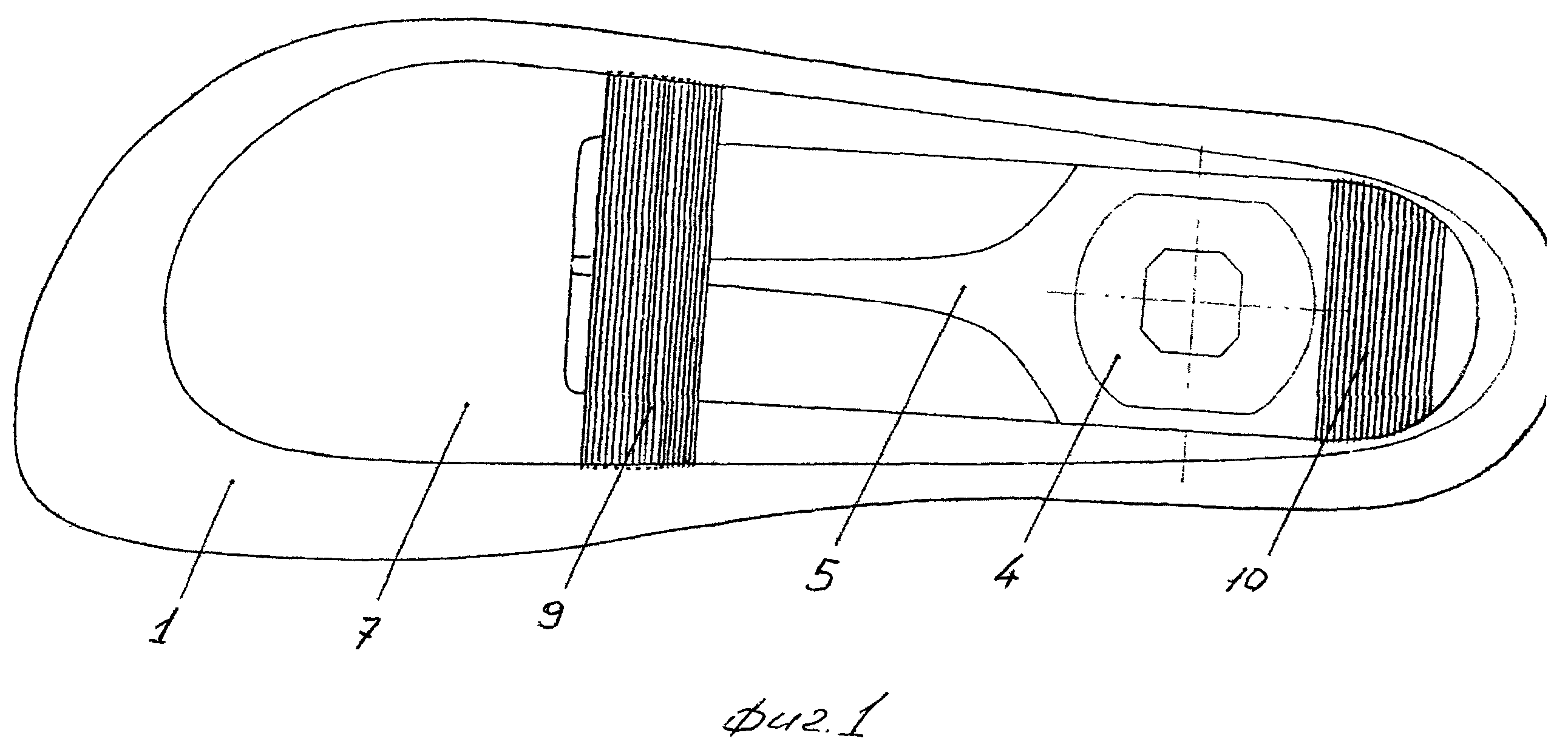
Сущность изобретения поясняется чертежами, где на фиг.1 изображен вид искусственной стопы сверху, на фиг.2 - продольный разрез искусственной стопы с передним и задним амортизаторами, выполненными в виде отдельных конструктивных элементов, на фиг.3 - вид искусственной стопы со стороны пятки без эластичной наружной облицовки и на фиг.4-6 - аналогичные виды искусственной стопы, имеющей передний и задний амортизаторы, выполненные за единое целое с эластичной облицовкой.

[10]

Искусственная стопа содержит наружную эластичную облицовку 1, передний амортизатор 2, задний амортизатор 3 и голеностопную опору 4. Голеностопная опора 4 размещена на несущем элементе 5, имеющем носочную часть, пяточную часть и рабочую поверхность 6, выполненную с дугообразным поперечным сечением. Рабочая поверхность 6 связана с поверхностью рессорной пластины 7, которая изогнута в продольной плоскости. Голеностопная опора 4 выполнена в виде адаптера, жестко соединенного с несущим элементом 5. Несущий элемент 5 установлен с возможностью поворота на закрепленном на рессорной пластине 7 закругленном упоре 8. Несущий элемент 5 имеет выемку под закругленный упор 8 и рабочую поверхность 6 для взаимодействия с изогнутой рессорной пластиной 7. Рабочая поверхность 6 выполнена с дугообразными сечениями в продольной и поперечных плоскостях. Носочная и пяточная части несущего элемента 5 связаны с изогнутой рессорной пластиной 7 внутренними поверхностями манжет 9 и 10, которые выполнены в виде ограничителей поворота несущего элемента 5. Передний амортизатор 2 и задний амортизатор 3 расположены между изогнутой рессорной пластиной 7 и носочной частью и пяточной частью несущего элемента 5.

[11]

В частных случаях выполнения или использования искусственная стопа может содержать изогнутую рессорную пластину 7, которая имеет толщину носочного и пяточного участков 0,3-0,45 от толщины ее среднего участка; закругленный упор 8, выполненный в виде части сферы высотой 0,3-0,5 от диаметра сферы; закругленный упор 8, снабженный прокладкой 11 для снижения трения; передний амортизатор 2 и задний амортизатор 3, выполненные за единое целое с наружной эластичной облицовкой 1; рессорную пластину 7, выполненную из углепластика и/или стеклопластика; манжеты 9 и 10, выполненные из арамидной нити.

[12]

При ходьбе вес пациента в первой фазе шага действует на заднюю (пяточную) часть искусственной стопы, которая и принимает на себя через голеностопную опору 4 всю первичную нагрузку и сжимается. При сжатии пяточный участок изогнутой рессорной пластины 7 взаимодействует с пяточным участком несущего элемента 5 через задний амортизатор 3, который демпфирует удар, возникающий при соприкосновении пятки с поверхностью земли. При деформировании заднего амортизатора и уменьшении его высоты несущий элемент 5 поворачивается на закругленном упоре 8 до взаимодействия с манжетой 9, выполненной в виде ограничителя поворота несущего элемента 5. Поворот несущего элемента 5 облегчает установленная на закругленном упоре 8 прокладка 11 для снижения трения.

[13]

В следующей фазе ходьбы (при перекате) несущий элемент 5 поворачивается на закругленном упоре 8 в обратном направлении и начинает плавно прогибать в средней части изогнутую рессорную пластину 7. Задний амортизатор 3 при изгибе пластины 7 плавно разжимается. По мере переноса веса пациента в зону переката, начинает сжиматься передний амортизатор 2 и прогибаться носочная часть изогнутой рессорной пластины 7. В этот же момент задний участок изогнутой рессорной пластины 7 начинает выгибаться за счет манжеты 10, соединяющей изогнутую рессорную пластину 7 с несущим элементом 5. В результате достигается возможность максимального использования упругих свойств изогнутой рессорной пластины 7 по всей длине.

[14]

Плавную походку пациента, вальгус-варусные функции обеспечивает закругленная форма рабочей поверхности 6 несущего элемента 5, которая взаимодействует с поверхностью изогнутой рессорной пластины 7 и амортизаторами 2 и 3. Передний амортизатор 2 и задний амортизатор 3 принимают на себя переменную нагрузку и аккумулируют энергию.

[15]

При переходе к переднему толчку в момент переноса опоры пациента от зоны переката к носочной части несущего элемента 5, изогнутая рессорная пластина 7 возвращается в первоначальное положение, полностью отдает запасенную энергию и способствует дальнейшему движению вперед.

Как компенсировать расходы
на инновационную разработку
Похожие патенты