патент
№ RU 2186453
МПК H02N11/00

РЕЛЬСОТРОННЫЙ УСКОРИТЕЛЬ

Авторы:
Кондратенко А.К.
Номер заявки
2000120034/06
Дата подачи заявки
31.07.2000
Опубликовано
27.07.2002
Страна
RU
Как управлять
интеллектуальной собственностью
Чертежи 
4
Реферат

[25]

Изобретение относится к рельсотронным ускорителям и может быть применено для разгона твердого тела (якоря) относительно большой массы. Техническим результатом изобретения является повышение надежности рельсотронного ускорителя. Рельсотронный ускоритель содержит N пар рельсов, образующих канал ускорителя и закрепленных в корпусе так, что первые рельсы всех пар и вторые рельсы всех пар разделены изоляционными промежутками, якорь включает электрические изолированные друг от друга электропроводные перемычки по числу пар рельсов (N), установленные на общем изоляторе с возможностью скольжения по рельсам. Контактирующие поверхности скольжения, по крайней мере, первой и последней электропроводных перемычек якоря и контактирующие с ними поверхности скольжения рельсов имеют такие конфигурации, при которых осуществляется прижатие перемычек к рельсам под действием силы суммарного магнитного поля собственных токов всех перемычек якоря. Контактирующие поверхности скольжения перемычек якоря и примыкающие к ним контактирующие поверхности скольжения пары рельсов расположены наклонно под острым углом к плоскости пары рельсов и проходящей через продольные оси соответствующих перемычек якоря. Контактирующие поверхности скольжения перемычек якоря и примыкающие к ним контактирующие поверхности скольжения пары рельсов расположены в плоскости, параллельной плоскости соответствующей пары рельсов. 4 з.п. ф-лы, 5 ил.

Формула изобретения

1. Рельсотронный ускоритель, содержащий электроизоляционный корпус, якорь и несколько (N) пар токопроводных параллельных рельсов, образующих канал ускорителя и закрепленных в корпусе так, что первые рельсы всех пар и вторые рельсы всех пар разделены изоляционными промежутками, якорь включает электрически изолированные друг от друга электропроводные перемычки по числу пар рельсов (N), установленные на общем изоляторе с возможностью скольжения по рельсам, отличающийся тем, что контактирующие поверхности скольжения, по крайней мере, первой и последней электропроводных перемычек якоря и контактирующие с ними поверхности скольжения рельсов первой и последней пары имеют такие конфигурации, при которых осуществляется прижатие перемычек к рельсам под действием силы суммарного магнитного поля собственных токов всех перемычек якоря.

2. Рельсотронный ускоритель по п. 1, отличающийся тем, что контактирующие поверхности скольжения перемычек якоря и примыкающие к ним контактирующие поверхности скольжения рельсов расположены наклонно под острым углом к плоскости, проходящей через продольные оси соответствующих соединительных перемычек пар рельсов, причем участки контактирующих поверхностей скольжения рельсов обращены наружу, а контактирующие поверхности перемычек якоря обращены вовнутрь канала ускорителя.

3. Рельсотронный ускоритель по п. 1, отличающийся тем, что контактирующие поверхности скольжения перемычек якоря и примыкающие к ним контактирующие поверхности скольжения рельсов расположены в плоскости, параллельной плоскости продольного сечения пары рельс.

4. Рельсотронный ускоритель по п. 1, отличающийся тем, что в ускорителе, имеющем нечетное число пар рельсов и, соответственно, токопроводных перемычек якоря, средняя пара рельсов и средняя токопроводная перемычка якоря, лежащие в плоскости симметрии канала, имеют контактирующие поверхности скольжения, расположенные наклонно под острым углом к плоскости продольного сечения канала, причем эти контактирующие поверхности скольжения рельсов обращены наружу от упомянутой плоскости сечения, а контактирующие поверхности перемычки якоря обращены вовнутрь к упомянутой плоскости сечения.

5. Рельсотронный ускоритель по п. 1, отличающийся тем, что в ускорителе, имеющем нечетное число пар рельсов и, соответственно, токопроводных перемычек якоря, средняя пара рельсов и средняя токопроводная перемычка якоря имеют контактирующие поверхности скольжения, расположенные наклонно под острым углом к плоскости продольного сечения канала, причем эти контактирующие поверхности скольжения рельсов обращены вовнутрь к упомянутой плоскости сечения, а контактирующие поверхности перемычки якоря обращены наружу от упомянутой плоскости сечения.

Описание

[1]

Изобретение относится к линейным электрическим двигателям и может быть применено для разгона твердого тела (якоря) относительно большой массы.

[2]

Известен рельсотронный ускоритель, содержащий ускорительный канал, образованный N одинаковыми парами электрически изолированных токопроводящих параллельных рельсов, установленных неподвижно в электроизоляционном корпусе так, что первые рельсы всех пар и вторые рельсы всех пар расположены с изоляционными промежутками соответственно друг над другом, якорь, содержащий N электрически изолированных друг от друга электропроводных перемычек, каждая из которых установлена неподвижно на изоляторе якоря с возможностью скольжения по соответствующей паре рельсов [1].

[3]

Недостатком такого устройства является относительно низкая надежность в связи с необходимостью использования высоковольтного источника, что повышает вероятность электрического пробоя между рельсами соседних пар, а также между электропроводными перемычками якоря.

[4]

Наиболее близким по технической сущности и достигаемому техническому результату и выбранный за прототип, является рельсотронный ускоритель содержащий ускорительный канал, образованный N одинаковыми парами электрически изолированных токопроводящих параллельных рельсов, установленных неподвижно в электроизоляционном корпусе так, что первые рельсы всех пар и вторые рельсы всех пар расположены с изоляционными промежутками соответственно друг над другом, якорь, содержащий N электрически изолированных друг от друга электропроводных перемычек, каждая из которых установлена неподвижно на изоляторе якоря и с возможностью скольжения по соответствующей паре рельсов. Электроизоляция между одноименными рельсами соседних пар имеет развитую поверхность, сопрягаемую с развитой поверхностью изолятора якоря. Для улучшения электрического контакта между электропроводными перемычками якоря и рельсами традиционно применяют перемычки якоря U-образной формы. Разгибающие силы собственного магнитного поля, действующие в таком якоре, сжимают контактирующие поверхности, расположенные перпендикулярно плоскости пар рельсов [2].

[5]

Недостатком такого устройства является относительно низкая надежность в связи с повышенным износом сопрягаемых поверхностей изоляторов между одноименными рельсами и изоляторов якоря. Это происходит в результате деформации электропроводных перемычек якоря под сжимающим воздействием на них собственного магнитного поля в направлении, перпендикулярном плоскости пар рельсов. Кроме того, необходимость применения электропроводных перемычек U-образной формы приводит к увеличению их веса, что снижает полезный вес якоря.

[6]

Техническим результатом настоящего изобретения является повышение надежности путем снижения силы давления на сопрягаемые поверхности изоляторов, улучшение электрического контакта между электропроводными перемычками якоря и рельсами и повышение полезного веса якоря.

[7]

Для достижения указанного технического результата предложено усовершенствовать рельсотронный ускоритель, содержащий электоризоляционный корпус, якорь и несколько (N) пар токопроводных параллельных рельсов, образующих канал ускорителя и закрепленных в корпусе так, что первые рельсы всех пар и вторые рельсы всех пар разделены изоляционными промежутками. Якорь включает электрически изолированные друг от друга электропроводные перемычки по числу рельсов (N), установленные на общем изоляторе с возможностью скольжения по рельсам. Усовершенствование заключается в том, что контактирующие поверхности скольжения по крайней мере первой и последней электропроводных перемычек якоря и контактирующие с ними поверхности скольжения рельсов первой и последней пары имеют такие конфигурации, при которых осуществляется прижатие перемычек к рельсам под действием силы суммарного магнитного поля собственных токов всех перемычек якоря. В общем случае контактная поверхность скольжения имеет развитую цилиндрическую форму, то есть является поверхностью, образованной при перемещении прямой линии в пространстве параллельно самой себе, причем эта поверхность должна иметь участки контактирующих поверхностей скольжения у рельсов, обращенные наружу канала, и сопрягаемые с ними участки контактирующих поверхностей перемычек якоря, обращенные вовнутрь канала ускорителя.

[8]

В другом, более технологичном, варианте контактирующие поверхности скольжения перемычек якоря и примыкающие к ним контактирующие поверхности скольжения рельсов расположены наклонно под острым углом к плоскости, проходящей через продольные оси соответствующих соединительных перемычек пар рельсов, причем участки контактирующих поверхностей скольжения рельсов обращены наружу, а контактирующие поверхности перемычек якоря обращены вовнутрь канала ускорителя.

[9]

В третьем варианте исполнения предложенного устройства контактирующие поверхности скольжения перемычек якоря и примыкающие к ним контактирующие поверхности скольжения рельсов расположены в плоскости, параллельной плоскости продольного сечения пары рельс.

[10]

В четвертом варианте исполнения ускорителя, имеющем нечетное число пар рельсов и, соответственно, токопроводных перемычек якоря, средняя пара рельсов и средняя токопроводная перемычка якоря, лежащие в плоскости симметрии канала, имеют контактирующие поверхности скольжения, расположенные наклонно под острым углом к плоскости продольного сечения канала, причем эти контактирующие поверхности скольжения рельсов обращены наружу от упомянутой плоскости сечения, а контактирующие поверхности перемычки якоря обращены вовнутрь (к упомянутой плоскости сечения).

[11]

В пятом варианте исполнения ускорителя, имеющем нечетное число пар рельсов и, соответственно, токопроводных перемычек якоря, средняя пара рельсов и средняя токопроводная перемычка якоря имеют контактирующие поверхности скольжения, расположенные наклонно под острым углом к плоскости продольного сечения канала, причем эти контактирующие поверхности скольжения рельсов обращены вовнутрь к упомянутой плоскости сечения, а контактирующие поверхности перемычки якоря обращены наружу (от упомянутой плоскости сечения).

[12]

Сущность предложенного изобретения поясняется прилагаемыми чертежами. На фиг. 1 показан чертеж поперечного сечения канала рельсотронного ускорителя с цилиндрическими контактными поверхностями скольжения токопроводных перемычек и рельсов. На фиг.2 показан чертеж поперечного сечения канала рельсотронного ускорителя варианта исполнения с наклонной контактной поверхностью рельсов и перемычек к плоскости продольного сечения пары рельсов. На фиг.3 показан чертеж поперечного сечения канала рельсотронного ускорителя варианта исполнения, в котором контактные поверхности параллельны плоскости продольного сечения пары рельсов. На фиг.4 и фиг.5 показаны чертежи исполнения средней пары рельсов и средней токопроводной перемычки.

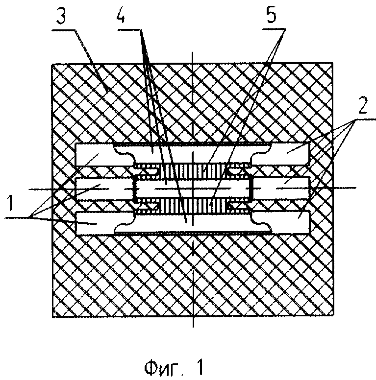
[13]

Рельсотронный ускоритель фиг.1 содержит три пары параллельных рельсов 1 и 2, установленных в электроизоляционном корпусе 3. Якорь рельсотронного ускорителя состоит из трех токопроводных перемычек 4, установленных на изоляторе якоря 5. Контактирующие поверхности скольжения первой и третьей (последней) перемычек якоря и, соответственно, первой и третьей (последней) пары рельсов имеют цилиндрическую поверхность с участками (выделенные утолщенными линиями), на которых под воздействием силы F магнитного поля собственного тока перемычек 4 обеспечено прижатие их к рельсам. При этом контактирующая поверхность скольжения первой (на фиг.1 верхней) пары рельсов обращена наружу канала ускорителя (вверх), а контактирующая поверхность скольжения первой (на фиг.1 верхней) токопроводной перемычки обращена вовнутрь канала ускорителя. Контактирующая поверхность скольжения последней (на фиг.1 нижней) пары рельсов обращена наружу канала ускорителя (вниз), а контактирующая поверхность скольжения последней (на фиг.1 нижней) токопроводной перемычки обращена вовнутрь (вверх) канала ускорителя.

[14]

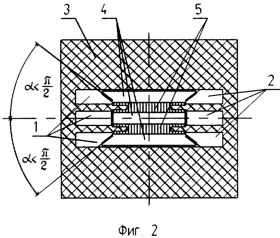
Рельсотронный ускоритель фиг.2 содержит три пары параллельных рельсов 1 и 2, установленных в электроизоляционном корпусе 3. Якорь рельсотронного ускорителя состоит из трех токопроводных перемычек 4, установленных на изоляторе якоря 5. Контактирующие поверхности скольжения первой и третьей (последней) перемычек якоря и, соответственно, первой и третьей (последней) пары рельсов имеют плоские участки, расположенные под острым углом (α< π/2) к плоскости соответствующей пары рельсов. При этом контактирующая поверхность скольжения первой (на фиг. 2 верхней) пары рельсов обращена наружу канала ускорителя (вверх), а контактирующая поверхность скольжения первой (на фиг.2 верхней) токопроводной перемычки обращена вовнутрь канала ускорителя. Контактирующая поверхность скольжения последней (на фиг.2 нижней) пары рельсов обращена наружу канала ускорителя (вниз), а контактирующая поверхность скольжения последней (на фиг.2 нижней) токопроводной перемычки обращена вовнутрь (вверх) канала ускорителя.

[15]

Дополнительно, для пояснения принципа действия, показаны эпюры сжимающих сил F собственного магнитного поля тока перемычек.

[16]

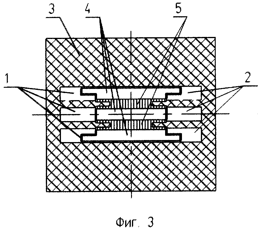
Рельсотронный ускоритель фиг.3 содержит три пары параллельных рельсов 1 и 2, установленных в электроизоляционном корпусе 3. Якорь рельсотронного ускорителя состоит из трех токопроводных перемычек 4, установленных на изоляторе якоря 5. Участки контактирующих поверхностей скольжения первой и третьей (последней) перемычек якоря и, соответственно, первой и третьей (последней) пары рельсов расположены в плоскости, параллельной плоскости пар рельсов (α = 0). Контактирующая поверхность скольжения первой (на чертеже верхней) пары рельсов обращена наружу канала ускорителя (вверх), а контактирующая поверхность скольжения первой (на чертеже верхней) токопроводной перемычки обращена вовнутрь (вниз) канала ускорителя. Контактирующая поверхность скольжения последней (на чертеже нижней) пары рельсов обращена наружу канала ускорителя (вниз), а контактирующая поверхность скольжения последней (на чертеже нижней) токопроводвой перемычки обращена вовнутрь канала ускорителя (вверх).

[17]

Дополнительно, для пояснения принципа действия, показаны эпюры сжимающих сил F собственного магнитного поля тока перемычек.

[18]

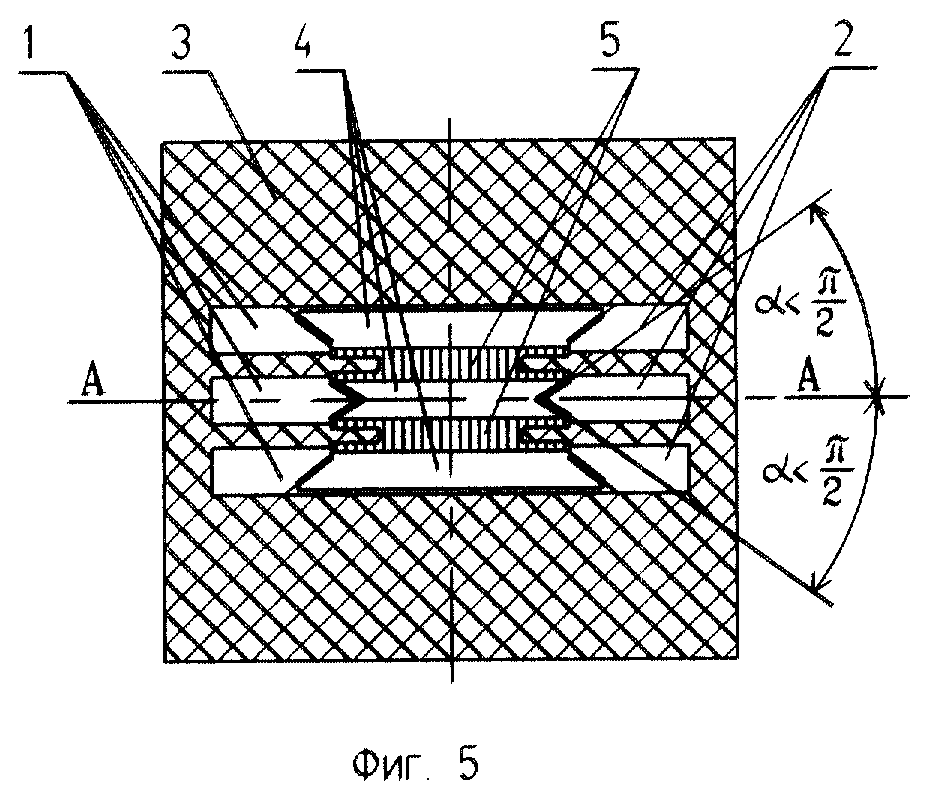
Рельсотронный ускоритель фиг.4 содержит три пары параллельных рельсов 1 и 2, установленных в электроизоляционном корпусе 3. Якорь рельсотронного ускорителя состоит из трех токопроводных перемычек 4, установленных на изоляторе якоря 5. Контактирующие поверхности скольжения первой и третьей (последней) перемычек якоря и, соответственно, первой и третьей (последней) пары рельсов аналогичны поверхностям скольжения, показанным на фиг.1. Средняя пара рельсов 1 и 2 и средняя токопроводная перемычка якоря 4, лежащие в плоскости симметрии канала А-А, имеют участки контактирующих поверхностей скольжения, расположенные наклонно (наклоненные) под острым углом к указанной плоскости симметрии, причем эти участки контактирующих поверхностей скольжения рельсов обращены наружу (от упомянутой плоскости симметрии), а контактирующие поверхности перемычек якоря обращены вовнутрь (к упомянутой плоскости симметрии).

[19]

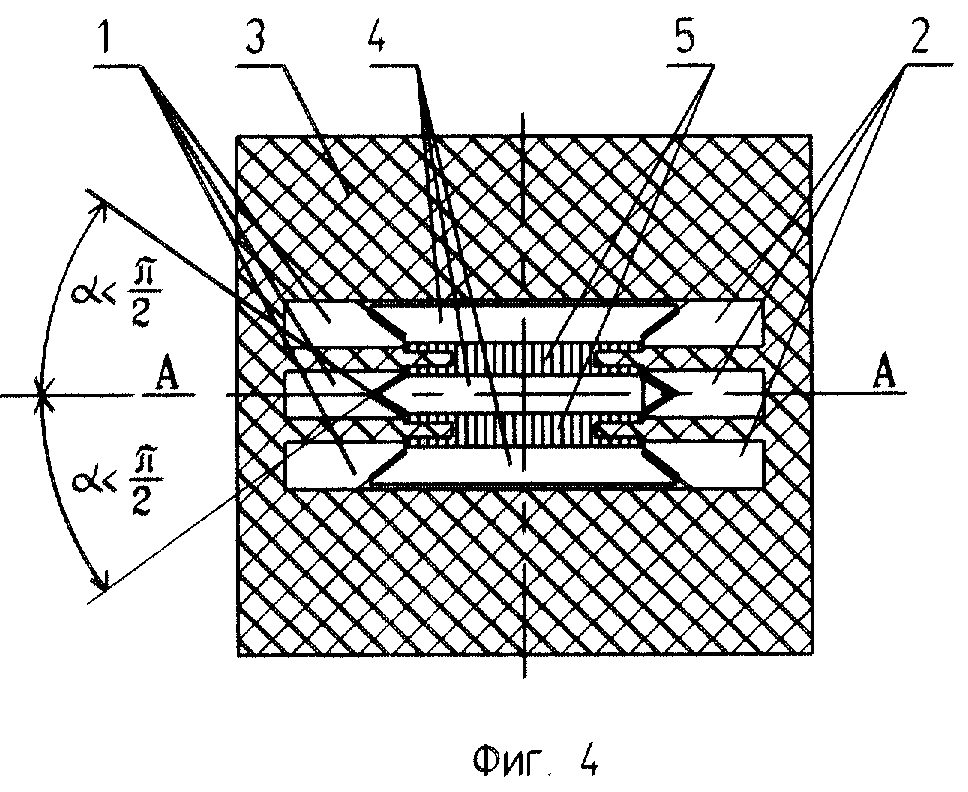
Рельсотронный ускоритель фиг.5 содержит три пары параллельных рельсов 1 и 2, установленных в электроизоляционном корпусе 3. Якорь рельсотронного ускорителя состоит из трех токопроводных перемычек 4, установленных на изоляторе якоря 5. Контактирующие поверхности скольжения первой и третьей (последней) перемычек якоря и, соответственно, первой и третьей (последней) пары рельсов аналогичны поверхностям скольжения, показанным на фиг.1. Средняя пара рельсов 1 и 2 и средняя токопроводная перемычка якоря 4, лежащие в плоскости симметрии канала А-А, имеют участки контактирующих поверхностей скольжения, расположенные наклонно (наклоненные) под острым углом к указанной плоскости симметрии, причем эти участки контактирующих поверхностей скольжения рельсов обращены вовнутрь (к упомянутой плоскости симметрии), а контактирующие поверхности перемычек якоря обращены наружу (от упомянутой плоскости симметрии).

[20]

Работа рельсотронного ускорителя, показанного на фиг.1, фиг.2 и фиг.3, осуществляется следующим образом. При протекании электрического тока по электропроводным перемычкам якоря 4 в одном направлении магнитное поле этого тока вызывает возникновение сил F, сжимающих электропроводные перемычки. Благодаря тому, что имеются участки контактных поверхностей скольжения перемычек якоря 4, обращенные вовнутрь канала, а сопрягаемые с ними участки контактных поверхностей рельсов, обращенные наружу канала ускорителя, основную часть силы давления воспринимает контактная поверхность рельсов. В результате чего, с одной стороны, улучшается электрический контакт между поверхностями скольжения, а с другой стороны, это снижает деформацию электропроводных перемычек якоря и, следовательно, снижает давление их на межрельсовый изолятор, что снижает его износ и повышает надежность ускорителя. Улучшенный электрический контакт между электропроводными перемычками якоря и рельсами благодаря прижиму силой F, а также увеличение площади скользящего контакта снижает возможность возникновения электрической дуги, а следовательно, уменьшает эрозию поверхностей скользящего контакта и, в конечном счете, также повышает надежность рельсотронного ускорителя. Прижатие к рельсам и обеспечение электрического контакта между средней парой рельсов и средней токопроводной перемычкой якоря в данном варианте осуществляется известными техническими решениями, например использованием средней токопроводиой перемычки U-образной формы.

[21]

Рельсотронный ускоритель, представленный на фиг.4 и фиг.5, работает аналогично устройствам фиг. 1 и фиг.2, фиг.3. Кроме того, развитые контактные поверхности скольжения между средней токопроводной перемычкой 4 якоря и средних рельсов 1 и 2 благодаря большей поверхности электрического контакта, снижают вероятность возникновения электрической дуги, а также стабилизируют положение якоря, предотвращая его смещение в направлении, перпендикулярном плоскости рельсов при движении якоря вдоль канала ускорителя.

[22]

Данное техническое решение позволяет повысить надежность рельсотронного ускорителя. Благодаря использованию силы сжатия токопроводных перемычек якоря в направлении, перпендикулярном плоскости пар рельсов, возникающей в результате воздействия на них магнитного поля собственного тока, улучшается электрический контакт между поверхностями скольжения перемычек якоря и рельсов. Этому же способствует увеличение плошали поверхностного контакта. Снижается износ междурельсовой изоляции благодаря снижению давления на нее перемычками якоря. Стабилизируется положение якоря в направлении, перпендикулярном плоскости пар рельсов. Упрощается конструкция электропроводных перемычек якоря благодаря тому, что можно отказаться от использования перемычек U-образной формы. Это в свою очередь за счет уменьшения веса токопроводных перемычек позволяет увеличить полезный вес якоря.

[23]

Литература
1. James G. Moldenhauer and Gene E. Hauze, IEEE Transactions on Magnetics vol. MAG-20, No 2, January, 1984, p. 283.

[24]

2. Полтанов А.Е., Кондратенко А.К., Павлов И.П, Рындин В.Н., Рельсотронный ускоритель. Заявка на изобретение РФ 98123735/06 (025355), от 22.12.98, по которой получено решение о выдаче патента, - прототип.

Как компенсировать расходы
на инновационную разработку
Похожие патенты