патент
№ RU 2686218
МПК G01N1/10

УСТРОЙСТВО ДЛЯ АВТОМАТИЧЕСКОГО ОТБОРА ПРОБ ИЗ ЖЕЛОБОВ И КАНАЛОВ В ПОТОКЕ АБРАЗИВНЫХ ПУЛЬП

Авторы:
Топчаев Александр Владимирович
Номер заявки
2018128070
Дата подачи заявки
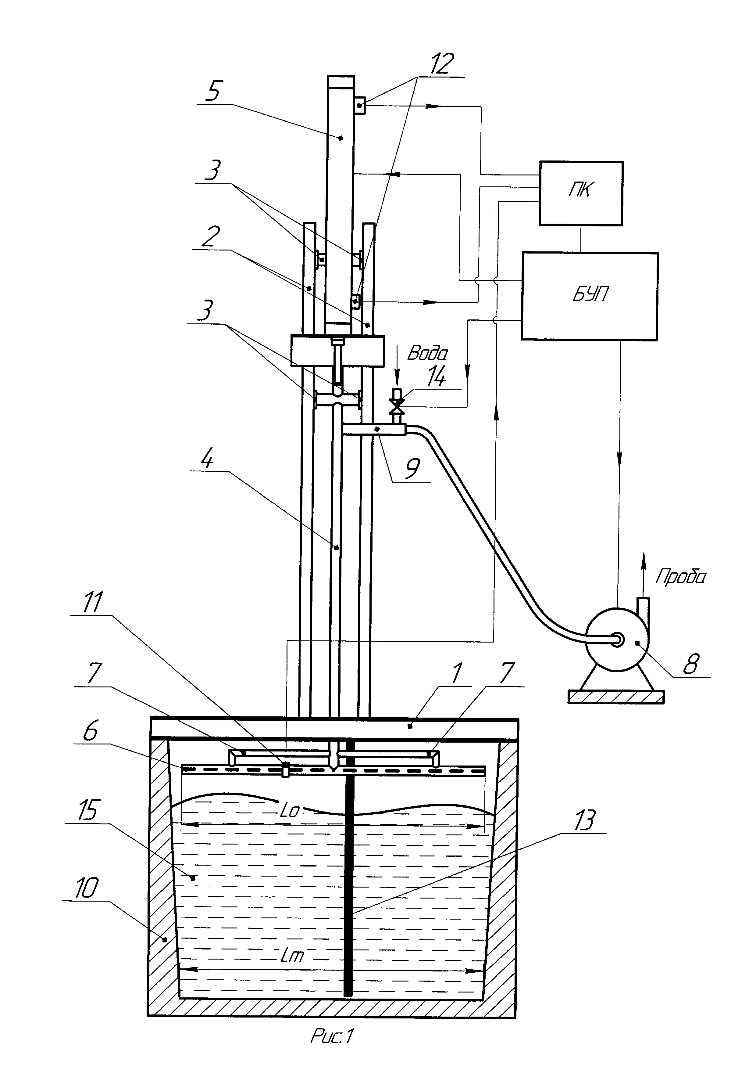
31.07.2018
Опубликовано
24.04.2019
Страна
RU
Как управлять
интеллектуальной собственностью
Чертежи 
1
Реферат

Изобретение относится к технике отбора проб жидкотекучих продуктов горнообогатительных производств, отбора проб хвостовых абразивных промпродуктов обогатительных фабрик. Устройство для автоматического отбора проб из потока жидкотекучих абразивных пульп и промпродуктов, протекающих в желобах, каналах, содержащее раму с закрепленными на ней направляющими стойками, пневмопривод линейного перемещения, соединенный с полой подвижной пробоотборной штангой, на верхнем конце которого имеется штуцер отбора пробы, содержащий также насос откачки проб и программируемый контроллер (ПК) с блоком управления приводами (БУП), отличающееся тем, что к нижнему концу полой пробоотборной штанги перпендикулярно оси штанги и перпендикулярно потоку пульпы подсоединена жестко путем трубчатых вводов пробоотборная труба с пробоотборными щелями, с наглухо закрытыми концами и закрепленным на ней датчиком контроля уровня пульпы и местонахождения пробоотборной трубы, причем число вводов в пробоотборную трубу, их расположение и размеры щелей по ее длине выбирают из условий обеспечения равномерного отбора пробы по всему сечению потока при его пересечении пробоотборной трубой путем расчета из условий размеров канала, пределов изменения объема потока пульпы и размера наиболее крупных частиц в пульпе, при этом минимальная ширина щели должна быть b>3d, где b - ширина щели; d - диаметр наиболее крупных частиц в пульпе, длина пробоотборной трубы выбирается из условия Lo=0,90 Lm, где Lo - длина пробоотборной трубы; Lm - ширина наиболее узкой части желоба (канала), по которому течет пульпа; устройство содержит управляющий программируемый блок, оснащенный программами работы пробоотборника, к входу которого подключены сигналы датчика контроля уровня пульпы и местоположения в ней пробоотборной трубы и сигналы концевых выключателей пневмопривода, а к выходу подсоединен блок управления (БУП) насосом, пневмоприводом и клапаном подачи промывной воды. Технический результат - обеспечение возможности реализации автоматического отбора представительной пробы пульпы любого заданного объема. 1 з.п. ф-лы, 1 ил.

Формула изобретения

1. Устройство для автоматического отбора проб из потока жидкотекучих абразивных пульп и промпродуктов, протекающих в желобах, каналах, содержащее раму с закрепленными на ней направляющими стойками, пневмопривод линейного перемещения, соединенный с полой подвижной пробоотборной штангой, на верхнем конце которого имеется штуцер отбора пробы, содержащий также насос откачки проб и программируемый контроллер (ПК) с блоком управления приводами (БУП), отличающееся тем, что к нижнему концу полой пробоотборной штанги перпендикулярно оси штанги и перпендикулярно потоку пульпы подсоединена жестко путем трубчатых вводов пробоотборная труба с пробоотборными щелями, с наглухо закрытыми концами и закрепленным на ней датчиком контроля уровня пульпы и местонахождения пробоотборной трубы, причем число вводов в пробоотборную трубу, их расположение и размеры щелей по ее длине выбирают из условий обеспечения равномерного отбора пробы по всему сечению потока при его пересечении пробоотборной трубой путем расчета из условий размеров канала, пределов изменения объема потока пульпы и размера наиболее крупных частиц в пульпе, при этом минимальная ширина щели должна быть b>3d, где b - ширина щели; d - диаметр наиболее крупных частиц в пульпе, длина пробоотборной трубы выбирается из условия Lo=0,90 Lm, где Lo - длина пробоотборной трубы; Lm - ширина наиболее узкой части желоба (канала), по которому течет пульпа;

устройство содержит управляющий программируемый блок, оснащенный программами работы пробоотборника, к входу которого подключены сигналы датчика контроля уровня пульпы и местоположения в ней пробоотборной трубы и сигналы концевых выключателей пневмопривода, а к выходу подсоединен блок управления (БУП) насосом, пневмоприводом и клапаном подачи промывной воды.

2. Устройство по п. 1, отличающееся тем, что для обеспечения работоспособности установки и недопущения деформации пробоотборного штока от действия напора потока пульпы при большой его глубине и скорости на раме со стороны, противоположной потоку пульпы, жестко закреплено вертикальное ребро жесткости, по которому скользит пробоотборная труба при пересечении ею потока пульпы.

Описание

[1]

Изобретение относится к технике отбора проб жидкотекучих продуктов горнообогатительных производств, отбора проб хвостовых абразивных промпродуктов обогатительных фабрик и может быть использовано для отбора жидких проб в других производствах из открытых желобов и каналов при часто меняющихся уровнях потока.

[2]

Известно устройство для отбора проб из трубопровода (авторское свидетельство SU №1723491 А1, Б.И. №12, 1992), содержащее полый пробоотборный элемент с пробоотсека-ющей щелью и крышкой, соединенный с пробоотводящим каналом и пневмопривод, при этом пробоотсекающая щель расположена перпендикулярно оси пробоотборного элемента и ее ширина составляет 0,25-0,75 диаметра трубопровода. Указанное устройство имеет существенные недостатки: сложность конструкции, низкая надежность работы и недостаточная представительность отбираемых проб. Так, при движении крышки вверх и открытии щели пульпа поступает в кольцевую полость расположения пневмопривода, создается возможность зарастания твердым осадком пульпы этой полости с последующим неконтролируемым обрушением твердого в отводимую пробу, что может приводить к искажению представительности пробы. Циклическое перемещение пробоотборного элемента совместно с пневмоприводом и всеми штуцерами подвода воздуха, промывной воды и выхода пробы отрицательно сказывается на надежности конструкции. При входе пробоотсекающей щели в контролируемый поток она может забиваться имеющимися в пульпе посторонними включениями: тряпки, щепа, пластик. В этом случае при обратном ходе пневмопривода пробоотсекающая щель не сможет плотно перекрыть поток отбираемой пульпы, и она будет просачиваться в пробоотборное устройство. Очистка щели и пробоотборного элемента не конструкцией устройства не предусмотрена. Кроме того, большой диаметр пробоотборного элемента перекрывает поток пульпы до 0,75 диаметра трубы, нарушая на период отбора пробы технологический процесс протекания продукта и может привести к гидроудару.

[3]

Известно устройство для автоматического отбора проб в потоке жидкотекучих вы-сокообразивных промпродуктов (Заявка №2017128240/05 от 07.08.2017 г.), содержащее подвижную пробозаборную трубку с отверстием на ее нижнем конце, с возможностью перемещения пробозаборной трубки перпендикулярно направлению потока. Верхняя часть подвижной трубки соединена с автоматически управляемым, с помощью программируемого контроллера и блока управления, механизмом возвратно-поступательного перемещения пневмоприводом и насосом откачки пробы из пробозаборной трубки. Указанное устройство обладает недостатком при отборе проб в больших по ширине потоках типа желобов, каналов в связи с тем, что проба отбирается щелью трубки, размер которой в десятки раз меньше ширины потока и щель не пересекает значимую по ширине часть потока, отбор пробы из открытых широких каналов и желобов не обеспечивает представительность пробы и не соответствует требованиям ГОСТ. Кроме этого такие потоки подвержены частому изменению уровня и плотности пульпы (хвосты обогатительных фабрик). Указанное устройство не может обеспечить в таких условиях отбор заданного объема пробы для анализа. Указанное устройство устойчиво работает в абразивных пульпах протекающих в закрытых трубопроводах или узких каналах, за счет периодического нахождения в пульпе, имеет насос для откачки проб. То есть отбор пробы не зависит от напора пульпы при ее самотечном протекании. Отбор осуществляется по заданной программе автоматически. Это устройство может быть принято за прототип.

[4]

Целью предлагаемого изобретения является создание устройства обеспечивающего автоматический отбор представительных проб пульпы, соответствующих требованиям ГОСТ, из больших потоков жидкотекучих абразивных пульп, протекающих в широких желобах и каналах, а также гарантирующего отбор твердого для анализа, массой не менее заданной величины по минимальной плотности потока, при соблюдении требований ГОСТ.

[5]

Эта цель достигается тем, что устройство состоит из рамы, на которой перпендикулярно ей закреплены жестко две профильные направляющие стойки, по длине превышающие глубину потока пульпы. Между стойками на роликовых подвижных опорах закреплена пробоотборная полая штанга одним, верхним концом соединенная с пневматическим приводом для ее линейного перемещения. К нижнему концу полой пробоотборной штанги, перпендикулярно ей, подсоединена, через отдельные трубчатые вводы пробоотборная труба с наглухо закрытыми концами и рассредоточенными по всей ее длине пробоотборными щелями для отбора проб пульпы. При этом минимальная ширина щели должна быть не менее величины 3-х диаметров наиболее крупных частиц продукта в пульпе, а длина пробоотборной трубы выбирается из условий Lo=0,9 Lm; где: Lo - длина пробоотборной трубы, Lm- наименьшая ширина потока пульпы по глубине отбора пробы. Распределение по длине пробоотборной трубы отводов пульпозабора и размеры отборных щелей с их расположением выбирают из условий обеспечения равномерного отбора пробы по всему сечению потока при его пересечении пробоотборной трубой, чем обеспечивается высокая точность представительности пробы.

[6]

В верхней части полой пробоотборной штанги, выведен штуцер отбора пробы с двумя выходами, один из которых соединен с автоматически управляемым клапаном подачи промывной воды, а другой, соединен гибким шлангом с насосом отбора пробы. На пробоотборной трубе закреплен датчик контроля ее положения относительно уровня пульпы и контроля нахождения пробоотборной трубы в потоке пульпы. Устройство содержит также программируемый контроллер с программой обеспечения расчетных параметров отбора пробы. К входу контроллера подключены сигналы от датчика контроля уровня пульпы и нахождения пробоотборной трубы в потоке пульпы, а также сигналы от концевых датчиков пневмопривода. Выходы программируемого контроллера подключены к блоку управления, осуществляющему в соответствии с устанавливаемой программой, перемещения полой пробоотборной штанги с пробоотборной трубой, включения насоса откачки пробы и клапана промывки водой. В целях повышения надежности работы устройства, недопущения деформации пробоотборного штока от динамического напора потока пульпы при большой его глубине и скорости на раме со стороны противоположной потоку пульпы жестко, вертикально к ней закреплено на всю глубину потока пульпы ребро жесткости, по которому скользит пробоотборная труба при пересечении потока пульпы.

[7]

Техническим результатом данного изобретения является возможность реализации автоматического отбора представительной пробы пульпы любого заданного объема, при полном соблюдении требований правил отбора проб из каналов и желобов, путем обязательного пересечения всей площади потока пробоотборной трубой.

[8]

Введение в устройство датчика контроля уровня пульпы и нахождения пробоотборной трубы в желобе, а также наличие программируемого контроллера и управляющего блока обеспечивают автоматический представительный отбор проб пульпы с автоматической промывкой устройства отбора проб независимо от изменений уровня пульпы в желобе или канале.

[9]

На Рис. 1, схематично представлено устройство для автоматического отбора проб из желобов и каналов в потоке абразивных пульп.

[10]

1 - рама

[11]

2 -профильные направляющие стойки

[12]

3.-роликовые опоры

[13]

4 - полая пробоотборная штанга

[14]

5 -пневматический привод

[15]

6 -пробоотборная труба

[16]

7 -трубчатые вводы

[17]

8- насос

[18]

9- штуцер отбора пробы

[19]

10 -желоб с пульпой

[20]

11 датчик контроля уровня пульпы и нахождения пробоотборной трубы в пульпе.

[21]

12 концевые выключатели пневмопривода;

[22]

13 ребро жесткости

[23]

14. клапан подачи промывной воды

[24]

15. пульпа

[25]

ПК- программируемый контроллер

[26]

БУП- блок управления.

[27]

Устройство для отбора проб работает следующим образом.

[28]

В начальном положении рама (1) закреплена над потоком пульпы, пробоотборная труба (6) также расположена над потоком пульпы, перпендикулярно к направлению потока пульпы. В соответствии с установленной в (ПК) программой, определяющей периодичность и расчетный требуемый объем отбора точечной пробы из желоба, в заданный момент по сигналу от БУП включается пневмопривод (5), который перемещает вниз, с установленной скоростью, полую пробоотборную штангу(4) с закрепленной на ее конце, перпендикулярно штанге, пробоотборной трубой (6).

[29]

При достижении уровня пульпы датчик контроля уровня пульпы и нахождения пробоотборной трубы в пульпе (11) подает сигнал на программируемый контроллер (ПК), который через блок управления (БУП) включает насос (8). Через щели отбора пробы в пробоотборную трубу равномерно по всему сечению всасывается пульпа, которая через пробоотборную штангу и шланг, насосом направляется к месту ее сбора. По достижению нижней точки отбора пробы, установленной положением концевого выключателя пневмопривода (12), согласно программе, привод переключает направление движения полой пробоотборной штанги с пробоотборной трубой вверх. При достижении верхнего уровня пульпы в желобе, датчик (11) дает команду на повторное опускание полой пробоотборной штанги и циклы подъема - опускания пробоотборной трубы, продолжают повторяться в течение времени, заданном (ПК). По истечении времени отбора пробы (БУП) дает команду на вывод пробоотборной трубы из пульпы и после срабатывания концевого выключателя (12) включает клапан подачи промывной воды (14) на заданный промежуток времени для промывки устройства пробо-отбора. По завершению промывки, насос (8) отключается, цикл отбора пробы завершен. Цикл повторяется в соответствии с заданием программы (ПК). В примере рассмотрена работа устройства, реализующая одну из возможных программ отбора проб. Приведенное устройство по своей конструкции и оснащению позволяет формировать различные программы отбора проб, соответствующих требованиям обеспечения их представительности по ГОСТ.

[30]

Предложенное устройство имеет изобретательский шаг, так как разработано новое устройство, в котором применена пробоотборная труба с распределенными по ширине потока пульпы пробоотборными щелями и для обеспечения равномерности отбора пробы пульпы пробоотборная труба соединена с полым пробоотборным штоком и насосом через несколько трубчатых вводов, число которых, их расположение и размеры щелей в пробоотборной трубе определяются расчетно, исходя из характеристик пульпы и размеров желоба. В устройство введен датчик контроля уровня пульпы и контроля нахождения в пульпе пробоотборной трубы, что позволило с помощью (ПК) и (БУП) отбирать пробы с высокой точностью, в том числе по содержанию твердого. Для обеспечения работоспособности установки и недопущения деформации пробоотборного штока от действия потока пульпы при большой его глубине и скорости, на раме, со стороны противоположной потоку пульпы жестко закреплено вертикальное ребро жесткости, по которому скользит пробоотборная труба при пересечении ею потока пульпы.

[31]

Устройство проверено в промышленных условиях, подтвердивших указанную полезность и эффективность. Устройство является новым, технически реализуемым, и соответствует критерию изобретения.

[32]

Литература

[33]

1. Авторское свидетельство SU №1723491 А1, Б.И. №12, 1992 г.

[34]

2. Заявка №2017128240/05 от 07.08.2017 г. «Устройство для автоматического отбора проб в потоке жидкотекучих высокоабразивных промпродуктов».

Как компенсировать расходы
на инновационную разработку
Похожие патенты