патент
№ RU 2601886
МПК E21B34/10

ПЕРЕПУСКНОЙ КЛАПАН ДЛЯ СКВАЖИННОГО ГИДРОДОМКРАТА

Авторы:
Ратанов Константин Алексеевич Багнюк Сергей Леонидович Абдрахманов Габдрашит Султанович
Все (5)
Номер заявки
2015149369/03
Дата подачи заявки
17.11.2015
Опубликовано
10.11.2016
Страна
RU
Как управлять
интеллектуальной собственностью
Чертежи 
1
Реферат

Изобретение относится к бурению и ремонту нефтяных и газовых скважин, в частности предназначено для изоляции зон осложнения бурения скважин профильными перекрывателями. Перепускной клапан для скважинного гидродомкрата, расположенный выше расширяющей головки и ниже гидродомкрата, содержит полую корпусную втулку с цилиндрическим сужением и полый шток, вставленный телескопически с возможностью ограниченного перемещения в корпусную втулку и оснащенный снизу ниппелем с наружным уплотнением. Причем ниппель выполнен с возможностью герметичного перекрытия перепускного отверстия при перемещении штока вниз относительно корпусной втулки, а корпусная втулка и шток соединены соответственно с расширяющей головкой и гидравлическим домкратом. Причем ниппель вставлен герметично за счет наружного уплотнения в полый шток с возможностью ограниченного перемещения вверх и поджат пружиной вниз относительно штока, а перепускное отверстие выполнено снизу ниппеля и снабжено седлом клапана. При этом внутри цилиндрического сужения установлена вставка с клапаном сверху, вокруг которого выполнены перепускные каналы. Причем клапан выполнен с возможностью герметичного взаимодействия с седлом и перекрытием перепускного отверстия при перемещении штока вниз относительно корпусной втулки, а ниппель в районе установки пружины оснащен радиальными технологическими отверстиями. Технический результат заключается в повышении надежности клапана. 1 ил.

Формула изобретения

Перепускной клапан для скважинного гидродомкрата, расположенный выше расширяющей головки и ниже гидродомкрата, содержащий полую корпусную втулку с цилиндрическим сужением и полый шток, вставленный телескопически с возможностью ограниченного перемещения в корпусную втулку и оснащенный снизу ниппелем с наружным уплотнением, причем ниппель выполнен с возможностью герметичного перекрытия перепускного отверстия при перемещении штока вниз относительно корпусной втулки, а корпусная втулка и шток соединены соответственно с расширяющей головкой и гидравлическим домкратом, отличающийся тем, что ниппель вставлен герметично за счет наружного уплотнения в полый шток с возможностью ограниченного перемещения вверх и поджат пружиной вниз относительно штока, а перепускное отверстие выполнено снизу ниппеля и снабжено седлом клапана, при этом внутри цилиндрического сужения установлена вставка с клапаном сверху, вокруг которого выполнены перепускные каналы, причем клапан выполнен с возможностью герметичного взаимодействия с седлом и перекрытием перепускного отверстия при перемещении штока вниз относительно корпусной втулки, а ниппель в районе установки пружины оснащен радиальными технологическими отверстиями.

Описание

[1]

Изобретение относится к бурению и ремонту нефтяных и газовых скважин, в частности предназначено для изоляции зон осложнения бурения скважин профильными перекрывателями.

[2]

Известно устройство изоляции зон осложнения бурения скважины профильным перекрывателем с цилиндрическими участками (патент RU №2374424, МПК E21B 29/10, опубл. 27.11.2009 г., бюл. №33). Устройство включает перепускной клапан, расположенный выше расширяющей головки и ниже гидродомкрата, содержащий полую корпусную втулку с цилиндрическим сужением и полый шток, вставленный телескопически с возможностью ограниченного перемещения в корпусную втулку и оснащенный снизу ниппелем с наружными уплотнениями, герметично взаимодействующими с цилиндрическим сужением корпусной втулки, причем ниппель оснащен обратным клапаном, перекрывающим проходной канал, выше обратного клапана в ниппеле выполнены радиальные отверстия, расположенные с возможностью герметичного перекрытия кольцевым сужением при перемещении штока вниз относительно корпусной втулки, кольцевое сужение которого оснащено каналами, сообщающими внутреннюю полость корпусной втулки над кольцевым сужением с внутренней полостью под кольцевым сужением, при этом корпусная втулка и шток соединены соответственно с расширяющей головкой и гидравлическим домкратом.

[3]

Недостатками данного устройства являются:

[4]

- одновременно сопрягаемые уплотнительные элементы на разных цилиндрических диаметральных поверхностях штока и корпуса, что требует высокой точности изготовления деталей;

[5]

- быстрый износ уплотнительных элементов ниппеля внизу штока при многократном использовании (открытие и закрытие клапана происходит при каждом прохождении резьбового соединения расширяющей головкой), так как при входе и выходе из кольцевого сужения корпуса происходит их деформация, в результате чего после каждой спускоподъемной операции необходимо перебирать клапан и заменять уплотнительные элементы.

[6]

Наиболее близким по технической сущности и достигаемому результату является перепускной клапан (патент RU №2560035, МПК E21B 34/12, опубл. 20.08.2015 г., бюл. №23), содержащий полую корпусную втулку с цилиндрическим сужением и полый шток, вставленный телескопически с возможностью ограниченного перемещения в корпусную втулку и оснащенный снизу ниппелем с наружным уплотнением, герметично взаимодействующим с цилиндрическим сужением корпусной втулки, причем ниппель перекрыт снизу, выше перекрытия выполнены отверстия, расположенные с возможностью герметичного перекрытия при перемещении штока вниз относительно корпусной втулки, при этом корпусная втулка и шток соединены соответственно с расширяющей головкой и гидравлическим домкратом, причем цилиндрическое сужение корпусной втулки выполнено цельным, а ниппель перекрыт снизу глухой заглушкой, при этом отверстия, сообщающие внутреннее пространство корпусной втулки и внутреннее пространство штока, расположены выше наружного уплотнения, которое выполнено в виде эластичного стакана с наружной проточкой в виде воротниковой манжеты, концы которого зафиксированы на ниппеле соответственно нижним и верхним упорами, причем верхний упор оснащен каналами, сообщающими полость стакана с внешним пространством.

[7]

Недостатком данного клапана является быстрый износ воротниковой манжеты наружного уплотнения ниппельного конца штока из-за многократных ее деформаций при входе и выходе из цилиндрического сужения корпуса при работе клапана, что приводит к быстрой потере герметичности и необходимости срочной замены уплотнения.

[8]

Технической задачей предлагаемого изобретения является создание надежной конструкции перепускного клапана для скважинного гидродомкрата, которая позволит увеличить срок его службы и минимизировать аварийные ситуации, связанные с отказом уплотнений при работе в скважине за счет исключения упругих уплотнительных элементов из перепускной системы клапана.

[9]

Техническая задача решается перепускным клапаном, расположенным выше расширяющей головки и ниже гидродомкрата, содержащим полую корпусную втулку с цилиндрическим сужением и полый шток, вставленный телескопически с возможностью ограниченного перемещения в корпусную втулку и оснащенный снизу ниппелем с наружным уплотнением, причем ниппель выполнен с возможностью герметичного перекрытия перепускного отверстия при перемещении штока вниз относительно корпусной втулки, а корпусная втулка и шток соединены соответственно с расширяющей головкой и гидравлическим домкратом.

[10]

Новым является то, что ниппель вставлен герметично за счет наружного уплотнения в полый шток с возможностью ограниченного перемещения вверх и поджат пружиной вниз относительно штока, а перепускное отверстие выполнено снизу ниппеля и снабжено седлом клапана, при этом внутри цилиндрического сужения установлена вставка с клапаном сверху, вокруг которого выполнены перепускные каналы, причем клапан выполнен с возможностью герметичного взаимодействия с седлом и перекрытием перепускного отверстия при перемещении штока вниз относительно корпусной втулки, а ниппель в районе установки пружины оснащен радиальными технологическими отверстиями.

[11]

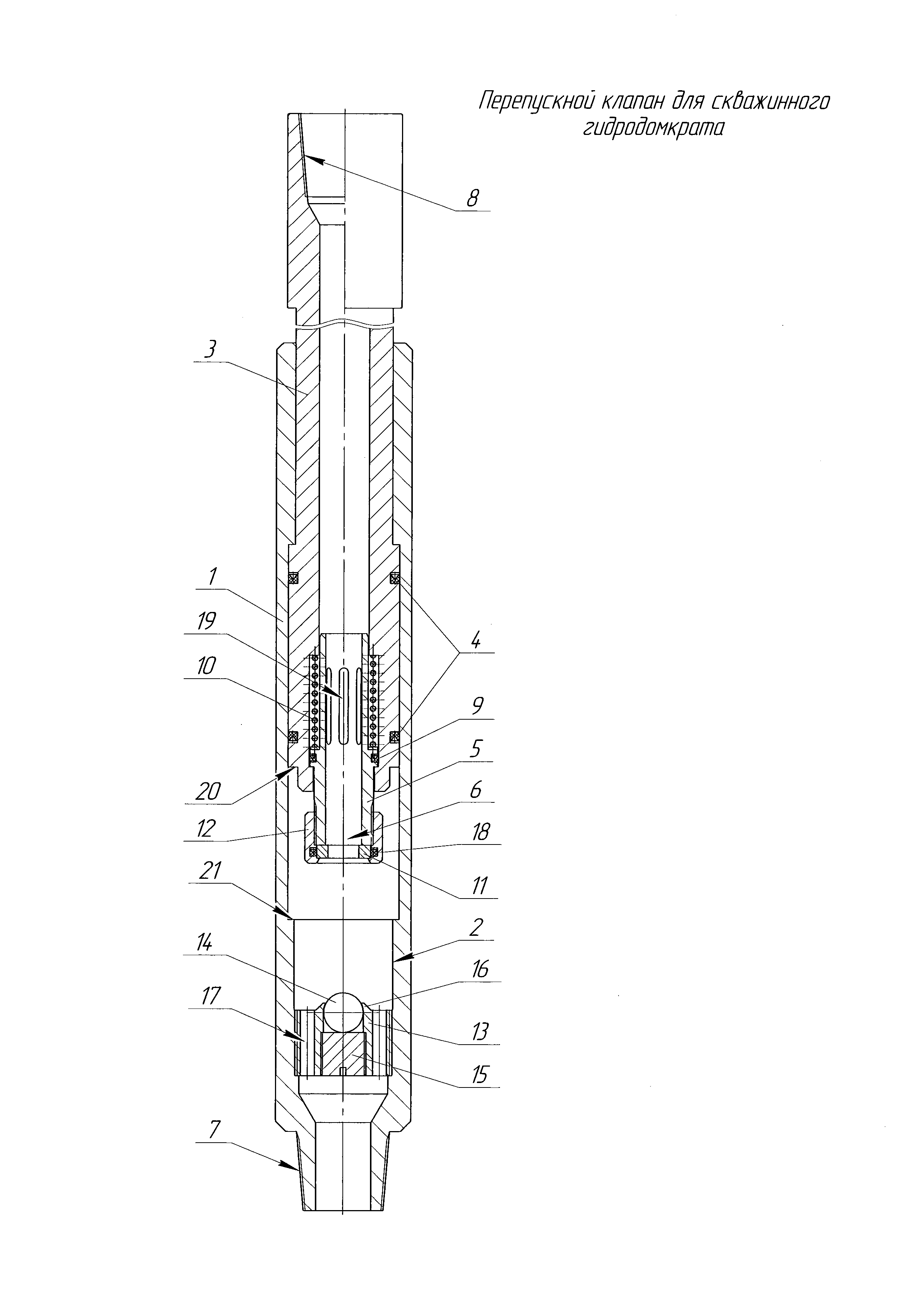
На чертеже показан перепускной клапан с осевым разрезом в транспортном положении.

[12]

Перепускной клапан (далее по тексту - клапан) включает полую корпусную втулку 1 с цилиндрическим сужением 2 снизу и полый шток 3, вставленный телескопически в корпусную втулку 1 с возможностью ограниченного перемещения. Снизу полый шток 3 имеет наружное уплотнение 4 и оснащен ниппелем 5, который выполнен с возможностью герметичного перекрытия перепускного отверстия 6 при перемещении полого штока 3 вниз относительно корпусной втулки 1. Причем корпусная втулка 1 соединена внизу с помощью резьбы 7 с расширяющей головкой (на чертеже не показана), а полый шток 3 соединен вверху резьбой 8 с гидродомкратом (на чертеже не показан).

[13]

При этом ниппель 5 герметично за счет наружного уплотнения 9 вставлен в полый шток 3 с возможностью ограниченного перемещения вверх внутри него и поджат пружиной 10 вниз относительно полого штока 3, а перепускное отверстие 6 выполнено снизу ниппеля 5 и снабжено седлом клапана 11, зафиксированным, например, с помощью прижимной гайки 12. Внутри цилиндрического сужения 2 корпусной втулки 1 установлена вставка 13 с шаровым клапаном 14, большая часть которого находится внутри вставки 13, а меньшая выступает сверху. Причем снизу шаровой клапан 14 поджат резьбовой регулировочной пробкой 15, сверху упирается в ограничительный выступ 16 вставки 13. Вокруг шарового клапана 14 во вставке 13 выполнены перепускные каналы 17.

[14]

При перемещении полого штока 3 вниз относительно корпусной втулки 1 шаровой клапан 14 герметично благодаря наружному уплотнению 18 седла клапана 11, установленному внутри гайки 12, взаимодействует с ним, перекрывая перепускное отверстие 6 ниппеля 5. Для промывки пружины 10 ниппель 5 в районе установки пружины 10 оснащен радиальными технологическими отверстиями 19.

[15]

Технологические конструктивные элементы, не влияющие на работоспособность клапана, в чертеже не указаны.

[16]

Клапан работает следующим образом.

[17]

Перед спуском клапана в скважину проверяют шаровой клапан 14, который должен свободно вращаться внутри вставки 13 корпусной втулки 1. При необходимости с помощью резьбовой регулировочной пробки 15 регулируют положение шарового клапана 14 относительно ограничительного выступа 16 вставки 13.

[18]

Далее с помощью резьбы 7 снизу корпусной втулки 1 клапан соединяют с расширяющей головкой, а вверху с помощью резьбы 8 полого штока 3 его соединяют с гидродомкратом. На колонне бурильных труб компоновку, состоящую из гидродомкрата, клапана, расширяющей головки и соединенного с ними профильного перекрывателя (на чертеже не показаны), спускают в скважину в намеченный интервал установки перекрывателя. Затем в колонне бурильных труб создают избыточное гидравлическое давление, которым расширяют профильный перекрыватель до плотного прижатия к стенкам скважины. При этом наружное уплотнение 4 полого штока 3 предотвращает несанкционированные перетоки жидкости из внутренних полостей клапана в скважину и наоборот.

[19]

После установки перекрывателя отсоединяют от него расширяющую головку вместе с клапаном и гидродомкратом и, прокачивая через всю компоновку промывочную жидкость, начинают перемещать ее вниз до упора расширяющей головки в недорасширенный участок перекрывателя или резьбовое соединение одной из секций перекрывателя. При этом корпусная втулка 1 клапана останавливается, а полый шток 3 с ниппелем 5 продолжают телескопически перемещаться вниз относительно корпусной втулки 1 до упора торца 20 полого штока 3 в торец 21 цилиндрического сужения 2 корпусной втулки 1.

[20]

Седло клапана 11 снизу ниппеля 5 при перемещении вниз полого штока 3 начинает взаимодействовать с шаровым клапаном 14 раньше, чем совместятся торцы 20 и 21 полого штока 3 и цилиндрического сужения 2 корпусной втулки 1. При этом ниппель 5, преодолевая сопротивление пружины 10, входит внутрь полого штока 3, а седло клапана 11 за счет сжатия пружины 10 плотно прижимается к шаровому клапану 14, перекрывая перепускное отверстие 6 ниппеля 5. Одновременно за счет разницы давления жидкости внутри и снаружи ниппеля 5 происходит более плотное прижатие седла клапана 11 к шаровому клапану 14.

[21]

При этом наружное уплотнение 9 ниппеля 5 и наружное уплотнение 18 (расположено внутри гайки 12) седла клапана 11 препятствуют утечкам жидкости из внутренней полости штока 3, а технологические радиальные отверстия 19 в районе установки пружины 10 не дают скважинному шламу скапливаться за уплотнением 9 ниппеля 5.

[22]

Циркуляция промывочной жидкости при этом прекращается и давление начинает воздействовать только на поршни гидродомкрата, под действием осевого усилия которого расширяющая головка раздает недорасширенные гидравлическим давлением участки перекрывателя и резьбовые соединения секций перекрывателя до плотного прижатия их к стенкам скважины. Затем давление сбрасывают и продолжают спуск компоновки до следующего сужения в перекрывателе. Под действием веса расширяющей головки, закрепленной внизу корпусной втулки 1, клапан возвращается в исходное транспортное положение и жидкость продолжает циркулировать через полый шток 3, перепускное отверстие 6 ниппеля 5 и перепускные каналы 17 вставки 13 корпусной втулки 1.

[23]

Таким образом, использование изобретения позволяет повысить надежность клапана для скважинного гидродомкрата и исключить аварийность при установке профильного перекрывателя в скважине за счет использования в конструкции клапана стандартной клапанной пары шар-седло вместо упругих уплотнительных элементов, позволяющей многократно использовать клапан без дополнительного обслуживания.

Как компенсировать расходы
на инновационную разработку
Похожие патенты