патент
№ RU 2692787
МПК A61L2/025

УЛЬТРАЗВУКОВАЯ МАШИНА ДЛЯ ПРЕДСТЕРИЛИЗАЦИОННОЙ ОЧИСТКИ МЕДИЦИНСКИХ ИЗДЕЛИЙ

Авторы:
Рыбаков Дмитрий Алексеевич
Номер заявки
2019107638
Дата подачи заявки
18.03.2019
Опубликовано
27.06.2019
Страна
RU
Как управлять
интеллектуальной собственностью
Чертежи 
3
Реферат

Изобретение относится к медицинской технике и может быть использовано для предстерилизационной очистки (ПСО) медицинских изделий, в том числе содержащих внутренние сквозные каналы и полости. Ультразвуковая машина для ПСО медицинских изделий содержит корпус с рабочей ванной (1) и крышку, на дне рабочей ванны установлены излучатели (2) ультразвукового генератора, нагревательные элементы (3) и сетчатая корзина (4). Ультразвуковая машина также содержит: коллектор (5) со штуцерами (6), присоединенный к рабочей ванне; насос циркуляции (7), выполненный с возможностью перекачивать как жидкость, так и воздух, который своим входом соединен со сливным/заливным отверстием (8) рабочей ванны, а выходом - с коллектором (5) и с портом водоотведения (9) через сливной клапан (10); входы (11, 12) для подключения к системам холодного и горячего водоснабжения, которые через запорные электромагнитные клапаны (13, 14) подключены к сливному/заливному отверстию рабочей ванны; дополнительный насос (15), который своим входом связан с портом (16) для ввода подготовленной воды, а выходом - со сливным/заливным отверстием рабочей ванны; перистальтический насос (17), входом соединенный с портом (18) для ввода моющее-дезинфицирующего средства (МДС), а выходом - с рабочей ванной через форсунку (19) для подачи МДС; датчик потока МДС (20), расположенный между перистальтическим насосом и форсункой для подачи МДС; датчик температуры в рабочей ванне и датчик температуры воздуха, поступающего в рабочую ванну. В крышке расположена система сушки, которая включает вентилятор, воздушный нагреватель калориферного типа, отверстие ввода воздуха в рабочую ванну и отверстие вывода влажного воздуха из нее, ограниченные воздуховодами. Изобретение позволяет сократить продолжительность и повысить качество предстерилизационной очистки медицинских изделий. 3 з.п. ф-лы, 3 ил.

Формула изобретения

1. Ультразвуковая машина для предстерилизационной очистки медицинских изделий, содержащая корпус с рабочей ванной, на дне которой установлены излучатели ультразвукового генератора, нагревательные элементы и сетчатая корзина, насос, который своим входом соединен со сливным отверстием рабочей ванны, а выходом через сливной клапан с портом водоотведения, дозатор для ввода моюще-дезинфицирующего средства (МДС) в рабочую ванну через форсунку для подачи МДС и крышку с системой сушки, включающей вентилятор, воздуховоды, отверстия ввода воздуха в рабочую ванну и вывода из нее,

отличающаяся тем, что

сливное отверстие рабочей ванны является и заливным, используется насос циркуляции с возможностью перекачивать как жидкость, так и воздух с выходом, соединенным с коллектором со штуцерами, который присоединен к рабочей ванне, при этом входы для подключения к системам холодного и горячего водоснабжения через запорные электромагнитные клапаны подключаются к сливному/заливному отверстию рабочей ванны, дозатор выполнен в виде перистальтического насоса, входом соединенного с портом для ввода МДС, а выходом - с форсункой для подачи МДС, система сушки включает также воздушный нагреватель калориферного типа, кроме того, введены дополнительный насос, который своим входом связан с портом для ввода подготовленной воды, а выходом - со сливным/заливным отверстием рабочей ванны, датчик потока МДС, установленный между перистальтическим насосом и форсункой для подачи МДС, датчик температуры в рабочей ванне и датчик температуры воздуха, поступающего в рабочую ванну.

2. Ультразвуковая машина для предстерилизационной очистки медицинских изделий по п. 1, отличающаяся тем, что насос циркуляции выполнен с возможностью работы в непрерывном или пульсирующем режиме.

3. Ультразвуковая машина для предстерилизационной очистки медицинских изделий по п. 1, отличающаяся тем, что датчик потока МДС выполнен в исполнении оптического датчика уровня жидкости, позволяющего контролировать наличие и отсутствие МДС в канале бесконтактным способом и обладающего малой инерционностью.

4. Ультразвуковая машина для предстерилизационной очистки медицинских изделий по п. 1, отличающаяся тем, что коллектор выполнен съемным посредством отверстия в рабочей ванне.

Описание

[1]

Изобретение относится к медицинской технике и может быть использовано для предстерилизационной очистки (ПСО) медицинских изделий, в том числе содержащих внутренние сквозные каналы и полости. Конструктивные решения заявляемой машины позволяют реализовать полный цикл ПСО, который проводят с целью удаления белковых, жировых и механических загрязнений, а также остатков лекарственных препаратов при выполнении следующих этапов, предусмотренных нормативной документацией:

[2]

- предварительная мойка (замачивание) в рабочем растворе, который может содержать моюще - дезинфицирующие средства (МДС) для совмещения замачивания и дезинфекции;

[3]

- основная мойка с возможностью воздействия рабочего раствора с МДС, ультразвуковых колебаний, гидродинамической очистки, теплового воздействия и их комбинаций;

[4]

- промывание в проточной воде для удаления загрязнений и остатков рабочего раствора;

[5]

- ополаскивание подготовленной (дистиллированной или деминерализованной) водой;

[6]

- сушка горячим воздухом.

[7]

Известно устройство для предстерилизационной очистки медицинских изделий (Патент РФ на полезную модель №140766, A61L 2/24, 2013 г.), которое содержит корпус с расположенными внутри него ультразвуковыми генераторами и нагревательными элементами для нагрева моющей жидкости, емкостью для моющей жидкости с крышкой, металлической сетчатой корзиной для размещения инструмента, выполненной с возможностью установки в емкости. Система циркуляции и дренажа моющей жидкости и набора концентрированного моющего раствора в емкость для моющей жидкости выполнена в виде двух насосов, а форсунки для обеспечения очистки внутренних полостей в медицинских инструментах смонтированы на боковой стенке емкости для моющей жидкости и оснащены гибкими шлангами для подсоединения очищаемых медицинских инструментов с внутренними полостями.

[8]

Однако в данном устройстве не реализуется полный цикл предстерилизационной очистки, включающий сушку и ополаскивание подготовленной водой, предусмотренные нормативной документацией. Точность концентрации моющего раствора не обеспечивается дополнительными средствами контроля, что влечет за собой сложную процедуру настройки и калибровки системы набора МДС.

[9]

Известно устройство для предстерилизационной очистки медицинских изделий (SI Digital РС+ 'S', информация представлена на сайте https://d1796ju5h9vwhq.cloudfront.net/wp-content/uploads/2014/10/SI-Digital-S_Tech-Sheet_07-18-r01.pdf), содержащее корпус с расположенными внутри ультразвуковым генератором, рабочей ванной с нагревательным элементом и ультразвуковыми излучателями, металлической сетчатой корзиной для размещения медицинских изделий, штуцерами для осуществления промывки (очистки) внутренних сквозных каналов и полостей медицинских изделий, гидродинамической системой подачи раствора. В данном устройстве не предусмотрена возможность сушки медицинских изделий.

[10]

Известен аппарат предстерилизационной очистки медицинских изделий (Ultrawave hygea 6427, информация представлена на сайте https://www.ultrawave.co.uk/product/hygea-6427), содержащий корпус с расположенными внутри ультразвуковым генератором, системой ирригации, рабочей ванной, металлической сетчатой корзиной со встроенными штуцерами для присоединения медицинских изделий, содержащих внутренние сквозные каналы и полости, крышкой с электромагнитным замком.

[11]

В данном устройстве слив рабочего раствора и концентрирование МДС осуществляется оператором вручную, а специализированная (принудительная) сушка внутренних сквозных каналов и полостей медицинских изделий не осуществляется.

[12]

Известна ультразвуковая машина для предстерилизационной очистки и сушки (Steelco US 300, информация представлена на сайте http://wvvw.steelcospa.com/en) сложных микрохирургических медицинских изделий, которая содержит металлический корпус с рабочей ванной, ультразвуковой генератор, систему распыления рабочего раствора и МДС, автоматический дозатор МДС, коллектор, встроенный в корзину, с набором штуцеров для присоединения медицинских изделий, содержащих внутренние сквозные каналы и полости, систему нагрева рабочего раствора, фильтры обратного осмоса и ионного обмена для водопроводной воды, систему сушки горячим воздухом. Устройство может выполнять очистку по установленным и пользовательским программам. Известное устройство включает сложную систему фильтров и очистки поступающей жидкости, что делает необходимым частое сервисное обслуживание устройства, также устройство не позволяет осуществлять сушку внутренних каналов и сквозных полостей медицинских изделий.

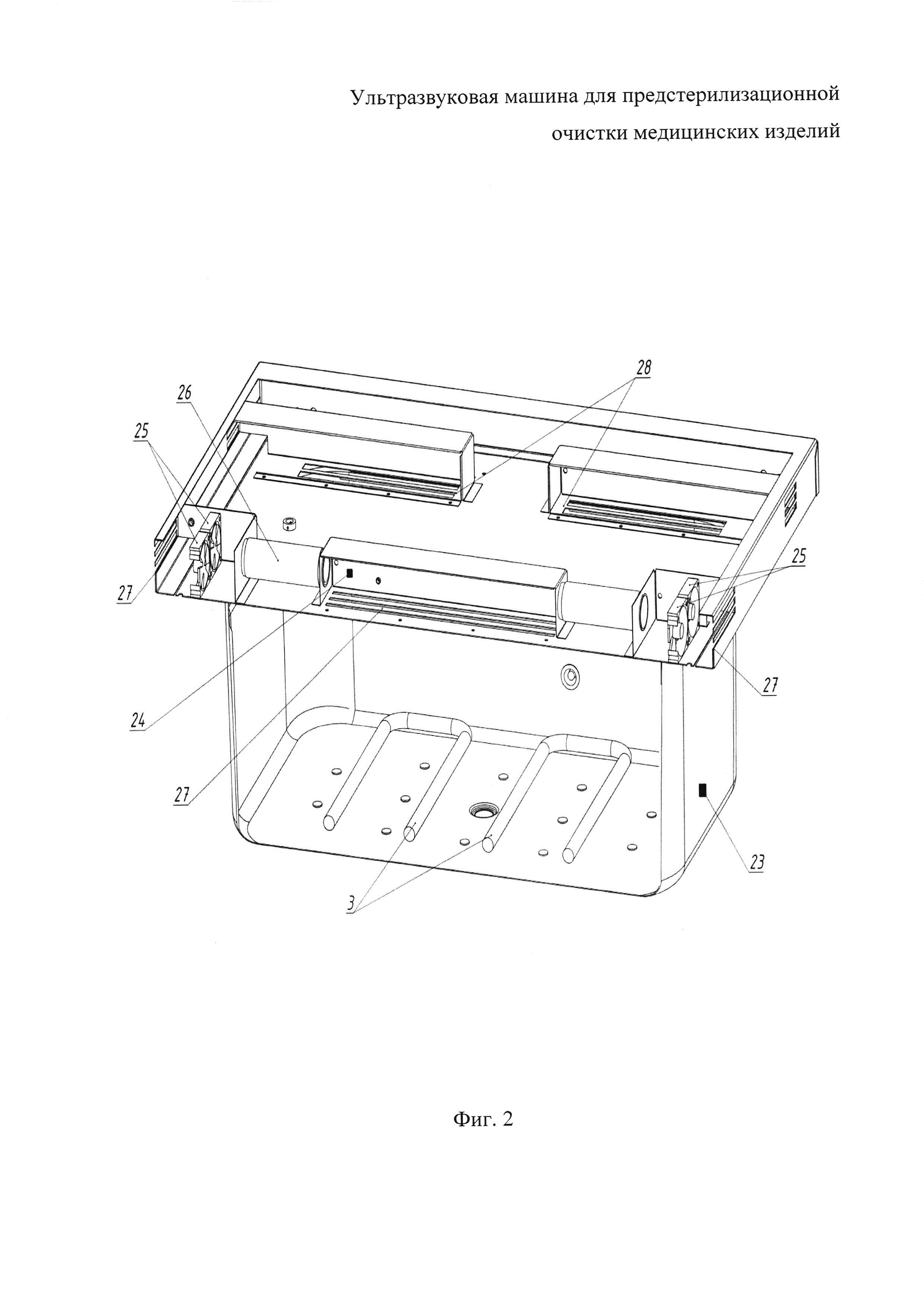
[13]

Ближайшим аналогом к заявленной машине является устройство для предстерилизационной обработки хирургических инструментов (Патент Франции №2972640; A61L 2/18, 2013, приоритетные данные 16.03.2011 IT СО2011А000008; 16.03.2011 IT СО2011А000009), содержащее корпус с крышкой и расположенными внутри ультразвуковым генератором и рабочей ванной, в которой установлен нагревательный элемент для осуществления термической дезинфекции и сушки медицинских изделий и ультразвуковые излучатели. Медицинские инструменты помещаются в сетчатую корзину, расположенную в рабочей ванне. Для ввода жидкости и МДС в рабочую ванну используются отверстия в крышке, способные распылять жидкость. МДС вводится в рабочую ванну посредством дозатора. Для слива обрабатывающей жидкости через отверстие, расположенное на дне рабочей ванны, подключенное к сливному шлангу с управляемым клапаном, используется насос. Датчик контроля уровня жидкости в рабочей ванне расположен в канале сливного шланга. В крышке устройства размещена система сушки, состоящая из вентилятора, который направляет воздух из окружающей среды в емкость рабочей ванны посредством воздуховодов и отверстий для ввода и вывода воздуха.

[14]

В данном устройстве отсутствует гарантия качественной мойки и сушки полых медицинских изделий из-за отсутствия циркуляции жидкости и воздуха через внутренние сквозные каналы и полости медицинских инструментов, а также предварительного нагрева вводимого в рабочую ванну воздуха при сушке.

[15]

В настоящее время остается актуальной проблема создания устройств для ПСО медицинских изделий, содержащих внутренние сквозные каналы и полости, которые реализуют полный цикл ПСО, регламентированный нормативной документацией.

[16]

Технический результат, на достижение которого направлено заявляемое изобретение, заключается в создании устройства, осуществляющего полный цикл ПСО и позволяющего:

[17]

- снизить профессиональную нагрузку на медицинский персонал при проведении ПСО медицинских изделий;

[18]

- минимизировать число эксплуатационных ошибок со стороны медицинского персонала, обусловленных некорректностью действий по соблюдению качества и полноты проведения такой процедуры в соответствии с нормативными документами;

[19]

- минимизировать профессиональный риск со стороны медицинского персонала, связанного контактом как с загрязненными медицинскими изделиями, так и с рабочими растворами МДС;

[20]

- сократить продолжительность ПСО,

[21]

что в совокупности будет способствовать повышению качества проводимых мероприятий.

[22]

Для достижения указанного технического результата предлагается ультразвуковая машина для ПСО медицинских изделий, содержащая:

[23]

- корпус и крышку;

[24]

- рабочую ванну, на дне которой установлены излучатели ультразвукового генератора, нагревательные элементы и сетчатая корзина;

[25]

- коллектор со штуцерами, присоединенный к рабочей ванне;

[26]

- насос циркуляции, с возможностью перекачивать как жидкость, так и воздух, который своим входом соединен со сливным/заливным отверстием рабочей ванны, а выходом - с коллектором и портом водоотведения через сливной клапан;

[27]

- входы для подключения к системам холодного и горячего водоснабжения через запорные электромагнитные клапаны, которые в свою очередь подключаются к сливному/заливному отверстию рабочей ванны;

[28]

- дополнительный насос, который своим входом связан с портом для ввода подготовленной воды, а выходом - со сливным/заливным отверстием рабочей ванны;

[29]

- перистальтический насос, входом соединенный с портом для ввода МДС, а выходом - с рабочей ванной через форсунку для подачи МДС;

[30]

- датчик потока МДС, расположенный между перистальтическим насосом и форсункой для подачи МДС;

[31]

- датчик температуры в рабочей ванне и датчик температуры воздуха, поступающего в рабочую ванну;

[32]

- систему сушки, расположенную в крышке, включающую: вентилятор и воздушный нагреватель калориферного типа, отверстие ввода воздуха в рабочую ванну и отверстие вывода влажного воздуха из нее, ограниченные воздуховодами.

[33]

На прилагаемых чертежах графически проиллюстрирована заявляемая ультразвуковая машина для предстерилизационной очистки медицинских изделий, где изображено:

[34]

на фиг. 1 - часть устройства, где условно показана гидродинамическая система (система циркуляции);

[35]

на фиг. 2 - часть устройства, где показана система сушки;

[36]

на фиг. 3 - внешний корпус устройства.

[37]

Устройство содержит следующие элементы:

[38]

- рабочую ванну 1, на дне которой установлены излучатели 2 ультразвукового генератора и нагревательные элементы 3, генерирующие тепло в виде излучения, для нагрева жидкости в рабочей ванне и дополнительного нагрева медицинских изделий, емкости ванны и воздуха в ней при сушке, а также металлическая сетчатая корзина 4 для размещения в ней медицинских изделий (фиг. 1);

[39]

- коллектор 5 (фиг. 1), выполненный съемным, со штуцерами 6 (фиг. 1) различного размера. Коллектор 5 является струйным делителем (в зависимости от количества штуцеров и их размеров) потока жидкости или воздуха. Подключение к штуцерам медицинских изделий с внутренними сквозными каналами и полостями для их гидродинамической очистки рабочим раствором, проточной или подготовленной водой, а также сушки осуществляется посредством адаптеров (быстрых разъемных соединений), которые соединяются со штуцерами 6 с помощью гибких шлангов (трубок). Коллектор 5 присоединяется к рабочей ванне 1 посредством отверстия в ее стенке, а возможность съема коллектора позволяет загружать медицинские изделия в сетчатую корзину 4 и подключать их к коллектору вне рабочей ванны;

[40]

- насос циркуляции 7, который своим входом соединен со сливным/заливным отверстием 8, а выходом - с коллектором 5 и портом водоотведения 9 через сливной клапан 10 (фиг. 1). Насос циркуляции 7 может быть выполнен, например, в исполнении мембранного насоса с возможностью перекачивать как жидкость, так и воздух.

[41]

Насос циркуляции 7 осуществляет слив жидкости (рабочего раствора, проточной или подготовленной воды) из рабочей ванны 1 через сливное/заливное отверстие 8 в систему водоотведения через порт водоотведения 9 при открытом состоянии сливного клапана 10. При закрытом состоянии сливного клапана 10 происходит прокачивание жидкости через коллектор 5, тем самым осуществляется гидродинамическая очистка, промывание и ополаскивание медицинских изделий в сетчатой корзине 4. В случае присоединения медицинских изделий с внутренними сквозными каналами и полостями к штуцерам 6 осуществляется их гидродинамическая очистка, промывание и ополаскивание.

[42]

После слива жидкости из рабочей ванны 1 в систему водоотведения клапан 10 закрывают, и насос циркуляции 7 может осуществлять через сливное/заливное отверстие 8 циркуляцию воздуха из рабочей ванны 1 в коллектор 5 для сушки внутренних сквозных каналов и полостей присоединенных медицинских изделий потоком горячего воздуха.

[43]

Для улучшения качества и сокращения продолжительности ПСО медицинских изделий при их гидродинамической очистке, промывании, ополаскивании или сушке могут быть использованы как непрерывный, так и пульсирующий режим работы насоса циркуляции 7, а также попеременное включение этих режимов;

[44]

- сливной клапан 10 своим входом подключается к насосу циркуляции 7, а выходом к порту водоотведения 9. Открытое состояние клапана 10 обеспечивает отвод жидкости из рабочей ванны 1 в систему водоотведения посредством насоса циркуляции 7 через порт водоотведения 9, а закрытое состояние клапана 10 позволяет насосу циркуляции 7 прокачивать жидкость через внутренние сквозные каналы и полости медицинских изделий;

[45]

- входы 11 и 12 для подключения машины соответственно к системам холодного и горячего водоснабжения (фиг. 1), при этом подача проточной воды в рабочую ванну 1 осуществляется через запорные электромагнитные клапаны 13 и 14 (фиг. 1), которые в свою очередь подключаются к сливному/заливному отверстию 8. Возможность подключения машины к точкам холодного и горячего водозабора и наличие запорных электромагнитных клапанов позволяют сокращать затраты времени на набор жидкости и энергетические затраты на ее нагрев до достижения необходимых температур;

[46]

- дополнительный насос 15 (фиг. 1) для набора подготовленной (деминерализованной или дистиллированной) воды из внешней емкости, который своим входом через порт 16 (фиг. 1) для ввода подготовленной воды связан с внешней емкостью, а выходом - со сливным/заливным отверстием 8 рабочей ванны 1. Использование подготовленной (деминерализованной или дистиллированной) воды обусловлено требованиями нормативных документов на предстерилизационную очистку к этапу ополаскивания. Введение дополнительного насоса 15 позволяет исключить сложную и дорогостоящую систему фильтров для очистки поступающей жидкости, тем самым снизить эксплуатационные расходы;

[47]

- перистальтический насос 17 (фиг. 1) для дозированного набора МДС и ввода в рабочую ванну 1 с целью приготовления рабочего раствора заданной концентрации, который своим входом через порт 18 (фиг. 1) для ввода МДС связан с внешней емкостью, содержащей МДС, а выходом - с рабочей ванной 1 через форсунку 19 для подачи МДС (фиг. 1);

[48]

- датчик потока 20 МДС (фиг. 1) для точного контроля дозировки, который расположен между перистальтическим насосом 17 и форсункой 19 для подачи МДС. Датчик потока МДС может быть выполнен, например, в исполнении оптического датчика уровня жидкости, позволяющего контролировать наличие и отсутствие МДС в канале бесконтактным способом и обладающего малой инерционностью;

[49]

- датчик минимального уровня 21 (фиг. 1) жидкости рабочей ванны 1, который может быть выполнен, например, в исполнении емкостного или оптического датчика уровня. Используется для контроля набора и слива жидкости. По времени заполнения жидкостью и слива рабочей ванны 1 до датчика минимального уровня 21 может оцениваться работоспособность элементов гидравлического тракта. Например, если датчик минимального уровня 21 длительно не показывает наличие жидкости при ее наборе, это может свидетельствовать о том, что машина не подключена к холодному и горячему водоснабжению, о неисправности запорных электромагнитных клапанов 13, 14 или дополнительного насоса 15, об отсутствии подготовленной воды во внешней емкости или пережатии подводящих шлангов (трубок);

[50]

- датчик максимального уровня 22 (фиг. 1) жидкости рабочей ванны 1, который может быть выполнен, например, в исполнении емкостного или оптического датчика уровня.

[51]

Возможно использование нескольких датчиков максимального/минимального уровня для предотвращения перелива жидкости из рабочей ванны 1 в случае неисправности одного из датчиков. Если датчики минимального 21 и максимального 22 уровня показывают наличие жидкости при ее длительном сливе, это может свидетельствовать о том, что неисправен насос циркуляции 7, сливной клапан 10 или пережаты сливные шланги (трубки);

[52]

- датчик температуры 23 (фиг. 2) в рабочей ванне 1;

[53]

- датчик температуры 24 воздуха (фиг. 2), поступающего в рабочую ванну;

[54]

- систему сушки, включающую: вентилятор 25 (один или более), воздушный нагреватель 26 калориферного типа (один или более), отверстие 27 для ввода воздуха (одно или более) и отверстие 28 для вывода влажного воздуха (одно или более), ограниченные воздуховодами для направления и разделения потоков воздуха в рабочую ванну и из нее (фиг. 2). Воздух с помощью вентилятора 25 подается на воздушный нагреватель 26, нагревается и, ограниченный воздуховодом, через отверстие 27 нагнетается в емкость рабочей ванны 1, а влажный воздух удаляется через отверстие 28 по воздуховоду наружу;

[55]

- все описанные элементы устройства располагаются внутри единого корпуса 29 с крышкой 30, в которой расположена система сушки (фиг. 3).

[56]

Рабочая ванна 1 с отверстием для коллектора 5 со штуцерами 6, сливным/заливным отверстием 8, форсункой 19 для подачи МДС, порт водоотведения 9 со сливным клапаном 10, насос циркуляции 7, входы 11 и 12 для подключения к системам холодного и горячего водоснабжения с запорными электромагнитными клапанами соответственно 13 и 14, дополнительный насос 15 с портом 16 для ввода подготовленной воды образуют единую гидродинамическую систему устройства, перечисленные элементы которой соединены посредством гибких или жестких шлангов (трубок).

[57]

Нагревательные элементы 3 позволяют повышать температуру рабочей жидкости в рабочей ванне до 95°С, а одновременное включение насоса циркуляции 7 обеспечивает равномерность прогрева всего объема жидкости.

[58]

Ультразвуковой генератор возбуждает излучатели, которые создают акустические колебания ультразвуковой частоты. Возникающие при этом акустические течения в рабочем растворе и явление кавитации интенсифицируют отмывочную способность МДС, что обеспечивает интенсивное гидромеханическое воздействие на загрязненные участки медицинских изделий и их очистку. Ультразвуковое гидромеханическое воздействие в заявленном устройстве позволяет осуществлять дегазацию рабочего раствора, то есть уменьшать содержание газа как в растворенном состоянии, так и в виде пузырьков. При большой концентрации газовые пузырьки снижают качество обработки, так как мешают доступу рабочего раствора к обрабатываемой поверхности. При осуществлении дегазации газ собирается в пузырьки, которые начинают интенсивно всплывать и исчезать.

[59]

С целью сокращения продолжительности и повышения качества сушки подготовленная вода на этапе ополаскивания нагревается до температуры 95°С.

[60]

Заявляемая машина работает следующим образом.

[61]

Медицинские изделия для предстерилизационной обработки размещают в металлической сетчатой корзине рабочей ванны. Изделия, имеющие внутренние сквозные каналы и полости, соединяют со штуцерами 6 посредством адаптеров.

[62]

На этапе предварительной мойки (замачивания) через входы 11, 12 систем холодного и горячего водоснабжения посредством открытых запорных электромагнитных клапанов 13, 14, соответственно, осуществляют набор в рабочую ванну 1 жидкости требуемой температуры через сливное/заливное отверстие. В случае, если температура жидкости недостаточна, с помощью нагревательных элементов 3 осуществляют нагрев до требуемой температуры. Контроль температуры жидкости в рабочей ванне осуществляется с помощью датчика температуры 23.

[63]

При необходимости для приготовления рабочего раствора в рабочую ванну из внешней емкости через порт 18 посредством перистальтического насоса 17 под контролем датчика потока 20 МДС заливают МДС через форсунку 19 для подачи МДС. Равномерное перемешивание МДС в рабочем растворе обеспечивается включением насоса циркуляции 7 при закрытом состоянии сливного клапана 10.

[64]

Для дегазации рабочего раствора используется ультразвуковая обработка с помощью излучателей 2 ультразвукового генератора. В приготовленном дегазированном рабочем растворе с заданной температурой и концентрацией МДС происходит замачивание медицинских изделий, в том числе с использованием гидромеханической и/или гидродинамической обработки. По окончании этого этапа рабочий раствор может быть использован на этапе основной мойки, либо слит из рабочей ванны 1 посредством насоса циркуляции 7 через сливное/заливное отверстие 8 в систему водоотведения через порт водоотведения 9 при открытом состоянии сливного клапана 10.

[65]

На этапе основной мойки и промывания, аналогично этапу замачивания, происходит набор жидкости, мойка и промывание медицинских изделий, в том числе с использованием гидромеханической и/или гидродинамической обработки и/или теплового воздействия, слив жидкости. Отличие состоит в том, что на этапе основной мойки могут быть заданы другие значения температуры и концентрации МДС, что позволяет осуществлять гидромеханическую и/или гидродинамическую обработку и/или тепловое воздействие с изменяющимися параметрами на разных этапах ПСО, тем самым сокращая продолжительность ПСО, уменьшая энергетические затраты на работу устройства и расход МДС с сохранением качества проведенной ПСО медицинских изделий и с учетом различных типов МДС. На этапе промывания не требуется добавление МДС, нагрев и дегазация проточной воды, при этом сам этап промывания может быть выполнен итерационное количество раз, что с последовательно выполненным этапом ополаскивания подготовленной водой позволит гарантированно удалить остатки рабочего раствора с медицинских изделий.

[66]

На этапе ополаскивания набор подготовленной воды из внешней емкости осуществляется дополнительным насосом 15 через порт 16 для ввода подготовленной воды в сливное/заливное отверстие 8 рабочей ванны 1.

[67]

Этап ополаскивания частично интегрирован в этап сушки. Подготовленная вода нагревается до температуры свыше 60°С (не более 95°С) с помощью нагревательных элементов 3 под контролем датчика температуры 23. После набора подготовленной воды происходит непосредственно ополаскивание медицинских изделий, в том числе, с использованием гидромеханической и/или гидродинамической обработки.

[68]

После ополаскивания подготовленная вода сливается, оставляя нагретыми рабочую ванну 1, сетчатую корзину 4 и медицинские изделия в ней, тем самым повышая качество и сокращая продолжительность сушки.

[69]

Вентилятор 25 и воздушный нагреватель 26 целесообразно включать во время этапа ополаскивания с целью сохранения теплового баланса и поддержания постоянной температуры в рабочей ванне с момента начала слива подготовленной воды до окончания этапа сушки. Воздух с помощью вентилятора 25 и воздуховодов подается на воздушный нагреватель 26, нагревается и через отверстие 27 крышки 30 нагнетается в емкость рабочей ванны 1, а влажный воздух удаляется через отверстие 28 в крышке 30.

[70]

На этапе сушки контроль температуры поступающего в рабочую ванну горячего воздуха осуществляется с помощью датчика температуры 24 воздуха.

[71]

После слива остатков подготовленной воды клапан 10 закрывается, и насос циркуляции 7 осуществляет циркуляцию горячего воздуха внутри рабочей ванны 1 и сушку внутренних сквозных каналов и полостей медицинских изделий потоком горячего воздуха через коллектор 5.

[72]

По окончании сушки воздушный нагреватель 26 отключают, а вентилятор 25 продолжает работать с целью охлаждения рабочей ванны 1, сетчатой корзины 4 и медицинских изделий до температуры безопасного извлечения прошедших предстерилизационную очистку медицинских изделий.

[73]

Перечисленные конструктивные возможности заявленной машины позволяют осуществлять в одном устройстве как полный цикл предстерилизационной очистки медицинских изделий, предусмотренный нормативной документацией, так и требуемые этапы отдельно необходимое количество раз для качественной и эффективной подготовки медицинских изделий к стерилизации.

Как компенсировать расходы
на инновационную разработку
Похожие патенты