патент
№ RU 2549120
МПК H04L12/28

СРЕДСТВО ПЕРЕДАЧИ ДАННЫХ ТЕЛЕКОММУНИКАЦИОННОЙ СЕТИ И ТЕЛЕКОММУНИКАЦИОННАЯ СЕТЬ

Авторы:
Бессонов Вадим Витальевич Обельченко Михаил Владимирович Мохряков Вячеслав Витальевич
Все (4)
Номер заявки
2012155881/08
Дата подачи заявки
21.12.2012
Опубликовано
20.04.2015
Страна
RU
Как управлять
интеллектуальной собственностью
Чертежи 
7
Реферат

Изобретение относится к многопротокольным телекоммуникационным средствам передачи данных. Технический результат заключается в обеспечении построения сети передачи данных без задания частот вещания и параметров входящих в нее радиостанций. В системе с учетом навигационной информации обеспечивается создание сети с ретрансляцией и маршрутизацией данных. Средство передачи данных содержит блок обнаружения и определения типа сигнала (2), сканирующий приемник (28) для просматривания эфира и передачи набора отсчетов вычислителю частотного спектра (29), предназначенного для передачи его в блок определения типа сигнала (30), предназначенный для определения набора частот, соответствующих обнаруженному сигналу, с учетом географических координат, полученных от навигатора (14), а также оповещения контрольно-управляющего телекоммуникационного модуля (1), осуществляющего выбор соответствующей радиостанции, подключенной к свитчу (12), для модуляции сигнала с параметрами, соответствующими обнаруженным. Телекоммуникационная сеть содержит радиостанции, как имеющие, так и не имеющие стык Ethernet стандарта IEEE 802.3, и средства передачи данных телекоммуникационной сети (46-46), к свитчам (12) которых подключены радиостанции, имеющие или не имеющие стык Ethernet стандарта IEEE. 2 н. и 1 з.п. ф-лы, 8 ил.

Формула изобретения

1. Средство передачи данных самоорганизующейся телекоммуникационной сети, содержащее аппаратный шифратор, блок пользовательского оборудования, к которому через свитч подключены модули сопряжения, соединенные с соответствующими радиостанциями, имеющими и/или не имеющими стык Ethernet стандарта IEEE 802.3, отличающееся тем, что в него дополнительно введены блок управления каналом, навигатор и блок обнаружения и определения типа сигнала, содержащий сканирующий приемник, вычислитель и блок определения сигнала; при этом вычислитель получает от сканирующего приемника временной спектр эфира, осуществляет преобразование Фурье полученного спектра эфира и получает частотный спектр эфира, который передает в блок определения сигнала, который при обнаружении сигналов на частотах на основании географических координат, полученных от навигатора, выбирает набор настроечных данных, соответствующий этим координатам, согласно таблице настроечных данных, в соответствии с алгоритмом обнаружения сигнала и настройки радиостанций, выбранный набор настроечных данных из блока определения сигнала передается в блок управления каналом для выбора и настройки радиостанции.

2. Средство передачи данных по п.1, отличающееся тем, что свитч имеет выход, к которому подключен модем DSL.

3. Телекоммуникационная сеть, содержащая радиостанции, имеющие и/или не имеющие стык Ethernet стандарта IEEE 802.3, и средства передачи данных телекоммуникационной сети, к свитчам которых подключены радиостанции, имеющие и/или не имеющие стык Ethernet стандарта IEEE 802.3; при этом средства передачи данных телекоммуникационной сети выполнены с возможностью применения технологии SDR, для чего в средстве передачи данных телекоммуникационной сети блок обнаружения и определения типа сигнала выдает перечень частот, на которых обнаружены сигналы от радиостанций сети, блок управления каналом настраивает радиостанции, входящие в средство передачи данных телекоммуникационной сети на необходимые частоты, а также задает настройки в соответствии с информацией, полученной от блока обнаружения и определения типа сигнала по алгоритму образования сети, блок межсетевого маршрутизатора строит маршруты между средствами передачи данных телекоммуникационной сети и радиостанциями, не подключенными к средствам передачи данных телекоммуникационной сети, выбирает необходимый для построения маршрута физический канал связи, передает блоку управления каналом команду перейти на выбранный физический канал связи и отправляет в блок управления каналом данные от протоколов сетевого уровня и сервера системных телекоммуникаций, осуществляющего выбор канала сетевого уровня и параметров канала для отправки пользовательских данных и отправляющего эти данные в блок межсетевого маршрутизатора.

Описание

[1]

Изобретение относится к многопротокольным телекоммуникационным средствам передачи данных, а именно к телекоммуникационным серверам, и может быть использовано для построения защищенной мультисервисной многопротокольной сети.

[2]

Известен сотовый телефон Samsung SGH-i900, имеющий внутри себя передатчики Bluetooth, 802.11 и GSM. Недостатком данного телефона является то, что для организации сети связи в нем используется только один приемопередатчик (GSM), а остальные применяются для беспроводного подключения к разным устройствам - компьютеру, гарнитуре и т.п.

[3]

Известна радиолюбительская SDR-радиостанция SDR-1000 [2]. Недостатком данной радиостанции является то, что она не позволяет организовывать сети с большим количеством уже существующих радиостанций, не имеющих стык Ethernet стандарта IEEE 802.3, а требует отдельного изготовления.

[4]

Наиболее близким к предлагаемому является аппаратура внутренней связи коммутации и управления (АВСКУ) [по патенту RU №58834 от 27.11.2006].

[5]

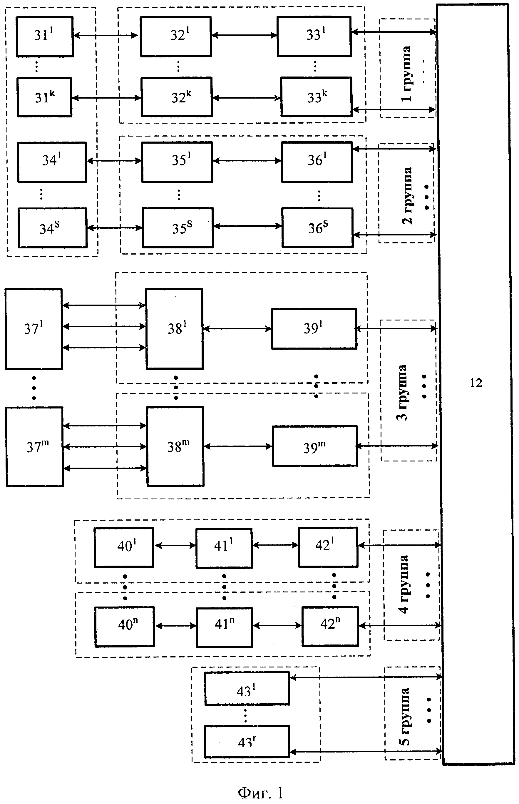
Схема устройства-прототипа представлена на фиг.1, где обозначено:

[6]

311…31k - микротелефонные гарнитуры (МТГ) абонентов;

[7]

321…32k - блоки сопряжения с соответствующими МТГ (БСМТГ);

[8]

331…33k - блоки прямого/обратного преобразования аналогового сигнала МТГ (БГТМТГ) в цифровой поток пакетов Ethernet стандарта IEEE 802.3;

[9]

341…34s - телефонные аппараты (ТА);

[10]

351…35s - блоки сопряжения с соответствующими ТА (БСТА);

[11]

361…36s - блоки прямого/обратного преобразования аналогового сигнала ТА (БПТА) в цифровой поток пакетов Ethernet стандарта IEEE 802.3;

[12]

371…37m - радиостанции (PC);

[13]

381…38m - блоки сопряжения с соответствующими PC (БСРС);

[14]

391…39m - блоки прямого/обратного преобразования аналогового сигнала и цифровых сигналов стыков С1-ФЛ и С2 радиостанций (БПРС) в цифровой поток пакетов Ethernet стандарта IEEE 802.3;

[15]

401…40n - аппаратура передачи/засекречивания данных (АПЗД);

[16]

411…41n - блоки сопряжения с соответствующей АПЗД (БСАПЗД);

[17]

421…42n - блоки прямого/обратного преобразования цифровых сигналов стыка С1-ФЛ АПЗД (БПАПЗД) в цифровой поток пакетов Ethernet стандарта IEEE 802.3;

[18]

431…43r - устройства, имеющие стык Ethernet стандарта IEEE 802.3;

[19]

12 - блок коммутации пакетов Ethernet стандарта IEEE 802.3 (БКП) (свитч).

[20]

Устройство-прототип содержит к микротелефонных гарнитур абонентов (МТГ) 311…31k, k блоков сопряжения к ним (БСМТГ) 321…32k, к блоков преобразования (БПМТГ).

[21]

331…33k; s телефонных аппаратов (ТА) 341…34s, s блоков сопряжения к ним (БСТА) 351…35s, s блоков преобразования (БПТА) 361…36s; m радиостанции (PC) 371…37m, m блоков сопряжения к ним (БСРС) 381…38m, m блоков преобразования (БПРС) 391…39m; n устройств АПЗД 401…40n, n блоков сопряжения к ним (БСАПЗД) 411…41n, n блоков преобразования (БПАПЗД) 421…42n; n устройств, имеющих стык Ethernet стандарта IEEE 802.3 431…43r, блок коммутации пакетов Ethernet стандарта IEEE 802.3 (БКП) 12, причем вход-выход каждой МТГ 31l…31k через последовательно соединенные соответствующие БСМТГ 321…32k и БПМТГ 331…33k соединен с соответствующим из к входов-выходов первой группы входов-выходов БКП 12, вход-выход каждого ТА 341…34s через последовательно соединенные соответствующие БСТА 351…35s и БСТА 361…36s соединен с соответствующим из s входов-выходов второй группы входов-выходов БКЦС 12, первый, второй, третий выходы-входы каждой PC 371…37m соединены с соответствующими входами-выходами соответствующего БСРС 381…38m, четвертый выход-вход которого через соответствующий БПРС 391…39m соединен с соответствующим из m входов-выходов третьей группы входов-выходов БКП 12, вход-выход каждой АПЗД 401…40n через последовательно соединенные соответствующие БСАПД 411…41n и БПАПД 421…42n соединен с соответствующим из n входов-выходов четвертой группы входов-выходов БКП 12, выход-вход каждого устройства, имеющего стык Ethernet стандарта IEEE 802.3 431…43r соединен с соответствующим из r входов-выходов N-й группы входов-выходов БКП 12.

[22]

Количество и тип подключаемых к БКП 12 блоков преобразования и устройств, имеющих стык Ethernet стандарта IEEE 802.3, может выбираться произвольно в зависимости от выполняемой задачи и определяется только пропускной способностью блока коммутации пакетов.

[23]

Укрупненная схема устройства-прототипа приведена на фиг.2, где обозначено:

[24]

12 - блок коммутации пакетов Ethernet стандарта IEEE 802.3 (БКП) (свитч);

[25]

13 - аппаратный шифратор;

[26]

25 - блок пользовательского оборудования.

[27]

261-26m - модуль сопряжения;

[28]

371-37m - обычная радиостанция;

[29]

431-43r - радиостанция, имеющая стык Ethernet стандарта IEEE 802.3.

[30]

Микротелефонные гарнитуры абонентов 311…31k и телефонные аппараты 341…34s выполняют функции передачи речи между пользователями, поэтому они объединены в один блок пользовательского оборудования 25. В блоках сопряжения с соответствующими МТГ 321…32k производится согласование уровней сигнала, а в блоках прямого/обратного преобразования аналогового сигнала МТГ в цифровой поток пакетов 331…33k - дискретизация сигнала с частотой восемь тысяч выборок в секунду. Они объединены в один блок, выполняющий те же функции. Блоки сопряжения с соответствующими ТА 351…35s и блоки прямого/обратного преобразования аналогового сигнала ТА (БПТА) в цифровой поток 361…36s объединены в один блок, так как они выполняют те же функции преобразования аналогового сигнала соответствующего типа в цифровой, что и образованный блок. Аппаратура передачи/засекречивания данных 401…40n, блоки сопряжения с соответствующей АПЗД 411…41n и блоки прямого/обратного преобразования цифровых сигналов в цифровой поток 421…42n выполняют те же функции аппаратного шифрования, что и аппаратный шифратор 13, поэтому они объединены. Блоки сопряжения с соответствующими PC 381…38m блоки прямого/обратного преобразования аналогового сигнала и цифровых сигналов стыков С1-ФЛ и С2 радиостанций в цифровой поток пакетов 391…39m по функциям преобразования аналогового сигнала соответствующего типа в цифровой схожи с модулями сопряжения 261-26m, поэтому они объединены.

[31]

Недостатком устройства-прототипа является отсутствие возможности имитации SDR-устройств, возможности организации обмена электронной корреспонденцией, а также возможности подключения навигатора.

[32]

Задача - расширение функциональных возможностей устройства: имитации функций SDR-устройств, в том числе с помощью радиостанций, не поддерживающих технологию SDR.

[33]

Достигаемый технический при использовании изобретения заключается в возможности автоматизированного построения сети передачи данных, в том числе и с участием радиостанций другого типа, по каналам вышеуказанных устройств и маршрутизация в такой сети, а также возможности подключения в сеть радиостанций, не поддерживающих тот же протокол передачи данных по каналу связи, например Wi-Fi, что и аналоги, помимо этого - обеспечение связи и коммутации между подключенными к предлагаемому устройству радиостанций и других средств связи.

[34]

Для решения поставленной задачи в средство передачи данных самоорганизующейся телекоммуникационной сети, содержащее аппаратный шифратор, блок пользовательского оборудования, к которому через свитч подключены модули сопряжения, соединенные с соответствующими радиостанциями, имеющими и/или не имеющими стык Ethernet стандарта IEEE 802.3, согласно изобретению, дополнительно введены блок управления каналом, навигатор и блок обнаружения и определения типа сигнала, содержащий сканирующий приемник, вычислитель и блок определения сигнала; при этом вычислитель получает от сканирующего приемника временной спектр эфира, осуществляет преобразование Фурье полученного спектра эфира и получает частотный спектр эфира, который передает в блок определения сигнала, который при обнаружении сигналов на частотах на основании географических координат, полученных от навигатора, выбирает набор настроечных данных, соответствующий этим координатам, согласно таблице настроечных данных, в соответствии с алгоритмом обнаружения сигнала и настройки радиостанций, выбранный набор настроечных данных из блока определения сигнала передается в блок управления каналом для выбора и настройки радиостанции.

[35]

Схема предлагаемого устройства представлена на фиг.3, где обозначено:

[36]

1 - контрольно-управляющий телекоммуникационный модуль (КУТМ);

[37]

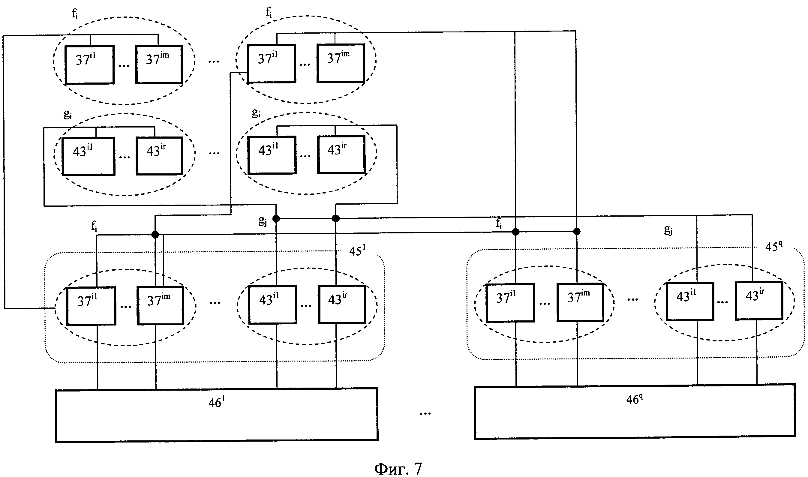
2 - блок обнаружения и определения типа сигнала;

[38]

261-26m - модуль сопряжения;

[39]

27 - модем DSL;

[40]

28 - сканирующий приемник;

[41]

29 - вычислитель;

[42]

30 - блок определения сигнала;

[43]

371-37m - радиостанция, не имеющая стык Ethernet стандарта IEEE 802.3;

[44]

- радиостанция, имеющая стык Ethernet стандарта IEEE 802.3.

[45]

Средство передачи данных телекоммуникационной сети содержит контрольно-управляющий телекоммуникационный модуль 1, к которому по технологии Ethernet подключены модули сопряжения 261-26m, которые подключены к свитчу 12 (фиг.4 - схема КУТМ), входящему с состав КУТМ 1. С другой стороны к модулям сопряжения 261-26m, например, по последовательному порту RS-232, подключены радиостанции 371-37m (KB, УКВ, ДКМВ и другие). Также к свитчу 12 напрямую подключены радиостанции 431-43r, имеющие стык Ethernet стандарта IEEE 802.3, и по технологии Ethernet - блок обнаружения и определения типа сигнала 2 (в данном случае - одноплатовая ЭВМ). Блок обнаружения и определения типа сигнала 2 содержит сканирующий приемник 28, например аппаратура обнаружения и формирования помех, вычислитель 29, например, на основе процессора ADSP и ЭВМ, и блок определения сигнала 30 (программное обеспечение, установленное на жестком диске данной ЭВМ). С противоположной стороны свитч 12 имеет выход, являющийся выходом КУТМ 1, к которому по технологии Ethernet подключен модем DSL 27.

[46]

Схема контрольно-управляющего телекоммуникационного модуля представлена на фиг.4, где обозначено:

[47]

3 - клиент с поддержкой протокола MIME Security with OpenPGP (для отправки электронной корреспонденции);

[48]

4 - клиент с поддержкой протокола MIME-types (шифрования);

[49]

5 - программное обеспечение, поддерживающее протоколы RTP, RTCP (UDP);

[50]

6 - программное обеспечение, поддерживающее протокол SIP;

[51]

7 - программное обеспечение, поддерживающее протокол Session Description Protocol;

[52]

8 - блок взаимодействия с пользователем;

[53]

9.1 - сетевой интерфейс абонентской части Eth0;

[54]

9.2 - сетевой интерфейс абонентской части Eth1;

[55]

9.3 - сетевой интерфейс пользовательской части Eth0;

[56]

10 - блок межсетевого маршрутизатора;

[57]

11 - блок управления каналом;

[58]

12 - свитч;

[59]

13 - аппаратный шифратор;

[60]

14 - навигатор;

[61]

15 - принтер;

[62]

16 - сканер;

[63]

17 - расширитель портов;

[64]

18 - блок программного шифрования и аутентификации;

[65]

19 - сервер системных телекоммуникаций;

[66]

20 - блок навигационного клиента;

[67]

21 - блок внутриобъектового доступа;

[68]

22 - блок клиента сканера;

[69]

23 - блок клиента принтера;

[70]

24 - блок сервера, поддерживающего протокол ХМРР;

[71]

25 - блок пользовательского оборудования.

[72]

Контрольно-управляющий телекоммуникационный модуль 1 содержит канальную, абонентскую и пользовательскую части.

[73]

Канальная часть контрольно-управляющего телекоммуникационного модуля содержит блок межсетевого маршрутизатора 10, который, например, по технологии WinSock соединен с блоком управления каналом 11, который с помощью драйвера подключен к свитчу 12. К свитчу 12 по протоколу Ethernet непосредственно или через модем, тип которого зависит от типа станции, подключаются радиостанции (на фиг.4 не показаны).

[74]

Абонентская часть контрольно-управляющего телекоммуникационного модуля содержит сервер системных телекоммуникаций 19, который со стороны порта TCP/IP или другого используемого сетевого протокола через блок программного шифрования и аутентификации 18, поддерживающий протокол Transport Layer Security (стандарт, который регламентирует данный протокол - RFC 5246), подключен к сетевому интерфейсу абонентской части 9.2. С канальной стороны по технологии Ethernet сервер системных телекоммуникаций 19 подключен к сетевому интерфейсу абонентской части 9.1. Также к серверу системных телекоммуникаций 19 подключен блок навигационного клиента 20.1, к которому подключен блок внутриобъектового доступа 21, подключенный к сетевому интерфейсу абонентской части 9.1. Блок внутриобъектового доступа 21 включает набор драйверов навигатора 14, сканера 15, принтера 16 и службу подключения/отключения этих устройств, которые через расширитель портов 17 подключены к нему, причем навигатор 14 получает со спутника координаты по стандарту ГЛОНАСС и/или GPS.

[75]

Пользовательская часть контрольно-управляющего телекоммуникационного модуля содержит блок сервера 24, поддерживающего протокол ХМРР. В состав блока сервера 24 входят блок обмена электронной корреспонденцией, блок передачи потоковых данных и блок взаимодействия с пользователем 8, причем блок обмена электронной корреспонденцией и блок передачи потоковых данных, которые, например, по технологии WinSok подключены к блоку взаимодействия с пользователем 8. Блок обмена электронной корреспонденцией содержит соединенные, например, по технологии WinSock клиент с поддержкой протокола MIME Security with OpenPGP 3 и клиент с поддержкой протокола MIME-types 4. Блок передачи потоковых данных содержит последовательно соединенные, например, по технологии WinSock программное обеспечение, поддерживающее протоколы RTP, RTCP (UDP) 5, программное обеспечение, поддерживающее протокол SIP 6, и программное обеспечение, поддерживающее протокол Session Description Protocol 7. К блоку взаимодействия с пользователем 8 подключен блок пользовательского оборудования 25 (например, клавиатура, мышь, микрофон, камера, дисплей). Блок передачи потоковых данных, блок обмена электронной корреспонденцией, а также блок взаимодействия с пользователем 8 со стороны порта TCP/IP или другого используемого сетевого протокола подключены к сетевому интерфейсу пользовательской части 9.3, к которому также соответственно подключены блоки навигационного клиента 20.2, сканера 22, принтера 23.

[76]

Канальная часть контрольно-управляющего телекоммуникационного модуля через аппаратный шифратор 13 подключена к сетевому интерфейсу абонентской части 9.2, причем сетевой интерфейс 9.1 абонентской части подключен к сетевому интерфейсу 9.3 пользовательской части контрольно-управляющего телекоммуникационного модуля.

[77]

Предлагаемое средство передачи данных телекоммуникационной сети работает следующим образом.

[78]

КУТМ 1 выполняет функции маршрутизатора и предоставления услуг обмена электронной корреспонденцией, передачи речевых данных, программного шифрования, а также способен управлять программным обеспечением SDR (ПО SDR), установленным в блоке сервера 24 (фиг.4).

[79]

Алгоритм работы средства передачи данных телекоммуникационной сети представлен на фиг.5. Алгоритм обнаружения сигнала и настройки радиостанций представлен на фиг.6.

[80]

В ПО SDR хранится уникальный идентификатор средства и таблица настроечных данных (частот, мощностей и т.п.) для всех радиостанций с указанием типа радиостанции, при этом, в случае повторного использования одного и того же набора частот, в этой таблице содержатся географические координаты нахождения сетей, использующих один и тот же набор частот.

[81]

Таблица 1
Таблица настроечных данных
Название поляИдентификатор средстваЧастотаМодуляцияКлючи ТМППРЧГеографические координатыПодсетьВхождение в сеть
ПримечаниеПервичный ключПо таблице 2Идентификатор подсети, в которую входит устройство

[82]

Таблица 2
Таблица аппаратно разделяемых подсетей
Название поляИдентификатор средстваИдентификатор подсети

[83]

Таблица настроечных данных (НД) 1 может загружаться из ПО SDR в блок определения сигнала 30 (фиг.3). Сканирующий приемник 28 просматривает эфир и передает набор отсчетов в вычислитель 29, который преобразует набор в частотный спектр (вычислитель 29 получает от сканирующего приемника 28 временной спектр «время-интенсивность» эфира, осуществляет преобразование Фурье полученного спектра и получает частотный спектр «частота-интенсивность»), после чего передает его в блок определения сигнала 30 для обнаружения сигналов на частотах, содержащихся в таблице 1. По полученному частотному спектру обнаруживаются возможные абоненты (типы возможных радиостанций в сети, а варианты настроечных данных предполагаются известными заранее), а также, в случае возможности, используемые ими настроечные данные (вид модуляции и псевдослучайной перестройки рабочей частоты (ППРЧ).

[84]

В случае обнаружения сигнала на соответствующей частоте, блок определения сигнала 30 сравнивает географические координаты средства передачи данных телекоммуникационной сети, полученные от навигатора 14 (фиг.4), и выбирает из таблицы 1 тот набор НД, географические координаты использования которого наименее отличаются. Если частоты используются без повторов, то выбирается тот набор, который соответствует частоте, на которой обнаружен сигнал. После выбора наборов НД из таблицы 1, соответствующих обнаруженным в спектре сигналам, блок определения сигнала 30 оповещает КУТМ 1 об обнаружении соответствующих сетей, и после выбора им сети выбирает соответствующую радиостанцию из числа подключенных к свитчу 12, которая может модулировать сигнал, с настройками, аналогичными найденным в таблице 1 и соответствующим сети, выбранной КУТМ 1, и передает (в случае поддержки изменения настроек по сети радиостанцией) в нее соответствующие найденные в таблице 1 настройки. Если радиостанция не поддерживает изменение настроек по сети, то блок определения сигнала 30 оповещает КУТМ 1 о необходимости ручной настройки.

[85]

В случае если устройства расположены близко друг к другу, то они могут быть соединены по технологии Ethernet или с помощью модемов DSL 27, при этом высвобождаются свободные частоты для использования беспроводной сети связи.

[86]

В технологических целях, функции КУТМ 1 по выбору сети могут также дублироваться и в ПО SDR.

[87]

В целях понижения цены изделия вместо сканирующего приемника 28 могут быть использованы приемники входящих в средство передачи данных радиостанций. В этом случае сканирующий приемник 28 может отсутствовать, а приемники радиостанций 371-37m и 431-43r подключаться к вычислителю 29, который будет, в таком случае, выдавать не весь частотный спектр, а только его часть, соответствующую частотам приемников радиостанций 371-37m и 431-43r.

[88]

Таким образом, по сравнению с прототипом, средство передачи данных телекоммуникационной сети реализует функции SDR-устройств, в том числе с помощью радиостанций, не поддерживающих технологию SDR.

[89]

Известна сотовая сеть, построенная с использованием устройств ZTE SDR [3] Недостатком данной сети является наличие неподвижной базовой станции, при выходе из строя которой, сеть разрушается.

[90]

Наиболее близкой к предлагаемой является сеть из устройств, поддерживающая протокол 802.11s, в частности HWMP организации беспроводных ad hoc сетей по технологии Wi-Fi [4].

[91]

Сеть-прототип состоит из ЭВМ, поддерживающих протокол 802.11s, в частности HWMP. Данные ЭВМ используют флэш-память вместо жесткого диска и поставляются с дистрибутивом Linux на основе Fedora от Red Hat в качестве предустановленной операционной системы. Используется мобильные ad hoc сети по протоколу 802.11s Wi-Fi, для общего доступа к Интернету, пока, по крайней мере, один из компьютеров можно подключить к маршрутизатору или другой точке доступа.

[92]

Недостатком устройства-прототипа является отсутствие возможности подключения в сеть радиостанций, не поддерживающих тот же протокол передачи данных по каналу связи, например Wi-Fi, что и аналоги.

[93]

Сеть, составленная из радиостанций, подключенных к аппаратуре сети связи, принятой в качестве прототипа для средства передачи данных по п.1 (далее - АВСКУ, аппаратура внутренней связи, коммутации и управления), является аналогом для заявляемой коммуникационной сети, но, так как АВСКУ не обладает функцией имитации SDR-радиостанции, посредством нее невозможно организовывать сети связи предлагаемого типа - у АВСКУ отсутствует модуль КУТМ, по этой причине не предоставляется навигационная информация, нет блока обнаружения и определения типа сигнала 2 и нет возможности маршрутизировать пакеты данных между разными сегментами сети и прочее.

[94]

Предлагаемое же техническое решение не только предоставляет радиоканал и автоматически подбирает частоты и настраивает радиостанции, но и осуществляет маршрутизацию пакетов данных по сети с помощью КУТМ, а также - самоорганизацию сети передачи данных. Самоорганизация сети и автоматическая настройка элементов сети показана на фигурах 5, 6, 8 (блок-схемах).

[95]

Таким образом, АВСКУ, хотя и может соединять радиостанции разных типов, но не содержит в себе средств автоматической настройки и подбора частот для радиостанций, и главное - он не обладает возможностью маршрутизации данных (поскольку в нем отсутствует КУТМ). Следовательно, с его помощью нельзя организовывать сети, состоящие из сегментов, работающих на разных частотах, модуляциях и иных характеристиках. А в прототипе предлагаемой сети присутствует блок маршрутизации (выполняющий функции, аналогичные блоку 10 КУТМ, однако, не предоставляющий навигационной информации). При этом прототип не выполняет функции автоматической настройки, подбора частот для радиостанций и не обладает функцией имитации SDR радиостанции.

[96]

В заявляемом изобретении решается задача самоорганизации сети с учетом навигационной информации, использование при построении сети радиостанций разных типов.

[97]

Достигаемый технический результат: автоматическое создание сети без задания частот вещания и иных параметров входящих в нее радиостанций заранее, с учетом навигационной информации (что способствует сокращению времени развертывания сети и освобождает пользователя от необходимости разработки наборов частот); создание сети с ретрансляцией и маршрутизацией данных и предоставлением телекоммуникационных услуг; сопряжение сетей, состоящих из радиостанций разных типов в единую сеть с возможностью маршрутизации пакетов данных из одного сегмента сети в другой (возможно, чтоб в каждом сегменте радиостанции вещали на разных частотах).

[98]

Технический результат достигается тем, что телекоммуникационная сеть содержит радиостанции, имеющие и/или не имеющие стык Ethernet стандарта IEEE 802.3 и средства передачи данных телекоммуникационной сети, к свитчам которых подключены радиостанции всех типов, имеющие и/или не имеющие стык Ethernet стандарта IEEE 802.3; при этом средства передачи данных телекоммуникационной сети выполнены с возможностью применения технологии SDR, для чего в средстве передачи данных телекоммуникационной сети блок обнаружения и определения типа сигнала выдает перечень частот, на которых обнаружены сигналы от радиостанций сети, блок управления каналом настраивает радиостанции, входящие в средство передачи данных телекоммуникационной сети на необходимые частоты, а также задает другие настройки в соответствии с информацией, полученной от блока обнаружения и определения типа сигнала по алгоритму образования сети, блок межсетевого маршрутизатора строит маршруты между средствами передачи данных телекоммуникационной сети и радиостанциями, не подключенными к средствам передачи данных телекоммуникационной сети, выбирает необходимый для построения маршрута физический канал связи, передает блоку управления каналом команду перейти на выбранный физический канал связи и отправляет в блок управления каналом данные от протоколов сетевого уровня и сервера системных телекоммуникаций, осуществляющего выбор канала сетевого уровня и параметров канала для отправки пользовательских данных и отправляющего эти данные в блок межсетевого маршрутизатора.

[99]

Схема предлагаемой сети представлена на фиг.7, где обозначено:

[100]

37i1-37im - радиостанция, не имеющая стык Ethernet стандарта IEEE 802.3;

[101]

43i1-43ir - радиостанция, имеющая стык Ethernet стандарта IEEE 802.3 и, например, поддерживающая Wi-Fi протокол 802.11s;

[102]

451-45q - канальная часть средства передачи данных телекоммуникационной сети;

[103]

461-46q - абонентская часть средства передачи данных телекоммуникационной сети.

[104]

Телекоммуникационная сеть содержит m групп радиостанций 37i1…37im, не имеющих стык Ethernet стандарта IEEE 802.3, каждая группа настроена с настройками fi, i=1, … m (в общем случае, говоря о настройках, мы подразумеваем частоту, модуляцию и другие характеристики сигнала); r групп радиостанций 43j1, … 43jr, имеющих стык Ethernet стандарта IEEE 802.3 и, например, поддерживающая Wi-Fi протокол 802.11s, каждая группа настроена с настройками gj, j=1, … r.

[105]

Также в сеть входит q канальных частей средств передачи данных 45, в состав которых входит m радиостанций 37, r радиостанций 43. С помощью сканирующего приемника 28 (на фиг.7 не показан) в составе канальных частей средства передачи данных 451-45q устанавливается, на каких именно частотах и с какими параметрами вещают вышеупомянутые группы радиостанций и радиостанции 37 и 43 в составе канальной части средства передачи данных 451-45q настраиваются на те же частоты и другие параметры, соответственно каждой группе радиосредств. Таким образом, каждая канальная часть средства передачи данных 451-45q образует канал связи с каждой из групп радиосредств, входящих в состав телекоммуникационной сети. Помимо этого, на образованных каналах могут сообщаться и сами канальные части средств передачи данных 451-45q.

[106]

С помощью канальных частей средств передачи данных 451-45q может быть организовано сообщение между сетями, состоящими из разных радиостанций и работающими на разных частотах, с разными видами модуляции и т.п., например 3711 и 4311. Для этого с радиостанции одного типа, входящую в состав одной из групп, например, с 3711 данные передаются на настроенную с теми же настройками станцию 37, подключенную к абонентской части средства передачи данных 46, например 461, в составе средства передачи данных. В абонентской части средства передачи данных 461 данные перенаправляются на станцию 43, настроенную с теми же настройками, что и станция 4311.

[107]

В случае, если со станций, подсоединенных к абонентской части средства передачи данных 461 не возможно организовать связь со станцией 4311, строится маршрут между средствами передачи данных на имеющихся каналах так, пока не найдется средство передачи данных, со средств, подсоединенных к его блоку, например, 463, можно организовать радиоканал с 4311. В таком случае данные передаются с 3711 на первое средство передачи данных, далее по цепочке средств передачи данных, а с последнего средства передачи данных в цепочки - на 4311.

[108]

При перенастройке групп радиосредств на другие частоты, так как сканирующий приемник 28 работает постоянно и обнаруживает такую перенастройку, происходит перенастройка соответствующих радиостанций в составе средства передачи данных.

[109]

Сама сеть группируется по группам радиосредств, а также маршруты между группами радиосредств строятся в соответствии с протоколом кластеризации [5], а также с протоколом типа AODV (RFC 3561) [6].

[110]

Образование сети в общем случае показано на фиг.8.

[111]

В качестве сервера системных телекоммуникаций может применяться "Сервер системных телекоммуникаций" Полезная модель РФ №121977.

[112]

В некотором средстве передачи данных телекоммуникационной сети задаются желаемые параметры сигнала - частота, модуляция и т.п. и происходит передача пакета (если в сети есть радиостанции, средствами передачи данных телекоммуникационной сети ожидается их передача в течение заданного оператором времени). Остальные средства передачи данных телекоммуникационной сети, получив соответствующий спектр и обнаружив из таблицы 1, что сигнал наблюдается на частоте, содержащейся в таблице 1, настраивают соответствующими данными соответствующую радиостанцию. При этом необходимо редактировать таблицу 1 у средств передачи данных телекоммуникационной сети, записывая, что выбранный набор уже занят под определенную сеть (заполняя соответствующее поле таблицы 1 соответствующим значением из таблицы 2).

[113]

Если необходимо организовать несколько разных сетей, в которые входят средства передачи данных телекоммуникационной сети, то в таблицу 1 должны быть включены уникальные идентификаторы средств и перечень идентификаторов средств, могущих входить в ту или иную сеть. При первоначальном обнаружении сигнала средство передачи данных телекоммуникационной сети запрашивает у обнаруженного средства его уникальный идентификатор, и организует сеть с обнаруженным средством, только если в ПО SDR этого средства задано, что полученный идентификатор входит в перечень идентификаторов, характеризующих сеть, в которую должно входить средство передачи данных телекоммуникационной сети (таблица 1). Если для средства с таким идентификатором частота и другие параметры сигнала в таблице 1 и т.п. не заданы однозначно, то задается та, на которой сигнал был обнаружен. Если после этого средству передачи данных телекоммуникационной сети надо образовать новую сеть с другими имитаторами, в которой он будет ведущей станцией, то он начинает передачу с произвольными НД, за исключением тех, которые уже были использованы для образования вышеупомянутой сети. Альтернативно он начинает передачу с НД, явно указанными в таблице 1 для него.

[114]

Таким образом, заявляемое изобретение позволяет автоматически создавать сети передачи данных без задания заранее частот вещания и иных параметров, входящих в нее радиостанций, с учетом навигационной информации, что способствует сокращению времени развертывания сети и освобождает пользователя от необходимости разработки наборов частот, осуществлять сопряжение сетей, состоящих из радиостанций разных типов, в единую сеть с возможностью маршрутизации пакетов данных из одного сегмента сети в другой (возможно, чтоб в каждом сегменте радиостанции вещали на разных частотах).

[115]

Источники информации

[116]

1 Samsung SGH-i900.

[117]

URL: http://www.samsung.ru/products/phones/communicator/sgh-i900/

[118]

2 Flex Radio Systems SDR-1000. Программно-зависимый трансивер. URL: http://rw3ps.qrz.ru/1001.htm

[119]

3 http://www.zte.com.cn/cn/events/en_2009sdr/solutions/200908/t20090812_174670.html

[120]

4 IEEE 802.1 Is Tutorial Overview of the Amendment for Wireless Local Area Mesh Networking, 2006. URL: http://www.ieee802.org/802_tutorials/06-November/802.11s_Tutorial_r5.pdf

[121]

5 Ramanathan R. Hierarchically-organized, Multi-Hop Mobile Wireless Networks for Quality-of-Service Support/R. Ramanathan and M. Steen-strup/Mobile Networks and Applications, vol.3, 1998, pp.101-119.

[122]

6 http://www.ietf.org/rfc/rfc3561.txt

Как компенсировать расходы
на инновационную разработку
Похожие патенты