патент
№ RU 2684545
МПК F16H1/32
Номер заявки
2018109547
Дата подачи заявки
19.03.2018
Опубликовано
09.04.2019
Страна
RU
Как управлять
интеллектуальной собственностью
Чертежи 
4
Реферат

Изобретение относится к машиностроению. Двухступенчатый редуктор включает волновую передачу первой ступени с входным валом, имеющим две эксцентрично расположенные цилиндрические поверхности с противоположно направленными эксцентриситетами и с подшипниками качения (ПК) на них и одним опорным ПК, сепаратор первой ступени, втулку, охватывающую сепаратор первой ступени, имеющую внутренние эпициклические поверхности, количество которых равно количеству тел качения, расположенных в сепараторе первой ступени, а также цилиндрические поверхности на втулке с расположенными на них ПК, и радиальные ПК на левом конце втулки, сепаратор второй ступени с размещенными в нем рядами тел качения, выходной вал, установленный в подшипниках в корпусе редуктора. Сепаратор второй ступени закреплен на правой части корпуса, выходным валом редуктора является втулка, охватывающая сепаратор второй ступени и имеющая внутренние эпициклические поверхности. Между выходным валом и корпусом имеется радиально-упорный подшипник с перекрещивающимися роликами. Радиальные ПК, установленные на левых концах входного вала сепараторов первой ступени и втулок, создают жесткую опорную систему для деталей редуктора, исключая их вибрацию в процессе работы, которая могла бы быть вызвана колебательными процессами в волновых передачах. Обеспечивается снижение инерционности вращающихся деталей, присоединенных к входному валу, и повышение технологичности изготовления редуктора. 3 з.п. ф-лы, 6 ил.

Формула изобретения

1. Редуктор двухступенчатый, состоящий из корпуса с левой и правой соединенными между собой торцевыми частями, в котором концентрично относительно центральной оси размещены: волновая передача первой ступени с входным валом, имеющим по меньшей мере две эксцентрично расположенные цилиндрические поверхности с противоположно направленными эксцентриситетами с установленными на них подшипниками качения, на которых установлены внешние кольца, и по меньшей мере с одним опорным подшипником качения; сепаратор первой ступени, неподвижный относительно корпуса, с размещенными в нем по меньшей мере двумя рядами тел качения, взаимодействующих с эксцентрично расположенными цилиндрическими поверхностями; втулка, являющаяся входным валом волновой передачи второй ступени, охватывающая сепаратор первой ступени, имеющая внутренние эпициклические поверхности, количество которых равно количеству рядов тел качения, расположенных в сепараторе первой ступени; а также эксцентрично расположенные цилиндрические поверхности на втулке, эксцентриситеты которых являются противоположно направленными, и с расположенными на них подшипниками качения, и радиальные подшипники качения на левом конце втулки; сепаратор второй ступени с размещенными в нем рядами тел качения при количестве рядов, равном количеству эксцентрично расположенных на втулке цилиндрических поверхностей с подшипниками качения; выходной вал, установленный в подшипниках в корпусе редуктора, отличающийся тем, что сепаратор второй ступени закреплен на правой части корпуса; выходным валом редуктора является втулка, охватывающая сепаратор второй ступени и имеющая внутренние эпициклические поверхности, количество которых равно количеству рядов тел качения в сепараторе второй ступени; между выходным валом и корпусом имеется радиально-упорный подшипник качения с последовательно расположенными перекрещивающимися роликами.

2. Редуктор двухступенчатый по п. 1, отличающийся тем, что сепаратор первой ступени неподвижно закреплен на сепараторе второй ступени, а сепаратор второй ступени неподвижно закреплен на правой части корпуса.

3. Редуктор двухступенчатый по п. 1, отличающийся тем, что выходной вал имеет V-образную канавку на наружной поверхности, а на внутренней поверхности корпуса напротив V-образной канавки выходного вала имеется Λ-образная канавка, расположенная так, что Λ-образная и V-образная канавки образуют кольцо с квадратом в радиальном сечении, в котором установлены ролики и элементы, образующие сепаратор радиально-упорного подшипника, при этом смежные ролики установлены под прямым углом друг к другу.

4. Редуктор двухступенчатый по п. 1, отличающийся тем, что его передаточное отношение находится в интервале 60-6000 при частоте вращения входного вала, находящейся в интервале 1000-40000 об/мин.

Описание

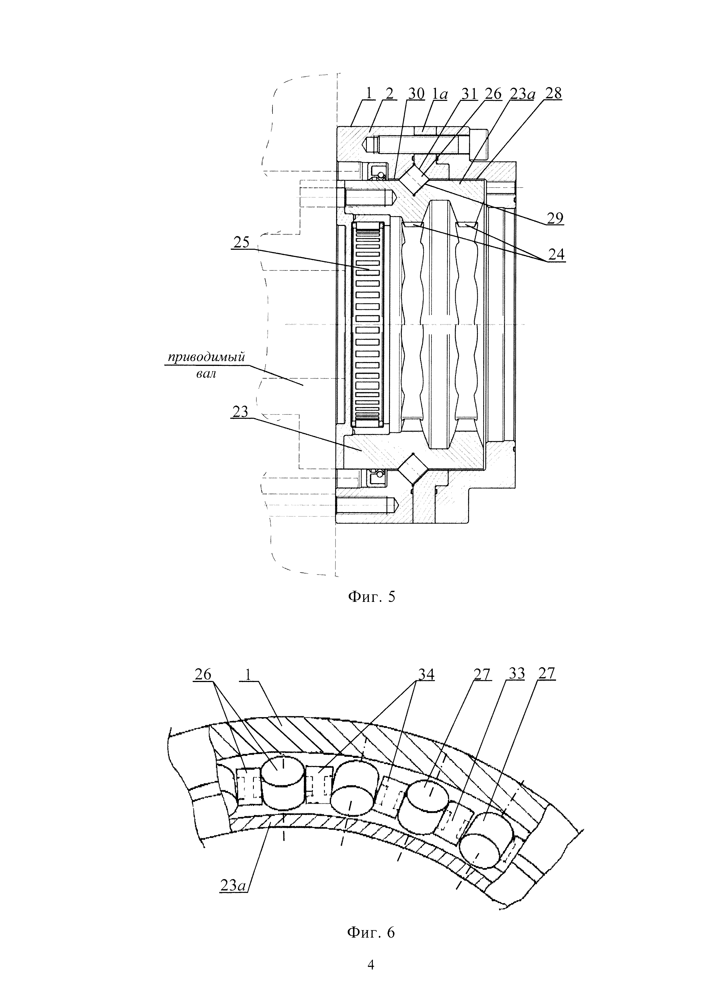
[1]

Изобретение относится к машиностроению, а именно к волновым редукторам с промежуточными телами качения.

[2]

Известна передача (патент RU №2126918 от 03.10.1996 г.), включающая основной корпус, выходной элемент, установленный с возможностью вращения относительно основного корпуса и образования вместе с ним по меньшей мере одного кольцеобразного гнезда, ограниченного рабочими поверхностями для аналогичных цилиндру элементов качения, при этом несколько элементов качения расположены параллельно оси основного корпуса, в то время как остальные элементы качения ориентированы перпендикулярно к оси, а расстояние между противолежащими рабочими поверхностями соответствует диаметру элементов качения.

[3]

Недостаток данной передачи - массивные крестообразные диски, преобразующие вращательное движение входного вала в их колебательное движение и во вращательное движение выходного вала, имеющие высокую инерционность деталей, присоединенных к входному валу.

[4]

Известна планетарная эпициклическая передача (заявка WO №2016/193286 от 04.06.2015), содержащая приводной элемент, приводящий в движение множество планетарных зубчатых колес, причем каждая планетарная передача прикреплена к планетарному держателю, вращается вокруг планетарной оси и имеет, по меньшей мере, один зубчатый участок, зацепляясь, по меньшей мере, с одной кольцевой шестерней; кольцевые шестерни или планетарный держатель, таким образом, совершают вращение вокруг центральной оси планетарной зубчатой передачи, а другая из кольцевых шестерен и планетарный держатель прикреплены к неподвижной части зубчатой передачи, причем каждая планетарная шестерня прикреплена к планетарному держателю, по меньшей мере, одним планетарным соединителем, который вращается вокруг оси, которая смещена и параллельна планетарной оси так, что поворот упомянутого, по меньшей мере, одного планетарного соединителя изменяет расстояние между центральной осью и планетарной осью с помощью эксцентрикового соединения.

[5]

Недостаток данной передачи - в высокой инерционности вращающихся деталей, присоединенных к входному валу, и низкой технологичности ее изготовления.

[6]

Известен электромеханический привод, имеющий волновой двухступенчатый редуктор с промежуточными телами качения (патенты RU №108238 от 09.06.2010 г. и RU №108239 от 09.06.2010 г., прототипы), состоящий из корпуса с левой и правой, соединенными между собой торцевыми частями, в котором концентрично относительно центральной оси размещены: волновая передача первой ступени с входным валом, имеющим, по меньшей мере, две эксцентрично расположенные цилиндрические поверхности с противоположно направленными эксцентриситетами и с подшипниками качения на эксцентрично расположенных цилиндрических поверхностях и, по меньшей мере, с одним опорным подшипником качения; сепаратор первой ступени с размещенными в нем, по меньшей мере, двумя рядами тел качения, взаимодействующими с эксцентрично расположенными цилиндрическими поверхностями неподвижный относительно корпуса; втулка, являющаяся входным валом второй ступени, охватывающая сепаратор первой ступени, с внутренними эпициклическими поверхностями втулки, количество которых равно количеству рядов промежуточных тел качения, расположенных в сепараторе первой ступени и взаимодействующих с телами качения, с эксцентрично расположенными цилиндрическими поверхностями на втулке, эксцентриситеты которых являются противоположно направленными, и с подшипниками качения на эксцентрично расположенных цилиндрических поверхностях и с опорными подшипниками качения; сепаратор второй ступени с размещенными в нем рядами тел качения при количестве рядов, равном количеству эксцентрично расположенных на втулке цилиндрических поверхностей с подшипниками качения; выходной вал, расположенный в корпусе на двух радиально-упорных подшипниках.

[7]

Недостаток данного редуктора - в сложности его конструкции и трудоемкости его обслуживания, обусловленной, в частности, расположением электродвигателя внутри корпуса.

[8]

Техническая задача изобретения - снижение инерционности вращающихся деталей, присоединенных к входному валу, и повышение технологичности изготовления редуктора.

[9]

Техническая задача решена в конструкции редуктора двухступенчатого, состоящего из корпуса с левой и правой, соединенных между собой, торцевыми частями, в котором концентрично относительно центральной оси размещены: волновая передача первой ступени с входным валом, имеющим, по меньшей мере, две эксцентрично расположенные цилиндрические поверхности с противоположно направленными эксцентриситетами с установленными на них подшипниками качения, на которых установлены внешние кольца, и, по меньшей мере, с одним опорным подшипником качения; сепаратор первой ступени, неподвижный относительно корпуса, с размещенными в нем, по меньшей мере, двумя рядами тел качения, взаимодействующих с эксцентрично расположенными цилиндрическими поверхностями; втулка, являющаяся входным валом волновой передачи второй ступени, охватывающая сепаратор первой ступени, имеющая внутренние эпициклические поверхности, количество которых равно количеству рядов тел качения, расположенных в сепараторе первой ступени, а также эксцентрично расположенные цилиндрические поверхности на втулке, эксцентриситеты которых являются противоположно направленными, и с расположенными на них подшипниками качения, и радиальные подшипники качения на левом конце втулки; сепаратор второй ступени с размещенными в нем рядами тел качения при количестве рядов, равном количеству эксцентрично расположенных на втулке цилиндрических поверхностей с подшипниками качения; выходной вал, установленный в подшипниках в корпусе редуктора, при этом сепаратор второй ступени закреплен креплен на правой части корпуса; выходным валом редуктора является втулка, охватывающая сепаратор второй ступени и имеющая внутренние эпициклические поверхности, количество которых равно количеству рядов тел качения в сепараторе второй ступени; между выходным валом и корпусом имеется радиально-упорный подшипник качения с последовательно расположенными перекрещивающимися роликами.

[10]

Для снижения трудоемкости процесса сборки редуктора сепаратор первой ступени неподвижно закреплен на сепараторе второй ступени, а сепаратор второй ступени неподвижно закреплен на правой части корпуса.

[11]

Для уменьшения массы и габаритов редуктора выходной вал имеет V-образную канавку на наружной поверхности, а на внутренней поверхности корпуса напротив V-образной канавки выходного вала имеется Λ-образная канавка, расположенная так, что Λ-образная и V-образная канавки образуют кольцо с квадратом в радиальном сечении, в котором установлены ролики и элементы, образующие сепаратор радиально-упорного подшипника, при этом смежные ролики установлены под прямым углом друг к другу.

[12]

Для снижения массы передаточное отношение двухступенчатого редуктора находится в интервале 60-6000 при частоте вращения входного вала, находящейся в интервале 1000-40000 об/мин.

[13]

Решение технической задачи, - снижение инерционности вращающихся деталей, присоединенных к входному валу, и повышение технологичности изготовления редуктора, - достигается за счет следующей новой совокупности отличительных признаков редуктора: сепаратор второй ступени закреплен на правой части корпуса; выходным валом редуктора является втулка, охватывающая сепаратор второй ступени и имеющая внутренние эпициклические поверхности, количество которых равно количеству рядов тел качения в сепараторе второй ступени; между выходным валом и корпусом имеется радиально-упорный подшипник качения с перекрещивающимися роликами.

[14]

Для снижения трудоемкости процесса сборки редуктора сепаратор первой ступени неподвижно закреплен на сепараторе второй ступени, а сепаратор второй ступени неподвижно закреплен на правой части корпуса.

[15]

Для уменьшения массы и габаритов редуктора выходной вал имеет V-образную канавку на наружной поверхности, а на внутренней поверхности корпуса напротив V-образной канавки выходного вала имеется Λ-образная канавка, расположенная так, что Λ-образная и V-образная канавки образуют кольцо с квадратом в радиальном сечении, в котором установлены ролики и элементы, образующие сепаратор радиально-упорного подшипника, при этом смежные ролики установлены под прямым углом друг к другу.

[16]

Данная совокупность отличительных признаков не обнаружена в ходе проведенного патентно-информационного исследования, следовательно, изобретение соответствует критерию "новизна". Она также не следует явно из уровня техники, следовательно, оно соответствует критерию "изобретательский уровень".

[17]

На фиг. 1 показан редуктор двухступенчатый в сборе.

[18]

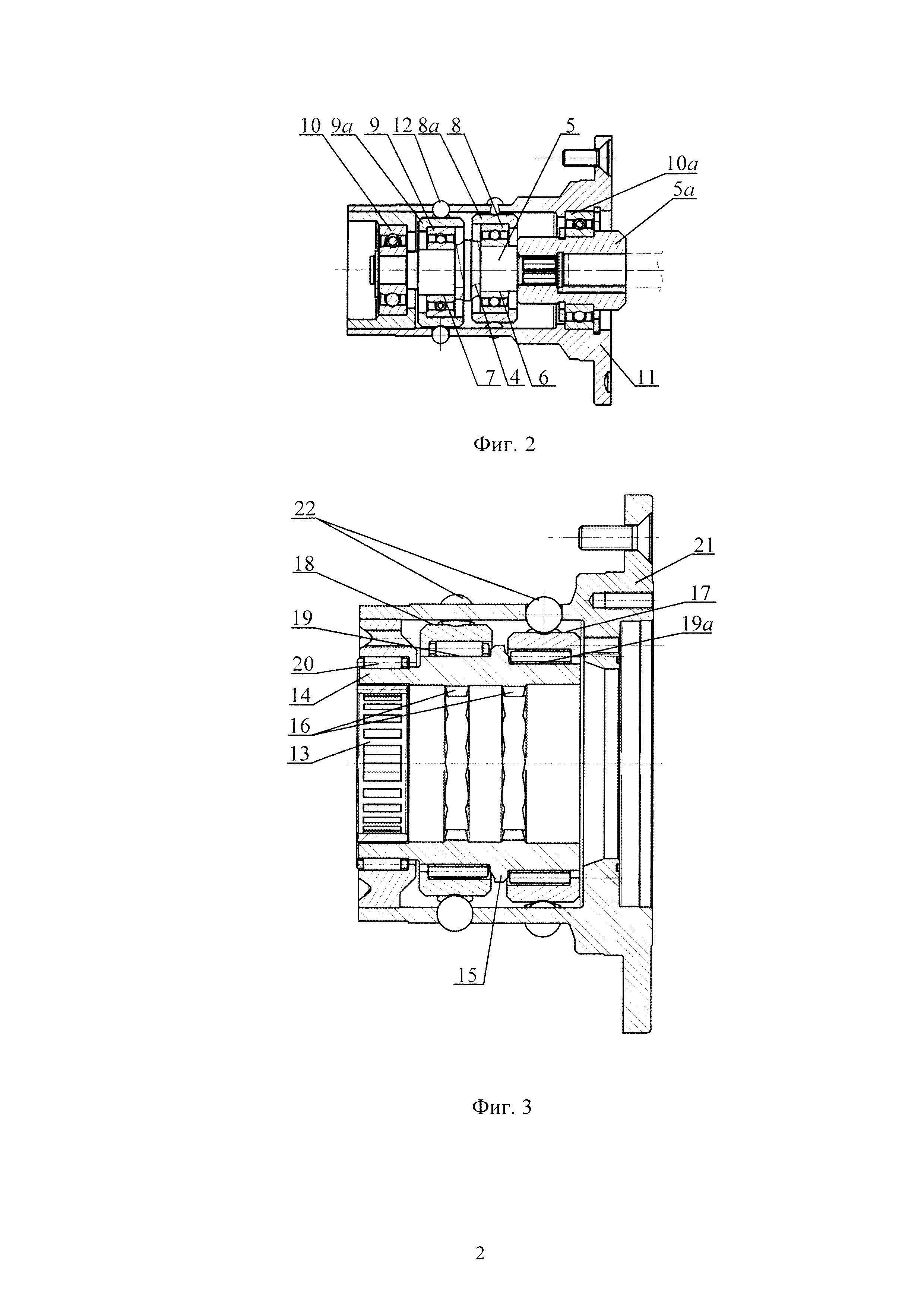
На фиг. 2 - блок первой ступени редуктора со входным валом.

[19]

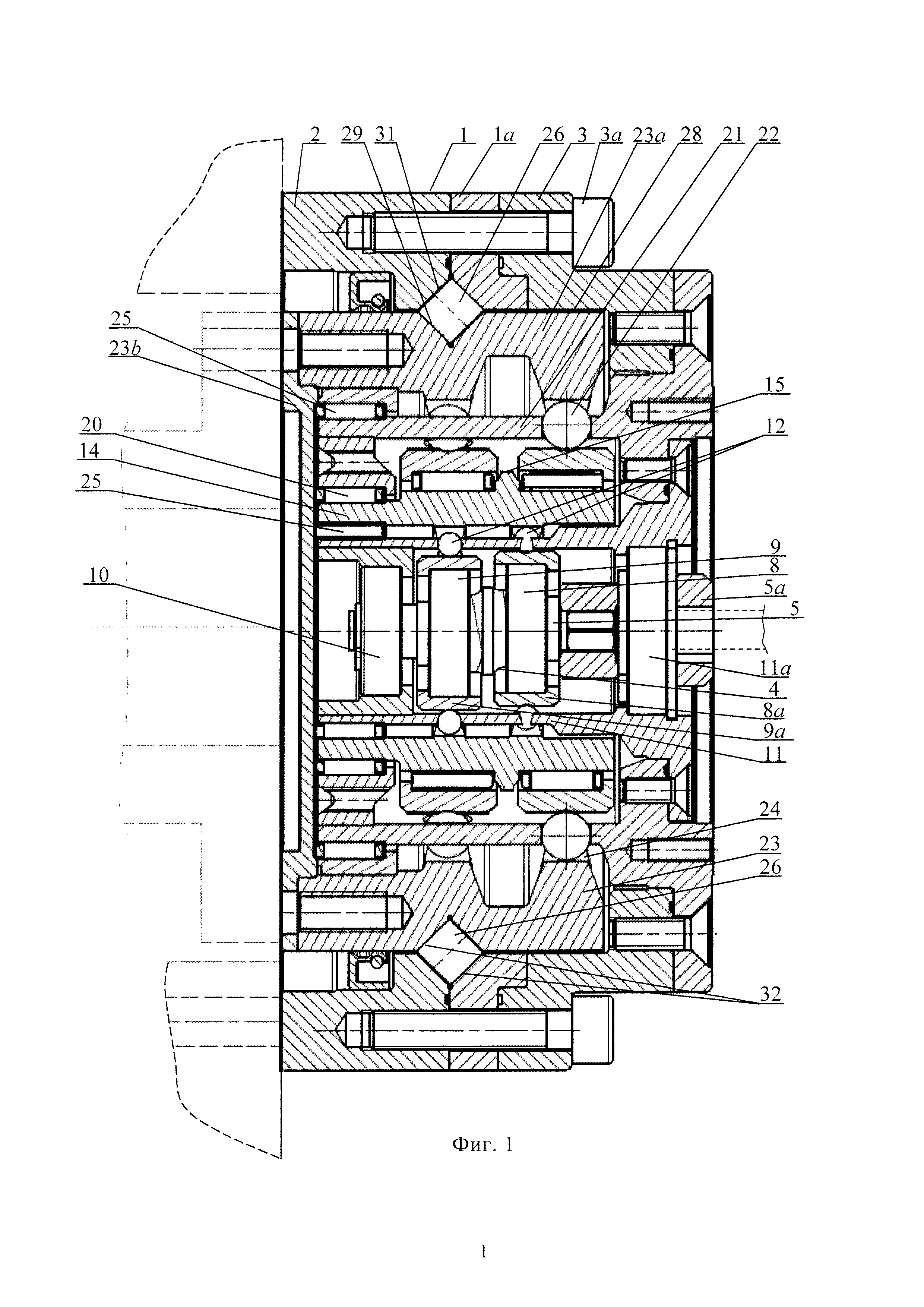
На фиг. 3 - блок второй ступени редуктора.

[20]

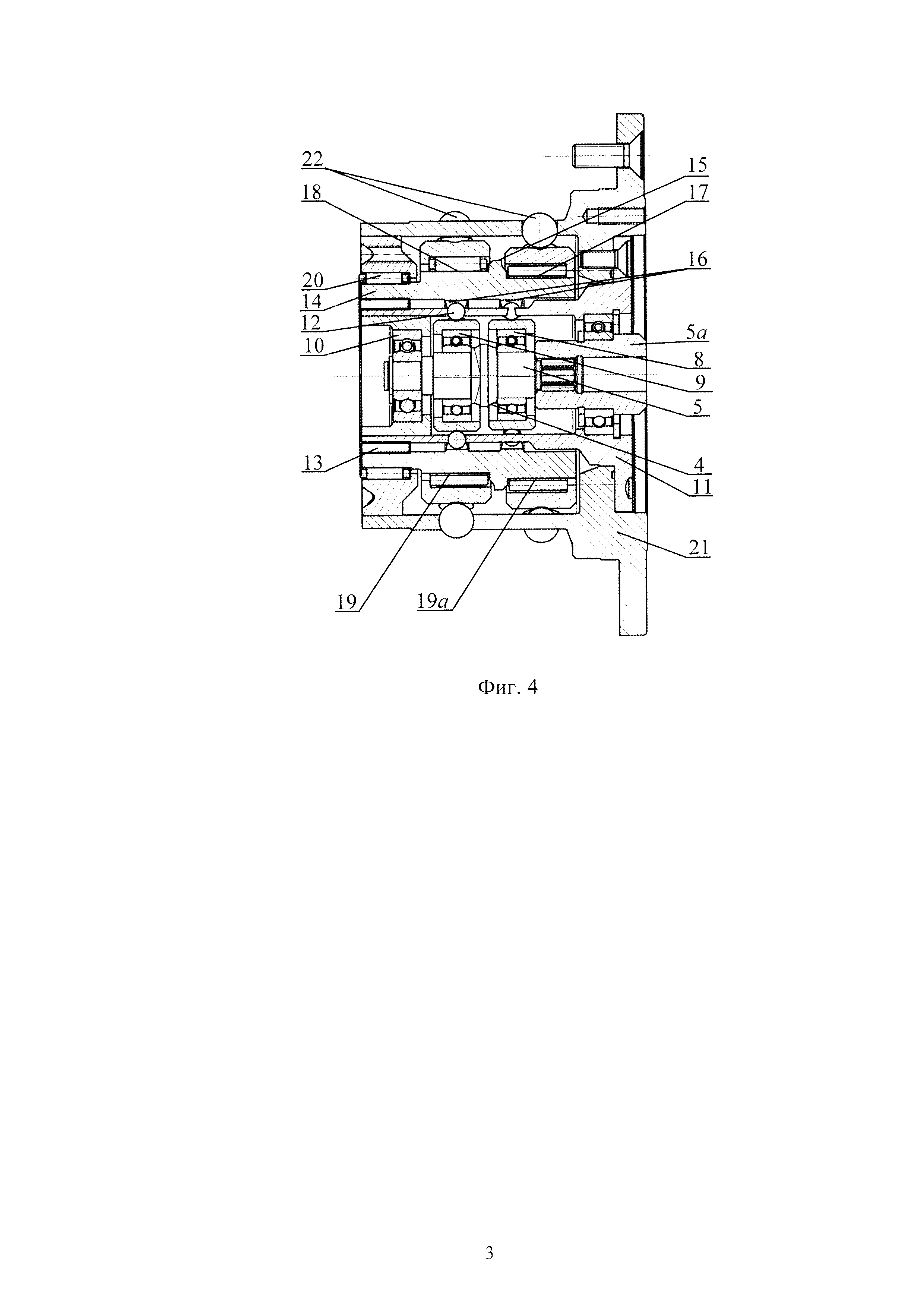
На фиг. 4 - блоки первой и второй ступени редуктора.

[21]

На фиг. 5 - блок корпуса с выходным валом.

[22]

На фиг. 6 - конструкция подшипника качения с перекрещивающимися роликами, показанная на фиг. 5.

[23]

Редуктор двухступенчатый (фиг. 1-6) состоит из корпуса 1 (фиг. 1) с левой торцевой частью 2, правой торцевой частью 3 и вставкой 1a, соединенных между собой винтами 3а, в котором концентрично относительно центральной оси размещены:

[24]

- волновая передача 4 (фиг.2) первой ступени с входным валом 5, имеющим две эксцентрично расположенные цилиндрические поверхности 6 и 7 с противоположно направленными эксцентриситетами с установленными на них подшипниками 8 и 9 качения с кольцами 8а и 9а на них и с одним радиальным подшипником 10 качения на одном конце входного вала 5 и с подшипником 10а качения на втулке 5а входного вала 5;

[25]

- сепаратор 11 волновой передачи 4 с размещенными в нем двумя рядами тел 12 качения, взаимодействующими с кольцами 8а и 9а и радиальным подшипником 13 качения (фиг. 4) на левом конце сепаратора 11;

[26]

- втулка 14 (фиг. 3), являющаяся входным валом волновой передачи 15 второй ступени, охватывающая сепаратор 11 волновой передачи 4, имеющая внутренние эпициклические поверхности 16, количество которых равно количеству рядов тел 12 качения, расположенных в сепараторе 11 волновой передачи 4, а также эксцентрично расположенные цилиндрические поверхности 17 и 18 на втулке 14, эксцентриситеты которых являются противоположно направленными, с расположенными на них подшипниками 19 и 19а качения, и радиальные подшипники 20 качения на левом конце втулки 14;

[27]

- сепаратор 21 волновой передачи 15 второй ступени (фиг. 3, 4), закрепленный на правой торцевой части 3 корпуса 1 (фиг. 1), с размещенными в нем двумя рядами промежуточных тел 22 качения (фиг. 3, 4), количество которых равно количеству эксцентрично расположенных на втулке 14 цилиндрических поверхностей 17 и 18 с подшипниками 19 и 19а качения (фиг. 3, 4).

[28]

Выходным валом 23 (фиг. 5) редуктора является втулка 23а, охватывающая сепаратор 21 волновой передачи 15 второй ступени и имеющая внутренние эпициклические поверхности 24, количество которых равно количеству рядов промежуточных тел 22 качения (фиг. 4) в сепараторе 21 волновой передачи 15,

[29]

- между выходным валом 23 (фиг. 1) и корпусом 1 имеется радиально-упорный подшипник 26 качения (фиг. 6) с последовательно расположенными перекрещивающимися роликами 27.

[30]

Радиальные подшипники 10, 13, 20 и 25 качения, установленные на левых концах входного вала 5 сепараторов 11 и 21 первой ступени и втулок 14 и 25, а также радиально-упорный подшипник 26 создают жесткую опорную систему для неподвижных и вращающихся деталей редуктора, исключая их вибрацию в процессе работы, которая могла бы быть вызвана колебательными процессами в волновых передачах 4 и 15.

[31]

Вставка 1а (фиг. 1) введена для снижения трудоемкости изготовления корпуса 1.

[32]

Для снижения трудоемкости процесса сборки редуктора сепаратор 11 (фиг. 1-3) волновой передачи 4 неподвижно закреплен на сепараторе 21 (фиг. 1, 3, 4) волновой передачи 15 второй ступени, который неподвижно закреплен на правой торцевой части 3 (фиг. 1) корпуса 1.

[33]

Для уменьшения габаритов и массы редуктора выходной вал 23 (фиг. 1) имеет на наружной поверхности 28 V-образную канавку 29, а на внутренней поверхности 30 (фиг. 5) корпуса 1 (фиг. 1) напротив V-образной канавки 29 имеется Λ-образная канавка 31, образованная из конических поверхностей на левой торцевой части 2 и вставке 1а, расположенная так, что V-образная канавка 29 и Λ-образная канавка 31 образуют кольцо 32 с квадратом в радиальном сечении, в котором установлены ролики 27 и элементы 33, образующие сепаратор 34 (фиг. 6) радиально-упорного подшипника 26, при этом смежные ролики 27 установлены под прямым углом друг к другу.

[34]

Для снижения массы передаточное отношение двухступенчатого редуктора находится в интервале 60-6000 при частоте вращения входного вала 5, находящейся в интервале 1000-40000 об/мин.

[35]

При вращении входного вала 5 вращаются две эксцентрично расположенные цилиндрические поверхности 6 и 7, при этом два ряда тел 12 качения, размещенные в неподвижном относительно корпуса 1 сепараторе 11, перемещаются в радиальном направлении, совершая волнообразные движения с периодом, равным периоду одного оборота входного вала 5 и амплитудой, равной удвоенному эксцентриситету поверхности 6 или 7. Промежуточные тела 12 качения, взаимодействуя с внутренней эпициклической поверхностью 16 втулки 14, с внешними кольцами 8а и 9а и сепаратором 11, поворачивают втулку 14 на угол, меньший угла поворота входного вала 5 в числораз, равное числу волн внутренней профилированной эпициклической поверхности 16 втулки 14.

[36]

Втулка 14 является входным валом волновой передачи 15 второй ступени; при вращении втулки 14 вращаются эксцентрично расположенные цилиндрические поверхности 17 и 18; взаимодействуя с кольцами подшипников 19 и 19а качения, два ряда тел 22 качения, размещенные в сепараторе 21, перемещаются в радиальном направлении, совершая колебательные движения с периодом, равным периоду одного оборота втулки 23а и амплитудой, равной удвоенному эксцентриситету поверхности 17 или 18. Промежуточные тела 22 качения, взаимодействуя с внутренней эпициклической поверхностью 24 втулки 23а, с кольцами подшипников 19 и 19а качения и сепаратором 21, поворачивают втулку 23а на угол, меньший угла поворота втулки 14 в число раз, равное числу волн внутренней профилированной эпициклической поверхности 24 втулки 23а.

[37]

Общее передаточное отношение редуктора равно произведению чисел волн внутренних профилированных эпициклических поверхностей 24 и 16.

Как компенсировать расходы
на инновационную разработку
Похожие патенты