патент
№ RU 2627991
МПК G01C9/36

ДАТЧИК УГЛА НАКЛОНА ОБЪЕКТА

Авторы:
Ивашин Александр Федорович
Номер заявки
2016131156
Дата подачи заявки
27.07.2016
Опубликовано
14.08.2017
Страна
RU
Как управлять
интеллектуальной собственностью
Чертежи 
3
Реферат

Изобретение относится к устройствам для измерения углов наклона объекта в трехмерной системе координат относительно гравитационного и магнитного полей Земли и может быть использовано при горизонтально-наклонном бурении скважин. Датчик угла наклона объекта, чувствительный элемент которого выполнен в виде шара со смещенным центром масс, снабженным постоянным магнитом, размещенным в корпусе из полусфер, состоящих из немагнитных электропроводных изолированных друг от друга секторов, и удерживающегося концентрично сфере гидростатическим подвесом за счет сил поверхностного натяжения жидкости, заполняющей сферический зазор, и нулевой плавучести, обеспечивающего измерение углов наклона объекта по трем осям одновременно за счет рассогласования сигналов емкостного сопротивления и частоты между секторами полусфер корпуса, при этом полусферы шара выполнены из диэлектрика и снабжены оппозитно расположенными электропроводящими немагнитными гальванически соединенными или разъединенными между собой экранами размером до 1/4 сферы. Технический результат – повышение стабильности и точности измерений углов наклона объекта. 4 ил.

Формула изобретения

Датчик угла наклона объекта, чувствительный элемент которого выполнен в виде шара со смещенным центром масс, снабженным постоянным магнитом, размещенным в корпусе из полусфер, состоящих из немагнитных электропроводных изолированных друг от друга секторов, и удерживающегося концентрично сфере гидростатическим подвесом за счет сил поверхностного натяжения жидкости, заполняющей сферический зазор, и нулевой плавучести, обеспечивающего измерение углов наклона объекта по трем осям одновременно за счет рассогласования сигналов емкостного сопротивления и частоты между секторами полусфер корпуса, отличающийся тем, что полусферы шара выполнены из диэлектрика и снабжены оппозитно расположенными электропроводящими немагнитными гальванически соединенными или разъединенными между собой экранами размером до 1/4 сферы.

Описание

[1]

Изобретение относится к устройствам для измерения углов наклона объекта в трехмерной системе координат относительно гравитационного и магнитного полей Земли и может быть использовано при горизонтально-наклонном бурении скважин.

[2]

Известны устройства для измерения угла наклона объекта:

[3]

1. А.с. СССР №553443, МКИ2 G01C 9/00. Устройство для измерения угла наклона. - Опубл. 05.04.77. Бюл. №13.

[4]

2. А.с. СССР №876979, МКИ3 Е21В 47/02. Устройство для определения положения инструмента в скважине. - Опубл. 30.10.81. Бюл. №40.

[5]

3. А.с. SU №1155732, МКИ4 Е21В 47/02. Устройство для контроля параметров траектории скважины. - Опубл. 15.05.85. Бюл. №18.

[6]

4. А.с. SU №1199916, МКИ4 Е21В 47/02. Устройство для контроля параметров траектории скважины. - Опубл. 23.12.85. Бюл. №47.

[7]

5. А.с. SU №555284, МКИ2 G01C 9/12, Е21В 47/02. Устройство для контроля параметров траектории скважины. - Опубл. 25.04.77. Бюл. №15.

[8]

Недостатки устройств:

[9]

- практически использовать указанные устройства для измерения угла наклона скважины в процессе бурения невозможно, так как они конструктивно и технологически сложны, дороги и некоторые из них (устройства 1, 2,) предназначены только для измерения отклонений по одной из осей, тем самым могут применяться для измерения по трем осям координат при расположении датчиков в каждой плоскости, соответствующей оси, что значительно усложняет устройство и схему преобразования сигналов;

[10]

- подвес в эквидистантном положении чувствительных элементов обеспечивается подачей воздуха к опорам, что требует дополнительных вспомогательных устройств (компрессор, ресивер, приспособления и пр.) для обеспечения подвеса.

[11]

Ближайшим техническим устройством, выбранным в качестве прототипа, является патент на изобретение [6. Пат. RU №2506540 С1, МПК G01C 9/36. Датчик угла наклона / Ивашин А.Ф., Осипов Е.В., Мелихов А.А. - Опубл. 10.02.2014. Бюл. №4].

[12]

Несмотря на многие преимущества по сравнению с аналогами у прототипа выявлены следующие недостатки:

[13]

- при подвижном экране в виде полусферы и зенитном угле равном нулю емкостный преобразователь не будет чувствовать изменение азимутального угла: чувствительность к изменению азимута зависит от изменения зенитного угла;

[14]

- при зенитном угле равном 90° емкостный преобразователь не будет чувствовать изменения по крену: чувствительность к изменению по азимуту максимальная.

[15]

Целью изобретения является создание простого, надежного, стабильного в работе, малогабаритного датчика угла наклона объекта в пространстве в трехмерной системе координат относительно гравитационного и магнитного полей Земли, со стабильной чувствительностью и точностью, исключающего недостатки аналогов и прототипа.

[16]

В предлагаемом датчике угла наклона объекта чувствительный элемент выполнен в виде шара со смещенным центром масс, снабженным постоянным магнитом, размещенным в корпусе из полусфер, состоящих из немагнитных электропроводных изолированных друг от друга секторов. Шар удерживается концентрично сфере гидростатическим подвесом за счет сил поверхностного натяжения жидкости, заполняющей сферический зазор, и нулевой плавучести. Шар обеспечивает измерение углов наклона объекта по трем осям одновременно за счет рассогласования сигналов емкостного сопротивления и частоты между секторами полусфер корпуса.

[17]

Осуществление поставленной цели достигается тем, что:

[18]

- полусферы шара выполнены из диэлектрика и снабжены оппозитно расположенными электропроводящими немагнитными гальванически соединенными или разъединенными между собой экранами размером до 1/4 сферы. В зависимости от принятой логики расшифровки сигналов экраны можно гальванически не соединять между собой (в данном изобретении не рассматривается);

[19]

- шар за счет сил поверхностного натяжения жидкости при нулевой плавучести удерживается концентрично сфере и, вращаясь под действием гравитационной силы и силы магнитного поля Земли, при изменении положения объекта создает сигнал рассогласования между секторами полусфер корпуса, который посредством преобразователя сигналов регистрируется записывающей аппаратурой как углы наклона объекта по трем осям одновременно.

[20]

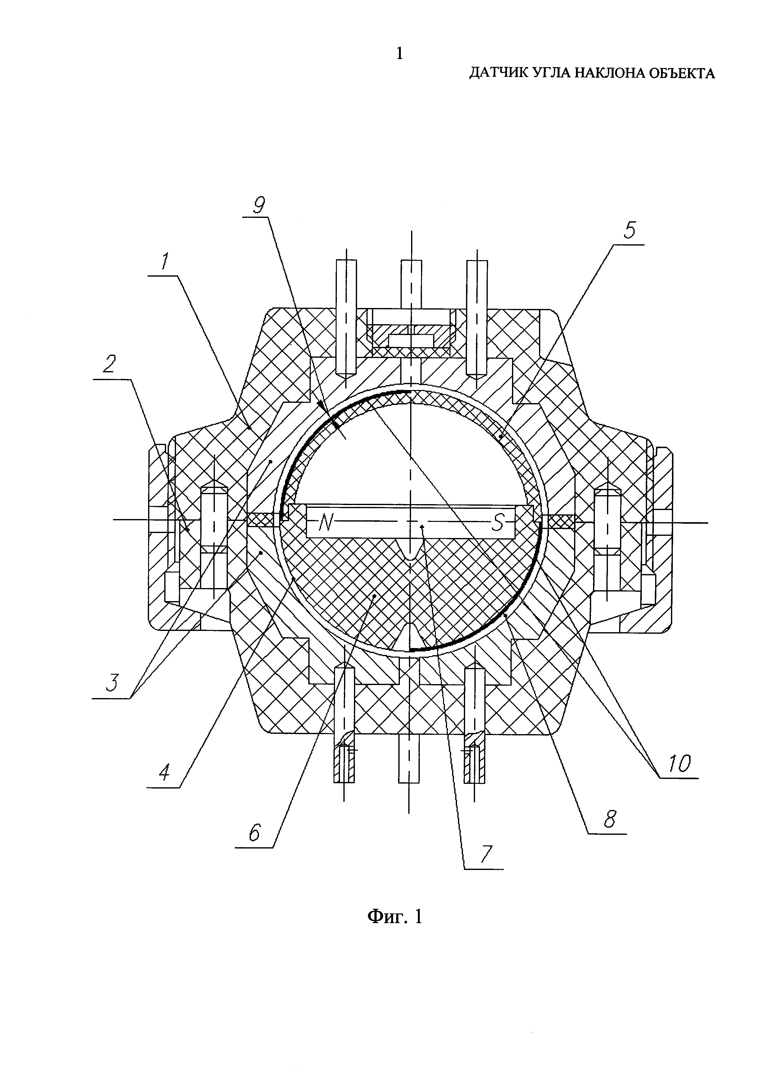
Изобретение поясняется чертежами, где на фиг. 1 представлен датчик угла наклона объекта в пространстве в трехмерной системе координат относительно гравитационного и магнитного полей Земли, содержащий пустотелый корпус из полусфер 1 и 2, которые состоят из немагнитных электропроводящих, изолированных друг от друга секторов 3 с помещенным внутри шаром 4 со смещенным центром масс и нулевой плавучестью, состоящим из полусферы 5 и полусферы 6 с постоянным магнитом 7 на гидростатическом подвесе жидкости 8, заполняющей эквидистантный зазор 9 по сферической поверхности. Полусферы шара 5 и 6 выполнены из диэлектрика и обе снабжены оппозитно расположенными электропроводящими немагнитными гальванически соединенными или разъединенными между собой экранами 10 размером до 1/4 сферы.

[21]

На фиг. 2, 3, 4 указано положение экранов 10 на шаре при положении шара в исходном состоянии (нулевом, соответствующем фиг. 1).

[22]

Предлагаемый датчик, исключая недостатки существующих конструкций, при стабильной чувствительности, надежности и устойчивости к ударным и вибрационным нагрузкам обеспечивает достаточную точностьзамера углов наклона объекта в трехмерной системе координат относительно гравитационного и магнитного полей Земли посредством преобразователя сигналов на базе схем по емкостному сопротивлению или изменению частоты.

[23]

Принцип действия датчика угла наклона. Отклонение датчика, установленного на объект с требованием обеспечения углов наклона в заданных пределах в трехмерной системе координат, сопровождается вращением шара 4 под действием гравитационной и магнитной силы при эксцентриситете центра масс относительно оси вращения, в результате чего возникают разности емкостных сопротивлений и изменения частоты в каждой из осей перемещения шара 4 в связи с рассогласованием по перекрытию электропроводящими немагнитными экранами 10 относительно электропроводящих немагнитных секторов 3, что регистрируется преобразователем сигналов (не показан) как углы наклона датчика по каждой из осей при замере по трем осям одновременно.

[24]

Датчик может быть выполнен с помощью стандартного оборудования и материалов отечественного производства. Предлагаемая конструкция датчика отличается простотой и технологичностью сборки, позволяет осуществить ремонт и замену отдельных элементов и при этом характеризуется простотой обслуживания и эксплуатации. Таким образом, заявленное устройство соответствует критерию «промышленная применимость».

[25]

Источники информации

[26]

1. А.с. СССР №553443, МКИ2 G01C 9/00. Устройство для измерения угла наклона. - Опубл. 05.04.77. Бюл. №13.

[27]

2. А.с. СССР №876979, МКИ3 Е21В 47/02. Устройство для определения положения инструмента в скважине. - Опубл. 30.10.81. Бюл. №40.

[28]

3. А.с. SU №1155732, МКИ4 Е21В 47/02. Устройство для контроля параметров траектории скважины. - Опубл. 15.05.85. Бюл. №18.

[29]

4. А.с. SU №1199916, МКИ4 Е21В 47/02. Устройство для контроля параметров траектории скважины. - Опубл. 23.12.85. Бюл. №47.

[30]

5. А.с. SU №555284, МКИ2 G01C 9/12, Е21В 47/02. Устройство для контроля параметров траектории скважины. - Опубл. 25.04.77. Бюл. №15.

[31]

6. Пат. RU №2506540 С1, МПК G01C 9/36. Датчик угла наклона / Ивашин А.Ф., Осипов Е.В., Мелихов А.А. - Опубл. 10.02.2014. Бюл. №4.

[32]

7. Пат. RU №2004786 С1, МПК 5 Е21В 47/02. Инклинометр. - Опубл. 1993. Бюл. №45-46.

[33]

8. Заявка на изобретение №94026114/03, МПК 6, Е21В 47/02. Гироинклинометр // Дата публикации заявки: 10.06.1996.

[34]

9. А.с. SU №802534, МКИ3 Е21В 47/02. Устройство для измерения угла наклона скважины. - Опубл. 1981. Бюл. №5.

[35]

10. Пат. RU №2065184 С1, МПК 6 G01V 3/18. Блок первичных преобразователей скважинного магнитометра-инклинометра / Астраханцев Ю.Г. - Опубл. 10.08.1996.

[36]

11. Пат. RU №2475703 С1, МПК 6 G01C 9/18. Датчик угла наклона / Опубл. 20.02.2013. Бюл. №5.

[37]

12. Пат. RU №2476668 С1, МПК 6 Е21В 47/02, G01V 1/40. Способ контроля искривления ствола скважины. Опубл. 27.02.2013. Бюл. №6.

[38]

13. Пат. RU №2495374 С1, МПК 6 G01C 9/00. Устройство для измерения пространственных угловых отклонений. Опубл. 10.10.2013. Бюл. №28.

[39]

14. Пат. RU №2501946 С1, МПК 6 E21B 47/02. Способ начальной азимутальной выставки скважинного прибора гироскопического инклинометра и азимутальный модуль. Опубл. 20.12.2013. Бюл. №35.

[40]

15. Пат. RU №2504651 С1, МПК 6 Е21В 47/02. Способ начальной азимутальной ориентации непрерывного гироскопического инклинометра и устройство для его осуществления. Опубл. 20.01.2014. Бюл. №2.

[41]

16. Пат. RU №2507392 С1, МПК 6 Е21В 47/02, G01C 19/44. Способ определения зенитного угла и азимута скважины и гироскопический инклинометр. Опубл. 20.02.2014. Бюл. №5.

[42]

17. Пат. RU №2517785 С1, МПК 6 G01C 19/18. Датчик угла наклона. Опубл. 27.05.2014. Бюл. №15.

[43]

18. ПМ RU №158774, G01C 9/00. Магнитожидкостное устройство для определения угла наклона. Опубл. 20.01.2016. Бюл. №2.

[44]

19. Гибридные микроэлектромеханические гироскопы и акселерометры / С.Ф. Коновалов и др. // Наука и образование: Электронное научно-техническое издание МГТУ им. Н.Э. Баумана. - 2011. - Октябрь. - Эл №ФС 77 - 30569/219257. - Режим доступа: http://technomag.edu.ru/doc/219257.html.

[45]

20. Ларионов С. Акселерометры компании ANALOG DEVICES // Электронные компоненты. - 2005. - №11. - С. 125-129.

[46]

21. Бузыканов С. Датчик наклона на основе твердотельного акселерометра // Современная электроника. - 2004. - Декабрь. - С. 42-45.

[47]

22. Как использовать акселерометр для определения угла наклона. - Режим доступа: http://www.robochamp.ru/index.php/articles/sensor/114-how-to-use-accelerometer-as-inclinometer.

Как компенсировать расходы
на инновационную разработку
Похожие патенты