патент
№ RU 2682152
МПК B64C3/56

Устройство складывания аэродинамической поверхности летательного аппарата

Авторы:
Туранов Андрей Михайлович
Номер заявки
2018111909
Дата подачи заявки
02.04.2018
Опубликовано
14.03.2019
Страна
RU
Как управлять
интеллектуальной собственностью
Чертежи 
5
Реферат

Устройство складывания аэродинамической поверхности летательного аппарата (ЛА) содержит подвижную и неподвижную части аэродинамической поверхности, исполнительные механизмы складывания в виде приводов и Г-образных качалок, короткие плечи которых зафиксированы на осях вращения, установленных в подвижной и неподвижной частях аэродинамической поверхности с возможностью полностью заключить в ее внутреннем пространстве механизм складывания. В сложенном положении все элементы устройства складывания размещаются во внутреннем пространстве аэродинамической поверхности. Длинные плечи Г-образных качалок посредством цапф закреплены в пазах кронштейнов, установленных в неподвижной и подвижной частях аэродинамической поверхности с возможностью поступательного движения подвижной части на конечном этапе складывания аэродинамической поверхности. Изобретение направлено на обеспечение поступательного движения без люфта и заклинивания. 5 ил.

Формула изобретения

Устройство складывания аэродинамической поверхности летательного аппарата, содержащее подвижную и неподвижную части аэродинамической поверхности, исполнительные механизмы складывания в виде приводов и Г-образных качалок, короткие плечи которых зафиксированы на осях вращения, установленных в подвижной и неподвижной частях аэродинамической поверхности с возможностью полностью заключить в ее внутреннем пространстве механизм складывания, отличающееся тем, что длинные плечи качалок посредством цапф закреплены в профилированных пазах кронштейнов, установленных в неподвижной и подвижной частях аэродинамической поверхности, на конечном этапе складывания аэродинамической поверхности происходит поступательное движение подвижной части.

Описание

[1]

Изобретение относится к ракетной технике и касается крупногабаритных складывающихся аэродинамических поверхностей летательного аппарата (ЛА) и механизмов их складывания.

[2]

Известна складная аэродинамическая поверхность, описанная в патенте [1. RU 2349498 С1, МПК6 В64С 3/56, В64С 9/34. Складная аэродинамическая поверхность / Соловей В.А., Шибаев Б.И. - (04.07.2007). Опубл. 20.03.2009. Бюл. №8.], состоящая из подвижной и неподвижной частей, устройства раскладывания и фиксации, состоящего из привода, соединенного с одним из концов троса, второй конец которого соединен с подвижной частью аэродинамической поверхности.

[3]

Недостатками устройства складывания, описанного в данном патенте, являются: отсутствие этапа поступательного движения без вращения подвижной части аэродинамической поверхности; невозможность конструктивно обеспечить расположение механизма во внутреннем пространстве аэродинамической поверхности в сложенном положении при больших требуемых усилиях на штоке цилиндра; невозможность складывания на угол до 180°, что увеличивает габариты всей аэродинамической поверхности в исходном состоянии и уменьшает диапазон применения устройства складывания.

[4]

Известно устройство, описанное в патенте США [2. US 4215587 А, МПК В64С 1/30. Folding mechanism / Adrian V. Kisovec. - (02.08.1977). Опубл. 05.08.1980.]. Механизм складывания, состоящий из червячной передачи и кривошипного механизма, обеспечивает поворот подвижной части на угол до 180°. Недостатком механизма складывания, описанного в данном патенте, является отсутствие этапа поступательного движения без вращения подвижной части аэродинамической поверхности. При этом ось вращения находится за габаритами аэродинамической поверхности, что не обеспечивает расположение всего механизма во внутреннем пространстве аэродинамической поверхности.

[5]

Ближайшим техническим устройством, выбранным в качестве прототипа, является устройство, описанное в патенте США [3. US 20170174314 А1, МПК В64С 3/56. Wing fold mechanism / Richard G. Diamante. - (17.12.2015). Опубл. 22.06.2017.]. Механизм складывания крыла, состоящий из Г-образных качалок, обеспечивающий поворот подвижной части на угол до 180° и в сложенном положении полностью размещающийся во внутреннем пространстве аэродинамической поверхности. Недостатками данного изобретения являются сложная конструкция устройства, а также отсутствие этапа поступательного движения без вращения подвижной части аэродинамической поверхности. Отсутствие данного этапа не позволяет обеспечить точную, без люфта и заклинивания, стыковку габаритных аэродинамических поверхностей и усложняет процесс складывания.

[6]

Задачей предлагаемого изобретения является обеспечение поступательного движения без вращения на конечном этапе после вращательного движения на угол до 180° подвижной части аэродинамической поверхности. При этом должен обеспечиваться плавный (без ударов и остановок) переход вращательного движения в поступательное.

[7]

Предлагаемое устройство складывания аэродинамической поверхности ЛА содержит подвижную и неподвижную части аэродинамической поверхности, исполнительные механизмы складывания в виде приводов и Г-образных качалок, короткие плечи которых зафиксированы на осях вращения, установленных в подвижной и неподвижной частях аэродинамической поверхности с возможностью полностью заключить в ее внутреннем пространстве механизм складывания. Длинные плечи качалок посредством цапф, закрепленных в профилированных пазах кронштейнов, установленных в неподвижной и подвижной частях аэродинамической поверхности, при этом на конечном этапе складывания аэродинамической поверхности происходит поступательное движение подвижной части.

[8]

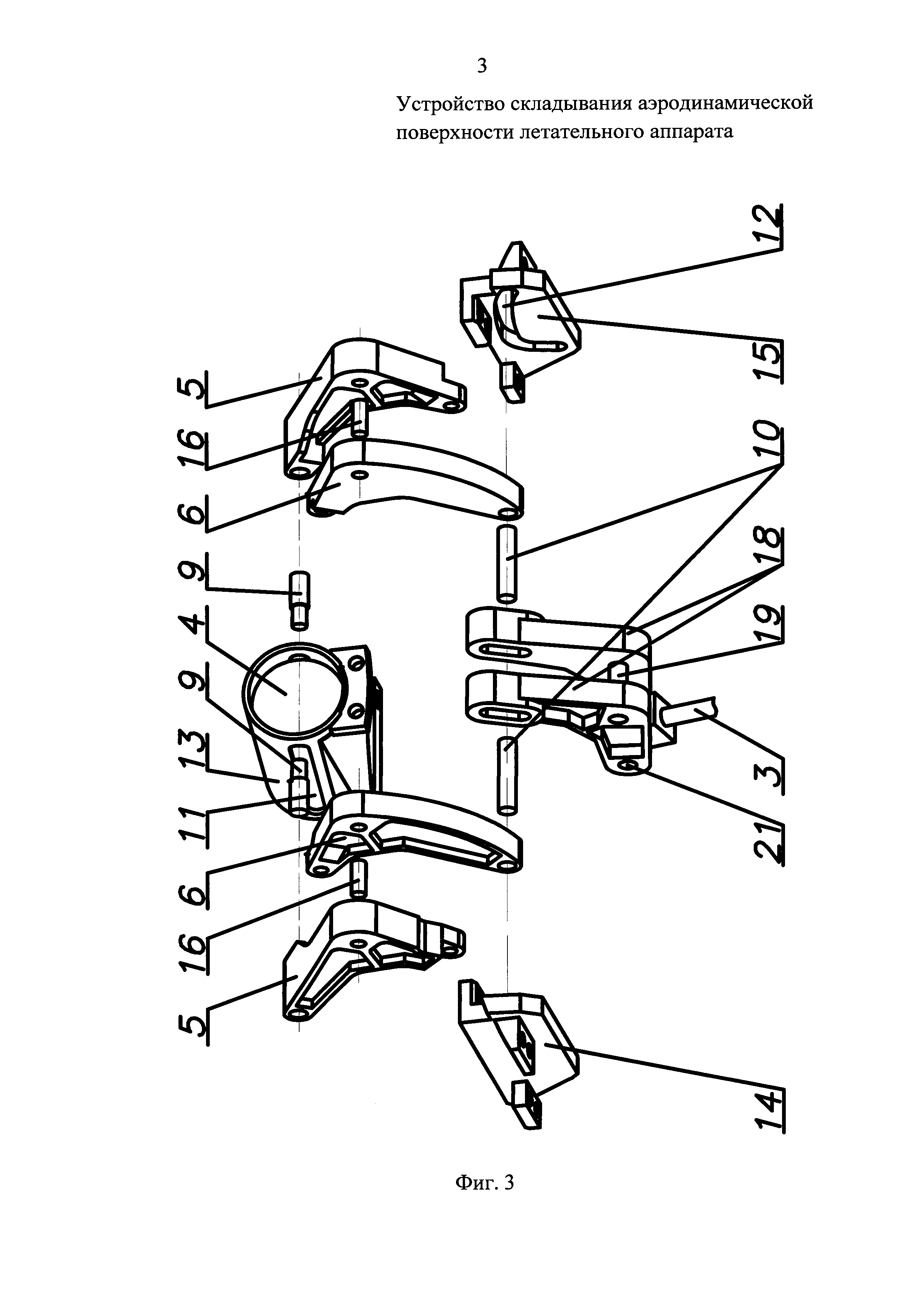
На фиг. 1, 2, 3 представлено устройство предлагаемого изобретения, содержащего подвижную 1 и неподвижную 2 части аэродинамической поверхности, приводы 3 и 4, Г-образные качалки 5 и 6, закрепленные короткими плечами на осях вращения 7 и 8, неподвижно установленных в частях 1 и 2 аэродинамической поверхности. Длинные плечи Г-образных качалок 5 и 6 посредством цапф 9 и 10 установлены в профилированные пазы 11 и 12 кронштейнов 13, 14 и 15, неподвижно закрепленных в частях 1 и 2. Между собой Г-образные качалки 5 и 6 соединены осью вращения 16. Цапфы 10 через овальные отверстия 17 соединены с качалками 18, которые на оси вращения 19 в кронштейне 20 закреплены в неподвижной части 2 аэродинамической поверхности. Через ось вращения 21 качалки 18 соединены с силовым приводом 3, расположенным в неподвижной части 2 аэродинамической поверхности. Цапфы 9 соединены с силовым приводом 4 и установлены в профилированных пазах 11 кронштейна 13 подвижной части 1 аэродинамической поверхности.

[9]

Количество Г-образных качалок 5 и 6, изображенных на фиг. 2, 3, принимается исходя из габаритов аэродинамических поверхностей и нагрузок на качалки.

[10]

Работа устройства осуществляется следующим образом.

[11]

К цапфам 9 и качалке 18 прикладываются усилия от силовых приводов в направлениях, указанных стрелками на фиг. 1, при этом начинается движение цапф 9 и 10 вдоль профилированных пазов 11 и 12 кронштейнов 13, 14 и 15. Форма пазов определена таким образом, что на начальном этапе осуществляется поворот подвижной части аэродинамической поверхности 1 относительно неподвижной 2 на угол до 180° (фиг. 4), затем, на конечном этапе, осуществляется поступательное движение без вращения (фиг. 5) до полного соприкосновения частей аэродинамической поверхности. При этом переход от вращательного движения к поступательному происходит плавно, без остановок и ударов.

[12]

Технический результат состоит в следующем:

[13]

- обеспечивается плавный переход вращательного движения подвижной части аэродинамической поверхности в поступательное;

[14]

- обеспечивается соосная стыковка подвижной и неподвижной частей аэродинамической поверхности без перекоса, люфта и заклинивания;

[15]

- упрощается устройство складывания и стыковки подвижной и неподвижной частей между собой;

[16]

- повышается надежность соединения.

[17]

Достижение технического результата осуществляется движением цапф длинных плеч Г-образных качалок по профилированным пазам, чем обеспечивается сложное движение подвижной части аэродинамической поверхности, состоящее из вращательного движения на начальном этапе и поступательного - на конечном этапе складывания аэродинамической поверхности.

[18]

Источники, принятые во внимание

[19]

1. Пат. RU 2349498 С1, МПК6 В64С 3/56, В64С 9/34. Складная аэродинамическая поверхность / Соловей В.А., Шибаев Б.И. - (04.07.2007). Опубл. 20.03.2009. Бюл. №8

[20]

2. Пат. US 4215587 А, МПК6 В64С 1/30. Folding mechanism / Adrian V. Kisovec. -(02.08.1977). Опубл. 05.08.1980.

[21]

3. Пат. US 20170174314 А1, МПК B64C 3/56. Wing fold mechanism / Richard G. Diamante. - (17.12.2015). Опубл. 22.06.2017.

[22]

4. Пат. RU 2453799 C1, МПК6 F42B 10/00. Складная аэродинамическая поверхность беспилотного летательного аппарата / Сабанцев В.М., Остапенко М.Ю. - (01.12.2010) Опубл. 20.06.2012. Бюл. №17.

[23]

5. Пат. на ПМ RU 73305 U1, МПК6 В64С 5/02, F42B 15/00. Механизм раскрытия стабилизатора ракеты / Кравчук А.П., Орелиов Г.Р., Сокольник B.C., Тарасов В.И., Хмелев В.И. - (26.02.2008). Опубл. 20.05.2008. Бюл. №14.

[24]

6. Пат. RU 2520812 С1, МПК6 F42B 10/16. Раскрываемый руль ракеты / Шестаков С.А., Земсков В.А. - (05.0312). Опубл. 27.06.2014. Бюл. №18.

[25]

7. Пат. RU 2503919 С1, МПК6 F42B 10/14; F42B 10/64; F64C 13/28. Привод несущей управляющей плоскости летательного аппарата / Михеев С.Г., Белюстин Л.В., Марцун Ю.В. - (09.10.12). Опубл. 10.01.2014. Бюл. №1.

[26]

8. Пат. RU 2520846 С1, МПК6 F42B 10/14. Аэродинамический руль ракеты / Шестаков С.А., Земсков В.А, Шаповалов А.И. - (29.03.2013). Опубл. 27.06.2014, Бюл. №18.

[27]

9. Пат. RU 2089833 С1 МПК6 F42B 10/02. Раскрывающийся аэродинамический стабилизатор летательного аппарата / Морозов И.В., Солдатенков И.Б. - (03.10.1994). Опубл. 10.09.1997.

[28]

10. Пат. RU 2015494 С1 МПК6 F42B 10/14. Стабилизатор / Сергеев Н.Н., Конышев А.В. - (25.02.1992). Опубл. 30.06.1994.

[29]

11. Пат. RU 2315261 С2 МПК6 F42B 15/00, F42B 10/62. Устройство стабилизации авиационной крылатой ракеты / Мельников В.Ю., Натаров Б.Н., Хомяков М.А., Шумов Ю.В. - (26.01.2006). Опубл. 20.01.2008. Бюл. №2.

[30]

12. Пат. RU 2587751 С1 МПК6 F42B 10/14, F42B 10/64, В64С 9/02, F15B 15/26. Раскрываемый руль / Горбачев А.Д., Ивашин А.Ф., Михайлов Ю.И., Вороньжев Д.Ю. - (16.03.2015). Опубл. 20.06.2016. Бюл. №17.

[31]

13. Пат. RU 2532286 С1, МПК6 F42B 10/16. Раскрываемый руль ракеты / Шевченко В.В., Шестаков С.А., Земсков В.А., Дергачев А.А. - (16.07.2013). Опубл. 10.11.2014. Бюл. №31.

[32]

14. Пат. CN 103963958 В МПК В64С 3/56. Механизм раскладывания крыла беспилотного летательного аппарата / Чжан Вэй. - 06.08.2014.

Как компенсировать расходы
на инновационную разработку
Похожие патенты