патент
№ RU 2395811
МПК G01N33/49

КЮВЕТА ДЛЯ ИССЛЕДОВАНИЯ ПРОСТРАНСТВЕННОГО СВЕРТЫВАНИЯ КРОВИ И ЕЕ КОМПОНЕНТОВ

Авторы:
Пантелеев Михаил Александрович Атауллаханов Фазоил Инаятович Сарбаш Василий Иванович
Все (4)
Номер заявки
2008144908/14
Дата подачи заявки
14.11.2008
Опубликовано
27.07.2010
Страна
RU
Как управлять
интеллектуальной собственностью
Чертежи 
4
Реферат

Изобретение относится к устройствам для исследования характеристик крови и ее компонентов, в частности их свертываемости, и может быть использовано в биологии и медицине. Кювета содержит не менее одной секции для помещения исследуемых образцов. Кювета выполнена в виде вертикальной тонкостенной емкости с продольными каналами. В каналах размещены активаторы свертывания. Изобретение обеспечивает повышение точности и достоверности пространственного определения свертываемости крови или ее компонентов. 6 з.п. ф-лы, 4 ил.

Формула изобретения

1. Кювета для пространственного исследования свертывания крови и ее компонентов, характеризующаяся тем, что содержит не менее одной секции для помещения исследуемых образцов, выполненной в виде вертикальной тонкостенной емкости с продольными каналами, в которой размещен активатор свертывания.

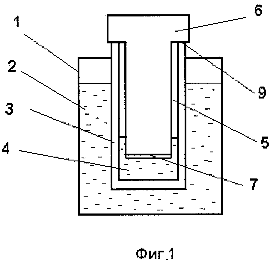
2. Кювета по п.1, отличающаяся тем, что сечение вертикальной тонкостенной емкости выполнено круглым.

3. Кювета по п.1, отличающаяся тем, что сечение вертикальной тонкостенной емкости выполнено прямоугольным.

4. Кювета по п.1, отличающаяся тем, что активатор свертывания выполнен в виде продольной вставки с нанесенным на ее торцевую поверхность тромбогенным веществом.

5. Кювета по п.4, отличающаяся тем, что в качестве тромбогенного вещества используют тромбопластин, иммобилизованный на торцевую поверхность вставки.

6. Кювета по п.1, отличающаяся тем, что секции для помещения исследуемых образцов установлены в ряд, а активатор свертывания представляет собой продольную вставку, нижняя часть которой выполнена в виде гребенки, каждый из выступов которой содержит на торце тромбогенное вещество и опущен в соответствующую емкость.

7. Кювета по п.6, отличающаяся тем, что в качестве тромбогенного вещества, используют тромбопластин, иммобилизованный на торце выступов гребенки.

Описание

[1]

Изобретение относится к устройствам для исследования характеристик крови и ее компонентов, в частности их свертываемости, и может быть использовано в биологии и медицине для исследования параметров свертывания крови и ее компонентов как животных, так и человека; в клинической диагностике заболеваний, а также при проведении экспериментальных исследованиях крови и ее составных частей.

[2]

Исследования свертывания крови представляют практический интерес, поскольку не только позволяют диагностировать отдельные заболевания, но и оценивать активность препаратов, влияющих на параметры свертывания крови.

[3]

Известны кюветы для исследования динамики свертывания плазмы крови в пространстве. Это, как правило, небольшие прозрачные пластмассовые контейнеры, выполненные в виде плоской чашечки с верхней крышкой. Известно, что при исследовании пространственного свертывания плазмы крови и ее компонентов в пробе должны отсутствовать любые, даже очень слабые потоки, включая и потоки, возникающие за счет температурной конвекции из-за температурных градиентов, возникающих в пробе. Кюветы для таких исследований выполняются с крышкой, обеспечивающей герметичное закрытие чашечки с пробой плазмы, с последующим погружением этой закрытой чашечки в прозрачную термостатируемую жидкость.

[4]

Наиболее близкой к предлагаемому устройству является кювета, выполненная в виде разовой пластмассовой чашечки Петри (патент на ПМ № 64705), снабженной специальным кожухом для ее герметичного закрывания. Такая конструкция позволяет поместить в чашечку исследуемую плазму крови или ее компоненты, поместить в эту пробу активатор свертывания, например маленький стеклянный шарик (вокруг которого и будет образовываться фибриновый тромб), поместить чашечку в специальный кожух, герметично закрыть ее, зафиксировать и опустить всю эту конструкцию в камеру водяного термостата и только после этого начать исследование процесса роста тромба во времени и пространстве.

[5]

Описанные кюветы обладают целым рядом недостатков.

[6]

Тромб растет вокруг шарика на дне горизонтально расположенной чашечки. Такое (горизонтальное) расположение чашечки, через дно которой ведется съемка растущего тромба, не исключает появление в жидкости термостата под ее дном пузырьков воздуха, что искажает результаты исследования.

[7]

Известная конструкция кюветы позволяет поместить активатор свертывания только до начала регистрации процесса свертывания, а не после того, как плазма в чашечке прогреется равномерно и конвекционные потоки за счет градиента температур прекратятся. Это тоже приводит к искажению картины пространственного свертывания.

[8]

В известной кювете возможно одновременно проводить эксперимент лишь с одной пробой плазмы. Для проведения следующего эксперимента берется новая чашечка и вся процедура повторяется, что снижает производительность подобных исследований.

[9]

В качестве активатора свертывания в такой конструкции кюветы используется стеклянный шарик, так как стекло является высокотромбогенным материалом, но величина этой тромбогенности (степень инициации плазмы к свертыванию) может варьироваться в широких пределах, что снижает воспроизводимость исследований.

[10]

Технической задачей настоящего изобретения является повышение точности и достоверности пространственного определения свертываемости крови или ее компонентов.

[11]

Технический результат, достигаемый при использовании настоящего изобретения, заключается в предотвращении возникновения конвективных потоков и попадания посторонних частиц в кювету, что искажает реальную картину роста тромба.

[12]

Вышеуказанная техническая задача решается посредством выполнения кюветы для исследования свертывания крови и ее компонентов в виде не менее одной секции для помещения исследуемых образцов, представляющей собой вертикальную тонкостенную емкость с продольным каналом, в котором размещен активатор свертывания.

[13]

Предпочтительно выполнение сечения вертикальной тонкостенной емкости прямоугольным.

[14]

Другим вариантом является выполнение сечения вертикальной тонкостенной емкости круглым.

[15]

Предпочтительно выполнять активатор свертывания в виде продольной вставки с нанесенным на ее торцевую поверхность тромбогенным веществом.

[16]

Предпочтительно использовать в качестве тромбогенного вещества тромбопластин, иммобилизованный на торцевую поверхность вставки активатора.

[17]

Одним из вариантов выполнения кюветы является вариант, при котором секции для помещения исследуемых образцов установлены в ряд, а активаторы свертывания представляют собой гребенку, каждый из выступов которой содержит на торце тромбогенное вещество и опущен в соответствующую емкость.

[18]

При этом в качестве тромбогенного вещества используют тромбопластин, иммобилизованный на торце выступов гребенки.

[19]

Положительный эффект предлагаемого изобретения достигается тем, что кювета выполнена в виде вертикальной, тонкостенной емкости с каналом, т.е. узкой и высокой. Это не дает образующимся пузырькам воздуха задерживаться в поле зрения и искажать картину свертывания, так как они быстро поднимаются в образце исследования вверх.

[20]

Кроме того, такая конструкция кюветы позволяет погрузить ее большую часть в водяной термостат, который необходим для поддержания температуры в кювете на заданном уровне. При этом рабочая часть кюветы (там, где находится образец плазмы) будет полностью находиться в термостатируемой жидкости, а верхний открытый край кюветы будет находиться за пределами водяного термостата. Это позволяет вводить в плазму активатор свертывания с нанесенным на его торец тромбогенным веществом уже после того, как все конвекционные потоки в прогревающейся плазме полностью прекратятся, что повышает качество проведения эксперимента.

[21]

Предлагаемую кювету можно выполнить многосекционной. Это дает возможность в каждую из секций поместить свой образец плазмы и проводить несколько экспериментов одновременно, что позволяет не только поднять производительность всего метода, но и повысить сравнительную достоверность результатов исследования, так как все эксперименты выполняются одновременно и в одних и тех же условиях.

[22]

Активатор свертывания в такой конструкции выполняют в виде тонкой пленки или слоя специального тромбогенного вещества, нанесенного на торцы гребней плоской гребенки, Применение для инициализации тромба определенного вещества, например иммобилизованного тромбопластина, в строго заданной концентрации повышает воспроизводимость экспериментов. А сама конструкция кюветы и вставки активатора дает возможность одновременно запускать процесс свертывания во всех исследуемых образцах за счет одномоментного контакта тромбогенного вещества сразу со всеми образцами плазмы, помещенной в разные секции кюветы, что также повышает воспроизводимость исследований.

[23]

Предлагаемое устройство представлено на чертежах, где на фиг.1 показано устройство для исследования динамики свертывания крови и ее компонентов в пространстве с предлагаемой односекционной кюветой, на фиг.2 - вид сбоку, а на фиг.3 - устройство для исследования динамики свертывания крови и ее компонентов в пространстве с предлагаемой многосекционной кюветой, на фиг.4 - вид сбоку.

[24]

На фиг.1 и 2 изображен электронный водяной термостат 1 устройства для исследования динамики свертывания крови и ее компонентов в пространстве, заполненный прозрачной жидкостью 2, в которую помещена предлагаемая односекционная кювета 3. Испытуемый образец плазмы крови 4 расположен в нижней части кюветы 3 таким образом, что при вдвижении в ее канал 5 вставки активатора 6 до ее упора 9 тромбогенное вещество 7, нанесенное на торец вставки, оказывается в контакте с поверхностью испытуемой плазмы.

[25]

На фиг.3 и 4 изображен один из вариантов предлагаемой многосекционной кюветы, в которой имеется несколько каналов 5, а в нижней части активатора 6 сформирована гребенка 8, каждый из гребней которой с нанесенным на их торцы тромбогенным веществом 7 при введении вставки до упора 9 попадает в соответствующий ему канал кюветы 3 и контактирует своим торцом лишь с конкретным образцом плазмы крови, помещенным в полости каналов 5.

[26]

Устройство работает следующим образом.

[27]

За счет работы электронного водяного термостата 1 температура прозрачной жидкости 2 в нем поддерживается на заданном уровне, и жидкость равномерно обогревает кювету 3, в которую помещают исследуемый образец, например тестируемую плазму крови 4. Поскольку кювета 3 имеет для размещения плазмы длинный и узкий канал 5, а площадь поверхности раздела плазма-воздух после введения в кювету вставки активатора 6 с нанесенным на ее торец тромбогенным веществом 7 минимальна, то и попадание в плазму посторонних частиц из воздуха также минимально.

[28]

В случае использования многосекционной кюветы устройство работает следующим образом. В каждый из каналов 5 многосекционной кюветы 3 (фиг.2) дозированно помещают исследуемый образец плазмы 4, которая заполняет лишь нижнюю часть полости отсеков кюветы. При этом в каждый из отсеков можно помещать разные образцы плазмы. Кювета устанавливается в соответствующее ей гнездо устройства для исследования пространственного свертывания плазмы крови, в состав которого входит и термостат 1. При этом нижняя часть кюветы - там, где находятся образцы плазмы, оказывается полностью погруженной в термостатируемую жидкость 2 термостата. Когда температура жидкости термостата и температура образцов плазмы в кювете уравняются, а связанные с этим конвекционные потоки плазмы прекратятся, в кювету медленно (чтобы снова не создать движения плазмы) вдвигают вставку активатора 6, нижняя часть которой выполнена в форме гребенки 8, на торцах гребней которой предварительно нанесено тромбогенное вещество 7. После опускания вставки до упора 9 нанесенное на торцы гребней гребенки 8 тромбогенное вещество касается верхнего слоя всех образцов плазм, помещенных в каналах отсеков 5 кюветы 3, в результате чего процесс тромбообразования начинается одновременно во всех испытуемых образцах, что непрерывно регистрируется заранее включенной CCD камерой, входящей в состав устройства для исследования пространственного свертывания плазмы крови.

Как компенсировать расходы
на инновационную разработку
Похожие патенты