патент
№ RU 2398653
МПК B22D27/04

УСТРОЙСТВО ДЛЯ ПОЛУЧЕНИЯ ОТЛИВОК С НАПРАВЛЕННОЙ И МОНОКРИСТАЛЛИЧЕСКОЙ СТРУКТУРОЙ

Авторы:
Каблов Евгений Николаевич Бондаренко Юрий Александрович Ечин Александр Борисович
Все (4)
Номер заявки
2009109680/02
Дата подачи заявки
18.03.2009
Опубликовано
10.09.2010
Страна
RU
Как управлять
интеллектуальной собственностью
Чертежи 
1
Реферат

Изобретение относится к области машиностроения и может быть использовано при получении отливок, например, деталей горячего тракта ГТД, включая турбинные лопатки, створки. Устройство содержит вертикальную вакуумную камеру, внутри которой размещены индукционная плавильная печь, печь подогрева форм, механизм перемещения формы, экран, емкость с жидкометаллическим охладителем, отделенную от зоны нагрева раздвижным экраном. Печь подогрева форм снабжена двумя нагревателями верхней и нижней зоны и имеет прямоугольную форму в горизонтальном сечении. Соотношение длины к ширине печи подогрева форм равно 1:(0,15÷0,4). Отношение высоты нагревателя верхней зоны к высоте нагревателя нижней зоны составляет 1:(0,1÷0,16). На поверхности жидкометаллического охладителя расположен тепловой экран из пористого термостойкого материала. Форма и размеры верхней части емкости соответствуют размерам наружной стенки печи подогрева форм, а размеры нижней части емкости - размерам внутренней стенки печи подогрева форм. Обеспечивается повышение качества структуры и выхода годного отливок. 3 з.п. ф-лы, 1 ил.

Формула изобретения

1. Устройство для получения отливок с направленной и монокристаллической структурой, содержащее вертикальную вакуумную камеру, внутри которой размещена индукционная плавильная печь, печь подогрева форм с керамической формой, механизм перемещения формы, экран, разделяющий зону нагрева и зону охлаждения, выполненный раздвижным в горизонтальной плоскости, емкость для кристаллизации отливок, отличающееся тем, что печь подогрева форм снабжена двумя нагревателями верхней и нижней зоны и имеет прямоугольную форму в горизонтальном сечении с соотношением длины к ширине 1:(0,15÷0,4), причем отношение высоты нагревателя верхней зоны к высоте нагревателя нижней зоны составляет 1:(0,1÷0,16), емкость для кристаллизации отливок содержит жидкометаллический охладитель и тепловой экран из пористого термостойкого материала, расположенного на поверхности жидкометаллического охладителя, причем форма и размеры верхней части емкости соответствуют размерам наружной стенки печи подогрева форм, а размеры нижней части емкости - размерам внутренней стенки печи подогрева форм.

2. Устройство по п.1, отличающееся тем, что в месте сопряжения нижней и верхней частей емкости для кристаллизации отливок расположена водоохлаждаемая рубашка.

3. Устройство по п.1, отличающееся тем, что нижняя часть стенки емкости для кристаллизации отливок дополнительно снабжена нагревательными элементами.

4. Устройство по п.1, отличающееся тем, что соотношение высот верхней и нижней частей емкости для кристаллизации отливок равно 1:(6-15).

Описание

[1]

Изобретение относится к области машиностроения и может быть использовано при получении отливок с направленной и монокристаллической структурой, например деталей горячего тракта ГТД, включая турбинные лопатки, створки и т.д., из никелевых, кобальтовых, интерметаллидных жаропрочных сплавов в условиях высокого температурного градиента на фронте роста.

[2]

Известно, что повышение температурного градиента на фронте роста (до 150-200°С/см) при направленной кристаллизации литейных жаропрочных сплавов на основе никеля, кобальта, а также интерметаллидных (на основе Ni3Al) за счет уменьшения высоты жидкотвердой зоны на фронте роста обеспечивает формирование в отливках более однородной, тонкодендритной структуры с меньшей дендритной ликвацией, пористостью, что, в свою очередь, повышает характеристики прочности и усталости сплавов.

[3]

Известны устройства для направленной кристаллизации, включающие в себя вакуумную камеру, внутри которой размещена печь подогрева керамических форм, плавильная индукционная печь, тепловые экраны, водоохлаждающий кристаллизатор, на котором размещаются керамические формы, а также система для автоматического контроля температуры в печи подогрева форм (патенты США №№3680625, 3897815, 4804311, 4412577; Франции №2614404, Великобритании №1303028; EP №0127552).

[4]

Известны также устройства для направленной кристаллизации, в которых зона охлаждения выполнена в виде емкости с расплавом жидкометаллического охладителя, который выполняет роль охлаждающей среды (патенты США №№3763926, 3915761; патенты РФ №№2010672, 2146184, 2267380).

[5]

Недостатком устройств являются трудности, связанные с обеспечением одинаковых тепловых условий при получении отливок сложной геометрии с направленной структурой. Недостаточная эффективность экранирования зоны нагрева от зоны охлаждения приводит к невысоким температурным градиентам на фронте роста, к перегреву жидкометаллического охладителя в верхней части емкости, что вызывает «вскипы» охладителя. Все это усложняет обслуживание и эксплуатацию установок, снижает их надежность в работе, отрицательно влияет на условия направленной кристаллизации, ухудшая качество структуры при получении монокристаллических деталей.

[6]

Наиболее близким по технической сущности к заявленному является устройство для получения отливок с направленной и монокристаллической структурой, которое содержит вакуумную камеру, внутри которой размещена индукционная плавильная печь, печь подогрева форм с двумя нагревателями верхней и нижней зоны и керамической формой, механизм перемещения формы, включающий шток и привод вертикального перемещения, экран, разделяющий зону нагрева и зону охлаждения, выполненный раздвижным в горизонтальной плоскости, зона охлаждения представляет собой водоохлаждаемую емкость, выполненную в виде конуса с меньшим нижним основанием. Кристаллизация сплавов происходит радиационным излучением на холодные стенки водоохлаждаемой емкости (патент РФ №2117550).

[7]

К недостаткам прототипа можно отнести неэффективность подвижного теплового экрана, не исключающую образование зазоров между экраном и керамической формой деталей сложной геометрии типа лопатки ГТД. Использование водоохлаждаемой емкости обеспечивает отвод тепла в виде радиационного охлаждения поверхности формы, что менее эффективно для получения высокого градиента, чем при погружении формы в жидкометаллический охладитель. Неоптимальная конструкция нагревателей в печи подогрева формы, создающая неравномерность теплового поля на фронте кристаллизации отливки, снижает качество монокристаллической структуры в полученных деталях и выход годного по структуре.

[8]

Технической задачей данного изобретения является создание устройства, обеспечивающего повышение качества структуры и выхода годного монокристаллических отливок за счет более равномерного теплового поля в печи подогрева форм, более эффективного экранирования зоны нагрева от зоны охлаждения и более высокого температурного градиента на фронте кристаллизации, увеличение функциональных возможностей установки, повышение надежности работы, длительности эксплуатации установки между ремонтами.

[9]

Для достижения технической задачи предлагается устройство для получения отливок с направленной и монокристаллической структурой, содержащее вертикальную вакуумную камеру, внутри которой размещена индукционная плавильная печь, печь подогрева форм с керамической формой, механизм перемещения формы, экран, разделяющий зону нагрева и зону охлаждения, выполненный раздвижным в горизонтальной плоскости, емкость для кристаллизации отливок, отличающееся тем, что печь подогрева форм снабжена двумя нагревателями верхней и нижней зоны, имеет прямоугольную форму в горизонтальном сечении с соотношением длины к ширине 1:(0,15÷0,4), причем отношение высоты нагревателя верхней зоны к высоте нагревателя нижней зоны составляет 1:(0,1÷0,16), емкость для кристаллизации отливок содержит жидкометаллический охладитель и тепловой экран из пористого термостойкого материала, расположенного на поверхности жидкометаллического охладителя, причем форма и размеры верхней части емкости соответствуют форме и размерам наружной стенки печи подогрева форм, а размеры нижней части емкости - размерам внутренней стенки печи подогрева форм.

[10]

В месте сопряжения нижней и верхней частей емкости с жидкометаллическим охладителем расположена водоохлаждаемая рубашка, а нижняя часть стенки емкости для кристаллизации дополнительно снабжена нагревательными элементами.

[11]

Соотношение высот верхней и нижней частей емкости для кристаллизации отливок равно 1:(6-15).

[12]

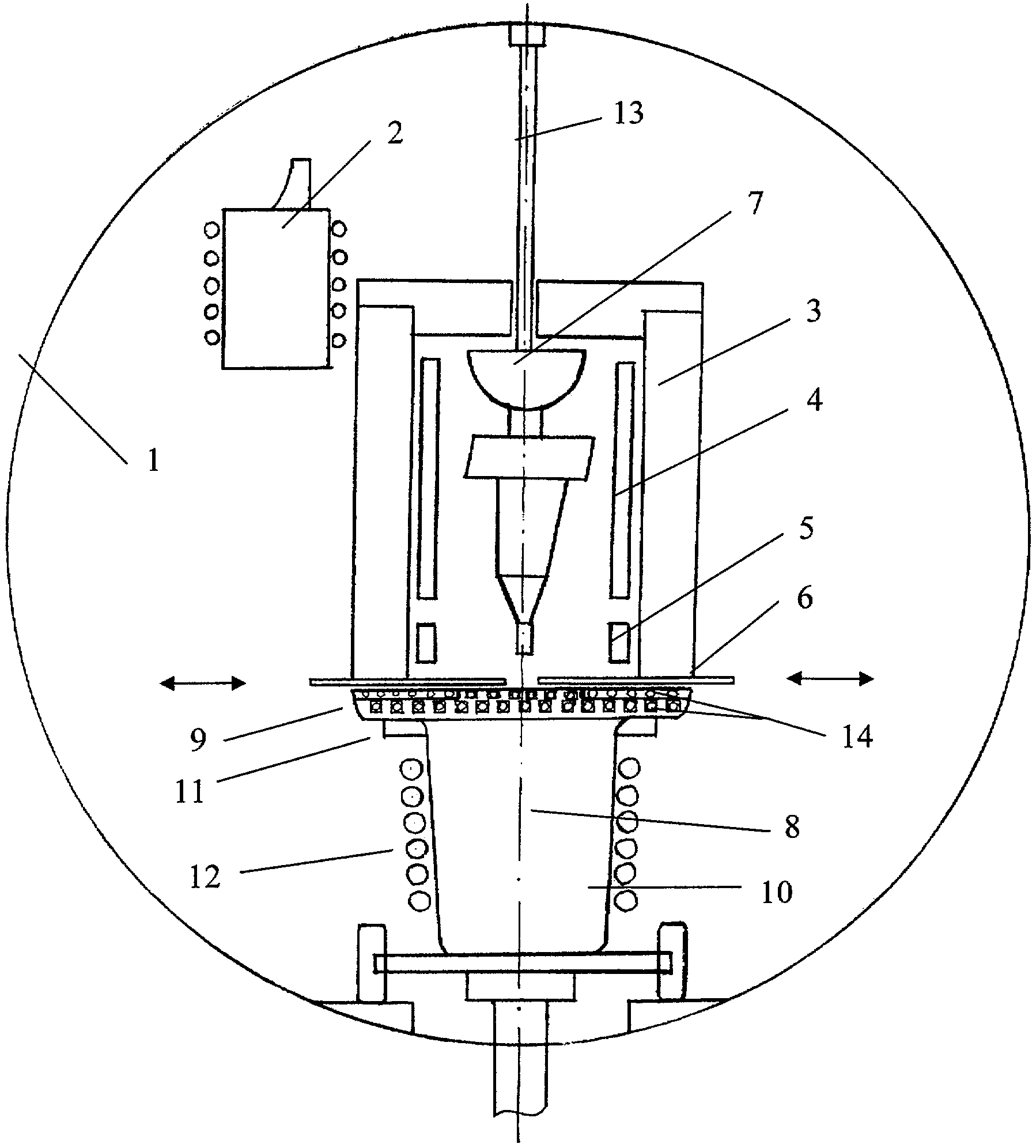
На череже представлена схема устройства.

[13]

Предложенное устройство содержит следующие элементы:

[14]

1 - вакуумная камера;

[15]

2 - индукционная плавильная печь;

[16]

3 - печь подогрева форм (ППФ);

[17]

4 - нагреватель верхней зоны (ППФ);

[18]

5 - нагреватель нижней зоны (ППФ);

[19]

6 - раздвижной в горизонтальной плоскости экран;

[20]

7 - керамическая форма;

[21]

8 - емкость для кристаллизации отливок с жидкометаллическим охладителем;

[22]

9 - верхняя часть емкости для кристаллизации отливок с жидкометаллическим охладителем;

[23]

10 - нижняя часть емкости для кристаллизации отливок с жидкометаллическим охладителем;

[24]

11 - водоохлаждаемая рубашка емкости с жидкометаллическим охладителем;

[25]

12 - нагревательные элементы;

[26]

13 - механизм вертикального перемещения формы;

[27]

14 - тепловой экран.

[28]

Устройство работает следующим образом:

[29]

Керамическую форму (7) на механизме вертикального перемещения (13) устанавливают в печи подогрева форм (ППФ)(3) в требуемое по технологии положение относительно нагревателей верхней зоны (4) и нижней зоны (5) ППФ. Под нагревателем (5) устанавливают в нужное горизонтальное положение раздвижной экран (6). В индукционную плавильную печь (2) помещают шихтовую заготовку требуемого веса. Проверяют состояние термопар, устанавливают заливочную воронку. Закрывают камеру печи (1), создают вакуум 1·10-2-1·10-3 мм рт.ст. Включают печь подогрева форм (3). При достижении заданной температуры на керамической форме включают нагрев в индукционной плавильной печи (2), в которой расплавляют жаропрочный сплав и заливают его в керамическую форму (7). Включают механизм вертикального перемещения форм (13) и керамическая форма с заданной скоростью перемещается из зоны нагрева в емкость с жидкометаллическим охладителем (8) через раздвижной в горизонтальной плоскости экран (6) и тепловой экран (Нерасположенный в верхней части емкости с жидкометаллическим охладителем (9). После того как форма с отливкой (7) опустится, нагреватели (4, 5) выключают и при снижении температуры в печи подогрева форм (3) до 900-1000°С керамическую форму с отливкой (7) через экраны (14, 6) поднимают в исходное положение, где она охлаждается до температуры 100-200°С. Устройство разгерметизируют, извлекают форму с отливкой. Далее процесс повторяют с другой формой.

[30]

Благодаря конструкции нагревателей верхней (4) и нижней (5) зон печи подогрева форм (3), выполненной прямоугольной формы в сечении с соотношением длины к ширине 1:(0,15÷0,4) и с соотношением высоты нагревателя верхней зоны к высоте нагревателя нижней зоны 1:(0,1÷0,16), обеспечивается однородное тепловое поле. Данные соотношения установлены экспериментально. Это делает возможным осуществлять процесс направленной кристаллизации отливки в керамической форме, практически в одинаковых условиях, при этом перегрев формы осуществляют только вблизи фронта кристаллизации (за счет нагревателя нижней зоны), а это уменьшает время теплового воздействия на всю керамическую форму. Особенно это важно, когда керамическая форма состоит из нескольких лопаток ГТД.

[31]

Использование двух экранов, состоящих из верхнего экрана, раздвижного в горизонтальной плоскости (6), обладающего достаточной прочностью при рабочих температурах и термостойкостью, и теплового экрана на поверхности жидкометаллического охладителя, изготовленного из пористого материала с низкой теплопроводностью (14), обеспечивает высокий температурный градиент на фронте кристаллизации. Верхний экран раздвигается в горизонтальной плоскости автоматически в зависимости от поперечного сечения форм. Расположенные на поверхности охладителя частицы и пластины теплового экрана компенсируют зазор между стенками керамической формы и раздвижным экраном, что обеспечивает достаточно плотное прилегание теплового экрана к поверхности керамической формы, имеющей сложную геометрию.

[32]

За счет верхней широкой части (9) емкости, соответствующей форме и наружным размерам печи подогрева форм, уровень охладителя относительно положения фронта кристаллизации меняется незначительно, что обеспечивает постоянные условия кристаллизации. Также широкая верхняя часть емкости исключает возможность перелива охладителя. Экспериментально установлено, что предпочтительным соотношением высоты широкой верхней части емкости с охладителем к высоте нижней части является 1:(6÷15). В месте сопряжения верхней широкой части (9) с нижней узкой частью емкости (10) располагается водоохлаждаемая рубашка (11), исключающая перегрев жидкометаллического охладителя при погружении в него керамической формы, нагретой до рабочих температур (~1600°С). Расположенные на стенках нижней части (10) емкости с охладителем нагревательные элементы (12) обеспечивают заданный температурный режим охладителя.

[33]

Особенности конструкции нагревателей печи подогрева форм, емкости с жидкометаллическим охладителем, их размеров в заявленном соотношении, а также наличие теплового экрана в верхней широкой части емкости обеспечивает более равномерное тепловое поле в печи подогрева форм, высокий температурный градиент на фронте кристаллизации (G ~ 150÷200°С/см), что существенно повышает качество отливок по структуре. Оценка качества структуры показала, что основная характеристика структуры - междендритное расстояние - составила λ=180-220 мкм (в тонком и толстом сечении по высоте лопатки), а выход годного по структуре составил 100%.

[34]

Аналогичные отливки, полученные на установке по прототипу, имели температурный градиент на фронте роста G ~ 20÷30°С/см, а междендритное расстояние (по сечению лопатки) λ=300-400 мкм, выход годного 80-85%.

[35]

Таким образом, предлагаемое устройство обеспечивает однородное тепловое поле в пространстве печи, повышение температурного градиента на фронте кристаллизации (в ~4 раза), обеспечивает повышение выхода годного отливок с монокристаллической структурой до 95-100%, делает возможным формирование в отливках из современных жаропрочных и интерметаллидных сплавов более однородной, тонкодендритной структуры (междендритное расстояние λ уменьшилось ~ в 2 раза), с меньшей дендритной ликвацией (~ в 1,5 раза), пористостью (~ в 2 раза), что, в свою очередь, повышает характеристики прочности и усталости сплавов, увеличивает ресурс двигателя и повышает его надежность при длительной эксплуатации.

[36]

Применение предложенного устройства позволит также повысить надежность работы и длительность эксплуатации установки между ремонтами.

Как компенсировать расходы
на инновационную разработку
Похожие патенты