патент
№ RU 2640555
МПК B32B7/00

ОГНЕЗАЩИТНАЯ ТЕПЛОИЗОЛЯЦИОННАЯ ПАНЕЛЬ

Авторы:
Каблов Евгений Николаевич Соколов Игорь Иллиодорович Швецов Егор Павлович
Все (5)
Номер заявки
2016146591
Дата подачи заявки
28.11.2016
Опубликовано
09.01.2018
Страна
RU
Как управлять
интеллектуальной собственностью
Чертежи 
1
Реферат

Изобретение относится к огнезащитным теплоизоляционным изделиям, выполненным в виде панели, используемым в различных областях техники, для защиты от воздействия открытого пламени спасательного средства и инженерных сооружений, работающих в акваториях морей. Огнезащитная теплоизоляционная панель включает внешний слой, расположенные за ним теплоизоляционные и внутренний слои и отличается тем, что внешний слой выполнен с боковыми сторонами из неорганического стеклопластика с внешним термостойким гидрофобным и внутренним термостойким металлосодержащим покрытиями, внутренние теплоизоляционные слои выполнены в виде пакетов из микросфер, между которыми расположена прослойка из медной фольги, внутренний слой выполнен из микросферостелотекстолита и соединен с боковыми сторонами внешнего слоя, внешнее термостойкое гидрофобное покрытие включает термостойкую кремнийорганическую шпатлевку, эмаль и сублимирующий гидрофобный фторопластовый лак, в качестве термостойкого металлосодержащего покрытия используют кремнийорганическую эмаль с алюминиевой пастой. Внутренний слой из микросферостелотекстолита соединен с боковыми сторонами с помощью фторсилоксанового или кремнийорганического герметика. Негорючая панель с повышенными теплоизоляционными свойствами многоразового использования обеспечивает снижение температуры с 1100°C на внешней поверхности до 50°C на внутренней поверхности. 1 з.п. ф-лы, 1 ил.

Формула изобретения

1. Огнезащитная теплоизоляционная панель, включающая внешний слой, расположенные за ним теплоизоляционные и внутренний слои, отличающаяся тем, что внешний слой выполнен с боковыми сторонами из неорганического стеклопластика с внешним термостойким гидрофобным и внутренним термостойким металлосодержащим покрытиями, внутренние теплоизоляционные слои выполнены в виде пакетов из микросфер, между которыми расположена прослойка из медной фольги, внутренний слой выполнен из микросферостелотекстолита и соединен с боковыми сторонами внешнего слоя, внешнее термостойкое гидрофобное покрытие включает термостойкую кремнийорганическую шпатлевку, эмаль и сублимирующий гидрофобный фторопластовый лак, в качестве термостойкого металлосодержащего покрытия используют кремнийорганическую эмаль с алюминиевой пастой.

2. Панель по п. 1, отличающаяся тем, что внутренний слой из микросферостелотекстолита соединен с боковыми сторонами с помощью фторсилоксанового или кремнийорганического герметика.

Описание

[1]

Заявленное техническое решение относится к огнезащитным теплоизоляционным изделиям, выполненным в виде панели, используемым в различных областях техники, для защиты от воздействия открытого пламени спасательного средства и инженерных сооружений, работающих в акваториях морей.

[2]

В настоящее время актуальной проблемой является разработка огнестойкой теплозащиты, в частности для спасательных средств и инженерных конструкций, эксплуатируемых в акваториях морей, способной обеспечить температуру защищаемой поверхности не более 50°C при воздействии пламени с температурой до 1100°C на ее внешнюю сторону. Актуальность данной проблемы обусловлена высокими темпами развития реализации природно-ресурсного потенциала арктической зоны, в частности добычи углеводородного сырья, и, как следствие, необходимостью борьбы с чрезвычайными ситуациями, такими как возгорание нефтяного пятни или пожар на добывающей платформе, ради спасения человеческих жизней.

[3]

Из уровня техники известна система теплозащиты спускаемого космического аппарата при движении его в атмосфере по патенту US 6497390, B32B 19/06, опубл. 24.12.2002. Система включает гибкий теплоизоляционный мат, пакет из одного или нескольких слоев гибкого тканевого материала, прикрепляемый к мату с помощью клея, и размещаемое на наружной поверхности пакета облицовочное покрытие из неорганического материала, обеспечивающее газонепроницаемость теплозащиты. Данная система достаточно эффективно экранирует тепло от внешнего теплового потока к корпусу на участках, обтекаемых горячим газовым потоком.

[4]

Недостатком данной системы теплозащиты является отсутствие системы защиты от воды и влаги. Также применение клея на основе органической смолы в составе теплозащиты делает невозможным сохранение целостности конструкции при воздействии температур, превышающих температуру деструкции клея.

[5]

Известна система тепловой защиты спускаемого космического аппарата, содержащая последовательно размещенные гибкий теплоизоляционный мат и теплозащитный пакет, включающий несколько слоев термостойкого тканевого материала, отличающаяся тем, что гибкий теплоизоляционный мат выполнен многослойным и помещен в чехол из температуростойкой ткани, каждый слой термостойкого тканевого материала теплозащитного пакета пропитан и покрыт сублимирующим веществом, при этом толщина покрытия разных слоев неодинакова и увеличивается по мере удаления слоя от теплоизоляционного мата, все слои гибкого теплоизоляционного мата, чехол, в который он помещен, и все слои теплозащитного пакета соединены друг с другом по их торцевым кромкам, при этом все указанные слои и чехол установлены с возможностью их свободного относительного перемещения, за исключением указанных соединенных торцевых кромок (RU 2383476, B64G 1/58, опубл. 10.03.2010).

[6]

Недостатком данного изобретения является вероятность попадания воды, загрязняющих веществ и продуктов горения внутрь системы тепловой защиты, что неминуемо приведет к увеличению теплопроводности и повышению температуры защищаемой поверхности.

[7]

Известен теплоизоляционный многослойный пакет, содержащий несущий основной слой, расположенные со стороны одной из его поверхностей два теплоизоляционных слоя и подложку с теплосберегающими свойствами, расположенную между указанными теплоизоляционными слоями, при этом каждый теплоизоляционный слой представляет собой пленочное покрытие, образованное композицией, выполненной на основе жидкой фольги с равномерно распределенными в ее объеме заполненными воздухом стеклокерамическими микросферами (RU 63389, E04B 7/00, опубл. 27.05.2007).

[8]

Недостатком данного пакета является недостаточный уровень теплоизоляционных характеристик слоя ЛКП на основе алкидной краски, тонкодисперсного металлического порошка и микросфер толщиной 1-2 мм при воздействии пламени и температур до 1100°C.

[9]

Наиболее близким аналогом заявленного изобретения является пакет тепловой изоляции, работающий в условиях криогенных температур, аэродинамического нагрева и высоких рабочих давлений, содержащий изолируемую внешнюю поверхность со слоем теплоизоляции в виде пенопласта, установленного на амортизационный слой, слоем теплозащиты и закрепленным на последнем антистатическим покрытием. Изолируемая поверхность выполнена из полимерного композиционного материала, пенопласт оснащен влагозащитным и герметизирующим покрытием из виброударопрочного клея на основе эпоксидной смолы, лентой из стеклянных комплексных нитей, намотанной с 50%-ным перекрытием витков, скрепленных клеем, и имеющей адгезионный слой, покрытый слоем теплозащиты в виде резиноподобного эластичного покрытия. (RU 2459743, B64C 1/40, опубл. 27.08.2012).

[10]

Недостатками данного пакета являются недостаточные теплоизоляционные характеристики при воздействии пламени температурой до 1100°C, высокий уровень выделения продуктов сгорания слоев теплозащиты и невозможность повторного использования.

[11]

Техническая задача заявленного технического решения заключается в создании теплоизоляционной гидрофобной панели многоразового использования, защищающей изделие от высоких температур, открытого огня и механических воздействий.

[12]

Технический результат заявленного изобретения заключается в создании негорючей панели с повышенными теплоизоляционными свойствами многоразового использования, обеспечивающей снижение температуры с 1100°С на внешней поверхности до 50°С на внутренней поверхности.

[13]

Технический результат достигается тем, огнезащитная теплоизоляционная панель включает внешний слой, расположенные за ним теплоизоляционные и внутренний слои. Внешний слой выполнен с боковыми сторонами из неорганического стеклопластика с внешним термостойким гидрофобным и внутренним термостойким металлосодержащим покрытиями. Внутренние теплоизоляционные слои выполнены в виде пакетов из микросфер, между которыми расположена прослойка из медной фольги. Внутренний слой выполнен из микросферостелотекстолита и соединен с боковыми сторонами внешнего слоя. В качестве внешнего термостойкого гидрофобного покрытия используют лакокрасочное покрытие, включающее термостойкую кремнийорганическую шпатлевку, эмаль и сублимирующий гидрофобный фторопластовый лак. В качестве термостойкого металлосодержащего покрытия может быть использована кремнийорганическая эмаль с алюминиевой пастой.

[14]

В варианте выполнения внутренний слой из микросферостелотекстолита может быть соединен с боковыми сторонами с помощью фторсилоксанового или кремнийорганического герметика.

[15]

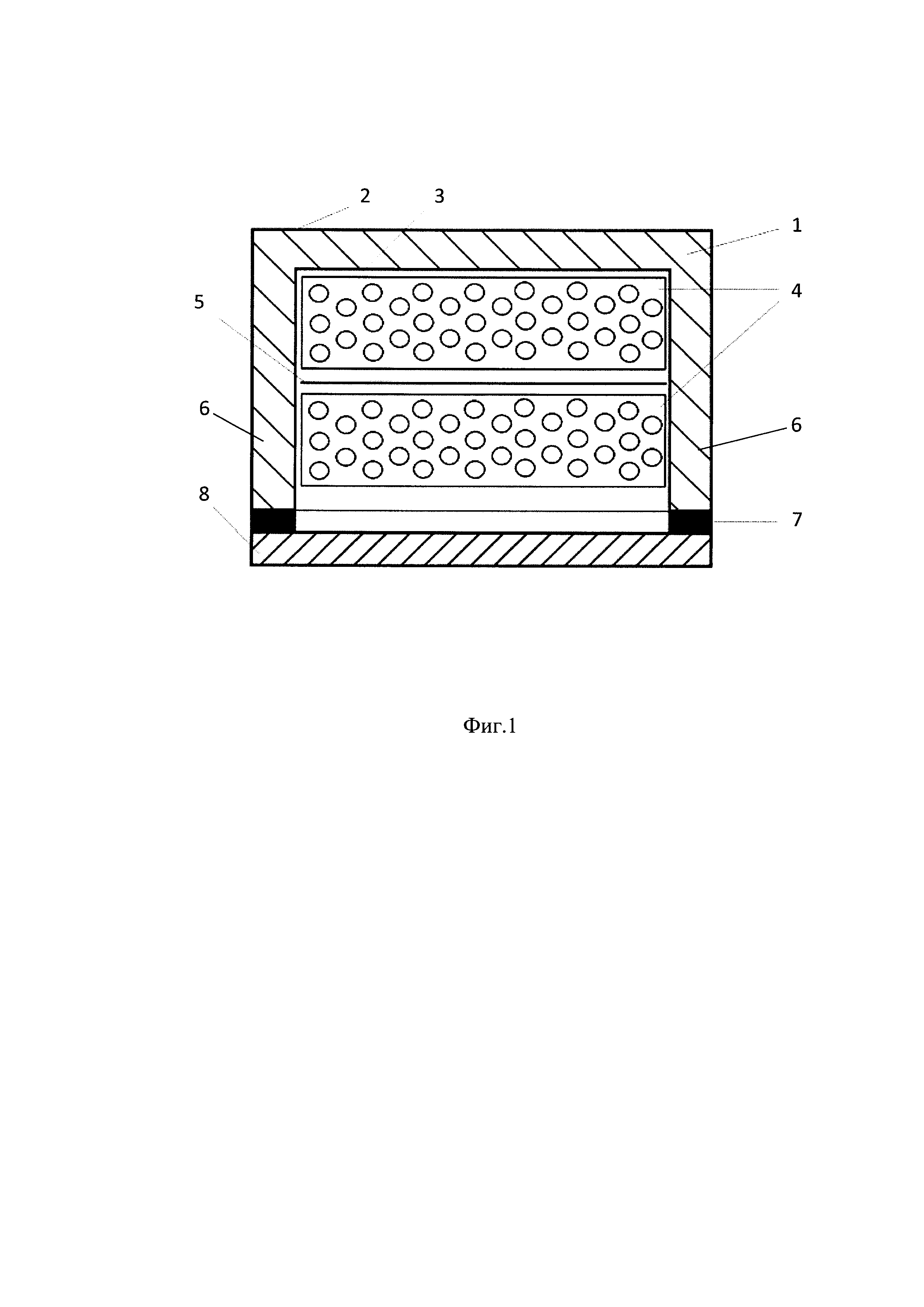
Заявленное изобретение поясняется фиг. 1 - общий вид панели

[16]

Огнезащитная теплоизоляционная панель включает внешний несущий слой (1) из стеклопластика, на внешнюю поверхность которого нанесено термостойкое гидрофобное покрытие (2). На внутреннюю поверхность внешнего слоя нанесено термостойкое металлосодержащее покрытие (3). За внешним несущим слоем из стеклопластика последовательно расположены теплоизоляционные пакеты (4) из микросфер с прослойкой из медной фольги (5) между ними. На боковых сторонах (6) внешнего слоя установлен внутренний слой (7) из микросферостелотекстолита. Внутренний слой может быть соединен с боковыми сторонами с помощью герметика (8) фторсилоксанового или кремнийорганического.

[17]

В качестве внешнего слоя (1), на который воздействует внешний источник тепла, применяется высокотемпературный стеклопластик, например ВПС-56/КТ-11 на основе неорганического связующего, сохраняющего прочностные характеристики при температурах до 1200°C. Для гидрофобной защиты на внешнюю поверхность стеклопластика наносят термостойкое гидрофобное покрытие (2). Гидрофобное покрытие представляет лакокрасочную систему, состоящую из термостойкой кремнийорганической шпатлевки КО-0067М, эмали КО-5189 и сублимирующего гидрофобного фторопластового лака ФП-5182М. Покрытие обеспечивает высокую термостойкость (до 1200°C) и влагозащитные свойства. Внутреннюю поверхность несущего слоя из стеклопластика покрывают термостойким металлосодержащим покрытием (3) (например, эмалью ВЭ-77 или ВЭ-30). Металлосодержащее покрытие обеспечивает снижение теплового излучения и способствует равномерному прогреву теплоизоляционных слоев. За металлосодержащим покрытием размещают основные теплоизоляционные слои.

[18]

В качестве теплоизоляционных слоев используются пакеты с микросферами (4), представляющие собой конверт из стеклоткани, например кремнеземной стеклоткани марки КТ-11-С8/3-ТО с засыпанными в него микросферами (например, марки МС-ВП-А9). Указанные теплоизоляционные слои обеспечивают высокие теплоизоляционные свойства панели. Прослойка из медной фольги (5) укладывается между пакетами из микросфер и применяется в качестве теплораспределительного слоя между пакетами из микросфер. Внутренний слой (7) с боковыми сторонами (6) внешней поверхности соединяется с помощью с крепежей, либо с применением фторсилоксанового герметика марки ВГФ-2А или кремнийорганического герметика У-10-80, с максимальной рабочей температурой до 500°C. Применение в качестве внутреннего слоя микросферостеклотекстолита (например, марки МСТ-5), обладающего низкой теплопроводностью и контактирующего с изделием, обеспечивает дополнительное снижение температуры внутренней поверхности панели.

[19]

В результате использования заявленной огнезащитной теплоизоляционной панели обеспечивается повышение температуры защищаемой поверхности изделия не более чем до 50°C, при воздействии на внешний слой панели открытого пламени с температурой до 1100°C в течение 10 минут. При этом панель сохраняет свои геометрические размеры и форму.

Как компенсировать расходы
на инновационную разработку
Похожие патенты