патент
№ RU 2615661
МПК H01Q21/00

СПОСОБ ОХЛАЖДЕНИЯ АФАР

Авторы:
Топчиев Сергей Александрович
Номер заявки
2016110923
Дата подачи заявки
25.03.2016
Опубликовано
06.04.2017
Страна
RU
Как управлять
интеллектуальной собственностью
Чертежи 
1
Реферат

Изобретение относится к области радиолокационной техники. Для охлаждения активной фазированной антенной решетки (АФАР) в промежутке между боковой стенкой корпуса каждого из приемо-передающих модулей, входящих в состав каждого ряда АФАР, и элементом несущей конструкции полотна АФАР с суммарным зазором, составляющим от 0,1 до 0,5 мм, в зонах, соответствующих расположению тепловыделяющих элементов каждого из приемо-передающих модулей, размещено две трубы, по существу, эллиптического поперечного сечения. В трубы в противоположных направлениях подводится охлажденная жидкая среда. Каждая из труб выполнена из материала, имеющего возможность упругой деформации под давлением жидкой среды, обеспечивающей прижатие каждой из труб к внешней поверхности боковой стенки корпуса каждого из приемо-передающих модулей, с толщиной стенки, по меньшей мере, в зоне прижатия составляющей от 0,2 до 0,35 мм. Циркуляция жидкой среды осуществляется со скоростью, обеспечивающей разность температур между внутренней поверхностью стенки каждой из труб и средней температурой охлажденной жидкой среды от 3 до 5°C. Технический результат состоит в обеспечении интенсивного равномерного отведения тепла с поверхностей корпусов приемо-передающих модулей, входящих в состав АФАР, и, следовательно, в интенсивном охлаждении АФАР в целом при ее эксплуатации. 2 ил.

Формула изобретения

Способ охлаждения активной фазированной антенной решетки (АФАР), включающий размещение охлаждающих средств, имеющих каналы, в контакте с внешней поверхностью стенки корпуса каждого из приемо-передающих модулей, входящих в состав АФАР, и осуществление циркуляции в каналах жидкой среды, отличающийся тем, что в промежутке между боковой стенкой корпуса каждого из приемо-передающих модулей, входящих в состав каждого ряда АФАР, и элементом несущей конструкции полотна АФАР с суммарным зазором, составляющим от 0,1 до 0,5 мм, в зонах, соответствующих расположению тепловыделяющих элементов каждого из приемо-передающих модулей, размещают две трубы, по существу, эллиптического поперечного сечения, в которые в противоположных направлениях подводят охлажденную жидкую среду, при этом каждую из труб выполняют из материала, имеющего возможность упругой деформации под давлением жидкой среды, обеспечивающей прижатие каждой из труб к внешней поверхности боковой стенки корпуса каждого из приемо-передающих модулей, с толщиной стенки, по меньшей мере, в зоне прижатия составляющей от 0,2 до 0,35 мм, а циркуляцию жидкой среды осуществляют со скоростью, обеспечивающей разность температур между внутренней поверхностью стенки каждой из труб и средней температурой охлажденной жидкой среды от 3 до 5°C.

Описание

[1]

Изобретение относится к области радиолокационной техники и может быть использовано при проектировании и изготовлении активной фазированной антенной решетки (АФАР).

[2]

В настоящее время используются различные способы охлаждения активных фазированных антенных решеток. Одним из таких способов, получившим широкое применение, является способ охлаждения, основанный на использовании испарительных систем охлаждения (см., например, Крахин О.И., Радченко В.П. «Проблема теплоотвода приемо-передающих модулей и АФАР с высоким уровнем теплового излучения», III Всероссийская конференция «Радиолокация и радиосвязь» - ИРЭ РАН, 26-30 октября 2009).

[3]

Недостатки известного способа состоят в сложности его реализации.

[4]

Кроме этого, известны способы охлаждения активных фазированных антенных решеток, включающие размещение охлаждающих средств, имеющих каналы, в контакте с внешней поверхностью стенки корпуса каждого из приемо-передающих модулей, входящих в состав АФАР, и осуществление циркуляции в каналах жидкой среды. В известных способах в качестве охлаждающих средств, как правило, используют жидкостные панели (см., например, Савенко В.А. «Унификация конструкторских решений для построения приемо-передающих модулей АФАР различных диапазонов», Электроника и микроэлектроника СВЧ, Всероссийская конференция, Санкт-Петербург, 3-6 июня 2013).

[5]

Недостатки известных способов состоят в том, что при их реализации не обеспечивается интенсивное равномерное отведение тепла с поверхности корпусов приемо-передающих модулей, входящих в состав АФАР.

[6]

Подобный способ принят в качестве ближайшего аналога заявленного способа.

[7]

Задачей заявленного изобретения является создание способа охлаждения активной фазированной антенной решетки, лишенного указанных недостатков.

[8]

В результате достигается технический результат, заключающийся в обеспечении интенсивного равномерного отведения тепла с поверхностей корпусов приемо-передающих модулей, входящих в состав АФАР, и, следовательно, интенсивного охлаждения АФАР в целом при ее эксплуатации.

[9]

Конкретно, указанный технический результат достигается посредством осуществления способа охлаждения активной фазированной антенной решетки (АФАР), включающего размещение охлаждающих средств, имеющих каналы, в контакте с внешней поверхностью стенки корпуса каждого из приемо-передающих модулей, входящих в состав АФАР, и осуществление циркуляции в каналах жидкой среды. В промежутке между боковой стенкой корпуса каждого из приемо-передающих модулей, входящих в состав каждого ряда АФАР, и элементом несущей конструкции полотна АФАР с суммарным зазором, составляющим от 0,1 до 0,5 мм, в зонах, соответствующих расположению тепловыделяющих элементов каждого из приемо-передающих модулей, размещают две трубы, по существу, эллиптического поперечного сечения. В трубы в противоположных направлениях подводят охлажденную жидкую среду. Каждую из труб выполняют из материала, имеющего возможность упругой деформации под давлением жидкой среды, обеспечивающей прижатие каждой из труб к внешней поверхности боковой стенки корпуса каждого из приемо-передающих модулей с толщиной стенки, по меньшей мере, в зоне прижатия составляющей от 0,2 до 0,35 мм. Циркуляцию жидкой среды осуществляют со скоростью, обеспечивающей разность температур между внутренней поверхностью стенки каждой из труб и средней температурой охлажденной жидкой среды от 3 до 5°C.

[10]

Применение зазора, меньшего чем 0,1 мм, ограничено конструкцией АФАР.

[11]

Применение зазора, большего чем 0,5 мм, уменьшает площадь прижатия каждой из труб к внешней поверхности боковой стенки корпуса каждого из приемо-передающих модулей, входящих в состав каждого ряда АФАР (поскольку требует применения повышенного давления жидкой среды, что ограниченно прочностными свойствами трубы и характеристиками нагнетающего оборудования, например насоса), что, в свою очередь, ухудшает теплопередачу между стенкой корпуса и жидкой средой.

[12]

Использование труб с толщиной стенки, меньшей чем 0,2 мм, вызывает риск ее механических повреждений при эксплуатации АФАР, а также повышение напряжений в ней при ее деформации под давлением жидкой среды, что, в свою очередь, может привести к нарушению ее герметичности.

[13]

Использование труб с толщиной стенки, большей чем 0,35 мм, уменьшает ее способность к упругой деформации и, следовательно, уменьшает площадь прижатия каждой из труб к внешней поверхности боковой стенки корпуса каждого из приемо-передающих модулей, входящих в состав каждого ряда АФАР, что, в свою очередь, ухудшает теплопередачу между стенкой корпуса и жидкой средой.

[14]

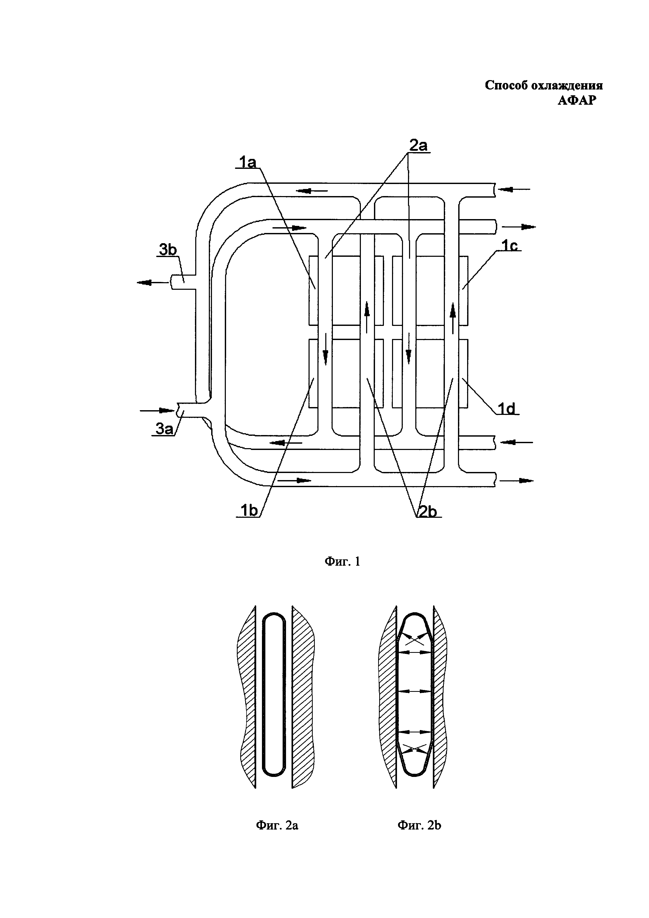
На фиг. 1 показано схематичное изображение приемо-передающих модулей, входящих в состав каждого ряда АФАР, в контакте с трубами, по существу, эллиптического поперечного сечения (вид сверху).

[15]

На фиг. 2а и 2b показана труба, по существу, эллиптического сечения, соответственно, до и после деформации под давлением жидкой среды.

[16]

Заявленный способ реализуют, например, следующим образом.

[17]

Каждый из приемо-передающих модулей 1а-1с содержит тепловыделяющие элементы (в частности, транзисторы), в результате чего при эксплуатации АФАР внешняя поверхность боковых стенок корпуса каждого из приемо-передающих модулей 1a-1d нагревается до температуры, достигающей 70°C.

[18]

Для отведения тепла в промежутке между боковой стенкой корпуса каждого из приемо-передающих модулей 1a-1d, входящих в состав каждого ряда АФАР, и элементом несущей конструкции полотна АФАР с суммарным зазором, составляющим от 0,1 до 0,5 мм (например, 0,1 мм), в зонах, соответствующих расположению тепловыделяющих элементов каждого из приемо-передающих модулей 1а-1с, размещают две трубы 2а и 2b.

[19]

В трубы 2а и 2b (из раздающего коллектора 3а) в противоположных направлениях подводят охлажденную жидкую среду, в частности раствор этиленгликоля.

[20]

Отведение из труб 2а и 2b нагретой (в результате отведения тепла от корпусов приемо-передающих модулей 1a-1d) жидкой среды осуществляют при помощи собирающего коллектора 3b.

[21]

Циркуляцию жидкой среды осуществляют посредством насоса (не показан), создающего давление в жидкостном тракте, достаточное для компенсации потерь на трение, местных потерь и обеспечения необходимой скорости потока жидкой среды.

[22]

Каждую из труб 2а и 2b выполняют из материала, имеющего возможность упругой деформации под давлением жидкой среды (например, из нержавеющей стали 12Х18Н10Т), обеспечивающей ее прижатие к внешней поверхности боковой стенки корпуса каждого из приемо-передающих модулей 1a-1d, одной из своих сторон, с толщиной стенки, по меньшей мере, в зоне прижатия, составляющей от 0,2 до 0,35 мм (например, 0,2 мм). Другой стороной каждая из труб 2а и 2b оказывается прижатой к элементу несущей конструкции полотна АФАР.

[23]

Циркуляцию охлажденной жидкой среды осуществляют со скоростью, обеспечивающей разность температур между внутренней поверхностью стенки каждой из труб 3 и средней температурой охлаждающей жидкой среды от 3 до 5°C (данные значения получены в результате известных теплотехнических расчетов, которые приведены, например, в книге Кутателадзе С.С. «Теплопередача и гидродинамическое сопротивление: Справочное пособие», Москва, «Энергоатомиздат», 1990).

[24]

Нагретую охлаждающую жидкую среду охлаждают, например, при помощи воздушной системы охлаждения с использованием атмосферного воздуха (в качестве такой системы может быть использована система, основанная на воздушном радиаторе).

Как компенсировать расходы
на инновационную разработку
Похожие патенты