патент
№ RU 2669966
МПК E21B43/25

Оборудование для свабирования скважин по эксплуатационной колонне

Авторы:
Валовский Константин Владимирович
Номер заявки
2017139854
Дата подачи заявки
15.11.2017
Опубликовано
17.10.2018
Страна
RU
Как управлять
интеллектуальной собственностью
Чертежи 
2
Реферат

Изобретение относится к нефтедобывающей промышленности и может быть использовано для свабирования по эксплуатационной колонне скважин с вязкой продукцией, на которых исключена возможность газонефтепроявлений. Оборудование для свабирования скважин по эксплуатационной колонне включает тройник с выкидной линией, соединенный снизу с основанием устья скважины, а сверху оснащенный узлом соединения с лубрикатором, снабженным датчиком входа и сальниковым очистителем каната. При этом на канате спускается скважинное оборудование, состоящее из сваба, оснащенного снизу грузом, а сверху ловильным патрубком и предохранительным разрывным элементом, толкателя и канатного наконечника для соединения с канатом. Лубрикатор для герметичного входа в узел соединения снизу оснащен наконечником с наружной выборкой вверху, подпружиненным вниз стаканом, подпружиненными наружу плашками и центральным проходным каналом большего диаметра, чем канатный наконечник, и меньшего диаметра, чем толкатель. Узел соединения выполнен в виде полого корпуса с внутренней кольцевой проточкой, выполненной с возможностью взаимодействия с плашками после ввода наконечника в узел соединения, причем в узле соединения сверху выполнены боковые отверстия для входа упорной вилки, выполненной с возможностью взаимодействия с выборкой наконечника и его фиксации в узле соединения. Ловильный патрубок соединен со свабом быстросъемным соединением. Между разрывным элементом и толкателем на быстросъемных соединениях установлен контейнер с автономным глубинным прибором. Предохранительный разрывной элемент выполнен в виде наконечника быстросъемного соединения, установленного выше ловильного патрубка, с концентратором напряжения в виде утоньшения тела наконечника, по которому происходит разрыв при превышении допустимой нагрузки. Между канатным наконечником и толкателем установлена грузовая штанга, длина которой соразмерна длине лубрикатора. Техническим результатом является повышение эффективности использования агрегатов для свабирования скважин и расширение функциональных возможностей за счет обеспечения возможности переустановки элементов оборудования для свабирования по эксплуатационной колонне и для свабирования по колонне НКТ в полевых условиях непосредственно на скважине силами бригады агрегата. 1 з.п. ф-лы, 5 ил.

Формула изобретения

1. Оборудование для свабирования скважин по эксплуатационной колонне, включающее тройник с выкидной линией, соединенный снизу с основанием устья скважины, а сверху оснащенный узлом соединения с лубрикатором, снабженным датчиком входа и сальниковым очистителем каната, на котором спускается скважинное оборудование, состоящее из сваба, оснащенного снизу грузом, а сверху ловильным патрубком и предохранительным разрывным элементом, толкателя и канатного наконечника для соединения с канатом, отличающееся тем, что лубрикатор для герметичного входа в узел соединения снизу оснащен наконечником с наружной выборкой вверху, подпружиненным вниз стаканом, подпружиненными наружу плашками и центральным проходным каналом большего диаметра, чем канатный наконечник, и меньшего диаметра, чем толкатель, а узел соединения выполнен в виде полого корпуса с внутренней кольцевой проточкой, выполненной с возможностью взаимодействия с плашками после ввода наконечника в узел соединения, причем в узле соединения сверху выполнены боковые отверстия для входа упорной вилки, выполненной с возможностью взаимодействия с выборкой наконечника и его фиксации в узле соединения, при этом ловильный патрубок соединен со свабом быстросъемным соединением, между разрывным элементом и толкателем на быстросъемных соединениях установлен контейнер с автономным глубинным прибором, предохранительный разрывной элемент выполнен в виде наконечника быстросъемного соединения, установленного выше ловильного патрубка, с концентратором напряжения в виде утоньшения тела наконечника, по которому происходит разрыв при превышении допустимой нагрузки, а между канатным наконечником и толкателем установлена грузовая штанга, длина которой соразмерна длине лубрикатора.

2. Оборудование по п. 1, отличающееся тем, что узел соединения выполнен с возможностью при извлечении наконечника взаимодействия с герметичной пробкой, оснащенной наружной выборкой под упорную вилку, и выше узла соединения сбоку - с дополнительным съемным полым корпусом.

Описание

[1]

Изобретение относится к нефтедобывающей промышленности и может быть использовано для свабирования по эксплуатационной колонне скважин с вязкой продукцией, на которых исключена возможность газонефтепроявлений.

[2]

Известно оборудование для свабирования скважин по колоннам насосно-компрессорных труб (НКТ) (Валовский В.М., Валовский К.В. Техника и технология свабирования скважин. - М: ОАО «ВНИИОЭНГ», 2003. - 396 с.), состоящее из скважинного оборудования, предназначенного для подъема жидкости из скважины и включающего сваб, груз (грузовую штангу) и узел крепления тягового органа (канатный наконечник), и устьевого оборудования, предназначенного для герметизации устья и включающего устьевую арматуру, превентор, спайдер, лубрикатор, датчик входа сваба, устройство для герметизации тягового органа (сальниковый очиститель каната), размещенных на передвижном агрегате с лебедкой, обеспечивающем транспортирование к месту применения, монтаж и демонтаж устьевого оборудования, спуск в скважину и извлечение из него скважинного оборудования, сообщение скважинному оборудованию возвратно-поступательного движения с заданными параметрами при подъеме жидкости, управление процессом свабирования и устьевым оборудованием, приведение оборудования в транспортное положение с возможностью размещения скважинного оборудования в лубрикаторе, который укладывается и закрепляется на сложенной мачте агрегата, причем между лубрикатором и сальниковым очистителем каната может быть установлен автоматический узел, при взаимодействии с элементами которого скважинного оборудования происходит отсоединение сальникового очистителя каната от лубрикатора, исключающее обрыв каната в непредвиденных ситуациях.

[3]

Недостатком является то, что при свабировании скважин с высоковязкой продукцией по колонне НКТ вследствие высоких сил гидродинамического трения между скважинным оборудованием и стенками колонны НКТ, обусловленных малой площадью ее проходного сечения, затрудняется или делается невозможным спуск сваба в скважину, что снижает эффективность процесса свабирования или делает невозможным его применение.

[4]

Наиболее близким по технической сущности и достигаемому результату является оборудование для свабирования скважин по эксплуатационной колонне (Валовский К.В., Басос Г.Ю. и др. Применение плашечных свабов для подъема жидкости из скважин по эксплуатационным колоннам // Нефтяное хозяйство. -2005. - №7 - С. 56-60), включающее тройник с выкидной линией, соединенный снизу с основанием устья скважины, а сверху оснащенный узлом соединения с лубрикатором, снабженным датчиком входа и сальниковым очистителем каната, на котором спускается скважинное оборудование, состоящее из сваба, оснащенного снизу грузом, а сверху - ловильным патрубком и предохранительным разрывным элементом, толкателя и канатного наконечника для соединения с канатом, при этом в транспортном положении скважинное оборудование выполнено с возможностью размещения в лубрикаторе, закрепляемом на мачте агрегата для свабирования скважин. Оборудование предназначено для применения на скважинах, где исключена возможность газонефтепроявления (месторождение на поздней стадии разработки, аномально низкие пластовые давления на нефтяных месторождениях с незначительным газовым фактором и др.), и содержит устьевое и скважинное оборудование.

[5]

Недостатком данного оборудования для свабирования скважин по эксплуатационной колонне (ЭК) является его узкая функциональная применимость, обусловленная тем, что на нефтяных месторождениях свабирование ведется в основном на не осложненных высокой вязкостью продукции скважинах по колоннам НКТ, при этом агрегаты для свабирования прикреплены к определенным участкам с целью сокращения времени нахождения их в пути и транспортных затрат. При необходимости свабирования скважины по ЭК с агрегата необходимо демонтировать оборудование для свабирования по НКТ и установить оборудование для свабирования по ЭК, что ввиду больших габаритов и веса его составных частей не может быть выполнено в полевых условиях силами бригады агрегата, состоящей из машиниста и оператора. Поэтому агрегат необходимо перегнать на специализированную базу для переустановки оборудования, а затем после свабирования по ЭК нужно вернуться и снова переустановить оборудование для работы по колонне НКТ, что значительно повышает временные затраты (непроизводительное использование), увеличивает трудозатраты, расход топлива и значительно снижает эффективность его эксплуатации.

[6]

Техническими задачами предполагаемого изобретения являются повышение эффективности использования агрегата для свабирования скважин и расширение функциональных возможностей за счет обеспечения возможности переустановки элементов оборудования для свабирования по ЭК и для свабирования по колонне НКТ в полевых условиях непосредственно на скважине силами бригады агрегата и снижения трудоемкости монтажа оборудования на скважине.

[7]

Указанные технические задачи решаются оборудованием для свабирования скважин по эксплуатационной колонне (ЭК), включающим тройник с выкидной линией, соединенный снизу с основанием устья скважины, а сверху оснащенный узлом соединения с лубрикатором, снабженным датчиком входа и сальниковым очистителем каната, на котором спускается скважинное оборудование, состоящее из сваба, оснащенного снизу грузом, а сверху - ловильным патрубком и предохранительным разрывным элементом, толкателя и канатного наконечника для соединения с канатом.

[8]

Новым является то, что лубрикатор для герметичного входа в узел соединения снизу оснащен наконечником с наружной выборкой вверху, подпружиненным вниз стаканом, подпружиненными наружу плашками и центральным проходным каналом большего диаметра, чем канатный наконечник, и меньшего диаметра, чем толкатель, а узел соединения выполнен в виде полого корпуса с внутренней кольцевой проточкой, выполненной с возможностью взаимодействия с плашками после ввода наконечника в узел соединения, причем в узле соединения сверху выполнены боковые отверстия для входа упорной вилки, выполненной с возможностью взаимодействия с выборкой наконечника и его фиксации в узле соединения, при этом ловильный патрубок соединен со свабом быстросъемным соединением, между разрывным элементом и толкателем на быстросъемных соединениях установлен контейнер с автономным глубинным прибором, предохранительный разрывной элемент выполнен в виде наконечника быстросъемного соединения, установленного выше ловильного патрубка, с концентратором напряжения в виде утоньшения тела наконечника, по которому происходит разрыв при превышении допустимой нагрузки, а между канатным наконечником и толкателем установлена грузовая штанга, длина которой соразмерна длине лубрикатора.

[9]

Новым является также то, что узел соединения выполнен с возможностью при извлечении наконечника взаимодействия с герметичной пробкой, оснащенной наружной выборкой под упорную вилку, и выше узла соединения сбоку - с дополнительным съемным полым корпусом.

[10]

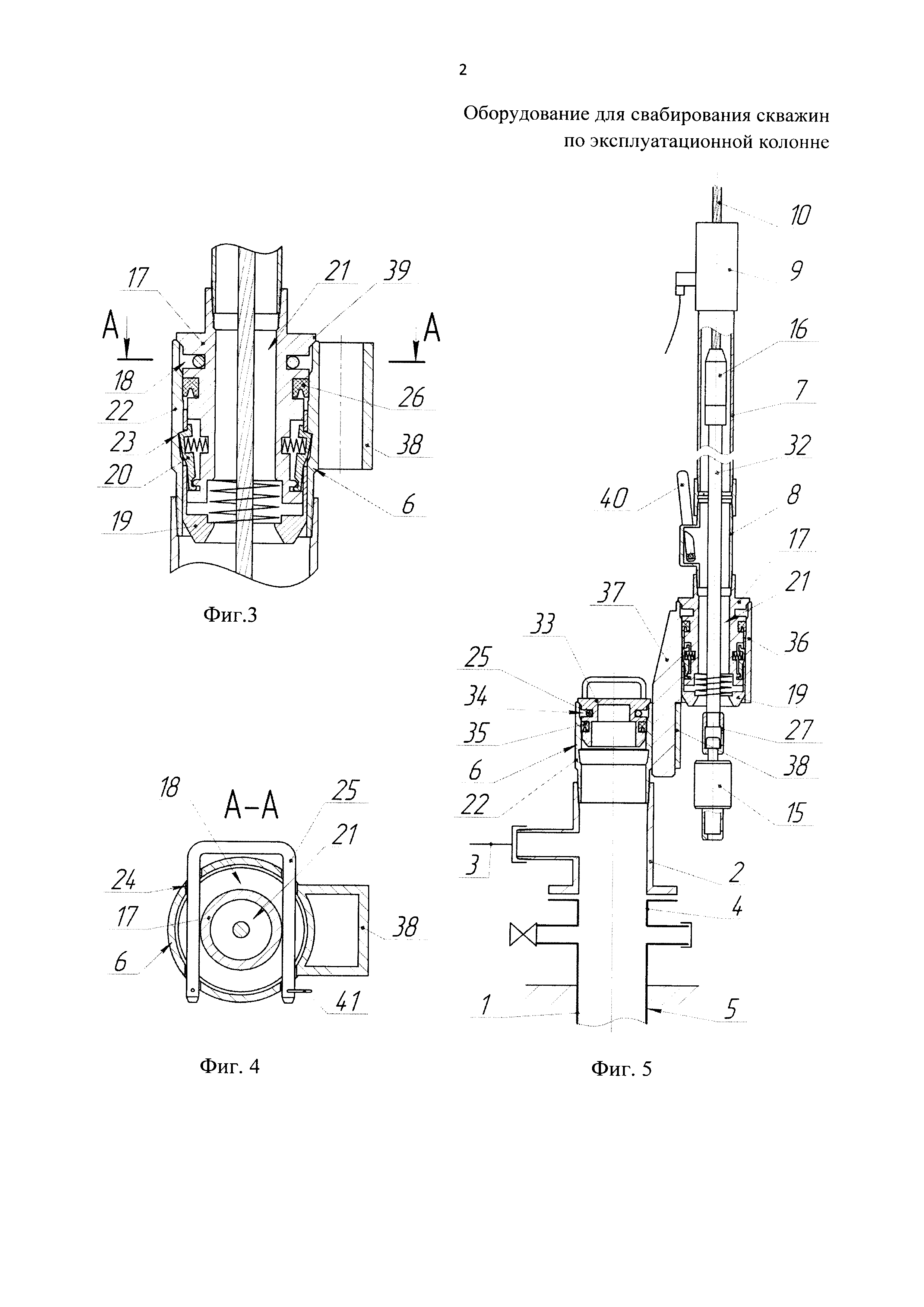
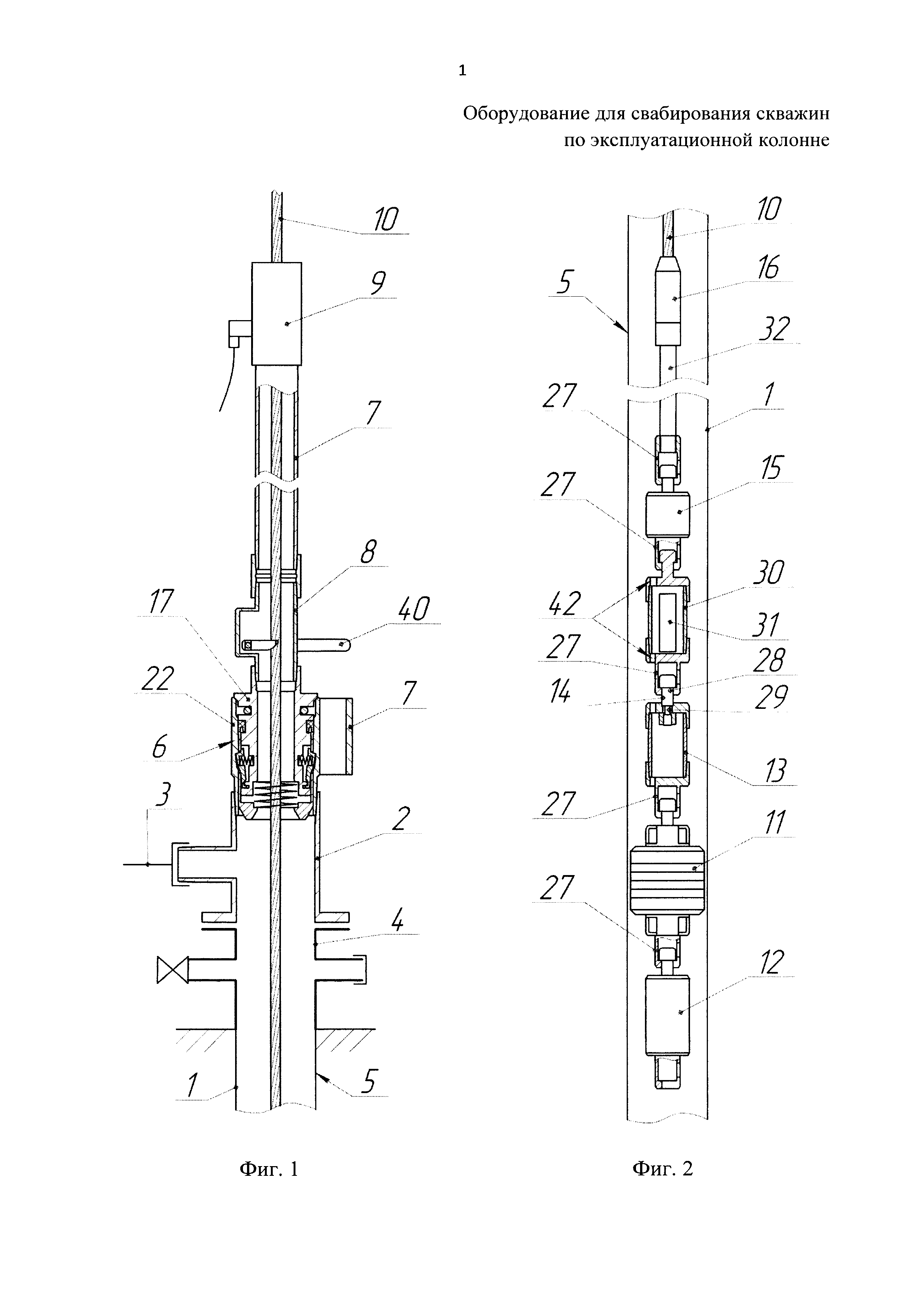
На фиг. 1 схематично показан общий вид устьевой части оборудования; на фиг. 2 - общий вид скважинной части оборудования; на фиг. 3 - узел соединения лубрикатора с тройником; на фиг. 4 - поперечное сечение А-А фиг. 3; на фиг. 5 - схема подготовки оборудования к применению в эксплуатационной колонне.

[11]

Оборудование для свабирования скважин по ЭК 1 (фиг. 1) включает тройник 2 с выкидной линией 3 (показана условно), соединенный снизу с основанием 4 устья скважины 5, а сверху оснащенный узлом соединения 6 с лубрикатором 7, снабженным датчиком входа 8 и сальниковым очистителем 9 каната 10, на котором спускается скважинное оборудование, состоящее из сваба 11 (фиг. 2), оснащенного снизу грузом 12, а сверху - ловильным патрубком 13 и предохранительным разрывным элементом 14, толкателя 15 и канатного наконечника 16 для соединения с канатом 10.

[12]

Лубрикатор 7 (фиг. 1) для герметичного входа в узел соединения 6 ниже датчика входа 8 оснащен наконечником 17 (фиг. 1 и 3) с наружной выборкой 18 (фиг. 3) вверху, подпружиненным вниз стаканом 19, подпружиненными наружу плашками 20 и центральным проходным каналом 21. Узел соединения 6 выполнен в виде полого корпуса 22 с внутренней кольцевой проточкой 23, выполненной с возможностью взаимодействия с плашками 20 после ввода наконечника 17 в узел соединения 6 (фиг. 3 и 4). В узле соединения 6 сверху выполнены боковые отверстия 24 (фиг. 4) для входа упорной вилки 25, выполненной с возможностью взаимодействия с наружной выборкой 18 (фиг. 3 и 4) наконечника 17 и его фиксации в узле соединения 6. Центральный проходной канал 21 выполнен большего диаметра, чем канатный наконечник 16 (фиг. 2), и меньшего диаметра, чем толкатель 15. Герметичность соединения наконечника 17 (фиг. 3) с полым корпусом 22 может быть обеспечена уплотнением 26, в данном случае выполненным в виде манжеты.

[13]

Ловильный патрубок 13 (фиг. 2) соединен со свабом 11 быстросъемным соединением 27, как и все остальные узлы скважинного оборудования соединены между собой. Конструкция быстроразъемного соединения 27 унифицирована с конструкцией известного аналогичного узла, широко применяемого при свабировании по колонне НКТ (не показана). Предохранительный разрывной элемент 14 выполнен в виде наконечника 28 быстросъемного соединения 27 ловильного патрубка 13. Наконечник 28 выполнен с концентратором напряжения в виде утоньшения 29 тела наконечника 28, по которому происходит разрыв при превышении допустимой нагрузки.

[14]

Между разрывным элементом 14 и толкателем 15 также на быстросъемных соединениях 27 установлен контейнер 30 с автономным глубинным прибором 31. Между канатным наконечником 16 и толкателем 15 расположена грузовая штанга 32, длина которой соразмерна длине лубрикатора 7 (фиг. 1).

[15]

Узел соединения 6 (фиг. 5) выполнен с возможностью взаимодействия с герметичной пробкой 33, которая устанавливается в полый корпус 22 при извлечении наконечника 17 (фиг. 3). Герметичная пробка 33 (фиг. 5) оснащена наружной выборкой 34 под упорную вилку 25. Герметичность соединения пробки 33 с полым корпусом 22 обеспечивается уплотнением 35.

[16]

Выше узла соединения 6 сбоку расположен дополнительный съемный полый корпус 36, прикрепляемый к полому корпусу 22, например, с помощью кронштейна 37, устанавливаемого, например, в боковую проушину 38 (фиг. 3, 4 и 5), выполненную снаружи полого корпуса 22 (фиг. 3 и 5).

[17]

Оборудование для свабирования скважин работает следующим образом.

[18]

Агрегат для свабирования с размещенным на нем описанным выше оборудованием устанавливается на скважине 5 (фиг. 5), подготовленной для проведения свабирования по ЭК 1. Тройник 2 устанавливается на основании 4 устья скважины 5. К тройнику 2 сверху присоединяется полый корпус 22 узла соединения 6. В проушину 38 полого корпуса 22 с помощью, например, кронштейна 37 устанавливается дополнительный съемный полый корпус 36. К висящему на канате 10 лубрикатору 7 ниже датчика входа 8 присоединяется наконечник 17 (фиг. 3), опускается сверху в дополнительный съемный полый корпус 36 (фиг. 5) и фиксируется в нем от дальнейшего осевого перемещения вниз, например, утолщением 39 (фиг. 3) в верхней части наконечника 17, диаметр которого больше внутреннего диаметра дополнительного съемного полого корпуса 36 (фиг. 5), при этом лубрикатор 7 устанавливается вертикально соосно скважине 5. Затем канат 10 с помощью лебедки (на фиг. не показана) подают вниз. Под действием силы тяжести грузовая штанга 32, размещенная в лубрикаторе 7, опускается относительно лубрикатора 7 и из отверстия 21 (фиг. 3) наконечника 17 выходит установленное на нижнем конце грузовой штанги 32 (фиг. 5) быстроразъемное соединение 27, к которому подсоединяется толкатель 15. Затем производится натяжение каната 10, грузовая штанга 32 с присоединенным к ней толкателем 15 перемещаются вверх относительно лубрикатора 7. Поскольку наружный диаметр толкателя 15 больше диаметра отверстия 21 (фиг. 3) наконечника 17 и стакана 19, то после упора толкателя 15 (фиг. 5) снизу в стакан 19 начинается подъем всего висящего на канате 10 оборудования над устьем скважины 5. После этого дополнительный съемный полый корпус 36 демонтируется, к быстроразъемному соединению 27 на нижнем конце толкателя 15 подсоединяется скважинная часть оборудования в последовательности, показанной на фиг. 2, и спускается в скважину 5. При этом наконечник 17 (фиг. 1) устанавливается в полом корпусе 22 и герметично фиксируется от осевого перемещения вверх с помощью подпружиненных плашек 20 (фиг. 3), взаимодействующих с кольцевой проточкой 23 полого корпуса 22, а от осевого перемещения вниз - утолщением 39 в верхней части наконечника 17, диаметр которого больше внутреннего диаметра полого корпуса 22. К тройнику 2 (фиг. 1) подсоединяется выкидная линия 3, скважинная часть оборудования спускается на заданную глубину под уровень жидкости. Спуск скважинного оборудования осуществляется за счет сил тяжести грузовой штанги 32 (фиг. 2) и груза 12. Для увеличения скорости спуска скважинного оборудования в высоковязкой продукции к грузу 12 снизу могут быть присоединены один или несколько аналогичных грузов (на фиг. не показано). Указатель 40 (фиг. 1) датчика входа 8 переводят в горизонтальное положение. Затем на канате 10 начинают подъем скважинной части оборудования, при этом поднимая к устью скважины 5 по ЭК 1 и далее в выкидную линию 3 столб жидкости (на фиг. не показан), находящейся над свабом 11. Герметизация каната 10 обеспечивается сальниковым очистителем 9, а размещенного в полом корпусе 22 (фиг. 3) узла соединения 6 наконечника 17 - уплотнением 26. Поскольку объем жидкости в единице длины ЭК 1 (фиг. 1) в несколько раз превышает аналогичный показатель в колонне НКТ, то с целью повышения эффективности свабирования необходимо поднимать сваб 11 (фиг. 2) как можно ближе к устью скважины 5 (фиг. 1), чтобы как можно больший объем жидкости поступил в выкидную линию 3 и как можно меньший остался над свабом 11 (фиг. 2) и при следующем спуске ушел обратно в скважину 5. С этой целью подъем каната 10 ведется до взаимодействия канатного наконечника 16 с датчиком входа 8 (фиг. 1), на что визуально укажет поднимающийся вверх указатель 40. После срабатывания датчика входа 8 скважинная часть оборудования снова спускается на канате 10 в скважину 5 на заданную глубину под уровень жидкости. Далее циклы свабирования повторяются.

[19]

При необходимости ревизии состояния сваба 11 (фиг. 2) или с целью снятия показаний с глубинного прибора 31 скважинная часть оборудования поднимается к устью скважины до подъема указателя 40 (фиг. 1) датчика входа 8, после чего на минимальной скорости продолжают вести подъем каната 10. Канатный наконечник 16 (фиг. 2) с грузовой штангой 32 заходят в лубрикатор 7 (фиг. 1), а толкатель 15 (фиг. 2) взаимодействует с подпружиненным стаканом 19 (фиг. 3) и приподнимает его вверх относительно наконечника 17, при этом подпружиненные плашки 20 поджимаются стаканом 19 внутрь наконечника 17, выходят из взаимодействия с внутренней кольцевой проточкой 23, и наконечник 17 выходит из полого корпуса 22. Этим обеспечивается полнопроходное открытие устья скважины 5 в узле соединения 6, через которое извлекается на поверхность вся скважинная часть оборудования и может быть произведена ревизия сваба 11 (фиг. 2), его замена, снятие показаний с глубинного прибора 31. При этом полнопроходное отверстие в узле соединения 6 (фиг. 5) закрывается герметичной пробкой 33, которая при необходимости может быть зафиксирована в полом корпусе 22 (фиг. 4) с помощью упорной вилки 25, вставляемой через боковые отверстия 24 полого корпуса 22 и взаимодействующей с торцами наружной выборки 34 герметичной пробки 33. Герметичность соединения пробки 33 с полым корпусом 22 обеспечивается уплотнением 35. Это исключит случайное попадание в скважину 5 (фиг. 5) посторонних предметов и предотвратит возможное выделение запаха нефтяного газа и сероводорода из скважины 5, что сделает работу на устье более экологичной и безопасной.

[20]

По завершении работ по свабированию на данной скважине скважинная часть оборудования вышеописанным образом извлекается из скважины 5 (фиг. 1), последовательно демонтируется до толкателя 15 (фиг. 2), на который упирается наконечник 17 (фиг. 1) и на котором удерживается на канате 10 лубрикатор 7.

[21]

Если следующая скважина запланирована для свабирования по колонне НКТ, то полнопроходное отверстие в узле соединения 6 (фиг. 5) закрывается герметичной пробкой 33, а в проушину 38 полого корпуса 22 с помощью кронштейна 37 устанавливается дополнительный съемный полый корпус 36. Висящий на канате 10 лубрикатор 7 опускается наконечником 17 (фиг. 3) сверху в дополнительный съемный полый корпус 36 (фиг. 5) до упора утолщения 39 (фиг. 3) в верхний торец дополнительного съемного корпуса 36 (фиг. 5), канат 10 подают вниз. Под действием силы тяжести размещенная в лубрикаторе 7 грузовая штанга 32 опускается относительно лубрикатора 7, толкатель 15 также перемещается вниз, а из отверстия 21 (фиг. 3) наконечника 17 выходит установленное на нижнем конце грузовой штанги 32 (фиг. 5) быстроразъемное соединение 27, что позволяет отсоединить от него толкатель 15. В этом же положении при необходимости ослабляют резьбовое соединение лубрикатора 7 ниже датчика входа 8 с наконечником 17 (фиг. 3). Затем производится натяжение каната 10 (фиг. 5), канатный наконечник 16 перемещается вверх и упирается в сальниковый очиститель 9 каната 10. Лубрикатор 7 с наконечником 17 приподнимаются над устьем скважины 5, дополнительный съемный полый корпус 36 демонтируется. С висящего на канате 10 лубрикатора 7 демонтируется наконечник 17 (фиг. 3), а поскольку длина грузовой штанги 32 (фиг. 2) соразмерна длине лубрикатора 7 с учетом входящего в его состав датчика входа 8, то при снятом наконечнике 17 (фиг. 3) из лубрикатора 7 (фиг. 5) ниже датчика 8 будет выступать установленное на нижнем конце грузовой штанги 32 быстроразъемное соединение 27, к которому при свабировании следующей скважины по колонне НКТ будет подсоединен соответствующий сваб (на фиг. не показан).

[22]

Если следующая скважина запланирована для свабирования по ЭК 1, то после отсоединения от толкателя 15 скважинной части оборудования лубрикатор 7 с наконечником 17 (фиг. 3) опускается обратно в полый корпус 22 узла соединения 6. В боковые отверстия 24 (фиг. 4) вставляется упорная вилка 25, которая взаимодействует с торцами наружной выборки 18 наконечника 17 и надежно фиксирует его в узле соединения 6. С целью исключения произвольного выхода упорной вилки 25 из узла соединения 6 последняя может быть оснащена каким-либо известным фиксатором, например клипсой 41. После этого демонтируется выкидная линия 3 (фиг. 1), тройник 2 отсоединяется от основания 4 устья скважины 5 и на канате 10 поднимается вместе с узлом соединения 6 и лубрикатором 7, размещается на мачте агрегата (на фиг. не показан) и после складывания мачты агрегата фиксируется на ней в транспортном положении. Агрегат переезжает и устанавливается на следующей скважине 5 для свабирования по ЭК 1. Лубрикатор 7 с присоединенным к нему через узел соединения 6 тройником 2 опускается на канате 10 и устанавливается на основании 4 устья скважины 5. После этого упорная вилка 25 (фиг. 4) извлекается из узла соединения 6, а лубрикатор 7 (фиг. 1) с наконечником 17 на канате 10 приподнимают над скважиной 5. К толкателю 15 (фиг. 2) снизу подсоединяется показанная на фиг. 2 скважинная часть оборудования, спускается в скважину, наконечник 17 (фиг. 3) устанавливается в полом корпусе 22 и фиксируется в нем с помощью подпружиненных плашек 20, к тройнику 2 (фиг. 1) подсоединяется выкидная линия 3 и начинается процесс свабирования по ЭК 1.

[23]

Применение размещенного в составе скважинной части оборудования контейнера 30 (фиг. 2) позволяет разместить в нем автономный глубинный прибор 31, который ведет запись протокола значений давлений и температуры жидкости над свабом 11 в процессе свабирования, и по интенсивности падения давления оценивать, например, эффективность применения свабов 11 различных конструкций. Для сообщения полостей скважины 5 и контейнера 30 и поступления в него скважинной жидкости в верхней и нижней его частях выполнены отверстия 42.

[24]

Предохранительный разрывной элемент 14, выполненный в виде тела наконечника 28 быстроразъемного соединения 27, расположенного между контейнером 30 и ловильным патрубком 13, предназначен для предотвращения обрыва каната 10 при возможном прихвате сваба 11 в скважине 5, поскольку за счет концентратора напряжения, выполненного в виде утоньшения 29 тела наконечника 28, его разрыв происходит при нагрузке, меньшей разрывного усилия каната 10. Тем самым облегчается ведение дальнейших ловильных работ, поскольку весь канат 10, канатный наконечник 16, грузовая штанга 32, толкатель 15 и контейнер 30 с прибором 31 извлекаются на поверхность, после чего оставшиеся в скважине 5 ловильный патрубок 13, сваб 11 и груз 12 могут быть извлечены за ловильный патрубок 13 с помощью стандартной труболовки (на фиг. не показана).

[25]

Такое выполнение оборудования для свабирования скважин по эксплуатационной колонне позволяет повысить эффективность использования агрегата для свабирования скважин и расширить функциональные возможности за счет обеспечения возможности переустановки элементов оборудования для свабирования по эксплуатационной колонне и для свабирования по колонне НКТ в полевых условиях непосредственно на скважине силами бригады агрегата.

Как компенсировать расходы
на инновационную разработку
Похожие патенты