патент
№ RU 2604520
МПК H03B5/12

ГЕНЕРАТОР СВЧ

Авторы:
Сазонов Михаил Сергеевич Левашов Сергей Валерьевич Балыко Александр Карпович
Все (5)
Номер заявки
2015145917/08
Дата подачи заявки
26.10.2015
Опубликовано
10.12.2016
Страна
RU
Как управлять
интеллектуальной собственностью
Чертежи 
2
Реферат

Изобретение относится к электронной технике и может использоваться как генератор с электронной перестройкой частоты. Технический результат - расширение диапазона перестройки частоты и обеспечение высокой выходной мощности. Генератор СВЧ содержит линию передачи на выходе, три полевых транзистора с барьером Шотки, пять индуктивностей, два резистора, четыре емкости. 3 ил.

Формула изобретения

Генератор СВЧ, содержащий линию передачи на выходе, два полевых транзистора с барьером Шотки, две индуктивности, емкость, при этом один конец первой индуктивности соединен со стоком первого полевого транзистора с барьером Шотки, на затвор которого подают постоянное управляющее напряжение, а другой - с затвором второго полевого транзистора с барьером Шотки, на сток которого подают постоянное напряжение положительной полярности через вторую индуктивность, сток второго полевого транзистора с барьером Шотки соединен с линией передачи на выходе через емкость, отличающийся тем, что в генератор дополнительно введены полевой транзистор с барьером Шотки - третий, три индуктивности - третья, четвертая, пятая, три емкости - вторая, третья и четвертая, два резистора - первый и второй соответственно, при этом сток второго полевого транзистора с барьером Шотки соединен со стоком третьего полевого транзистора с барьером Шотки через последовательное соединение первого резистора, третьей индуктивности и третьей емкости, исток третьего полевого транзистора с барьером Шотки соединен со стоком первого полевого транзистора с барьером Шотки, затвор третьего полевого транзистора с барьером Шотки - с затвором первого полевого транзистора с барьером Шотки, исток первого, исток и сток второго полевых транзисторов с барьером Шотки заземлены, при этом исток первого - через четвертую индуктивность, исток второго - через четвертую емкость и последовательное соединение пятой индуктивности и второго резистора, сток второго - через вторую емкость.

Описание

[1]

Изобретение относится к электронной технике, а именно к генераторам СВЧ на транзисторах с электрической перестройкой частоты.

[2]

Известен генератор СВЧ (далее генератор), содержащий полевой транзистор с барьером Шотки, выполненный из полупроводникового материала - арсенида галлия, соединенные с ним колебательную систему и полупроводниковый прибор, управляемый напряжением, при этом полевой транзистор с барьером Шотки соединен по схеме с общим истоком, один конец колебательной системы соединен с затвором полевого транзистора с барьером Шотки, а другой - с полупроводниковым прибором, управляемым напряжением, в качестве которого служит варакторный диод [1, стр. 193].

[3]

Использование в этом генераторе СВЧ в качестве активного прибора полевого транзистора с затвором в виде барьера Шотки, выполненного из полупроводникового материала - арсенида галлия, который обладает высокой подвижностью электронов, позволило существенно увеличить нижний предел диапазона перестройки частоты.

[4]

Однако данный генератор не обеспечивает широкий диапазон перестройки частоты, поскольку варакторный диод обладает ограниченным интервалом изменения управляющего напряжения.

[5]

Кроме того, невозможно реализовать генератор СВЧ в монолитном интегральном исполнении, поскольку полевой транзистор с затвором в виде барьера Шотки и варакторный диод выполнены из различных полупроводниковых материалов раздельно.

[6]

Известен генератор СВЧ, управляемый напряжением, содержащий полевой транзистор с барьером Шотки, соединенные с ним колебательную систему и полупроводниковый прибор, управляемый напряжением, при этом полевой транзистор с барьером Шотки соединен по схеме активного прибора с общим истоком, один конец колебательной системы соединен с затвором полевого транзистора с барьером Шотки, а другой - с полупроводниковым прибором, управляемым напряжением, при этом в генераторе в качестве полупроводникового прибора, управляемого напряжением, используют другой полевой транзистор с барьером Шотки, соединенный по схеме с общим истоком, при этом другой конец колебательной системы соединен со стоком другого полевого транзистора с барьером Шотки, на который подают постоянное напряжение положительной полярности, а на затвор другого полевого транзистора с барьером Шотки подают управляющее напряжение - прототип [2].

[7]

Этот генератор СВЧ сохраняет высокую величину нижнего предела диапазона перестройки частоты и обеспечивает его реализацию в монолитном исполнении.

[8]

Диапазон перестройки частоты генератора составляет примерно 1 ГГц.

[9]

Однако этот генератор СВЧ не дает существенного выигрыша относительно ширины диапазона перестройки, поскольку эту ширину ограничивают внутренние емкости полевых транзисторов с барьером Шотки.

[10]

Следует отметить, что этот генератор СВЧ сугубо направлен на решение вышеуказанной задачи и не решает задачи увеличения выходной мощности.

[11]

Техническим результатом заявленного изобретения является расширение диапазона перестройки частоты и обеспечение высокой выходной мощности.

[12]

Указанный технический результат достигается заявленным генератором СВЧ, содержащим линию передачи на выходе, два полевых транзистора с барьером Шотки, две индуктивности, емкость, при этом один конец первой индуктивности соединен со стоком первого полевого транзистора с барьером Шотки, на затвор которого подают постоянное управляющее напряжение, а другой - с затвором второго полевого транзистора с барьером Шотки, на сток которого подают постоянное напряжение положительной полярности через вторую индуктивность, сток второго полевого транзистора с барьером Шотки соединен с линией передачи на выходе через емкость.

[13]

В генератор дополнительно введены полевой транзистор с барьером Шотки - третий, три индуктивности - третья, четвертая, пятая, три емкости - вторая, третья и четвертая, два резистора - первый и второй соответственно, при этом - сток второго полевого транзистора с барьером Шотки соединен со стоком третьего полевого транзистора с барьером Шотки через последовательное соединение первого резистора, третьей индуктивности и третьей емкости, исток третьего полевого транзистора с барьером Шотки соединен со стоком первого полевого транзистора с барьером Шотки, затвор третьего полевого транзистора с барьером Шотки - с затвором первого полевого транзистора с барьером Шотки, исток первого, исток и сток второго полевых транзисторов с барьером Шотки заземлены, при этом исток первого - через четвертую индуктивность, исток второго - через четвертую емкость и последовательное соединение пятой индуктивности и второго резистора, сток второго - через вторую емкость.

[14]

Раскрытие сущности изобретения

[15]

Совокупность существенных признаков заявленного генератора СВЧ, а именно:

[16]

Наличие дополнительно четвертой и пятой индуктивности и предложенное соединение их с первым и вторым полевыми транзисторами с барьером Шотки обеспечивает последовательное включение этих индуктивностей и внутренних емкостей этих полевых транзисторов с барьером Шотки, тем самым - реализацию условий компенсации внутренних емкостей полевых транзисторов с барьером Шотки и тем самым - увеличение верхней границы диапазона перестройки частоты.

[17]

Наличие дополнительно третьего полевого транзистора с барьером Шотки и пяти индуктивностей, предложенное соединение затворов первого и третьего полевых транзисторов с барьером Шотки и заземление истока первого, истока и стока второго полевых транзисторов с барьером Шотки, при этом истока первого - через четвертую индуктивность, истока второго - через четвертую емкость и последовательное соединение пятой индуктивности и второго резистора, стока второго - через вторую емкость, обеспечивает, по меньшей мере, уменьшение вдвое общей внутренней емкости всех трех полевых транзисторов с барьером Шотки и тем самым - увеличение верхней границы диапазона перестройки частоты.

[18]

И, как следствие, вышеуказанного - значительное расширение диапазона перестройки частоты генератора СВЧ.

[19]

Наличие третьей индуктивности, третьей емкости и первого резистора и предложенное их последовательное соединение обеспечивает реализацию в генераторе СВЧ цепи отрицательной обратной связи и, как следствие, - обеспечение высокой выходной мощности генератора СВЧ.

[20]

Наличие дополнительно третьего полевого транзистора с барьером Шотки и второй емкости и предложенное соединение затворов и стоков всех полевых транзисторов с барьером Шотки обеспечивает одновременное изменение с управляющим напряжением емкостей первого (управляемого) полевого транзистора с барьером Шотки и третьего полевого транзистора с барьером Шотки, включенного в упомянутую цепь отрицательной обратной связи, и тем самым - одновременное изменение частот в цепи обратной связи и в цепи управления, и тем самым - исключение процесса «биения» этих частот и, как следствие, - значительное расширение диапазона перестройки частоты генератора СВЧ.

[21]

Наличие пятой индуктивности, четвертой емкости и второго резистора обеспечивает реализацию положительной обратной связи у второго (активного) полевого транзистора с барьером Шотки и, как следствие, - обеспечение высокой выходной мощности генератора СВЧ.

[22]

Более того, предложенная совокупность всех существенных признаков практически не влияет:

[23]

а) на величину общей внутренней емкости полевых транзисторов с барьером Шотки и тем самым на низких частотах сохраняет неизменной нижнюю границу диапазона перестройки частоты,

[24]

б) на крутизну вольтамперных характеристик полевых транзисторов с барьером Шотки и тем самым обеспечивает малый перепад выходной мощности генератора СВЧ в диапазоне перестройки частоты.

[25]

Итак, заявленная совокупность существенных признаков в полной мере реализует указанный технический результат, а именно расширение диапазона перестройки частоты и обеспечение высокой выходной мощности генератора СВЧ.

[26]

Изобретение поясняется чертежами.

[27]

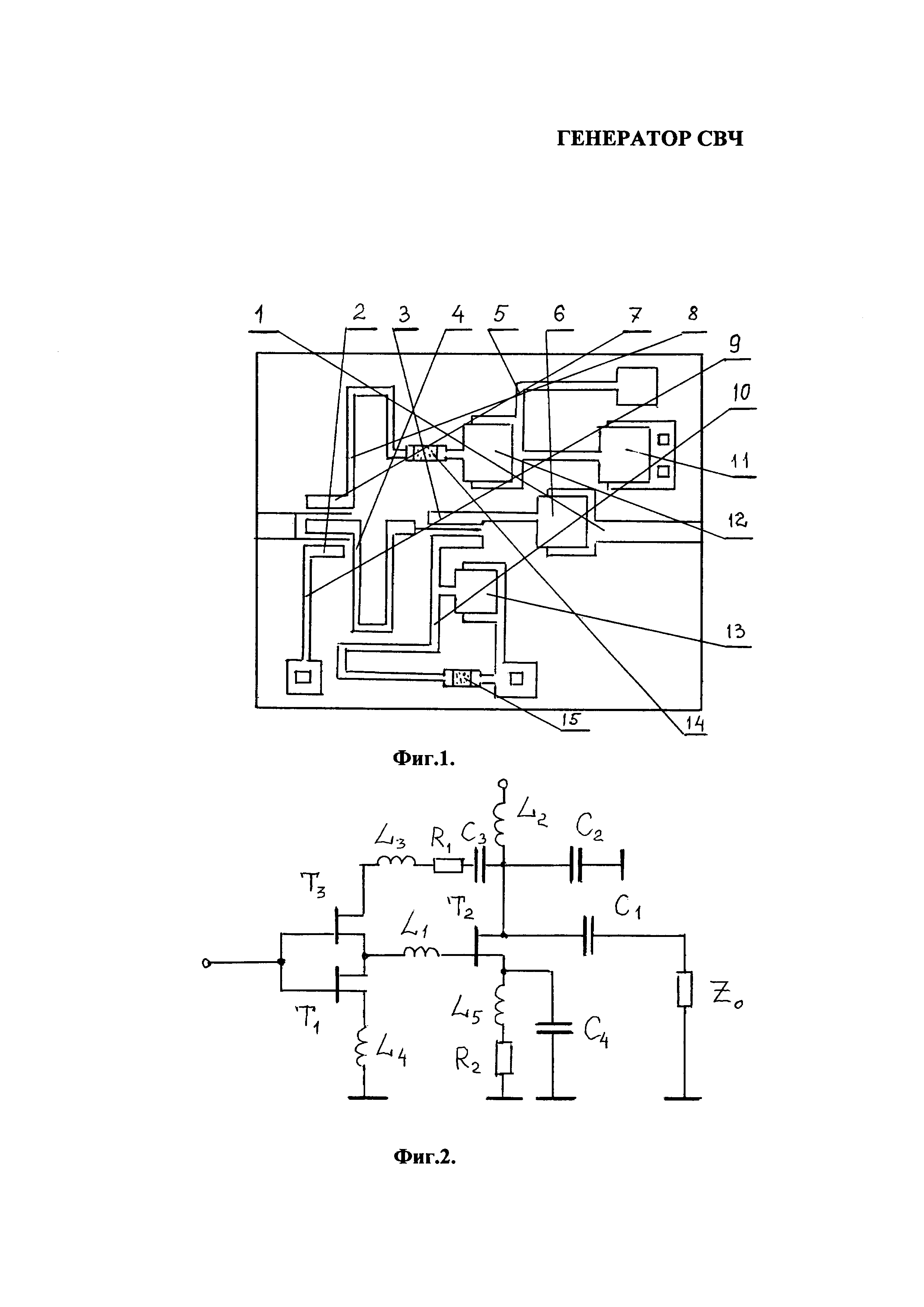
На фиг 1 дана топология заявленного генератора СВЧ, где

[28]

линия передачи на выходе - 1,

[29]

первый и второй полевые транзисторы с барьером Шотки - 2 и 3 соответственно,

[30]

первая и вторая индуктивности - 4 и 5 соответственно,

[31]

емкость - 6,

[32]

третий полевой транзистор с барьером Шотки - 7,

[33]

третья, четвертая, пятая индуктивности - 8, 9, 10 соответственно,

[34]

вторая, третья, четвертая емкости - 11, 12, 13 соответственно,

[35]

первый и второй резисторы - 14, 15 соответственно.

[36]

На фиг. 2 дана электрическая схема заявленного генератора СВЧ.

[37]

На фиг. 3 дана зависимость частоты и выходной мощности генератора СВЧ от управляющего напряжения.

[38]

Пример конкретного выполнения заявленного генератора СВЧ.

[39]

Генератор СВЧ выполнен в монолитном интегральном исполнении на полупроводниковой подложке из арсенида галлия толщиной равной 0,1 мм с использованием классической тонкопленочной технологии.

[40]

Линия передачи на выходе 1 выполнена с волновым сопротивлением равным 50,0 Ом, что соответствует ширине проводника 0,08 мм.

[41]

Полевые транзисторы с барьером Шотки 2, 3, 7 выполнены каждый с длиной затвора равной 0,4 мкм, шириной затвора равной 300,0 мкм, одинаковыми длинами стока и истока равными 20,0 мкм, имеют напряжение отсечки Uотс. равное -2,0 В.

[42]

Емкости 6, 11, 12, 13 выполнены на основе окиси кремния толщиной 5,0 мкм.

[43]

Индуктивности 4, 5, 8, 9, 10 выполнены в виде меандров шириной равной 10,0 мкм и длинами 500,0 мкм, 500,0 мкм, 100,0 мкм, 50,0 мкм, 300,0 мкм соответственно.

[44]

Резисторы 14, 15 выполнены из пленки тантала, сопротивлением порядка 100 Ом.

[45]

Генератор СВЧ работает следующим образом.

[46]

На сток второго полевого транзистора с барьером Шотки 3 через вторую индуктивность 5 подают напряжение положительной полярности +6 В.

[47]

На затворы первого 2 и третьего 7 полевых транзисторов с барьером Шотки подают напряжение, изменяющееся от -2,0 В до +0 В.

[48]

Вследствие нелинейной вольтамперной характеристики у всех полевых транзисторов с барьером Шотки 2, 3, 7 и благодаря наличию сформированных положительной и отрицательной цепей обратной связи, в генераторе возникают устойчивые гармонические колебания СВЧ с частотой (f), при этом энергия постоянного напряжения преобразовывается в энергию гармонических колебаний и выделяется на выходе генератора СВЧ в виде переменного напряжения с частотой (f). В результате на выходе генератора СВЧ переменное напряжение выделяется в виде выходной переменной мощности СВЧ, поскольку мощность пропорциональна квадрату напряжения.

[49]

При изменении величины первого резистора 14, третьей индуктивности 8 или третьей емкости 12 процессы в генераторе СВЧ протекают подобно описанным выше, при этом частота гармонических колебаний СВЧ (f) изменяется в диапазоне перестройки частоты и реализуется высокий уровень выходной мощности (Р) генератора СВЧ.

[50]

На образцах заявленного СВЧ-генератора были измерены зависимости частоты и выходной мощности от управляющего напряжения, изменяющегося в пределах от -2,0 В до +0 В.

[51]

Результаты представлены на фиг. 3.

[52]

Как видно, частота (f) генератора изменяется от 10,0 до 15,0 ГГц, так что диапазон перестройки частоты генератора составляет 5,0 ГГц, что примерно в 5 раз больше, чем у прототипа.

[53]

Уровень выходной мощности (Р) генератора составляет более 50 мВт, а перепад выходной мощности в диапазоне перестройки частоты не превышает 3 дБ.

[54]

Таким образом, заявленный генератор СВЧ по сравнению с прототипом обеспечит:

[55]

- расширение диапазона перестройки частоты примерно в 5 раз,

[56]

- высокую выходную мощность генератора СВЧ порядка 50 мВт.

[57]

Более того, что важно, обеспечивает малый перепад выходной мощности генератора СВЧ в диапазоне перестройки частоты, не более 3 дБ.

[58]

Источники информации

[59]

1. Твердотельные устройства СВЧ в технике связи. Л.Г. Гассанов, А.А. Липатов, В.В. Марков. - М.: Радио и связь, 1988 г.

[60]

2. Патент РФ №2277293, приоритет от 05.10.2005 г., опубликовано 27.05.2006 г.

Как компенсировать расходы
на инновационную разработку
Похожие патенты