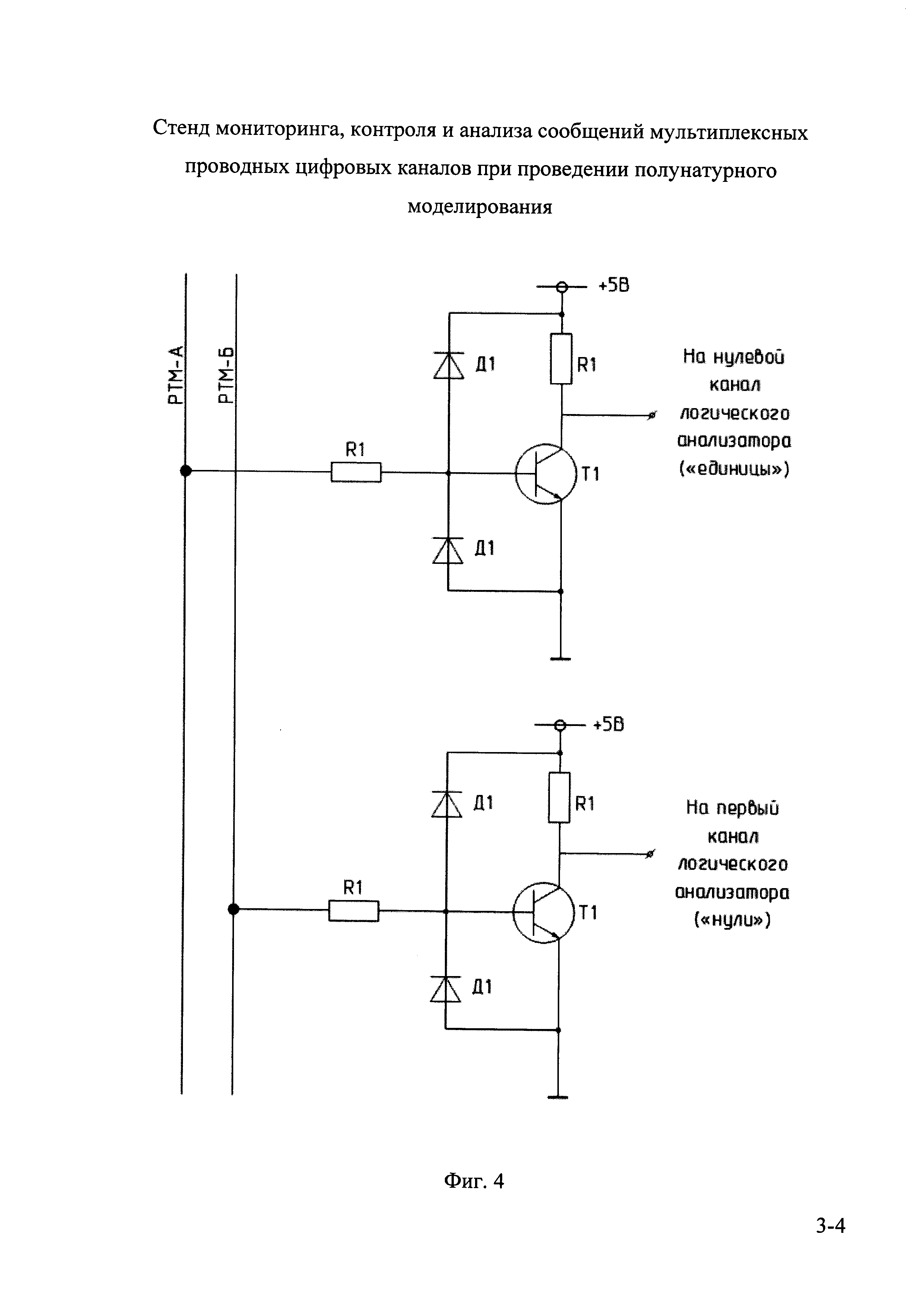
Изобретение относится к информационно-измерительной и контрольной технике для мониторинга, анализа и контроля сообщений, передаваемых по мультиплексным цифровым каналам, в частности, по ГОСТ Р 52070-2003 и РТМ 1495-75, например, при проведении полунатурного моделирования. Технический результат заключается в снижении аппаратной сложности аппаратуры мониторинга, контроля и анализа сообщений мультиплексных проводных цифровых каналов и снижении ее массогабаритных характеристик. Для этого предлагаемый стенд содержит преобразователь уровня электрических характеристик сигналов, логический анализатор общего назначения, а также персональный компьютер, причем вход преобразователя уровня связан с линией передачи данных цифрового мультиплексного канала, служащего объектом мониторинга, анализа и контроля, выход указанного преобразователя подключен ко входу указанного логического анализатора, а выход указанного логического анализатора связан с указанным персональным компьютером двунаправленной линией передачи данных. 3 з.п. ф-лы, 1 табл., 4 ил.
1. Стенд мониторинга, контроля и анализа сообщений мультиплексных проводных цифровых каналов при проведении полунатурного моделирования, характеризующийся тем, что в его составе имеется преобразователь уровня электрических характеристик сигналов, логический анализатор общего назначения, а также персональный компьютер, причем вход преобразователя уровня связан с линией передачи данных цифрового мультиплексного канала, служащего объектом мониторинга, анализа и контроля, выход указанного преобразователя подключен ко входу указанного логического анализатора, а выход указанного логического анализатора связан с указанным персональным компьютером двунаправленной линией передачи данных. 2. Стенд по п. 1, отличающийся тем, что в его составе также имеется универсальный цифровой осциллограф, отдельно подключаемый к линии передачи данных цифрового мультиплексного канала, служащего объектом мониторинга и контроля. 3. Стенд по п. 1, отличающийся тем, что для мониторинга, анализа и контроля цифрового мультиплексного канала по ГОСТ Р 52070-2003 в его составе также имеется согласующая коробка, содержащую согласующую электрическую цепь на основе трансформатора, вход которой подключают к линии передачи данных упомянутого цифрового мультиплексного канала, а выход подключают ко входу преобразователя уровня из состава предлагаемого стенда. 4 Стенд по п. 1, отличающийся тем, что для мониторинга, анализа и контроля цифрового мультиплексного канала по РТМ 1495-75 в его составе также имеется второй преобразователь уровня, подключаемый к линии передачи данных упомянутого цифрового мультиплексного канала совместно с первым преобразователем уровня так, что вход первого преобразователя уровня подключается к первой дифференциальной линии упомянутого цифрового мультиплексного канала, а вход второго преобразователя уровня подключается ко второй дифференциальной линии упомянутого цифрового мультиплексного канала, а выходы обоих упомянутых преобразователей подключаются, соответственно, к первому и второму каналам логического анализатора из состава предлагаемого стенда.
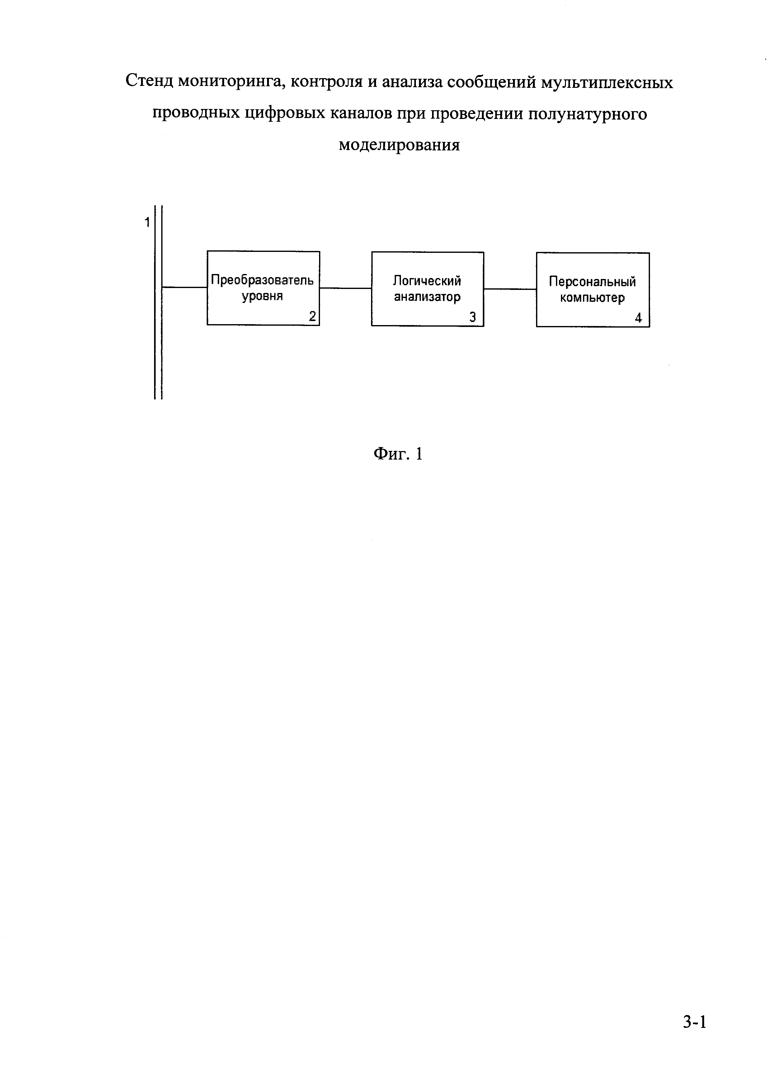
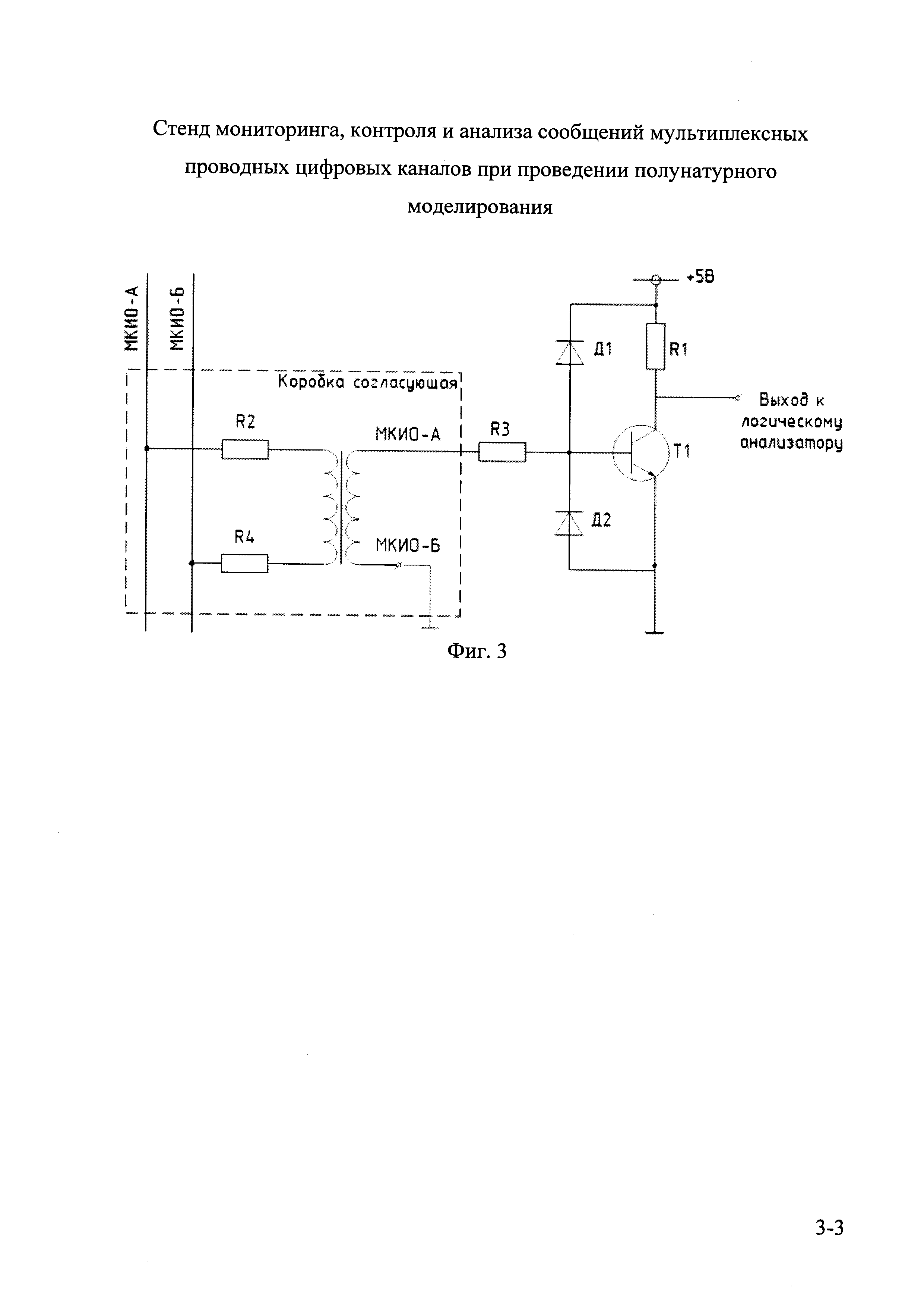
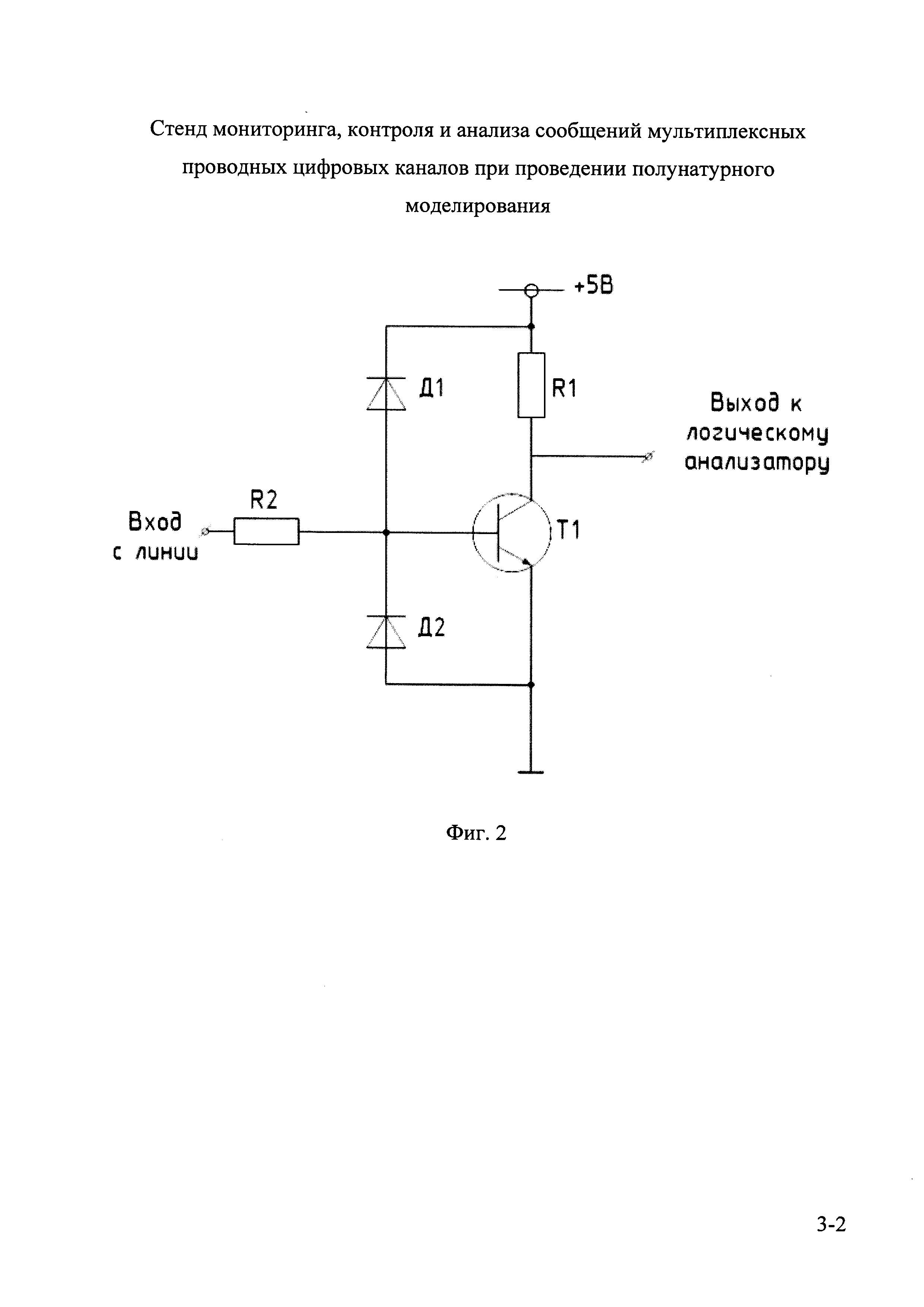
1. Область техники, к которой относится изобретение Изделие относится к информационно-измерительной и контрольной технике, предназначенной для мониторинга, анализа и контроля сообщений, передаваемых по мультиплексным цифровым каналам, в частности по ГОСТ Р 52070-2003 и РТМ 1495-75, например, при проведении полунатурного моделирования. 2. Уровень техники В настоящее время при проведении полунатурного моделирования работы различной аппаратуры передачи и обработки данных, в том числе авиационной, возникает ряд частных задач, связанных с мониторингом, анализом и контролем сообщений, передаваемых по цифровым мультиплексным каналам. К таковым, чаще всего, относятся: - тестирование аппаратных средств комплексов полунатурного моделирования в части регистрации информационного обмена; - идентификация протокола информационного обмена между взаимодействующими подсистемами комплексов авиационной аппаратуры, штатная работа которых моделируется. В настоящее время известен способ мониторинга, анализа и контроля сообщений мультиплексных проводных цифровых каналов, который может быть осуществлены как с помощью специализированных, так и с помощью универсальных устройств. Указанный способ и один из вариантов устройства для его осуществления описаны в патенте «Универсальный анализатор цифровых интерфейсов систем вооружения и способ его использования» (Патент РФ №2 533 632 от 22.08.2012, МПК G06G 7/48, F41F 1/00), причем описанное в нем устройство взято в качестве прототипа. Осуществляемый с помощью описанного и взятого в качестве прототипа предлагаемого стенда способ заключается в том, что подлежащий мониторингу, анализу и контролю мультиплексный цифровой канал подключают к разъему ввода данных описанного в указанном патенте универсального устройства анализа цифровых интерфейсов, выбирают один из двух типов анализируемых цифровых интерфейсов, автоматически производят запись последовательности цифровых слов, переводят записанные данные из аналогового в цифровой вид, размещают зарегистрированные данные в модуле хранения данных универсального анализатора, обрабатывают полученные данные в модуле обработки данных универсального анализатора, производят анализ полученных цифровых данных, и наглядно отображают записанные последовательности цифровых слов и результаты анализа. Сущность упомянутого универсального устройства анализа цифровых интерфейсов заключается в том, что оно содержит корпус с установленными на нем: разъемом питания, модулем задания параметров модулем отображения информации и, по крайней мере, одним разъемом ввода данных, а также размещенные в корпусе: модуль аналого-цифрового преобразователя, управляющий модуль, первый модуль обработки данных, второй модуль обработки данных, первый модуль анализа, второй модуль анализа, модуль хранения данных, внутреннюю шину информационного обмена и модуль формирования результатов. Описанное устройство, по сравнению с предлагаемым в качестве изобретения стендом, позволяет более точно отслеживать показатели напряжения и характеристики переходных процессов в анализируемой и контролируемой линии передачи цифровых данных, обладает большим временным разрешением, однако малоприемлемо для использования при полунатурном моделировании ввиду структурной избыточности, высокой стоимости оборудования и программного обеспечения, сложности освоения и применения, а также существенных требований по массогабаритным характеристикам. Наиболее часто используемым для подобной цели видом универсальных устройств являются цифровые осциллографы. Примерами подобного устройства и осуществляемого с его помощью способа мониторинга, анализа и контроля цифровых сообщений является семейство цифровых осциллографов фирмы LeCroy и способ их использования, описанный в документе «Manchester and NRZ Decoder Software Instruction Manual» (Manchester and NRZ Decoder Software Instruction Manual, Teledyne LeCroy, Inc, 2017), заключающийся в прямом считывании данных с проводных линий мультиплексных цифровых каналов передачи данных с помощью цифрового осциллографа фирмы LeCroy, настроенного соответствующим образом. Недостаток данного устройства заключается в том, что емкость памяти цифровых осциллографов указанной фирмы (порядка 500000 измерений) не позволяет записывать весь информационный обмен или значительную часть его с разрешением, позволяющим различить передаваемые данные. 3. Раскрытие изобретения Технический результат, достигаемый при осуществлении предлагаемого изобретения, заключается в снижении аппаратной сложности аппаратуры мониторинга, контроля и анализа сообщений мультиплексных проводных цифровых каналов и снижении ее массогабаритных характеристик. Достижение указанного технического результата осуществляется за счет того, что предлагаемый стенд выполняющий функции модуля задания параметров, модуля отображения информации, разъем ввода данных, модуля аналого-цифрового преобразователя, управляющего модуля, модуля обработки данных, модуля анализа, модуля хранения данных и модуля формирования результатов в соответствии с описанием прототипа, отличается тем, что в его составе имеется преобразователь уровня, выполняющий функции преобразования электрических характеристик сигналов цифрового мультиплексного канала, служащего объектом мониторинга и контроля, в электрические сигналы с характеристиками приемлемыми для дальнейшей обработки, логический анализатор общего назначения, используемый для выполнения функций модуля аналого-цифрового преобразователя и модуля обработки данных, а также персональный компьютер, выполняющий функции модуля отображения информации, управляющего модуля, модуля анализа, модуля хранения данных и модуля формирования результатов. Причем вход преобразователя уровня связан с линией передачи данных цифрового мультиплексного канала, служащего объектом мониторинга и контроля, выход указанного преобразователя подключен ко входу указанного логического анализатора, а выход указанного логического анализатора связан с указанным персональным компьютером двунаправленной линией передачи данных. 4. Краткое описание чертежей Изобретение поясняется чертежами где: Фиг. 1. - Общая схема подключения предлагаемого стенда к линии связи цифрового мультиплексного канала, служащего объектом мониторинга и контроля. На фигуре представлены: 1 - линия связи цифрового мультиплексного канала, подлежащего мониторингу, анализу и контролю; 2 - преобразователь уровня; 3 - логический анализатор общего назначения; 4 - персональный компьютер. Фиг. 2. - Электрическая схема преобразователя уровня предлагаемого устройства. Фиг. 3. - Схема подключения предлагаемого стенда для мониторинга, анализа и контроля сообщений, передаваемых по мультиплексному цифровому каналу, по ГОСТ Р 52070-2003. Фиг. 4. - Схема подключения предлагаемого стенда для мониторинга, анализа и контроля сообщений, передаваемых по мультиплексному цифровому каналу, по РТМ 1495-75. 5. Осуществление изобретения Предлагаемое устройство может быть осуществлено следующим образом. Общая схема подключения предлагаемого устройства к линии связи цифрового мультиплексного канала, служащего объектом мониторинга и контроля, представлена на фиг. 1. В соответствии с указанной схемой, к линии связи цифрового мультиплексного канала (1), подлежащего мониторингу, анализу и контролю, подключается преобразователь уровня (2), выполняющий функции преобразования электрических характеристик сигналов цифрового мультиплексного канала, служащего объектом мониторинга и контроля, в электрические сигналы с характеристиками приемлемыми для дальнейшей обработки. К выходу указанного преобразователя, для выполнения функций модуля аналого-цифрового преобразователя и модуля обработки данных подключается логический анализатор общего назначения (3). Результаты преобразования и обработки, в свою очередь, передаются на выход указанного анализатора в виде цифровых сигналов стандарта USB, и передаются в персональный компьютер (4), подключенный к выходу указанного анализатора через интерфейс стандарта USB. Указанный персональный компьютер, выполняет функции модуля отображения информации, управляющего модуля, модуля анализа, модуля хранения данных и модуля формирования результатов. Одна из возможных электрических схем преобразователя уровня, осуществляющего описанные функции, представлена на фиг. 2. Для преобразования сигналов, соответствующих ГОСТ Р 52070-2003 в принятый в качестве фактического стандарта диапазон от 0 В до 5 В, номиналы резисторов и типы диодов и транзисторов могут быть приняты в соответствии с таблицей 1. Для осуществления функций логического анализатора общего назначения может быть использован логический анализатор Saleae Logic V2.0. Указанный анализатор использует для связи с персональным компьютером двунаправленную линию связи стандарта USB, а функции приема и обработки данных, а также управления работой упомянутого логического анализатора осуществляются с помощью выполняемого на упомянутом персональном компьютере программного обеспечения фирмы Saleae Logic. Кроме того, в целях измерения уровня напряжения и времени нарастания импульсов, описанный стенд может быть дополнен универсальным цифровым осциллографом, отдельно подключаемым к линии передачи данных цифрового мультиплексного канала, служащего объектом мониторинга и контроля. Подключение предлагаемого стенда мониторинга, анализа и контроля сообщений, передаваемых по мультиплексным цифровым каналам по ГОСТ Р 52070-2003, может быть осуществлено в соответствии со схемой, представленной на фиг. 3. Причем для связи входа преобразователя уровня предлагаемого стенда с линией передачи данных мультиплексного цифрового канала по ГОСТ Р 52070-2003 может быть использована согласующая коробка, схема которой содержит трансформатор, выполняющий функцию гальванической развязки предлагаемого стенда с анализируемой линией передачи данных. Таким образом, подавая сигнал с выхода преобразователя уровней на вход логического анализатора, мы получаем возможность зарегистрировать фрагмент цифрового обмена по ГОСТ Р 52070-2003 значительно более протяженный по времени, чем при использовании цифрового осциллографа. При этом обеспечивается разрешающая способность, достаточная для распознавания каждого командного слова, что позволяет в полном объеме решать задачи тестирования аппаратных средств комплексов полунатурного моделирования в части регистрации информационного обмена и идентификации протоколов информационного обмена между взаимодействующими подсистемами комплексов авиационной аппаратуры, штатная работа которых моделируется. Подключение предлагаемого стенда мониторинга, анализа и контроля сообщений, передаваемых по мультиплексным цифровым каналам по РТМ 1495-75, может быть осуществлено в соответствии со схемой, представленной на фиг. 4. Поскольку линия передачи информации по РТМ 1495-75 является двухпроводной с инверсией сигнала во втором канале, решение вышеупомянутых задач для нее возможно путем подключения двух преобразователей уровня и двух каналов логического анализатора, обеспечивает регистрацию сигналов типа «логическая единица» на одном канале, и «логический ноль» на другом в едином масштабе времени, каковой обеспечивается логическим анализатором. Таким образом, становится возможной полная идентификация цифровых сообщений, передаваемых в линии передачи данных по РТМ 1495-75.