патент
№ RU 2662612
МПК F16H61/688

УСТРОЙСТВО ЭЛЕКТРОГИДРАВЛИЧЕСКОГО УПРАВЛЕНИЯ КОРОБКОЙ ПЕРЕДАЧ И ДВОЙНЫМ СЦЕПЛЕНИЕМ

Авторы:
Николаев Сергей Андреевич
Номер заявки
2017138757
Дата подачи заявки
08.11.2017
Опубликовано
26.07.2018
Страна
RU
Как управлять
интеллектуальной собственностью
Чертежи 
2
Реферат

Изобретение относится к устройству управления коробкой передач и двойным сцеплением. Устройство содержит трехпозиционный гидрораспределитель (79) с ручным управлением, сообщающий с напорной гидролинией (30) в крайних его позициях управляющие входы клапанов (74, 75, 77 и 78) с гидравлическим управлением для включения зубчатыми муфтами посредством гидроцилиндров передачи переднего или заднего хода. Гидрораспределитель (79) снабжен пружинами (111) и (112) для установки его золотника в средней позиции после включения передачи переднего или заднего хода. Достигается увеличение срока службы вилок и зубчатых муфт коробки передач и повышение их надежности. 1 з.п. ф-лы, 2 ил.

Формула изобретения

1. Устройство электрогидравлического управления коробкой передач и двойным сцеплением привода первичных валов коробки передач, содержащее гидроцилиндры для перемещения зубчатых муфт коробки передач, гидроцилиндры для включения фрикционных муфт двойного сцепления, двухпозиционные клапаны с электрическим управлением и двухпозиционные клапаны с гидравлическим управлением для сообщения с напорной гидролинией гидроцилиндров зубчатых муфт, двухпозиционный клапан с гидравлическим управлением для сообщения с напорной гидролинией гидроцилиндра фрикционной муфты, трехпозиционный гидрораспределитель с ручным управлением, сообщающий с напорной гидролинией в крайних его позициях управляющие входы клапанов с гидравлическим управлением для включения передачи переднего или заднего хода, гидрораспределитель снабжен пружинами для его установки в средней позиции.

2. Устройство электрогидравлического управления коробкой передач и двойным сцеплением по п. 1, отличающееся тем, что оно содержит двухпозиционные клапаны с электрическим управлением, при включении сообщающие гидроцилиндры фрикционных муфт с напорной гидролинией, а при выключении сообщающие их с входами четырехлинейного двухпозиционного клапана с гидравлическим управлением, управляющие входы которого сообщены с гидроцилиндрами фрикционных муфт, один из выходов четырехлинейного двухпозиционного клапана сообщен со сливной гидролинией, а другой выход сообщен с входом вспомогательного двухпозиционного клапана с электрическим управлением, вход которого при его включении сообщается со сливной гидролинией, а при выключении сообщается с напорной гидролинией, четырехлинейный двухпозиционный клапан с гидравлическим управлением имеет дополнительный управляющий вход, сообщаемый с выходами трехпозиционного гидрораспределителя с ручным управлением при крайних его позициях.

Описание

[1]

Техническое решение относится к трансмиссиям транспортных средств. Оно касается электрогидравлического управления коробкой передач и двойным сцеплением привода первичных валов коробки передач.

[2]

В патентах №№2439404,2458270, выданных в РФ, показаны устройства электрогидравлического управления коробкой передач и двойным сцеплением, содержащие один насос, гидроаккумулятор, трехлинейные трехпозиционные клапаны с электрическим управлением для подачи рабочей жидкости под давлением к гидроцилиндрам перемещения зубчатых муфт и поршней фрикционных муфт двойного сцепления, десятилинейные распределительные клапаны, которые имеют очень сложную конструкцию. Более близким аналогом является устройство электрогидравлического управления коробкой передач и двойным сцеплением, представленное в заявке №2016/0003347, опубликованной в США. Оно содержит один насос, гидроаккумулятор, электронный блок управления трехлинейными двухпозиционными клапанами подачи рабочей жидкости под давлением в гидроцилиндры фрикционных муфт двойного сцепления и к гидроцилиндрам зубчатых муфт двухстороннего действия, сообщаемым с источником давления рабочей жидкости посредством четырехлинейных трехпозиционных клапанов, управляемых электронным блоком. Однако в случае неисправности электронного блока управления коробкой передач или нарушений в работе бортовой системы электропитания исключается возможность включения и работы сцепления, что приводит к потере подвижности транспортного средства, а также невозможности его буксировки.

[3]

Технической проблемой является создание устройства электрогидравлического управления коробкой передач и двойным сцеплением, обеспечивающего нормальную работу коробки передач и двойного сцепления с помощью электронного блока и надежную их работу в аварийном режиме в случае неисправности электронного блока.

[4]

Решение технической проблемы обеспечения работы коробки передач и двойного сцепления в нормальном режиме и надежной их работы в аварийном режиме в случае прекращения поступления сигналов от электронного блока достигается тем, что устройство электрогидравлического управления коробкой передач и двойным сцеплением привода первичных валов коробки передач содержит гидроцилиндры для перемещения зубчатых муфт коробки передач, гидроцилиндры для включения фрикционных муфт двойного сцепления, двухпозиционные клапаны с электрическим управлением и двухпозиционные клапаны с гидравлическим управлением для сообщения с напорной гидролинией гидроцилиндров зубчатых муфт, двухпозиционный клапан с гидравлическим управлением для сообщения с напорной гидролинией гидроцилиндра фрикционной муфты, трехпозиционный гидрораспределитель с ручным управлением, сообщающий с напорной гидролинией в крайних его позициях управляющие входы клапанов с гидравлическим управлением для включения передачи переднего или заднего хода. Гидрораспределитель снабжен пружинами для его установки в средней позиции, а именно для установки в средней позиции золотника гидрораспределителя.

[5]

При таком выполнении устройства электрогидравлического управления коробкой передач и двойным сцеплением в случае прекращения поступления электрических сигналов к клапанам, имеющим электрическое управление, имеется возможность перемещения зубчатых муфт коробки передач гидроцилиндрами, подключаемыми к напорной гидролинии с помощью трехпозиционного гидрораспределителя с ручным управлением, снабженного пружинами, автоматически устанавливающими его золотник в средней позиции после прекращения действия на золотник усилия, прилагаемого водителем транспортного средства.

[6]

При установке золотника гидрораспределителя указанными пружинами в средней позиции после прекращения действия на золотник гидрораспределителя усилия, прилагаемого водителем транспортного средства, происходит разобщение гидроцилиндров включенных зубчатых муфт с напорной гидролинией, вследствие чего прекращается принудительное действие штоков гидроцилиндров через вилки на включенные зубчатые муфты. В результате прекращения прижатия закрепленных на штоках неподвижных вилок к вращающимся зубчатым муфтам уменьшается износ вилок и зубчатых муфт коробки передач. Тем самым увеличивается их срок службы и повышается их надежность, что является важным техническим результатом.

[7]

Двухпозиционные клапаны с электрическим управлением, при включении сообщающие гидроцилиндры фрикционных муфт с напорной гидролинией, а при выключении сообщающие их с входами четырехлинейного двухпозиционного клапана с гидравлическим управлением, управляющие входы которого сообщены с гидроцилиндрами фрикционных муфт. Один из выходов четырехлинейного двухпозиционного клапана сообщен со сливной гидролинией, а другой выход сообщен с входом вспомогательного двухпозиционного клапана с электрическим управлением, вход которого при его включении сообщается со сливной гидролинией, а при выключении сообщается с напорной гидролинией. Четырехлинейный двухпозиционный клапан с гидравлическим управлением имеет дополнительный управляющий вход, сообщаемый с выходами трехпозиционного гидрораспределителя с ручным управлением при крайних его позициях.

[8]

При таком управлении фрикционными муфтами ранее включенная фрикционная муфта остается в замкнутом состоянии и после возвращения гидрораспределителя в среднюю позицию указанными пружинами, которыми снабжен гидрораспределитель.

[9]

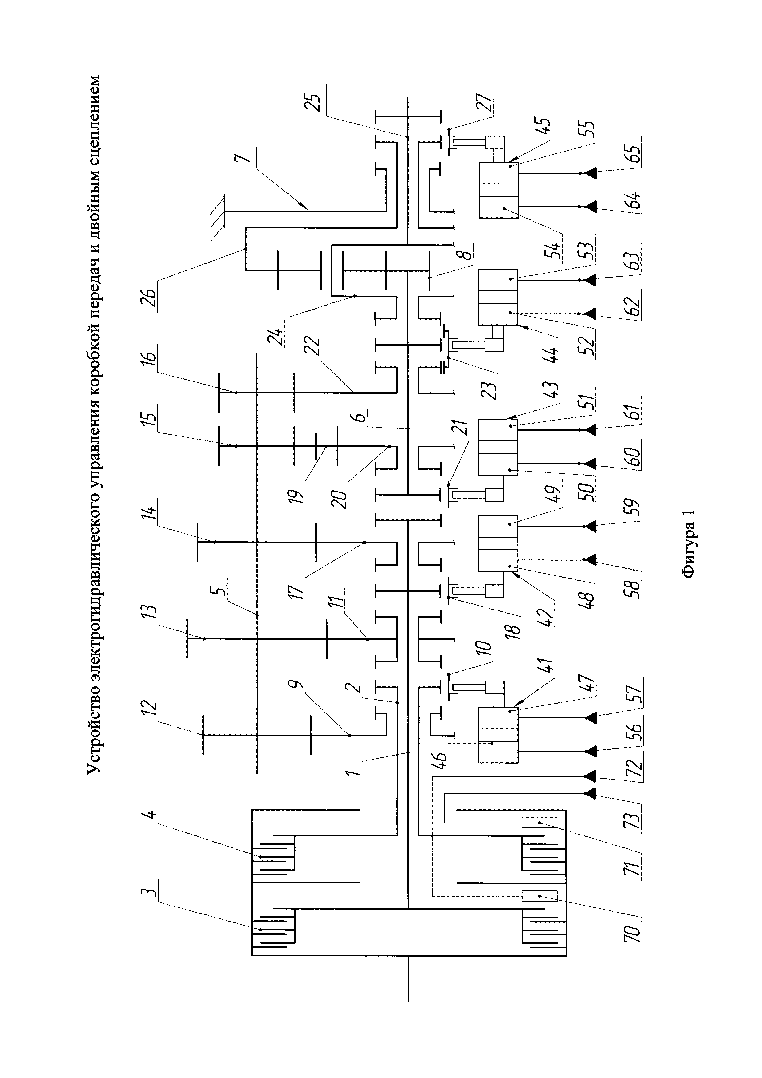
На фигуре 1 показана кинематическая схема коробки передач транспортного средства.

[10]

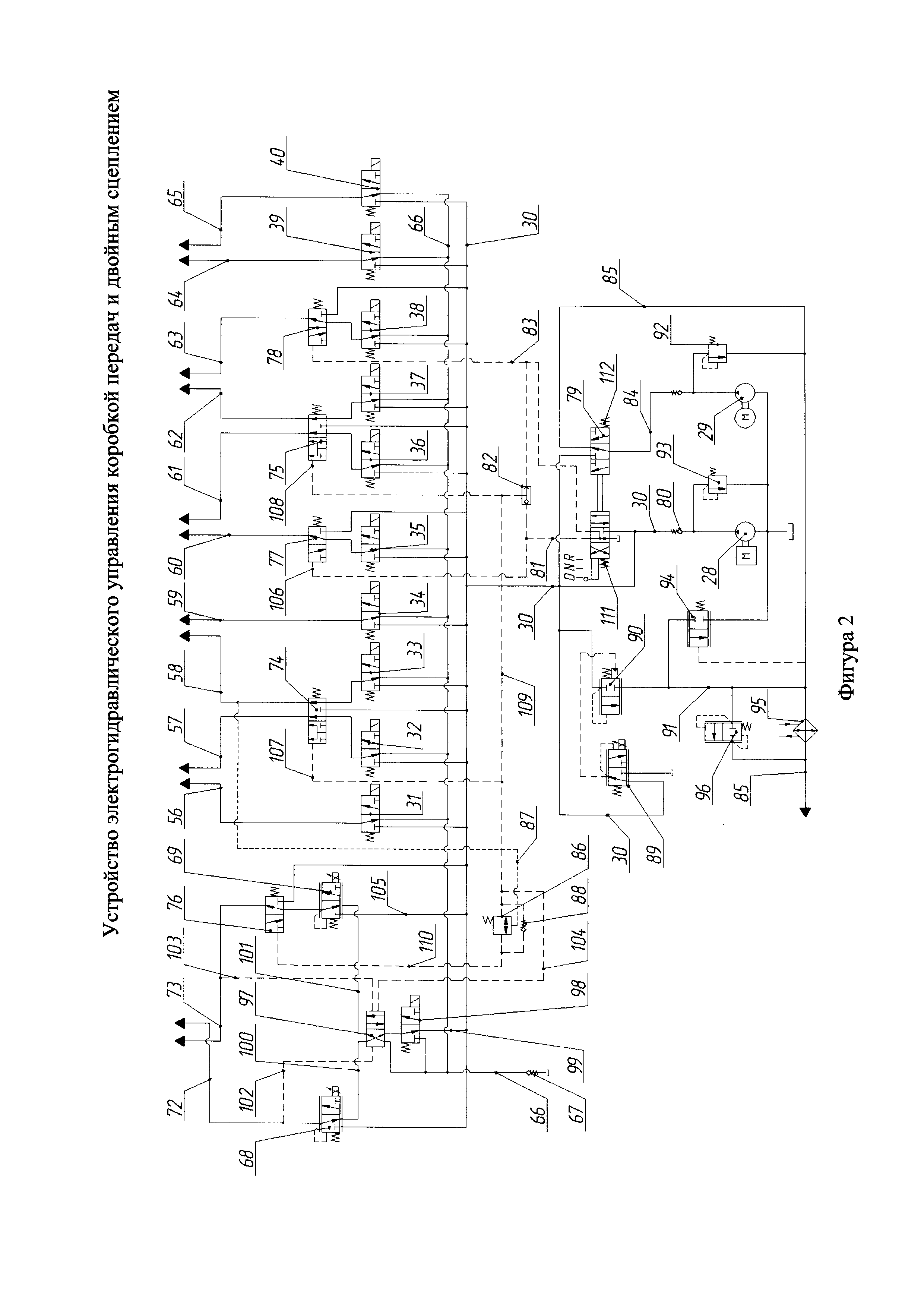
На фигуре 2 показано устройство электрогидравлического управления коробкой передач и двойным сцеплением.

[11]

Коробка передач, кинематическая схема которой показана на фигуре 1, содержит два первичных вала 1 и 2 разного диаметра, имеющих привод от двух фрикционных муфт 3 и 4 двойного сцепления, промежуточные валы 5, из которых показан только один вал, и вторичный вал 6. Вал 6 соединен со звеном планетарного ряда, образующего демультипликатор 7, а именно с солнечной шестерней 8. На первичном валу 2 большего диаметра свободно установлено зубчатое колесо 9, соединяемое с ним зубчатой муфтой 10 двухстороннего действия, в другом ее положении соединяющей с валом 2 зубчатое колесо 11. Зубчатые колеса 9 и 11 зацеплены с зубчатыми колесами 12 и 13, закрепленными на промежуточном валу 5. Помимо зубчатых колес 12 и 13 на промежуточном валу 5 закреплены зубчатые колеса 14, 15 и 16. Зубчатое колесо 14 зацеплено с зубчатым колесом 17, свободно установленным на первичном валу 1 меньшего диаметра и соединяемым с ним зубчатой муфтой 18. Зубчатое колесо 15 имеет кинематическую связь через промежуточную шестерню 19 реверсивной передачи с зубчатым колесом 20, свободно расположенным на вторичном валу 6 и соединяемым с ним зубчатой муфтой 21 двухстороннего действия, соединяющей в другой ее позиции первичный вал 1 с вторичным валом 6. Зубчатое колесо 16 зацеплено с зубчатым колесом 22, свободно расположенным на вторичном валу 6 и соединяемым с ним зубчатой муфтой 23, соединяющей в другой ее позиции зубчатое колесо 22 с водилом 24 планетарного ряда, образующего демультипликатор 7. Водило 24 соединено с выходным валом 25. На водиле 24 расположены сателлиты, зацепленные с солнечной шестерней 8 демультипликатора 7 и с коронным зубчатым колесом 26.

[12]

Демультипликатор 7 содержит зубчатую муфту 27, соединяющую в одной ее позиции коронное зубчатое колесо 26 с водилом 24, а в другой ее позиции - с корпусом коробки передач.

[13]

Устройство электрогидравлического управления коробкой передач и двойным сцеплением, показанное на фигуре 2, содержит насос 28 с механическим приводом от двигателя внутреннего сгорания и дополнительный насос 29, имеющий электрический привод. С насосом 28 сообщена основная напорная гидролиния 30. С гидролинией 30 сообщены входы трехлинейных основных двухпозиционных клапанов 31-40 с электрическим управлением, подключенных к электронному блоку (не показан). Клапаны 31-40 предназначены для сообщения с напорной гидролинией 30 рабочих камер гидроцилиндров 41-45 двухстороннего действия, предназначенных для перемещения зубчатых муфт 10, 18, 21, 23, 27 коробки передач. Включение гидроцилиндров 41-45 производится путем подачи рабочей жидкости под давлением в одну из их камер. При подаче давления в обе камеры гидроцилиндров 41-44, то есть при сообщении с напорной гидролинией 30 обеих камер каждого из этих гидроцилиндров зубчатые муфты 10, 18, 21 и 23 занимают среднее положение. Клапаны 31 и 32 при их включении по сигналу электронного блока сообщают с гидролинией 30 рабочие камеры 46 и 47 гидроцилиндра 41 перемещения зубчатой муфты 10 коробки передач, клапаны 33 и 34 сообщают с гидролинией 30 рабочие камеры 48 и 49 гидроцилиндра 42 перемещения зубчатой муфты 18, клапаны 35 и 36 сообщают с гидролинией 30 рабочие камеры 50 и 51 гидроцилиндра 43 перемещения зубчатой муфты 21, клапаны 37 и 38 сообщают с гидролинией 30 рабочие камеры 52 и 53 гидроцилиндра 44 перемещения зубчатой муфты 23, клапаны 39 и 40 сообщают с гидролинией 30 рабочие камеры 54 и 55 гидроцилиндра 45 перемещения зубчатой муфты 27 демультипликатора 7. Выходы клапанов 31 и 32 сообщаются при их включении с рабочими камерами 46 и 47 гидроцилиндра 41 через гидролинии 56 и 57, выходы клапанов 33 и 34 сообщаются при их включении с камерами 48 и 49 гидроцилиндра 42 через гидролинии 58 и 59, выходы клапанов 35 и 36 сообщаются при их включении с камерами 50 и 51 гидроцилиндра 43 через гидролинии 60 и 61, выходы клапанов 37 и 38 сообщаются при их включении с камерами 52 и 53 гидроцилиндра 44 через гидролинии 62 и 63, выходы клапанов 39 и 40 сообщаются с камерами 54 и 55 гидроцилиндра 45 через гидролинии 64 и 65.

[14]

При выключении клапанов 31-40 их выход сообщается со сливной гидролинией 66, слив из которой рабочей жидкости в поддон корпуса коробки передач производится через подпорный клапан 67, препятствующий полному опорожнению гидроцилиндров.

[15]

Кроме того, с напорной гидролинией 30 сообщены входы трехлинейных двухпозиционных клапанов 68 и 69 с электрическим управлением, предназначенных для подачи рабочей жидкости под давлением в гидроцилиндры 70 и 71 включения фрикционных муфт 3 и 4 двойного сцепления. Выходы клапанов 68 и 69 при их включении сообщаются с гидроцилиндрами 70 и 71 фрикционных муфт через гидролинии 72 и 73.

[16]

Это устройство электрогидравлического управления коробкой передач и двойным сцеплением снабжено двухпозиционными дополнительными клапанами 74-78 с гидравлическим управлением посредством трехпозиционного гидрораспределителя 79, имеющего ручное управление. Входы дополнительных клапанов при их включении сообщены с напорной гидролинией, а при выключении дополнительных клапанов их входы сообщены с выходами клапанов, имеющих электрическое управление. Два дополнительных клапана выполнены пятилинейными, а другие дополнительные клапаны выполнены трехлинейными. Пятилинейным выполнен дополнительный клапан 74, сообщающий с напорной гидролинией 30 камеру 47 гидроцилиндра 41 зубчатой муфты 10, соединяющей зубчатое колесо 9 с первичным валом 2, и камеру 48 гидроцилиндра 42 зубчатой муфты 18, соединяющей зубчатое колесо 17 с первичным валом 1. Клапан 74 имеет два выхода, сообщающиеся с гидроцилиндрами 41 и 42 зубчатых муфт 10 и 18, два входа, сообщающиеся при выключении клапана 74 с выходами основных клапанов 32 и 33, и один вход, сообщающийся с напорной гидролинией 30 при включении клапана 74. Кроме того, пятилинейным выполнен дополнительный клапан 75, сообщающий с напорной гидролинией 30 камеру 51 гидроцилиндра 43, служащую для соединения первичного вала 1 с вторичным валом 6, и камеру 52 гидроцилиндра 44, служащую для соединения зубчатой муфтой 23 зубчатого колеса 22 с водилом 24 планетарного ряда. Клапан 75 имеет два выхода, сообщающиеся с гидроцилиндрами 43 и 44 зубчатых муфт 21 и 23, два входа, сообщающиеся при его выключении с выходами основных клапанов 36 и 37, и один вход, сообщающийся с напорной гидролинией 30 при его включении. Трехлинейными выполнены клапан 76, сообщающий с напорной гидролинией гидроцилиндр 71 фрикционной муфты 4, клапан 77, сообщающий с напорной гидролинией камеру 50 гидроцилиндра 43 зубчатой муфты 21, соединяющей зубчатое колесо 20 с вторичным валом 6, и клапан 78, сообщающий с напорной гидролинией 30 камеру 53 гидроцилиндра 44 зубчатой муфты 23 для соединения с вторичным валом 6 зубчатого колеса 22, зацепленного с зубчатыми колесами 16 промежуточных валов 5.

[17]

Гидрораспределитель 79 выполнен семилинейным. В крайних позициях его органа управления основной его вход сообщен через обратный клапан 80 с насосом 28, имеющим механический привод. Выход гидрораспределителя 79 в крайней позиции его органа управления, обозначенной буквой D, сообщается через гидролинию 81 с управляющим входом дополнительного клапана 77 и с входом клапана 82 с функцией «ИЛИ». В другой крайней позиции, обозначенной буквой R, выход гидрораспределителя 79 сообщается через гидролинию 83 с управляющим входом дополнительного клапан 78 и с другим входом клапана 82 с функцией «ИЛИ». Выход клапана 82 сообщен с управляющими входами пятилинейных дополнительных клапанов 74 и 75 и с управляющим входом трехлинейного дополнительного клапана 76, сообщающего с напорной гидролинией 30 при его включении гидроцилиндр 71 фрикционной муфты 4. Дополнительный вход гидрораспределителя 79 сообщен через гидролинию 84 с дополнительным насосом 29, имеющим электрический привод. Дополнительный выход гидрораспределителя 79 в средней позиции его органа управления сообщен через гидролинию 85 с системой смазки, а в крайних позициях его другой дополнительный выход сообщен с напорной гидролинией 30.

[18]

Таким образом в крайнем положении органа управления, обозначенном буквой D, соответствующем движению транспортного средства вперед, гидрораспределитель 79 сообщает с насосом 28 управляющий вход трехлинейного двухпозиционного клапана 77 и один из входов клапана 82 с функцией «ИЛИ», с выходом которого сообщены управляющие входы пятилинейных клапанов 74 и 75 и управляющий вход дополнительного клапана 76.

[19]

В другом крайнем положении органа управления, обозначенном буквой R, соответствующем движению транспортного средства назад, гидрораспределитель 79 сообщает с насосом 28 управляющий вход трехлинейного клапана 78 и один из входов клапана 82 с функцией «ИЛИ», с выходом которого сообщены управляющие входы пятилинейных клапанов 74 и 75 и управляющий вход дополнительного клапана 76. При этом в обоих крайних положениях органа управления гидрораспределитель 79 сообщает напорную гидролинию 30 с насосом 29, имеющим электрический привод. В среднем положении органа управления гидрораспределитель 79 сообщает насос 29 с системой смазки коробки передач.

[20]

Управляющий вход дополнительного клапана 76, сообщающего с напорной гидролинией 30 гидроцилиндр 71 фрикционной муфты 4, сообщен с выходом клапана 82 «ИЛИ» через двухлинейный клапан 86 задержки подачи рабочей жидкости под давлением к управляющему входу дополнительного клапана 76, служащего для сообщения гидроцилиндра фрикционной муфты 4 с напорной гидролинией 30. Клапан 86 задержки подачи рабочей жидкости предназначен для обеспечения последовательного включения зубчатой муфты коробки передач и фрикционной муфты. Управляющий вход клапана 86 задержки подачи рабочей жидкости сообщен через гидролинию 87 с выходом пятилинейного дополнительного клапана 74, сообщающего с напорной гидролинией 30 гидроцилиндры 41 и 42 зубчатых муфт 10 и 18, соединяющих зубчатые колеса 9 и 17 с первичными валами 2 и 1. Параллельно с клапаном 86 задержки подачи рабочей жидкости расположен обратный клапан 88.

[21]

Устройство электрогидравлического управления коробкой передач и двойным сцеплением снабжено средствами регулирования давления рабочей жидкости, содержащими пилотный трехлинейный клапан 89 пропорционального действия с электрическим управлением, вход которого сообщен с напорной гидролинией 30, а выход сообщен с его гидравлическим управляющим входом и с гидравлическим управляющим входом двухлинейного клапана 90 пропорционального действия. Вход клапана 90 сообщен с напорной гидролинией 30, а выход сообщен с гидролинией 91, сообщающейся с гидролинией 85 подачи рабочей жидкости на смазку коробки передач. Кроме того, с гидролинией 85 сообщен выход предохранительного клапана 92, вход которого сообщен с насосом 29, имеющим электрический привод. Также имеются предохранительный клапан 93, вход которого сообщен с насосом 28, имеющим привод от двигателя, и предохранительный клапан 94, вход которого сообщен с гидролинией 91 подачи рабочей жидкости на смазку. В гидролинии 85 установлен теплообменник 95, параллельно с которым расположен перепускной предохранительный клапан 96.

[22]

Устройство электрогидравлического управления коробкой передач и двойным сцеплением снабжено четырехлинейным двухпозиционным клапаном 97 с гидравлическим управлением и вспомогательным трехлинейным двухпозиционным клапаном 98 с электрическим управлением, обеспечивающими сохранение давления рабочей жидкости в гидроцилиндре одной из включенных фрикционных муфт в случае прекращения поступления электрического сигнала от электронного блока и тем самым обеспечивающими удержание этой фрикционной муфты во включенном состоянии. При выключении клапанов 68, 69 и 98, имеющих электрическое управление, вход четырехлинейного клапана 97 сообщается с выходом вспомогательного клапана 98, вход которого сообщается гидролинией 99 с напорной гидролинией 30, а выходы четырехлинейного клапана 97 сообщаются гидролиниями 100 и 101 с открытыми входами клапанов 68 и 69, сообщающих при их включении гидроцилиндры фрикционных муфт с напорной гидролинией 30. Два управляющих входа четырехлинейного клапана 97 сообщаются гидролиниями 102 и 103 с гидролиниями 72 и 73 подачи рабочей жидкости под давлением в гидроцилиндры фрикционных муфт от клапанов 68 и 69 с электрическим управлением, а третий управляющий вход сообщается гидролинией 104 с выходом гидрораспределителя 79 в крайних его позициях.

[23]

При работе коробки передач во время движения транспортного средства от электронного блока поступают электрические сигналы к основным клапанам 31-40 устройства электрогидравлического управления гидроцилиндрами 41-45 зубчатых муфт 10, 18, 21, 23 и 27 и к основным клапанам 68 и 69 управления гидроцилиндрами 70 и 71 фрикционных муфт 3 и 4. Клапаны 31-40 при их включении поочередно сообщают с напорной гидролинией 30 камеры гидроцилиндров 41-45 зубчатых муфт 10, 18, 21, 23 и 27, переключающих ступени в коробке передач и в ее демультипликаторе. А клапаны 68 и 69 попеременно сообщают с напорной гидролинией 30 гидроцилиндры 70 и 71 фрикционных муфт 3 и 4 после включения соответствующих зубчатых муфт.

[24]

Для включения фрикционной муфты 3 подают электрический сигнал от электронного блока к клапану 68. Клапан 68, включаясь, сообщает гидроцилиндр 70 через гидролинию 72 с напорной гидролинией, обеспечивая смыкание фрикционных дисков муфты 3 и передачу ими от двигателя крутящего момента первичному валу 1 коробки передач. При этом при включении клапана 68 происходит подача рабочей жидкости под давлением по гидролинии 102 к управляющему входу четырехлинейного клапана 97. Под действием поданного давления запорный элемент клапана 97 перемещается вправо, и тогда клапан 97 занимает позицию, показанную на фигуре 2. Затем клапан 68 выключают для уменьшения затрат электрической энергии. В этом случае гидроцилиндр 70 сообщается с напорной гидролинией 30 по гидролинии 72, через выключенный клапан 68, затем вдоль гидролинии 100, через клапан 97 и далее через выключенный клапан 98 и по гидролинии 99.

[25]

Для включения фрикционной муфты 4 подают электрический сигнал к клапану 69 и к клапану 98, сообщающему гидроцилиндр 70 через выключенный клапан 68 вдоль гидролиний 72 и 100 со сливной гидролинией 66. Клапан 69 при его включении сообщает гидроцилиндр 71 муфты 4 через гидролинию 73, через выключенный клапан 76 и через гидролинию 105 с напорной гидролинией 30. Причем при включении клапана 69 с его выходом по гидролинии 103 сообщается управляющий вход клапана 97, и тогда запорный элемент этого клапана 97 перемещается влево, занимая другую позицию, при которой гидроцилиндр 70 по гидролиниям 72 и 100 сообщается через выключенный клапан 68 непосредственно со сливной гидролинией 66, а клапан 98 тогда выключается. После замыкания фрикционных дисков муфты 4 и передачи ими крутящего момента первичному валу 2 коробки передач клапан 69 выключают для уменьшения затрат электрической энергии. После этого гидроцилиндр 71 муфты 4 сообщается с напорной гидролинией 30 вдоль гидролинии 73, через выключенные клапаны 76 и 69, вдоль гидролинии 101, через клапан 97 в левой его позиции, через выключенный клапан 98 и далее по гидролинии 99.

[26]

При таком управлении фрикционными муфтами 3 и 4 любая из них включенная заранее остается в замкнутом состоянии, продолжая передавать крутящий момент, в случае отказа, выхода из строя электронного блока, что существенно повышает безопасность движения транспортного средства.

[27]

В случае прекращения работы электронного блока по какой-либо причине во время движения транспортного средства перестают поступать сигналы к включенным основным клапанам 31-40 коробки передач, которые, выключаясь, сообщают камеры гидроцилиндров зубчатых муфт со сливной гидролинией 66. Однако зубчатые муфты остаются на прежнем месте, так как их перемещение происходит только при подаче давления рабочей жидкости в камеры их гидроцилиндров. При прекращении поступления сигналов от электронного блока к основным клапанам 68 и 69 управления гидроцилиндрами 70 и 71 фрикционных муфт 3 и 4 и к вспомогательному клапану 98 происходит выключение и этих клапанов. Однако гидроцилиндр ранее включенной фрикционной муфты продолжает сообщаться с напорной гидролинией 30, удерживая фрикционные диски этой муфты в замкнутом состоянии. В результате продолжается передача крутящего момента от двигателя к коробке передач и далее к колесам транспортного средства. Это способствует сохранению транспортным средством своей подвижности, возможности продолжения движения транспортного средства.

[28]

При необходимости обеспечения движения транспортного средства вперед при неисправном электронном блоке, не подающем сигналы клапанам коробки передач и двойного сцепления, имеющим электрическое управление, устанавливают орган управления гидрораспределителем 79 в положение, обозначенное буквой D. Тогда рабочая жидкость поступает через гидролинию 81 и гидролинию 106 к управляющему входу дополнительного клапана 77, а также к входу клапана 82 с функцией «ИЛИ». От клапана 82 с функцией «ИЛИ» рабочая жидкость поступает к управляющим входам пятилинейных клапанов 74 и 75 и, кроме того, поступает через гидролинии 109 и 110 и клапан 86 задержки подачи рабочей жидкости к управляющему входу клапана 76. При включении клапанов 74, 75 и 77 происходит поступление рабочей жидкости под давлением в камеры 47, 48, 50, 51 и 52 гидроцилиндров 41-44, устанавливающих зубчатые муфты 10, 18, 21 и 23 в рабочем положении. А при включении клапана 76 происходит поступление рабочей жидкости под давлением в гидроцилиндр 71 фрикционной муфты 4. При включении фрикционной муфты 4 происходит передача крутящего момента от двигателя к зубчатым колесам коробки передач и ее демультипликатора, а затем к колесам транспортного средства.

[29]

Трехпозиционный гидрораспределитель 79 с ручным управлением снабжен пружинами 111 и 112, автоматически устанавливающими его золотник в средней позиции после прекращения действия усилия, прилагаемого водителем транспортного средства к его органу управления. Поэтому после нахождения органа управления гидрораспределителем 79 в положении, обозначенном буквой D, и включения зубчатых муфт 10, 18, 21 и 23 орган управления гидрораспределителем 79 под действием пружины 111 возвращается на среднюю позицию, обозначенную буквой N. Тогда камеры гидроцилиндров зубчатых муфт сообщаются через клапаны 74, 75 и 77, 79 со сливной гидролинией 66. Это позволяет снять давление рабочей жидкости в указанных камерах гидроцилиндров, чтобы избежать постоянный упор в зубчатые муфты вилок, закрепленных на штоках гидроцилиндров, для уменьшения их износа.

[30]

При необходимости обеспечения движения транспортного средства назад при неисправном электронном блоке устанавливают орган управления гидрораспределителем 79 в положение, обозначенное буквой R. В этом случае рабочая жидкость поступает к управляющему входу дополнительного клапана 78 и к входу клапана 82 с функцией «ИЛИ», от которого она поступает к управляющим входам пятилинейных клапанов 74 и 75 и поступает через клапан 86 задержки подачи рабочей жидкости к управляющему входу клапана 76. При включении клапанов 74, 75 и 78 происходит поступление рабочей жидкости под давлением в камеры 47, 48, 51, 52 и 53 гидроцилиндров 41-44 зубчатых муфт 10, 18, 21 и 23, а при включении клапана 76 происходит поступление рабочей жидкости под давлением в гидроцилиндр 71 фрикционной муфты 4. При включении фрикционной муфты 4 происходит передача крутящего момента от двигателя к зубчатым колесам коробки передач и ее демультипликатора, а затем к колесам транспортного средства. После пребывания органа управления гидрораспределителем 79 на позиции, обозначенной буквой R, и включения зубчатых муфт 10, 18, 21 и 23 орган управления гидрораспределителем 79 под действием пружины 112 возвращается на среднюю позицию, обозначенную буквой N. Тогда камеры гидроцилиндров зубчатых муфт сообщаются со сливной гидролинией 66, что позволяет снять давление рабочей жидкости в этих камерах и тем самым прекратить прижатие к зубчатым муфтам вилок, закрепленных на штоках гидроцилиндров.

[31]

При буксировке транспортного средства орган управления гидрораспределителя 79 устанавливают в среднем положении и включают дополнительный насос 29. Тогда рабочая жидкость от насоса 29 через гидрораспределитель 79 и через теплообменник 95 по гидролинии 85 поступает на смазку деталей коробки передач.

[32]

Созданное устройство электрогидравлического управления коробкой передач и двойным сцеплением, содержащее клапаны с электрическим управлением и клапаны с гидравлическим управлением посредством трехпозиционного гидрораспределителя с ручным управлением, обеспечивает возможность движения транспортного средства вперед либо назад и его буксировку в случае неисправности электронного блока, используемого для подачи электрических сигналов. При этом наличие пружин, автоматически устанавливающих гидрораспределитель в средней позиции после прекращения действия на него усилия, прилагаемого водителем транспортного средства, происходит разобщение гидроцилиндров включенных зубчатых муфт с напорной гидролинией, вследствие чего прекращается принудительное действие штоков гидроцилиндров через вилки на включенные зубчатые муфты. В результате прекращения прижатия закрепленных на штоках неподвижных вилок к вращающимся зубчатым муфтам уменьшается износ вилок и зубчатых муфт коробки передач. Тем самым увеличивается их срок службы и повышается их надежность, что является важным техническим результатом.

Как компенсировать расходы
на инновационную разработку
Похожие патенты