патент
№ RU 2498467
МПК H01S3/0933

ОПТИЧЕСКАЯ УСИЛИТЕЛЬНАЯ ГОЛОВКА С ДИОДНОЙ НАКАЧКОЙ

Авторы:
Орехов Георгий Викторович Абышев Анатолий Александрович Янусов Михаил Юрьевич
Все (8)
Номер заявки
2011141816/28
Дата подачи заявки
14.10.2011
Опубликовано
10.11.2013
Страна
RU
Как управлять
интеллектуальной собственностью
Чертежи 
6
Реферат

Изобретение относится к твердотельным лазерам с диодной накачкой, в частности к элементам накачки и системам их охлаждения. Оптическая усилительная головка с диодной накачкой состоит из размещенных в корпусе активного элемента в виде стержня, матриц лазерных диодов, расположенных на держателях вдоль активного элемента, и системы охлаждения, содержащей стеклянную трубку, охватывающую активный элемент с образованием радиального канала δ. На обоих торцах стеклянной трубки установлены демпфирующие элементы. В корпусе, держателях и матрицах лазерных диодов расположены охлаждающие каналы с входным и выходным патрубками, образующие двухконтурную систему охлаждения. Технический результат заключается в повышении выходной энергии лазерного излучения и в достижении стабильности выходных энергетических параметров при частоте повторения импульсов до 100 Гц. 1 з.п. ф-лы, 7 ил.

Формула изобретения

1. Оптическая усилительная головка с диодной накачкой, состоящая из размещенных в корпусе активного элемента в виде стержня, матриц лазерных диодов, расположенных на держателях вдоль активного элемента, и системы охлаждения, содержащей стеклянную трубку, охватывающую активный элемент с образованием радиального канала δ, демпфирующие элементы, установленные на обоих торцах стеклянной трубки, и сеть охлаждающих каналов, расположенных в корпусе, держателях и матрицах лазерных диодов с входным и выходным патрубками, отличающаяся тем, что корпус выполнен в виде шестигранника, на внешней поверхности каждой грани которого выполнено отверстие для размещения держателя, на грани которого, обращенной к активному элементу, установлены матрицы лазерных диодов, система охлаждения выполнена в виде двух независимых контуров, охлаждающие каналы одного контура - охлаждения активного элемента соединяют дополнительные входной и выходной патрубки с радиальным каналом δ через выполненные в виде сильфонов демпфирующие элементы, другой контур охлаждения - матриц лазерных диодов содержит выполненные в корпусе и соединенные с входным и выходным патрубками входной и выходной коллекторы, из которых выходят охлаждающие каналы, соединенные с каналами, выполненными в каждом держателе и матрицах лазерных диодов.

2. Оптическая усилительная головка по п.1, отличающаяся тем, что на поверхность стеклянной трубки нанесено просветляющее покрытие.

Описание

[1]

Изобретение относится к твердотельным лазерам с диодной накачкой, в частности, к элементам накачки и системам их охлаждения и может быть использована при изготовлении лазерной техники.

[2]

Известно устройство оптической накачки усилительной среды, содержащее корпус, в котором размещены активный элемент в виде стержня, матрицы лазерных диодов, расположенные на держателях вдоль активного элемента, и систему охлаждения со стеклянной трубкой, охватывающей активный элемент. Устройство также содержит блок охлаждения матриц лазерных диодов в виде гильзы, окружающей матрицы лазерных диодов, а держатели выполнены в виде сегментов кольца (патент США №5521936, H01S 3/091, 1995 г.).

[3]

В данном устройстве достаточно просто организован отвод тепла от лазерных диодов: не требуется применение дополнительных внутренних каналов охлаждения, отвод тепла от нагреваемых элементов конструкции осуществляется потоком хладагента.

[4]

Однако, необходимо обеспечить хорошую гидроизоляцию лазерных диодов от хладагента. Негативным фактором при таком способе охлаждения является то, что возможно образование зон застоя в потоке охлаждающей жидкости вблизи стенок гильзы. Это снижает эффективность теплоотвода, следовательно, отрицательно влияет на спектрально-генерационные характеристики лазерных диодов элементов накачки.

[5]

Наиболее близким аналогом заявляемого изобретения, выбранным в качестве прототипа, является оптическая усилительная головка с диодной накачкой, состоящая из размещенных в корпусе активного элемента в виде стержня, матриц лазерных диодов, расположенных в держателях вдоль активного элемента, и системы охлаждения, содержащей стеклянную трубку, охватывающую активный элемент с образованием радиального канала, демпфирующие элементы, установленные на обоих торцах стеклянной трубки, и сеть охлаждающих каналов, расположенных в корпусе, держателях и матрицах лазерных диодов, с входным и выходным патрубками. Матрицы лазерных диодов выполнены в виде блоков линеек лазерных диодов и расположены под углом 90° к оси активного элемента, в качестве демпфирующих элементов использованы прокладки (патент США №6101208, H01S 3/0941, 1997 г.).

[6]

В этом устройстве охлаждение активного элемента и матриц лазерных диодов происходит за счет сохранения высокой скорости потока охлаждающей жидкости. Также осуществление постоянного контроля температуры теплоносителя позволяет продлить срок службы диодов и обеспечить постоянные и устойчивые выходные параметры оптической усилительной головки.

[7]

Однако, неравномерное и неполное заполнение светом активной среды приводит к образованию изолированных областей возбуждения, возникновению термических напряжений внутри активного элемента, что может привести к его выходу из строя. Неравномерность освещения активного элемента приводит так же и к снижению эффективности накачки и мощности выходного лазерного пучка. Расположение охлаждающих каналов в блоках линеек лазерных диодов не оптимально, так как расстояние от охлаждаемой поверхности линейки лазерных диодов до охлаждающих каналов не минимально, как следствие этого падает эффективность отвода тепла с нагретой поверхности линейки лазерных диодов и требуется увеличение скорости хладагента. Это может привести к снижению качества охлаждения лазерных диодов и падению мощности выходного лазерного пучка.

[8]

Технический результат, получаемый при использовании предлагаемого технического решения - повышение выходной энергии лазерного излучения, достижение стабильности выходных энергетических параметров при частоте повторения импульсов до 100 Гц.

[9]

Указанный технический результат достигается тем, что в оптической усилительной головке с диодной накачкой, состоящей из размещенных в корпусе активного элемента в виде стержня, матриц лазерных диодов, расположенных на держателях вдоль активного элемента, и системы охлаждения, содержащей стеклянную трубку, охватывающую активный элемент с образованием радиального канала δ, демпфирующие элементы, установленные на обоих торцах стеклянной трубки, и сеть охлаждающих каналов, расположенных в корпусе, держателях и матрицах лазерных диодов, с входным и выходным патрубками, особенностью является то, что корпус выполнен в виде шестигранника, на внешней поверхности каждой грани которого выполнено отверстие для размещения держателя, на грани которого, обращенной к активному элементу установлены матрицы лазерных диодов, система охлаждения выполнена в виде двух независимых контуров, охлаждающие каналы одного контура - охлаждения активного элемента соединяют дополнительные входной и выходной патрубки с радиальным каналом δ через выполненные в виде сильфонов демпфирующие элементы, другой контур охлаждения - матриц лазерных диодов содержит выполненные в корпусе и соединенные с входным и выходным патрубками входной и выходной коллекторы, из которых выходят охлаждающие каналы, соединенные с каналами, выполненными в каждом держателе и матрицах лазерных диодов.

[10]

Для уменьшения световых потерь при освещении активного элемента и для увеличения интенсивности накачки на поверхность стеклянной трубки нанесено просветляющее покрытие.

[11]

Выполнение системы охлаждения из двух независимых контуров охлаждения: для активного элемента и матриц лазерных диодов, расположенных вокруг оптической оси активного элемента с шагом 60°, позволило регулировать и поддерживать необходимую температуру, а также организовать более эффективный отвод тепла от нагреваемых поверхностей, свести к минимуму потери мощности излучения накачки. В результате повысили эффективность накачки активной среды, увеличили энергию, запасенную в инверсии населенностей в объеме активной среды, что привело к повышению выходной энергии лазерного излучения, стабильности выходных энергетических параметров при частоте повторения импульсов до 100 Гц.

[12]

При проведении анализа уровня техники, включающего поиск по патентным и научно-техническим источникам информации, и выявление источников, содержащих сведения об аналогах заявленного изобретения, не обнаружено аналогов, характеризующихся признаками, тождественными всем существенным признакам данного изобретения. Определение из перечня выявленных аналогов прототипа как наиболее близкого по совокупности существенных признаков аналога, позволило выявить совокупность существенных по отношению к усматриваемому заявителем техническому результату отличительных признаков в заявленном устройстве, изложенных в формуле изобретения.

[13]

Следовательно, заявленное изобретение соответствует условию «новизна».

[14]

Для проверки соответствия заявленного изобретения условию «изобретательский уровень» заявитель провел дополнительный поиск известных решений, чтобы выявить признаки, совпадающие с отличительными от прототипа признаками заявленного устройства. В результате поиска не выявлены технические решения с этими признаками. На этом основании можно сделать выводы о соответствии заявляемого изобретения условию «изобретательский уровень».

[15]

На фиг.1 изображен продольный разрез оптической усилительной головки с диодной накачкой, выполненный по оси активного элемента.

[16]

На фиг.2 изображен поперечный разрез оптической усилительной головки с диодной накачкой, выполненный на половине ее длины.

[17]

На фиг.3 изображен держатель с матрицами.

[18]

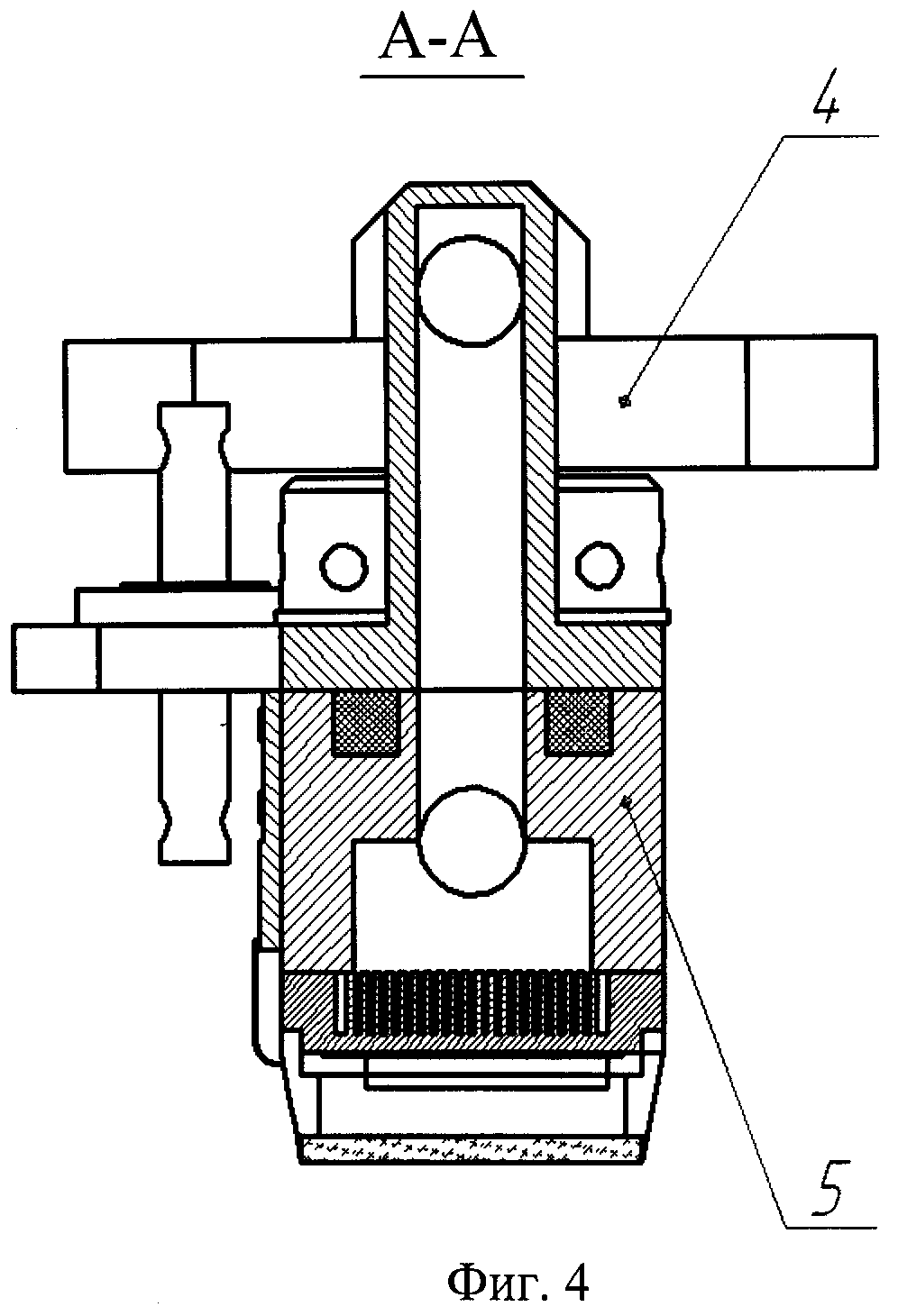
На фиг.4. изображен разрез А-А фиг.3.

[19]

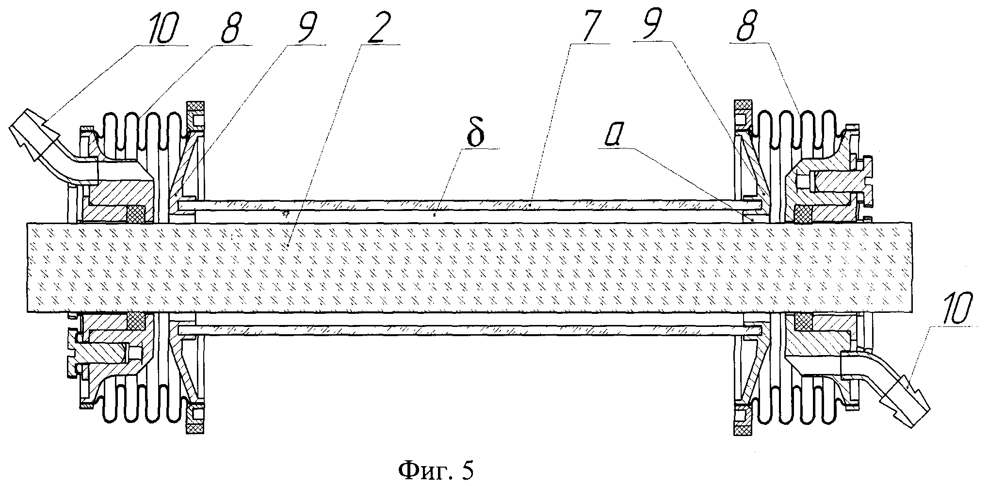
На фиг.5 изображена система охлаждения активного элемента в сборке без гибких шлангов.

[20]

На фиг.6 изображен вид сбоку оптической усилительной головки с диодной накачкой, без боковых крышек.

[21]

На фиг.7 изображен общий вид предлагаемой оптической усилительной головки с диодной накачкой.

[22]

Оптическая усилительная головка с диодной накачкой содержит выполненный в виде шестигранника корпус 1, в котором установлен активный элемент 2 YAG:Nd в виде стержня. На внешней поверхности каждой грани корпуса 1 имеется технологическое отверстие 3, в котором размещен держатель 4 для матриц 5 лазерных диодов. На грани каждого держателя 4, которая обращена к активному элементу имеется посадочная поверхность k для закрепления матриц 5 лазерных диодов. Для более равномерного освещения активного элемента на каждом держателе 4 установлено по две матрицы 5 лазерных диодов, расположенных вокруг оптической оси активного элемента 2 с шагом 60° (фиг.1-4).

[23]

Система охлаждения выполнена в виде двух независимых контуров: контура охлаждения активного элемента 2 и контура охлаждения матриц 4 лазерных диодов с входным и выходным патрубками 6. Система охлаждения содержит сеть охлаждающих каналов a, c, d, e, расположенных в корпусе 1, держателях 4 и матрицах 5 лазерных диодов.

[24]

Контур охлаждения активного элемента содержит стеклянную трубку 7, демпфирующие элементы в виде сильфонов 8, установленные на обоих торцах стеклянной трубки 7, фланцы 9, дополнительные входной и выходной патрубки 10 с подводящими гибкими шлангами 11. Стеклянная трубка 7 охватывает активный элемент 2, образуя радиальный канал δ для прохождения хладагента. Охлаждающие каналы a этого контура, образованные фланцами 9 и активным элементом 2, соединяют дополнительные входной и выходной патрубки 10 с радиальным каналом δ через сильфоны 8. Фланцы 9 и сильфоны 8 образуют единую сборку, к которой крепятся патрубки 10 с гибкими шлангами 11 (фиг.5).

[25]

Контур охлаждения матриц лазерных диодов содержит выполненные в корпусе 1 кольцевые коллекторы 12 квадратного сечения, которые разделяются на охлаждающие каналы с корпуса 1, соединяющиеся с каналами d, выполненными в каждом держателе 4, соединяющиеся с каналами e, выполненными в каждой матрице 5 лазерных диодов, и входной и выходной патрубки 6 с гибкими шлангами 13. Коллекторы 12 соединены с входным и выходным патрубками 6 (фиг.1).

[26]

Оптическая усилительная головка содержит также пружинные держатели 14, предназначенные для крепления системы охлаждения в сборе с активным элементом 2 к корпусу 1 (фиг.6).

[27]

Оптическая усилительная головка содержит электрический разъем для подключения блока питания (на фиг. не показан), кожух 15 и боковые крышки 16, которые крепятся к корпусу 1 (фиг.7).

[28]

Для уменьшения световых потерь при освещении активного элемента и для увеличения интенсивности накачки на поверхность стеклянной трубки 7 нанесено многослойное диэлектрическое просветляющее покрытие, сделанное путем напыления.v

[29]

Устройство работает следующим образом. От блока питания на матрицы 5 лазерных диодов подается напряжение питания, матрицы начинают генерировать излучение накачки, которое, проходя стеклянную трубку 7 и хладагент активного элемента 2, поглощается активной средой, где часть поглощенной энергии накачки идет на тепловые потери. В квазинепрерывном режиме работы мощность тепловыделения достаточно высока, поэтому требуется охлаждение активного элемента.

[30]

Хладагент подается по подводящему шлангу 11, присоединенному к входному патрубку 10 в контур охлаждения активного элемента 2, поступает в сильфон 8. Затем хладагент через канал а попадает в радиальный канал 5 и проходит вдоль активного элемента 2, контактируя с его поверхностью и охлаждая его. Пройдя вдоль активного элемента 2, хладагент на противоположном его конце выводится из оптической головки симметричной конструкцией: по каналу а хладагент попадает в сильфон 8, затем через патрубок 10 и гибкий шланг 11 выводится из оптической усилительной головки.

[31]

В элементах накачки, выполненных в виде матриц 5 лазерных диодов, часть электрической энергии тратится на тепловые потери, поэтому матрицы так же необходимо охлаждать.

[32]

Охлаждение матриц 5 лазерных диодов происходит следующим образом. Хладагент подается по подводящему гибкому шлангу 13, присоединенному к входному патрубку 6 и попадает во входной коллектор 12 квадратного сечения внутри корпуса 1. Из коллектора 12 хладагент поступает в шесть охлаждающих каналов с, каждый из которых предназначен для подачи хладагента к держателю 4 матриц 5 лазерных диодов, соединяется с каналами d, расположенными внутри каждого держателя 4 и соединяется с каналами е, расположенными внутри матриц 5 лазерных диодов. Хладагент, проходя по каналам d и е, охлаждает все матрицы 5 лазерных диодов. Далее, хладагент, пройдя каждый держатель 4 матриц 5 и забрав излишки тепла от матриц 5, попадает в систему из шести каналов с, симметричную подводящей хладагент, системе. От каждого канала хладагент попадает в выходной коллектор 12 квадратного сечения, находящийся с противоположной стороны корпуса 1. Далее, нагретая жидкость через патрубок 6 по гибкому шлангу 13 выводится из оптической усилительной головки.

[33]

Преимущество изобретения состоит в том, что, расположив матрицы лазерных диодов в непосредственной близости от поверхности стеклянной трубки, повысили эффективность осветителя. Благодаря симметрии расположения элементов накачки в оптической головке достигли равномерного освещения по сечению активного элемента, что обеспечило однородность по сечению усиления и тепловыделения. Так, слабый сигнал за один проход усиливается в 25 раз, а запасенная энергия в инверсии населенностей достигает 1,4 Дж.

[34]

Конструкция коллекторов и контура охлаждения матриц лазерных диодов обеспечивает распределение хладагента по каналам держателей с одинаковым расходом, что позволяет обеспечить одинаковый режим охлаждения всех элементов диодной накачки. Конструкция каналов, подводящих теплоноситель к рубашке охлаждения, позволяет обеспечить равномерный теплосъем по поверхности активного элемента, что в совокупности с однородностью тепловыделения обуславливает симметрию температурного распределения по сечению активного элемента. Вследствие этого оптическая усилительная головка может работать при частоте повторения импульсов до 100 Гц.

[35]

Таким образом, представленные данные свидетельствуют о выполнении при использовании заявляемого изобретения следующей совокупности условий:

[36]

- средство, воплощающее заявленное устройство при его осуществлении, предназначено для использования в электронной и оптико-механической промышленности при изготовлении устройств с повышенной мощностью для медицины, технологии и других целей;

[37]

- для заявляемого устройства в том виде, в котором оно охарактеризовано в формуле изобретения, подтверждена возможность его осуществления. Следовательно, заявляемое изобретение соответствует условию «промышленная применимость».

Как компенсировать расходы
на инновационную разработку
Похожие патенты