патент
№ RU 2689457
МПК G01M11/02

СТЕНД ИЗМЕРЕНИЯ ПАРАМЕТРОВ ТЕПЛОВИЗИОННЫХ КАНАЛОВ

Авторы:
Агафонова Регина Ренатовна Куликов Дмитрий Викторович Шушарин Сергей Николаевич
Все (5)
Номер заявки
2018126283
Дата подачи заявки
16.07.2018
Опубликовано
29.05.2019
Страна
RU
Как управлять
интеллектуальной собственностью
Чертежи 
3
Реферат

Изобретение относится к оптико-электронному приборостроению и предназначено для автоматизированного измерения параметров тепловизионных каналов (ТПВК) в процессе изготовления. Предлагаемое техническое решение позволяет расширить функциональные возможности стенда за счет автоматического и индивидуального (для каждого ТПВК) определения в процессе настройки необходимого перемещения подвижного компонента оптической системы ТПВК для обеспечения фокусировки при изменении температуры окружающей среды. Технический результат достигается тем, что в стенд измерения параметров тепловизионных каналов, содержащий инфракрасный коллиматорный комплекс (ИКК), расположенный соосно с оптической системой контролируемого тепловизионного канала (ТПВК), устройство отображения, записи и обработки информации (УОЗОИ), содержащее персональный компьютер (ПК) и преобразователь форматов видеосигнала, а также преобразователь стандартов обмена и формирователь рабочих напряжений, при этом первый порт ИКК подключен к первому порту ПК, первый и второй порты преобразователя форматов видеосигнала подключены к первому порту ТПВК и ко второму порту ПК соответственно, первый и второй порты преобразователя стандартов обмена подключены ко второму порту ТПВК и к третьему порту ПК соответственно, первый и второй порты формирователя рабочих напряжений подключены к третьему порту ТПВК и к четвертому порту ПК соответственно, согласно настоящему изобретению, дополнительно введены устройство имитации температуры окружающей среды для размещения ТПВК и формирователь команд управления температурными режимами, при этом первый и второй порты формирователя команд управления температурными режимами подключены к первому порту устройства имитации температуры окружающей среды и к пятому порту ПК соответственно. 3 ил.

Формула изобретения

Стенд измерения параметров тепловизионных каналов, содержащий инфракрасный коллиматорный комплекс (ИКК), расположенный соосно с оптической системой контролируемого тепловизионного канала (ТПВК), устройство отображения, записи и обработки информации (УОЗОИ), содержащее персональный компьютер (ПК) и преобразователь форматов видеосигнала, а также преобразователь стандартов обмена и формирователь рабочих напряжений, при этом первый порт ИКК подключен к первому порту ПК, первый и второй порты преобразователя форматов видеосигнала подключены к первому порту ТПВК и ко второму порту ПК соответственно, первый и второй порты преобразователя стандартов обмена подключены ко второму порту ТПВК и к третьему порту ПК соответственно, первый и второй порты формирователя рабочих напряжений подключены к третьему порту ТПВК и к четвертому порту ПК соответственно, отличающийся тем, что дополнительно введены устройство имитации температуры окружающей среды для размещения ТПВК и формирователь команд управления температурными режимами, при этом первый и второй порты формирователя команд управления температурными режимами подключены к первому порту устройства имитации температуры окружающей среды и к пятому порту ПК соответственно.

Описание

[1]

Изобретение относится к оптико-электронному приборостроению и предназначено для автоматизированного измерения параметров тепловизионных каналов (ТПВК) в процессе изготовления.

[2]

Тепловизионные каналы часто работают в широком диапазоне температур окружающей среды, который может достигать -50…+50°С и более. При отклонении температуры от нормальных климатических условий показатели преломления оптических материалов изменяются, а вместе с ними и линейные размеры всей системы, и радиусы кривизны, и толщины оптических элементов (Е.О. Ульянова, К.П. Шатунов журнал «Прикладная физика» №2, 2012 г., стр. 116-120, «Термокомпенсация в оптической системе тепловизионного прибора»). В результате перечисленных изменений меняется ход лучей в оптической системе и фокальная плоскость объектива смещается относительно плоскости чувствительных элементов фотоприемного устройства ТПВК, что приводит к расфокусировке изображения. Поэтому при изготовлении ТПВК необходимо принимать меры по ослаблению влияния температуры окружающей среды на параметры оптической системы тепловизионных каналов.

[3]

Известен метод ослабления влияния температуры на параметры оптической системы ТПВК с использованием перемещения отдельных компонентов оптической системы в процессе ее работы при изменении температуры окружающей среды (Е.О. Ульянова, К.П. Шатунов журнал «Прикладная физика» №2, 2012 г., стр. 116-120, «Термокомпенсация в оптической системе тепловизионного прибора»). Согласно известному способу, для того чтобы перемещать компоненты оптической системы, необходимо теоретически определить зависимость положения компонентов оптической системы от температуры окружающей среды, исходя из свойств материалов компонентов оптической системы и сохранить полученную зависимость в памяти ТПВК.

[4]

Выполнение теоретических расчетов не может в полной мере компенсировать все возможные отклонения параметров оптических компонентов и обеспечить повторяемость характеристик изготавливаемых оптических систем тепловизионных каналов. Более эффективным вариантом является индивидуальное измерение для каждого ТПВК параметров его оптической системы и определение зависимости положения компонентов оптической системы от температуры окружающей среды в процессе изготовления и настройки с использованием специализированного стендового оборудования.

[5]

Известен стенд для измерения параметров оптико-электронных систем, описанный в патенте на изобретение «Способ контроля параметров оптико-электронных систем в рабочем диапазоне температур» (патент RU 2507495 С1, МПК G01M 11/02, опубликован 20.02.2014), который содержит коллиматор с тест-объектом, термокамеру.

[6]

Основными недостатками аналога является полное отсутствие автоматизации измерений, отсутствие возможности автоматического определения необходимого перемещения подвижного компонента оптической системы ТПВК для совмещения ее фокальной плоскости с плоскостью чувствительных элементов фотоприемного устройства при изменении температуры окружающей среды.

[7]

Прототипом изобретения является стенд, описанный в патенте на изобретение «Устройство контроля и управления тепловизионными каналами» (патент RU 2605934 С1, МПК H04N 5/33, G05F 1/00, опубликован 27.12.2016), который содержит инфракрасный коллиматорный комплекс (ИКК) с тест-объектом, контролируемый ТПВК, устройство контроля и управления, содержащее устройство отображения, записи и обработки информации, включающее персональный компьютер (ПК) и преобразователь форматов видеосигнала, а также преобразователь стандартов обмена и формирователь рабочих напряжений. Преобразователь форматов видеосигнала служит для приема сигнала с видеовыхода контролируемого ТПВК и подключен к одному из портов ПК. Преобразователь стандартов обмена соединен с соответствующими портами ТПКВ и ПК и служит для обмена цифровыми сигналами между ПК и ТПВК. Порт формирователя рабочих напряжений подключен к одному из портов ТПВК и служит для подачи рабочих напряжений на ТПВК. Между ИКК и ПК установлена связь через соответствующие порты для проведения процедуры измерения основных характеристик ТПВК, таких как минимально разрешаемая разность температур и температурно-частотная характеристика.

[8]

Основным недостатком прототипа является ограниченные функциональные возможности стенда из-за невозможности обеспечения индивидуальной (для каждого ТПВК) компенсации влияния температуры окружающей среды.

[9]

Задачей изобретения является создание стенда измерения параметров ТПВК, который позволит наряду с измерением основных характеристик ТПВК, автоматически настраивать каждый ТПВК таким образом, чтобы в процессе непосредственной эксплуатации, при изменении температуры окружающей среды, ТПВК автоматически компенсировал отклонения параметров оптических компонентов для формирования сфокусированного изображения.

[10]

Техническим результатом является расширение функциональных возможностей стенда за счет обеспечения в процессе настройки автоматического и индивидуального (для каждого ТПВК) определения необходимого перемещения подвижного компонента оптической системы ТПВК для совмещения ее фокальной плоскости с плоскостью чувствительных элементов фотоприемного устройства ТПВК при изменении температуры окружающей среды в процессе эксплуатации.

[11]

Технический результат достигается тем, что в стенд измерения параметров тепловизионных каналов, содержащий инфракрасный коллиматорный комплекс (ИКК), расположенный соосно с оптической системой контролируемого тепловизионного канала (ТПВК), устройство отображения, записи и обработки информации (УОЗОИ), содержащее персональный компьютер (ПК) и преобразователь форматов видеосигнала, а также преобразователь стандартов обмена и формирователь рабочих напряжений, при этом первый порт ИКК подключен к первому порту ПК, первый и второй порты преобразователя форматов видеосигнала подключены к первому порту ТПВК и ко второму порту ПК соответственно, первый и второй порты преобразователя стандартов обмена подключены ко второму порту ТПВК и к третьему порту ПК соответственно, первый и второй порты формирователя рабочих напряжений подключены к третьему порту ТПВК и к четвертому порту ПК соответственно, согласно настоящему изобретению, дополнительно введены устройство имитации температуры окружающей среды для размещения ТПВК и формирователь команд управления температурными режимами, при этом первый и второй порты формирователя команд управления температурными режимами подключены к первому порту устройства имитации температуры окружающей среды и к пятому порту ПК соответственно.

[12]

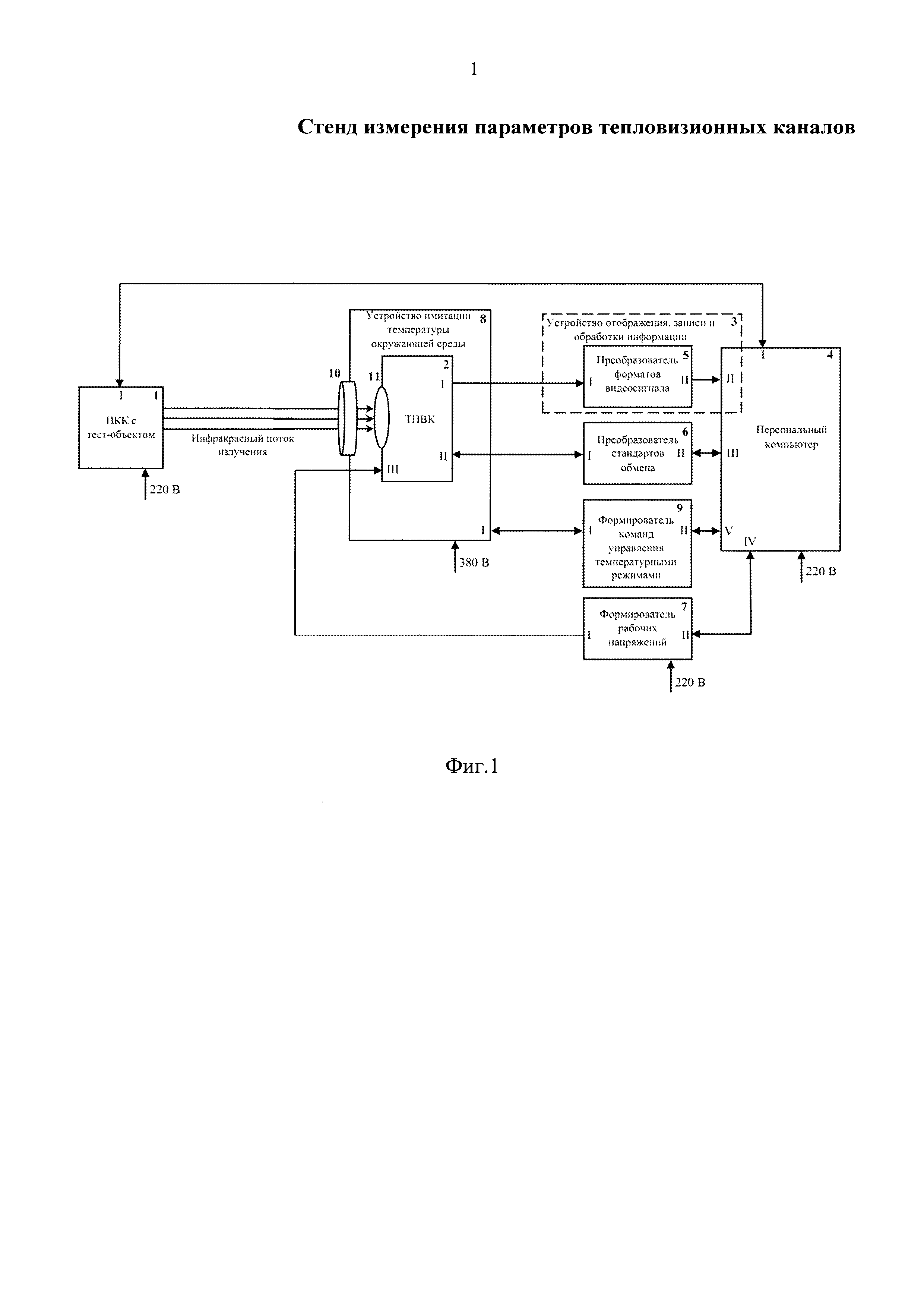
На фиг. 1 представлена функциональная схема предлагаемого стенда измерения параметров тепловизионных каналов, исполненного как единое аппаратно-программное устройство.

[13]

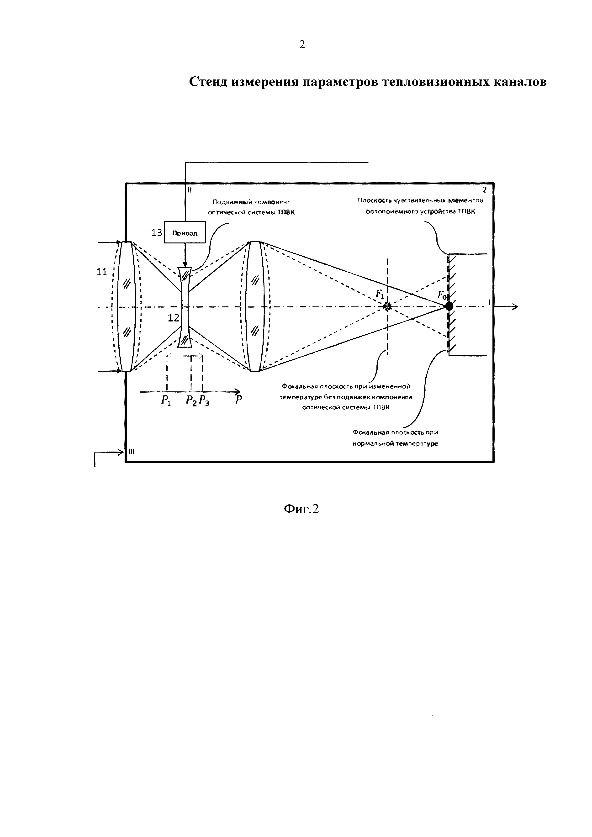
На фиг. 2 изображен контролируемый ТПВК, имеющий оптическую систему с подвижным компонентом, управляемым приводом, а также представлено положение фокальной плоскости оптической системы ТПВК при нормальной (комнатной) и измененной температурах.

[14]

На фиг. 2 связь привода с преобразователем стандартов обмена через второй порт ТПВК показана схематично, т.к. через данный порт происходит управление всеми функциональными блоками ТПВК, которые на фиг. 2 не показаны.

[15]

На фиг. 3 изображена полученная в результате измерений зависимость положения подвижного компонента оптической системы ТПВК от температуры окружающей среды.

[16]

На фиг. блоки и узлы стенда измерения параметров ТПВК обозначены следующими позициями:

[17]

1 - инфракрасный коллиматорный комплекс (ИКК),

[18]

2 - контролируемый тепловизионный канал (ТПВК),

[19]

3 - устройство отображения, записи и обработки информации (УОЗОИ),

[20]

4 - персональный компьютер (ПК),

[21]

5 - преобразователь форматов видеосигнала,

[22]

6 - преобразователь стандартов обмена,

[23]

7 - формирователь рабочих напряжений,

[24]

8 - устройство имитации температуры окружающей среды,

[25]

9 - формирователь команд управления температурными режимами,

[26]

10 - иллюминатор устройства имитации температуры окружающей среды,

[27]

11 - оптическая система ТПВК,

[28]

12 - подвижный компонент оптической системы ТПВК,

[29]

13 - привод, обеспечивающий перемещение подвижного компонента оптической системы ТПВК.

[30]

Стенд измерения параметров тепловизионных каналов содержит ИКК 1 с тест-объектом (на фиг. не показан), расположенный соосно с оптической системой 11 контролируемого ТПВК 2, имеющей подвижный компонент 12 для фокусировки, устройство 8 имитации температуры окружающей среды для размещения ТПВК 2, УОЗОИ 3, преобразователь 6 стандартов обмена, выполняющий преобразование и передачу управляющих цифровых сигналов между контролируемым ТПВК 2 и ПК 4 (обеспечивает включение и выключение ТПВК, управление блоками ТПВК, проверку состояния ТПВК) и реализованный на базе платы сопряжения RS-232/422/485 для шины PCI, формирователь 7 рабочих напряжений, представляющий собой источник питания с возможностью управления режимом работы ТПВК 2 от ПК 4, формирователь 9 команд управления температурными режимами, представляющий собой контроллер Hurotherm 2204е.

[31]

УОЗОИ 3 содержи! ПК 4 и преобразователь 5 форматов видеосигнала, предназначенный для преобразования и передачи в ПК 4 видеосигнала, формируемого контролируемым ТПВК 2, и представляющий собой плату видеозахвата SDI либо CameraLink. Первый и второй порты преобразователя 5 форматов видеосигналов подключены к первому порту ТПВК 2 и ко второму порту ПК 4 соответственно. Первый и второй порты преобразователя 6 стандартов обмена подключены ко второму порту ТПВК 2 и к третьему порту ПК 4 соответственно.

[32]

Первый и второй порты формирователя 7 рабочих напряжений подключены к третьему порту ТПВК 2 и к четвертому порту ПК 4 соответственно.

[33]

Формирователь 9 команд управления температурными режимами служит для управления температурными режимами устройства 8 имитации температуры окружающей среды, которые задаются при помощи ПК 4, при этом первый и второй порты формирователя 9 команд управления температурными режимами подключены к первому порту устройства 8 имитации температуры окружающей среды и к пятому порту ПК соответственно.

[34]

Первый порт ИКК 1 соединен с первым портом ПК 4 для обеспечения возможности управления режимом работы инфракрасного коллиматорного комплекса 1 непосредственно с ПК 4.

[35]

Работает стенд измерения параметров тепловизионных каналов следующим образом.

[36]

Персональный компьютер 4, формирователь 7 рабочих напряжений и инфракрасный коллиматорный комплекс 1 подключают к сети 220 В, а устройство 8 имитации температуры окружающей среды подключают к сети 380 В.

[37]

Контролируемый ТПВК 2 устанавливают в устройство 8 имитации температуры окружающей среды соосно с ИКК 1, а на оптическую систему 11 ТПВК 2 подают инфракрасный поток излучения с ИКК 1 через иллюминатор 10 устройства 8 имитации температуры окружающей среды. Далее на УОЗОИ 3, а именно на ПК 4, в окне программного обеспечения вводят список температур Т окружающей среды (например, -40°С, +25°С, +40°С), воспроизводимых устройством 8 имитации температуры окружающей среды. Количество вводимых значений температур может быть произвольным - они должны принадлежать диапазону рабочих температур ТПВК 2 и диапазону температур, воспроизводимых устройством 8 имитации температуры окружающей среды. Также на ПК 4 вводят время выдержки контролируемого ТПВК 2 на каждой температуре Т (например, 3 часа) из списка. Если ТПВК 2 имеет несколько нолей зрения, то на ПК 4 указывают, для каких полей зрения будут проводиться измерения.

[38]

После этого на УОЗОИ 3 при помощи ПК 4 запускают процесс автоматического определения необходимого перемещения подвижного компонента оптической системы 11 ТПВК 2 для совмещения ее фокальной плоскости с плоскостью чувствительных элементов фотоприемного устройства ТПВК 2 при изменении температуры, во время которого на всех введенных температурах Т производятся следующие технологические операции:

[39]

- УОЗОИ 3 с помощью формирователя 9 команд управления температурными режимами автоматически отправляет на устройство 8 имитации температуры окружающей среды команду для перевода на температуру Т1=-40°С и ожидает в течение заданного времени выдержки (3 часа);

[40]

- УОЗОИ 3 одновременно отправляет команду на включение формирователя 7 рабочих напряжений, который подает на ТПВК 2 рабочее напряжение, и команду на включение контролируемого ТПВК 2 через преобразователь 6 стандартов обмена, ожидает включение ТПВК 2 и выход его на рабочий режим;

[41]

- УОЗОИ 3 производит автоматическое определение положения изображения тест-объекта (на фиг. 1 не показан) на изображении, получаемом с ТПВК 2 через преобразователь 5 форматов видеосигнала, для этого УОЗОИ 3 через преобразователь 6 стандартов обмена выдает команду на перемещение подвижного компонента 12 оптической системы 11 ТПВК 2 посредством привода 13 (фиг. 2), производит поиск тест-объекта на изображении, при этом перемещение подвижного компонента 12 продолжается до тех пор, пока распознавание тест-объекта не стало возможным;

[42]

- УОЗОИ 3 определяет положение Р1 (фиг. 2) подвижного компонента 12 оптической системы 11 ТПВК 2, соответствующее температуре Т1, при котором изображение тест-объекта является максимально четким (сфокусированным), для этого УОЗОИ 3 выдает команду на перемещение подвижного компонента 12 оптической системы 11 ТПВК 2 посредством привода 13, производит усреднение нескольких кадров с ТПВК 2 и вычисление контраста в области тест-объекта, причем перемещение подвижного компонента 12 продолжается до тех пор, пока не будет определено такое положение, при котором значение контраста в области тест-объекта максимальное, что означает совмещение фокальной плоскости оптической системы 11 ТПВК 2 с плоскостью чувствительных элементов фотоприемного устройства;

[43]

- УОЗОИ 3 автоматически отправляет по истечении заданного времени выдержки в формирователь 7 рабочих напряжений и в ТПВК 2 команду на выключение.

[44]

Далее указанные выше технологические операции, осуществляемые УОЗОИ 3, повторяются автоматически для температур Т2=+25°С и ТЗ=+40°С, в результате чего определяются положения Р2 и РЗ (фиг. 2) подвижного компонента 12 оптической системы 11 ТПВК 2.

[45]

После определения положения подвижного компонента 12 оптической системы 11 ТПВК 2 для последнего значения температуры из списка, на УОЗОИ 3, а именно на ПК 4, при помощи программного обеспечения, по результатам измерений определяют зависимость положения Р подвижного компонента 12 оптической системы 11 ТПВК 2 от температуры Т окружающей среды. Полученную зависимость представляют в табличном виде, где каждому градусу из диапазона рабочих температур ТПВК 2 соответствует положение подвижного компонента 12 оптической системы 11 ТПВК 2 (фиг. 3). УОЗОИ 3 при помощи преобразователя 6 стандартов обмена сохраняет данную таблицу в энергонезависимой памяти ТПВК 2.

[46]

Все технологические операции выполняются для того, чтобы фокальная плоскость оптической системы 11 ТПВК 2 была совмещена с плоскостью чувствительных элементов фотоприемного устройства, то есть проходила через фокальную точку F0, а не через фокальную точку F1 (фиг. 2).

[47]

Во время эксплуатации ТПВК 2, при изменении температуры окружающей среды, согласно зависимости положения подвижного компонента 12 оптической системы 11 ТПВК 2 от температуры окружающей среды, сохраненной в энергонезависимой памяти ТПВК 2, осуществляется автоматическое перемещение подвижного компонента 12 оптической системы 11 ТПВК 2, таким образом, чтобы изображение оставалось четким (сфокусированным).

[48]

В результате применения предлагаемого стенда измерения параметров тепловизионных каналов, оператор задает только начальные параметры процесса (значения температуры, время выдержки, поля зрения), а весь длительный процесс настройки (не менее 10 часов), происходит автоматически, без его участия.

[49]

Предлагаемое техническое решение позволяет расширить функциональные возможности стенда за счет автоматического и индивидуального (для каждого ТПВК) определения в процессе настройки необходимого перемещения подвижного компонента оптической системы ТПВК для обеспечения фокусировки с учетом изменения температуры окружающей среды.

[50]

Сохранение полученных при настройке данных в энергонезависимой памяти ТПВК позволяет использовать их для компенсации влияния температуры окружающей среды в процессе эксплуатации ТПВК.

Как компенсировать расходы
на инновационную разработку
Похожие патенты