патент
№ RU 2622038
МПК H05K3/42

СПОСОБ ИЗГОТОВЛЕНИЯ МЕЖСЛОЙНОГО ПЕРЕХОДА МЕЖДУ ПЕЧАТНЫМИ ПРОВОДНИКАМИ НА КРИСТАЛЛИЧЕСКОЙ ИЛИ ПОЛИКРИСТАЛЛИЧЕСКОЙ ПОДЛОЖКЕ

Авторы:
Верба Владимир Степанович Даниленко Дмитрий Александрович Воронцов Леонид Викторович
Все (5)
Номер заявки
2015153275
Дата подачи заявки
11.12.2015
Опубликовано
09.06.2017
Страна
RU
Как управлять
интеллектуальной собственностью
Чертежи 
4
Реферат

Изобретение относится к радиоэлектронике, а точнее к технологии производства печатных плат. Технический результат изобретения - создание способа изготовления межслойного перехода между печатными проводниками на кристаллической или поликристаллической подложке, улучшающего адгезию за счет изменения свойств кристалла. Достигается тем, что в способе изготовления межслойного перехода между печатными проводниками на кристаллической или поликристаллической подложке берут подложку с переходными отверстиями, при помощи фоторезиста маскируют ее поверхности, за исключением колец вокруг переходных поверхностей. Располагают подложку в импланторе, экспонируют ее потоком ионов металла с одновременным вращением вокруг оси, перпендикулярной плоскости подложки, причем подложку размещают под углом к потоку ионов, обеспечивающим наилучшее их попадание в переходные отверстия. Извлекают заготовку из имплантора, переворачивают ее, снова располагают в импланторе и повторяют экспонирование с другой стороны. Извлекают заготовку из имплантора и наносят гальваническую медь стандартным способом. 4 ил.

Формула изобретения

Способ изготовления межслойного перехода между печатными проводниками на кристаллической или поликристаллической подложке, заключающийся в том, что берут подложку с переходными отверстиями, при помощи фоторезиста маскируют ее поверхности, за исключением колец вокруг переходных поверхностей, располагают подложку в импланторе, экспонируют ее потоком ионов металла с одновременным вращением вокруг оси, перпендикулярной плоскости подложки, причем подложку размещают под углом к потоку ионов, обеспечивающим наилучшее их попадание в переходные отверстия, извлекают заготовку из имплантора, переворачивают ее, снова располагают в импланторе и повторяют экспонирование с другой стороны, извлекают заготовку из имплантора и наносят гальваническую медь стандартным способом.

Описание

[1]

Изобретение относится к радиоэлектронике, а точнее к технологии производства печатных плат.

[2]

"Процессы металлизации отверстий являются неотъемлемой частью производства печатных плат (ПП) и от качества их выполнения в значительной степени зависит надежность изделий" (http://galvanicworld.com/netcat_files/899/750/h_5bd35a9d61c6a310cfd6b02995c83е2е).

[3]

Известны процесс химического меднения и процесс "прямой металлизации" (там же). Недостатки - вероятно вредное воздействие химических реактивов на подложку, нет гарантированной адгезии меди из-за свойств самих кристаллов. Бывает необходимость в замене меди на другой металл, и тогда надо подбирать иной химический процесс.

[4]

Известен способ изготовления межслойного перехода по российскому патенту 2184431:

[5]

"Способ изготовления печатной платы включает сверление в подложке отверстий для межслойных переходов, нанесение на проволоку быстроотверждающего клея, установку проволоки в отверстия для межслойных переходов, отверждение клея в межслойном отверстии с установленной проволокой, обрезку проволоки заподлицо с поверхностью подложки, проведение механической подготовки поверхностей подложки, формирование схемы проводников на сторонах подложки, причем отверстия межслойных переходов выполняют без контактных площадок непосредственно в проводниках и контактных площадках под планарные выводы электрорадиоэлементов, а диаметр проволоки в межслойном переходе может быть больше ширины проводника, меньше или равен ширине проводника или контактной площадки под планарные выводы электрорадиоэлементов, затем химически и гальванически металлизируют плату, наносят металлическое защитное покрытие, травят, осветляют и проводят горячее лужение".

[6]

Очевидным недостатком этого способа является необходимость индивидуального вставления каждой проволочки, что снижает скорость изготовления печатных плат.

[7]

Предлагается способ, лишенный этих недостатков:

[8]

Предлагается изготавливать межслойные переходы на кристаллических или поликристаллических подложках методом ионной имплантации.

[9]

"Ионная имплантация (ионное внедрение, ионное легирование) - введение примесных атомов в твердое тело бомбардировкой его поверхности ускоренными ионами. При ионной бомбардировке мишени наряду с процессами распыления поверхности, ионно-ионной эмиссии, образования радиационных эффектов и др. происходит проникновение ионов в глубь мишени" (http://dic.academic.ru/dic.nsf/enc_physics/3387).

[10]

Атомы имплантируемого вещества во время этого процесса имеют очень высокую степень упорядоченности - кинетическая энергия у всех атомов практически одинакова (http://www.bsu.by/Cache/Page/339793.pdf). Это позволяет улучшить адгезию за счет изменения свойств кристаллов.

[11]

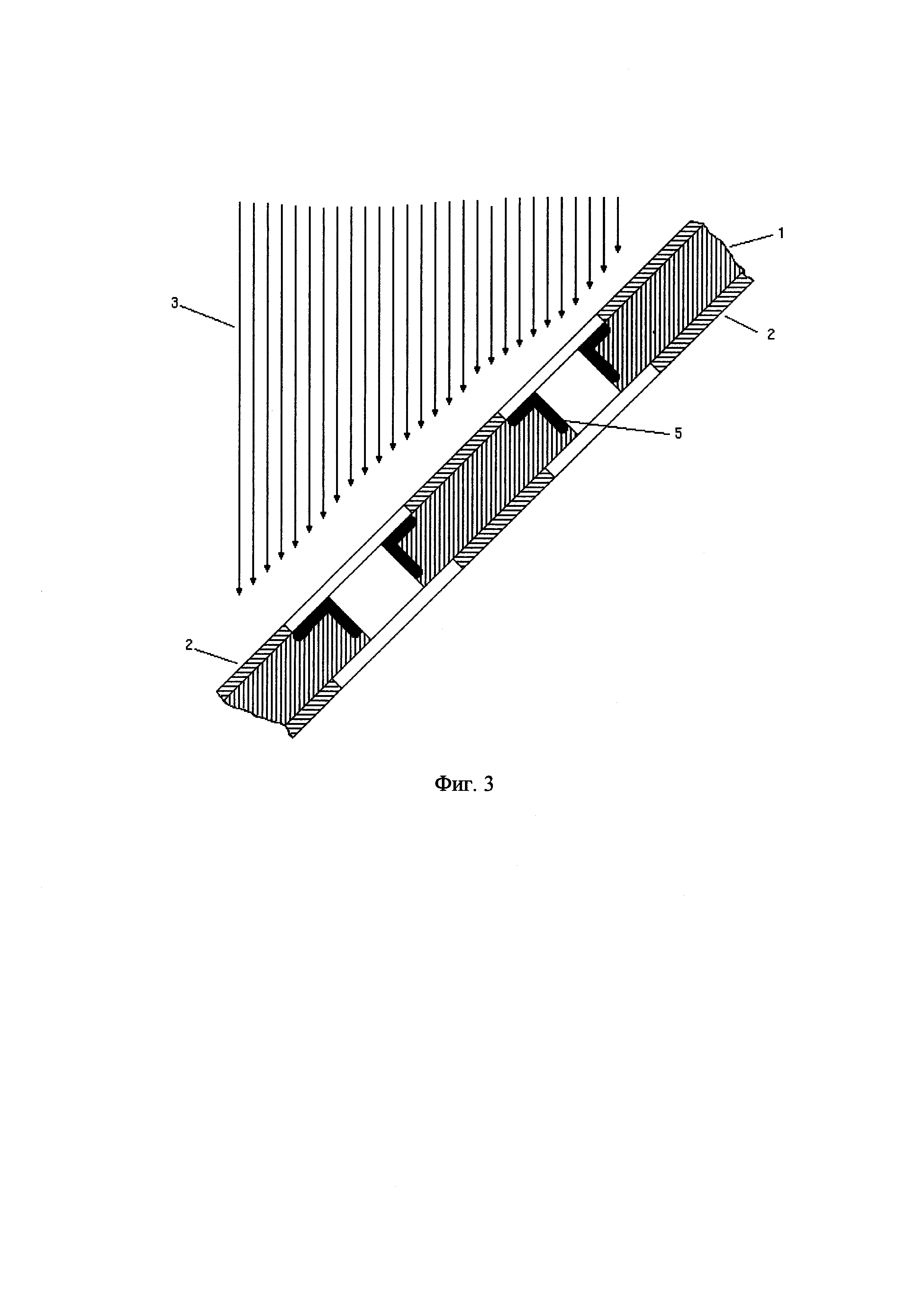
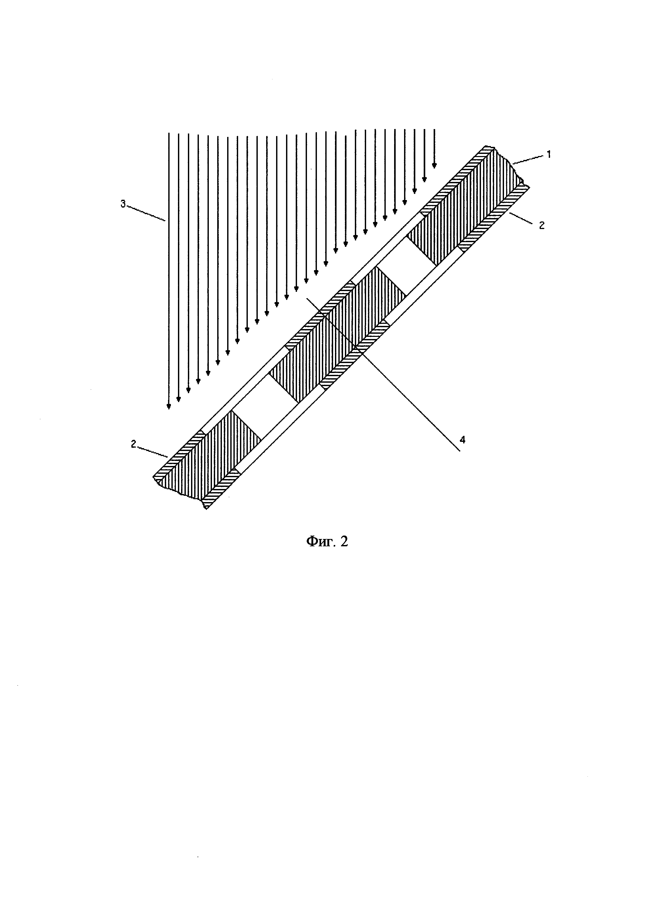
Реализуют этот способ следующим образом (см. фиг. 1-4):

[12]

1. Берут подложку 1 с переходными отверстиями 6, при помощи фоторезиста 2 маскируют ее поверхности за исключением колец вокруг переходных поверхностей (фиг. 1).

[13]

2. Располагают подложку в импланторе и экспонируют ее потоком ионов металла 3 с одновременным вращением вокруг оси 4, перпендикулярной плоскости подложки, причем подложку размещают под углом к потоку ионов, обеспечивающим наилучшее их попадание в переходные отверстия. Импланторы, в которых это возможно, известны (http://www.belkin20.narod.ru/otvety/26.htm, http://elanina.narod.ru/lanina/ind/student/tehnology/text/page7.htm, http://3ys.ru/osnovy-mikroelektroniki/legirovanie-poluprovodnikov.html (фиг. 2).

[14]

3. В подложке образуются проводящие области (фиг. 3).

[15]

4. Извлекают заготовку из имплантора, переворачивают ее, снова располагают в импланторе и повторяют экспонирование с другой стороны. В результате переходы приобретают нужную форму (фиг. 4).

[16]

5. Извлекают заготовку из имплантора и наносят гальваническую медь стандартным способом.

[17]

Техническим результатом изобретения является расширение арсенала способов изготовления межслойного перехода между печатными проводниками на кристаллической или поликристаллической подложке.

Как компенсировать расходы
на инновационную разработку
Похожие патенты