патент
№ RU 2620354
МПК A61F2/66

ИСКУССТВЕННАЯ СТОПА

Авторы:
Максименко Нина Васильевна Завязкин Александр Львович Ларина Ольга Владимировна
Все (5)
Номер заявки
2016104603
Дата подачи заявки
11.02.2016
Опубликовано
24.05.2017
Страна
RU
Как управлять
интеллектуальной собственностью
Чертежи 
1
Реферат

[25]

Изобретение относится к медицинской технике и может быть использовано для протезирования нижних конечностей. Искусственная стопа содержит узел 1 крепления к голени и внешнюю оболочку 2 со вкладышем из амортизирующих профилированных пластин: верхней пластины 3, нижней пластины 4 и дополнительной изогнутой пластины 5, и отличается тем, что верхняя пластина 3 содержит, как минимум, один промежуточный слой композитного материала и, как минимум, два силовых композитных облицовочных слоя. На пяточной части верхней пластины 3 расположена дополнительная изогнутая пластина 5, на которой размещен узел 1 крепления к голени. Между верхней пластиной 3 и дополнительной изогнутой пластиной 5 залит наполнитель 6 на основе стеклянных микросфер. Между верхней пластиной 3 и дугообразной частью нижней пластины 4 установлен амортизатор 7. Под пяточным концом нижней пластины 4 размещен Н-образный рассекатель 8. Под носочной частью верхней пластины 3 размещен эластичный компенсатор 9. Изобретение обеспечивает улучшение биомеханических характеристик искусственной стопы. 12 з.п. ф-лы, 3 ил.

Формула изобретения

1. Искусственная стопа, содержащая узел крепления к голени и внешнюю оболочку с вкладышем из амортизирующих профилированных пластин, отличающаяся тем, что верхняя пластина содержит, как минимум, один промежуточный слой композитного материала и, как минимум, два силовых композитных облицовочных слоя, причем пяточная часть верхней пластины выполнена с дополнительной изогнутой пластиной, на которой размещен узел крепления к голени, при этом между верхней пластиной и дополнительной изогнутой пластиной расположен наполнитель на основе стеклянных микросфер, между верхней пластиной и дугообразной частью нижней пластины установлен амортизатор, под пяточным концом нижней пластины размещен Н-образный рассекатель, а под носочной частью верхней пластины размещен эластичный компенсатор.

2. Искусственная стопа по п. 1, отличающаяся тем, что оболочка выполнена из пенополиуретана.

3. Стопа по п. 1, отличающаяся тем, что облицовочные слои выполнены из пластика.

4. Стопа по п. 1, отличающаяся тем, что, как минимум, один промежуточный слой выполнен из материла на основе стеклянных микросфер.

5. Стопа по п. 1, отличающаяся тем, что верхняя пластина выполнена с продольным разрезом со стороны носка, причем длина разреза составляет не менее 1/3 от длины верхней пластины.

6. Стопа по п. 1, отличающаяся тем, что амортизатор выполнен съемным.

7. Стопа по п. 1, отличающаяся тем, что амортизатор соединен с нижней поверхностью верхней пластины посредством клея.

8. Стопа по п. 1, отличающаяся тем, что нижняя пластина выполнена с продольным разрезом.

9. Стопа по п. 1, отличающаяся тем, что верхняя и нижняя амортизирующие профилированные пластины, соединены между собой, как минимум, двумя винтами, размещенными на расстоянии не менее 1/3 от носка верхней пластины.

10. Стопа по п. 1, отличающаяся тем, что узел крепления к голени связан с дополнительной изогнутой пластиной и наполнителем посредством резьбового соединения.

11. Стопа по п. 1, отличающаяся тем, что наполнитель на основе стеклянных микросфер заливают между верхней пластиной и дополнительной изогнутой пластиной.

12. Стопа по п. 1, отличающаяся тем, что дополнительная изогнутая пластина выполнена за единое целое с верхней пластиной.

13. Стопа по п. 12, отличающаяся тем, что дополнительная изогнутая пластина выполнена в виде отогнутой части расщепленной верхней пластины.

Описание

[1]

Изобретение относится к медицинской технике и может быть использовано для протезирования нижних конечностей.

[2]

Известна искусственная стопа, содержащая внешнюю оболочку, вкладыш из амортизирующей пластины с утолщением, на котором размещен узел крепления к голени в виде адаптера (RU 2327435 С1, 27.06.2006).

[3]

Недостатком известной стопы является выполнение вкладыша в виде одной амортизирующей пластины с утолщением, на котором размещен узел крепления к голени. Одна амортизирующая пластина затрудняет использование протеза инвалидам, ведущим активный образ жизни, и инвалидам, имеющим вес более 80 кг (2-4 степень активности по системе «MOBIS»).

[4]

Более близкой к предлагаемому изобретению можно считать искусственную стопу, содержащую внешнюю оболочку, вкладыш из амортизирующих профилированных пластин, соединенных внутри оболочки носочными частями, и узел крепления к голени, соединенный с верхней пластиной (RU 2085155 С1, 27.07.1997).

[5]

Выполнение вкладыша из амортизирующих профилированных пластин, соединенных внутри оболочки носочными частями, расширяет функциональные возможности протеза, но не обеспечивает ему физико-механических характеристик, необходимых для длительного пользования или, например, для занятий спортом.

[6]

Настоящее изобретение направлено на решение задачи по созданию искусственной стопы, не имеющей недостатков известных конструкций и в наибольшей степени подходящей для инвалидов, имеющих одностороннюю или двухстороннюю ампутацию бедра или голени всех уровней.

[7]

Техническим результатом изобретения является получение улучшенных биомеханических характеристик искусственной стопы, в которой каждый элемент конструкции связан с отдельной фазой движения.

[8]

Сущность изобретения выражается в совокупности существенных признаков, в которой искусственная стопа, содержащая узел крепления к голени и внешнюю оболочку с вкладышем из амортизирующих профилированных пластин, отличается от ближайшего аналога тем, что верхняя пластина содержит, как минимум, один промежуточный слой композитного материала и, как минимум, два силовых композитных облицовочных слоя, причем пяточная часть верхней пластины выполнена с дополнительной изогнутой пластиной, на которой размещен узел крепления к голени, при этом между верхней пластиной и дополнительной изогнутой пластиной расположен наполнитель на основе стеклянных микросфер, между верхней пластиной и дугообразной частью нижней пластины установлен амортизатор, под пяточным концом нижней пластины размещен Н-образный рассекатель, а под носочной части верхней пластины размещен эластичный компенсатор.

[9]

В частных случаях своего выполнения или использования искусственная стопа может содержать оболочку из пенополиуретана; облицовочные слои из пластика; как минимум, один промежуточный слой из материла на основе стеклянных микросфер; верхнюю пластину, выполненную с продольным разрезом со стороны носка, имеющим длину разреза, составляющую не менее 1/3 от длины верхней пластины; съемный амортизатор; амортизатор, соединенный с нижней поверхностью верхней пластины посредством клея; нижнюю пластину, выполненную с продольным разрезом; верхнюю и нижнюю амортизирующие профилированные пластины, соединенные между собой, как минимум, двумя винтами, размещенными на расстоянии не менее 1/3 от носка верхней пластины; узел крепления к голени связан с дополнительной изогнутой пластиной и наполнителем посредством резьбового соединения; наполнитель на основе стеклянных микросфер, который заливают между верхней пластиной и дополнительной изогнутой пластиной; дополнительную изогнутую пластину, выполненную за единое целое с верхней пластиной и дополнительную изогнутую пластину, выполненную в виде отогнутой части расщепленной верхней пластины.

[10]

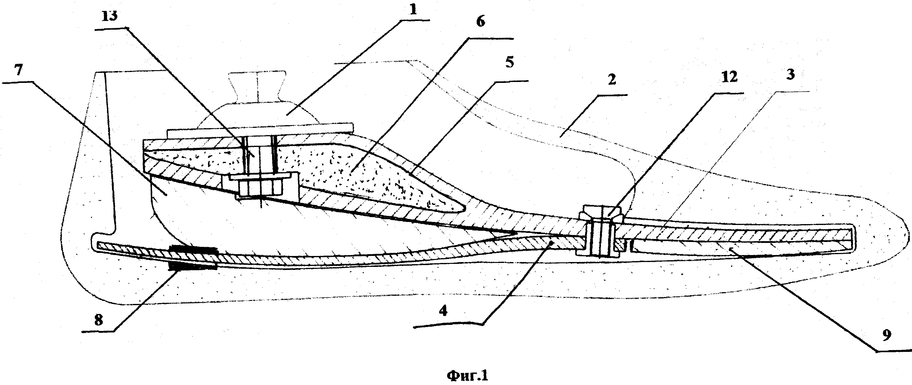
Сущность изобретения поясняется чертежами, где на фиг. 1 изображен продольный разрез искусственной стопы, на фиг. 2 показана верхняя амортизирующая профилированная пластина и на фиг. 3 показана нижняя амортизирующая профилированная пластина.

[11]

Искусственная стопа содержит узел 1 крепления к голени и внешнюю оболочку 2 с вкладышем из амортизирующих профилированных пластин: верхней пластины 3, нижней пластины 4 и дополнительной изогнутой пластины 5.

[12]

Верхняя пластина 3 содержит, как минимум, один промежуточный слой композитного материала и, как минимум, два силовых композитных облицовочных слоя. На пяточной части верхней пластины 3 расположена дополнительная изогнутая пластина 5, на которой размещен узел 1 крепления к голени. Между верхней пластиной 3 и дополнительной изогнутой пластиной 5 залит наполнитель 6 на основе стеклянных микросфер. Между верхней пластиной 3 и дугообразной частью нижней пластины 4 установлен амортизатор 7. Под пяточным концом нижней пластины 4 размещен Н-образный рассекатель 8. Под носочной частью верхней пластины 3 размещен эластичный компенсатор 9.

[13]

В частных случаях своего выполнения или использования искусственная стопа может содержать оболочку 2 из пенополиуретана; облицовочные слои из пластика; как минимум, один промежуточный слой из материла на основе стеклянных микросфер; верхнюю пластину 3, выполненную с продольным разрезом 10 со стороны носка, имеющим длину, составляющую не менее 1/3 от длины верхней пластины 3; амортизатор 7, выполненный съемным; эластичный компенсатор 9, соединенный с нижней поверхностью верхней пластины 3 посредством клея; нижнюю пластину 4, выполненную с продольным разрезом 11; верхнюю 3 и нижнюю 4 амортизирующие профилированные пластины, соединенные между собой, как минимум, двумя винтами 12, размещенными на расстоянии не менее 1/3 от носка верхней пластины 3; узел 1 крепления к голени, связанный резьбовым соединением 13 с дополнительной изогнутой пластиной 5 и с наполнителем 6, залитым между пластинами 3 и 5; дополнительную изогнутую пластину 5, выполненную за единое целое с верхней пластиной 3, например, в виде отогнутой части расщепленной верхней пластины 3.

[14]

При использовании искусственной стопы инвалид быстро адаптируется к новому протезу, т.к. продольный разрез 11 нижней пластины 4 позволяет компенсировать неровности и учитывать индивидуальный стиль ходьбы пациента. Нижняя пластина 4, которая может быть выполнена из стеклопластика или из углепластика, обеспечивает необходимую жесткость пяточному отделу стопы и плавный переход от переднего толчка до фазы опоры.

[15]

Радиусные изгибы верхней пластины 3, нижней пластины 4 и амортизатора 7 с поверхностями, выполненными под изгибы пластин 3 и 4, позволяют получить полноконтактный перенос центра масс без отрыва точки приложения силы обратного взаимодействия с поверхностью (нет ударов и провалов).

[16]

Соединение узла 1 крепления к голени с дополнительной изогнутой пластиной 5, расположенной на пяточной части верхней пластины 3, и с залитой массой наполнителя 6, обеспечивает плавность и снижение энергозатрат на вертикальное перемещение центра масс тела с пяточного отдела на носок и управление процессом движения, а также высокие удельные прочностные и жесткостные характеристики крепления узла 1 к голени.

[17]

Узел 1 крепления к голени может быть выполнен в виде стандартного адаптера.

[18]

Частично разрезанная верхняя пластина 3 (длина продольного разреза 10 составляет не менее 1/3 от ее длины) применяется для пациентов с высокой степенью активности и массой тела до 80 кг. Для инвалидов массой тела более 80 кг верхняя пластина 3 не имеет продольного разреза 10 или, при необходимости, изготавливается с разрезом 10 по согласованию с протезистами из-за индивидуальных особенностей инвалида.

[19]

Соединение верхней 3 и нижней 4 амортизирующих профилированных пластин, как минимум, двумя винтами, расположенными на расстоянии от носочной части пластины 3, составляющем до 1/3 от длины верхней пластины 3 повышает подкосоустойчивость.

[20]

Амортизатор 7 из эластичного материала имеет различную твердость и подбирается под пациента.

[21]

Как правило, амортизатор 7 соединяют с нижней поверхностью верхней пластины 3 посредством клея.

[22]

Съемный амортизатор 7 упрощает подбор протеза, т.к., при необходимости, излишне жесткий или мягкий амортизатор 7 может быть заменен на амортизатор 7, имеющий характеристики, подходящие для конкретного пациента.

[23]

Выполнение амортизатора 7 съемным позволяет использовать искусственную стопу без амортизатора 7. В этом случае искусственная стопа имеет мягкий глубокий промин пяточного отдела, что облегчает работу искусственной коленки при ампутации на вычленение бедра, а также использование искусственной стопы при вождении автомобиля.

[24]

Эластичный компенсатор 9, имеющий толщину, равную толщине нижней пластины 4 предотвращает истирание и промин полиуретановой оболочки 2 в носочной части стопы за счет выравнивания перепада толщин у места соединения верхней пластины 3 и нижней пластины 4.

Как компенсировать расходы
на инновационную разработку
Похожие патенты