патент
№ RU 2470624
МПК A61J3/00

УСТРОЙСТВО ДЛЯ ПОЛУЧЕНИЯ ЛИПОСОМАЛЬНЫХ ПРЕПАРАТОВ

Авторы:
Гребенников Евгений Петрович
Номер заявки
2011135324/15
Дата подачи заявки
25.08.2011
Опубликовано
27.12.2012
Страна
RU
Как управлять
интеллектуальной собственностью
Чертежи 
1
Реферат

Изобретение относится к области биотехнологии и может быть использовано в медицине, косметологии, ветеринарии, растениеводстве и т.п. Устройство для получения липосомальных препаратов содержит камеру смешения с корпусом из немагнитного материала, внутри которого размещены рабочие элементы из магнитного материала, суммарный объем которых составляет 0,5÷4% от объема камеры смешения, а снаружи корпуса установлена система электромагнитных катушек, подключенных к источнику переменного тока, при этом входные патрубки выполнены из немагнитного материала и введены в нижнюю часть корпуса камеры смешения, а выходной патрубок расположен в верхней части корпуса. К входным патрубкам камеры смешения подсоединены емкость с водной средой и емкость с липидным компонентом - раствором липидов в водорастворимом органическом растворителе. Заявленное изобретение обеспечивает получение липосомальных препаратов с высокой степенью гомогенизации и дисперсности. 8 з.п. ф-лы, 1 ил., 3 пр.

Формула изобретения

1. Устройство для получения липосомальных препаратов, включающее камеру смешения, к входным патрубкам которой подсоединены емкость с водной средой и емкость с липидным компонентом - раствором липидов в водорастворимом органическом растворителе, отличающееся тем, что камера смешения содержит корпус из немагнитного материала, внутри которого размещены рабочие элементы из магнитного материала, суммарный объем которых составляет 0,5÷4% от объема камеры смешения, а снаружи корпуса установлена система электромагнитных катушек, подключенных к источнику переменного тока, при этом входные патрубки выполнены из немагнитного материала и введены в нижнюю часть корпуса камеры смешения, а выходной патрубок расположен в верхней части корпуса.

2. Устройство по п.1, отличающееся тем, что рабочие элементы выполнены в виде объемных продольных тел, поперечный размер которых в 10÷70 раз меньше продольного размера, составляющего 1÷5 мм.

3. Устройство по п.2, отличающееся тем, что рабочие элементы выполнены в виде цилиндрических тел, диаметр которых в 10÷70 раз меньше их длины, составляющей 1÷5 мм.

4. Устройство по п.1, отличающееся тем, что рабочие элементы выполнены в виде шарообразных тел, диаметр которых составляет 100÷200 мкм.

5. Устройство по п.1, отличающееся тем, что между камерой смешения и емкостями с водной средой и с липидным компонентом - раствором липидов в водорастворимом органическом растворителе включены насосы.

6. Устройство по п.1, отличающееся тем, что на трубопроводе, соединяющем емкость с водной средой с входным патрубком камеры смешения, установлен теплообменник.

7. Устройство по п.1, отличающееся тем, что система электромагнитных катушек выполнена в виде трех симметрично расположенных электромагнитных катушек, подключенных к трехфазному источнику тока.

8. Устройство по п.1, отличающееся тем, что емкость с водной средой и/или емкость с липидным компонентом - раствором липидов в водорастворимом органическом растворителе дополнительно включает биологически активное вещество.

9. Устройство по п.7, отличающееся тем, что электромагнитные катушки имеют принудительное охлаждение.

Описание

[1]

Изобретение относится к области прикладной биотехнологии и может быть использовано в медицине, косметологии, ветеринарии, растениеводстве и т.п. для повышения эффективности приготовления липосомальных препаратов с высокой степенью гомогенизации и дисперсности.

[2]

Из уровня техники известно устройство для получения липосомальных препаратов, включающее камеру смешения - гомогенизатор, который выполнен с мешалкой (RU 2104691 С1, А61К 9/127, 1998). При простоте конструктивного выполнения данное устройство не обеспечивает высокой степени гомогенизации и дисперсности полученного продукта.

[3]

Известно также устройство для получения липосомальных препаратов, включающее емкости с водной средой и с липидным компонентом - раствором липидов в водорастворимом органическом растворителе, которые подсоединены к камере смешения с распыливающим соплом на выходе, при этом водная среда и/или липидный компонент - раствор липидов в водорастворимом органическом растворителе содержат биологически активное вещество (GB 2145107 A, A61J 3/00, 1985). В данном устройстве оба компонента подаются в камеру смешения из соответствующих емкостей под давлением, создаваемым в емкостях преимущественно пропеллантом (нейтральным газом) с последующим их распылением в аэрозольном потоке, что при сложности конструктивного выполнения не обеспечивает возможность получения устойчивой однородной структуры и длительного хранения полученных липосомальных препаратов.

[4]

Изобретение направлено на создание эффективного устройства для приготовления липосомальных препаратов с высокой степенью гомогенизации и дисперсности.

[5]

Решение поставленной задачи обеспечивается тем, что в устройстве для получения липосомальных препаратов, включающем камеру смешения, к входным патрубкам которой посредством трубопроводов подсоединены емкость с водной средой и емкость с липидным компонентом - раствором липидов в водорастворимом органическом растворителе, отличающееся тем, что камера смешения содержит корпус из немагнитного материала, внутри которого размещены рабочие элементы из магнитного материала, суммарный объем которых составляет 0,5÷4,0% от объема камеры смешения, а снаружи корпуса установлена система электромагнитных катушек, подключенных к источнику переменного тока, при этом входные патрубки выполнены из немагнитного материала и введены в нижнюю часть корпуса камеры смешения, а выходной патрубок расположен в верхней части корпуса.

[6]

При этом рабочие элементы выполнены в виде объемных продольных тел, поперечный размер которых в 10÷70 раз меньше продольного размера, составляющего 1÷5 мм.

[7]

Кроме того, рабочие элементы могут быть выполнены в виде цилиндрических тел, диаметр которых в 10÷70 раз меньше их длины, составляющего 1÷5 мм.

[8]

Кроме того, рабочие элементы могут быть выполнены в виде шарообразных тел, диаметр которых составляет 100÷200 мкм.

[9]

При этом на трубопроводах между камерой смешения и емкостями с водной средой и с липидным компонентом - раствором липидов в водорастворимом органическом растворителе включены насосы.

[10]

Причем на трубопроводе, соединяющим емкость с водной средой с входным патрубком камеры смешения, установлен теплообменник.

[11]

Кроме того, система электромагнитных катушек выполнена в виде трех симметрично расположенных электромагнитных катушек, подключенных к трехфазному источнику тока.

[12]

Как вариант, емкость с водной средой и/или емкость с липидным компонентом - раствором липидов в водорастворимом органическом растворителе дополнительно включает биологически активное вещество.

[13]

Предпочтительно электромагнитные катушки могут иметь принудительное охлаждение.

[14]

Наличие в камере смешения рабочих элементов из магнитного материала, суммарный объем которых составляет 0,5÷4,0% от объема камеры смешения, которые под действием переменного магнитного поля, создаваемого размещенной снаружи корпуса системой электромагнитных катушек, подключенных к источнику переменного тока, производят хаотическое движение и с образованием микровихрей, что обеспечивает при простоте конструктивного выполнения интенсивное перемешивание и высокую степень гомогенизации исходных компонентов и формирование мелкодисперсных липосом (со средним размером 100÷300 нм) с устойчивой однородной структурой.

[15]

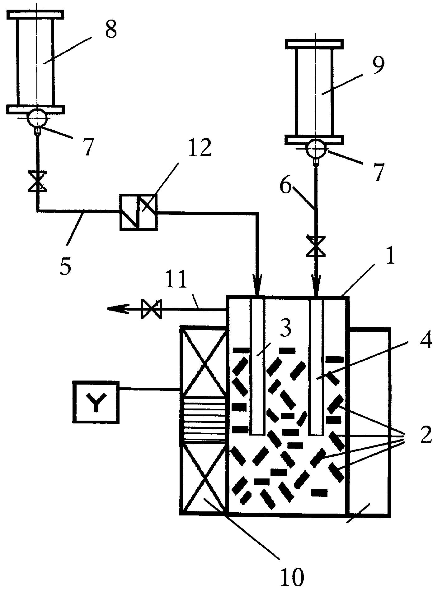
На чертеже схематично представлено устройство для получения липосомальных препаратов.

[16]

Устройство для получения липосомальных препаратов содержит камеру смешения с корпусом 1 из немагнитного материала, внутри которого размещены рабочие элементы 2 из магнитного материала, к входным патрубкам 3 и 4 которой посредством трубопроводов 5 и 6, снабженных насосами 7, подсоединены, соответственно, емкость 8 с водной средой, которая может содержать биологически активное вещество, и емкость 9 с липидным компонентом - раствором липидов в водорастворимом органическом растворителе, который также может содержать биологически активное вещество. Снаружи корпуса 1 установлена система электромагнитных катушек 10, подключенных к источнику переменного тока (на чертеже не показано), при этом входные патрубки 3 и 4 выполнены из немагнитного материала и введены в нижнюю часть корпуса 1 камеры смешения, а выходной патрубок 11 из немагнитного материала расположен в верхней части корпуса 1. Рабочие элементы 2 выполнены в виде объемных продольных (продолговатых) тел, предпочтительно цилиндрических, поперечный размер которых в 10÷70 раз меньше продольного размера, составляющего 1÷5 мм, суммарный объем рабочих элементов составляет 0,5÷4,0% от объема камеры смешения. Кроме того, рабочие элементы 2 могут быть выполнены в виде шарообразных тел, диаметр которых составляет 100÷200 мкм (на чертеже не показано).

[17]

На трубопроводе 5, соединяющим емкость 8 с водной средой с входным патрубком 3 камеры смешения, может быть установлен теплообменник 12.

[18]

Кроме того, система электромагнитных катушек 10 может быть выполнена в виде трех симметрично расположенных электромагнитных катушек, подключенных к трехфазному источнику тока, а электромагнитные катушки 10 могут иметь принудительное, например водяное, охлаждение (на чертеже не показано).

[19]

Заявленное устройство для получения липосомальных препаратов работает следующим образом.

[20]

Емкость 8 заполняют водной средой, например водным или водно-спиртовым раствором биологически активного вещества, а в емкость 9 заливают липидный компонент - раствор фосфолипидов (индивидуальные фосфолипиды или их смеси, полученные из растительного, животного или биотехнологического сырья) в органическом водорастворимом растворителе (этаноле, пропаноле, бензоле, гексане, метаноле, хлороформе, эфире и т.п.) с концентрацией не менее 0,5%, который может содержать биологически активное вещество, и подают упомянутые компоненты насосами 7 через входные патрубки 3 и 4 в нижнюю часть корпуса 1 камеры смешения. При подаче напряжения переменной частоты от трехфазного источника тока на соответствующие электромагнитные катушки (соленоиды) 10 в корпусе 1 рабочей камеры создается переменное магнитное поле, под действием которого рабочие элементы 2, например, в виде цилиндрических тел из металла длиной 3 мм и диаметром 50 мкм, объем которых составляет 1,5% от объема камеры смешения, начинают хаотическое движение с образованием микровихрей, приводящее к интенсивному перемешиванию исходных компонентов, обеспечивающему высокую степенью гомогенизации и формирование мелкодисперсных липосом (со средним размером 160÷200 нм) с устойчивой однородной структурой. Полученные липосомы, содержащие биологически активное вещество, выводят из камеры смешения по выходному патрубку 11 для последующего хранения и использования в качестве липосомальных препаратов.

[21]

Пример 1

[22]

Для приготовления липидного компонента фосфолипидный экстракт (например, «Липофолк») растворяют в органическом водорастворимом растворителе (например, этаноле - 70% этиловом спирте) до получения 10% концентрации фосфолипидов и смешивают в соотношении 1:1 с биологически активным веществом: спиртовой (на 70% этиловом спирте) настойкой календулы - препарата с антисептическими и противовоспалительными свойствами, приготовленной из сухих цветков в соотношении 1:10. Приготовленный липидный компонент заливают в емкость 9, а емкость 8 заполняют дистиллированной водой. В камере смешения в результате интенсивного перемешивания компонентов под действием хаотически двигающихся рабочих элементов 2 образуется водная суспензия липосом, содержащих биологически активное вещество - календулу (8÷10% вытяжки календулы), которая может быть использована для обработки, например, кожного покрова.

[23]

Пример 2

[24]

Липидный раствор приготовляют путем растворения фосфолипидного экстракта (например, «Липофолка») в органическом водорастворимом растворителе (например, этаноле - 70% этиловом спирте) до получения 10% концентрации фосфолипидов и заливают в емкость 9. Емкость 8 заполняют водной средой с биологически активным веществом, например, водно-спиртовой настойкой цветков арники горной на 40% растворе спирта (модуль экстракции 1:15). В камере смешения в результате интенсивного перемешивания компонентов под действием хаотически двигающихся рабочих элементов 2 образуется водная суспензия липосом, содержащая биологически активное вещество - экстракт арники горной, которая при нанесении на кожный покров улучшает местную микроциркуляцию и кровоснабжение, способствует лимфооттоку, поддерживает тонус вен, снимает отеки ног.

[25]

Пример 3

[26]

Для приготовления липидного компонента фосфолипидный экстракт (например, «Липофолк») растворяют в органическом водорастворимом растворителе (например, этаноле - 70% этиловом спирте) до получения 10% концентрации фосфолипидов и смешивают в соотношении 1:1 с биологически активным веществом: смесью спиртового экстракта арники (водно-спиртовой настойкой цветков арники горной на 40% растворе спирта) и ромашки (водно-спиртовой настойкой цветков ромашки лекарственной на 40% растворе спирта) в соотношении 1:1 с фосфолипидами (1:2). Полученный липидный компонент заливают в емкость 9. Емкость 8 заполняют водной средой (водным раствором биологически активного вещества), содержащей смесь в соотношении 1:1 водной вытяжкой цветков ромашки лекарственной 1:20 на водяной бане и водной вытяжкой цветков арники горной 1:20 на водяной бане). В камере смешения в результате интенсивного перемешивания компонентов под действием хаотически двигающихся рабочих элементов 2 образуется водная суспензия липосом, содержащая смесь биологически активных веществ - ромашки и арники, которая при обработке кожного покрова оказывает стимулирующее воздействие на процессы регенерации кожи.

Как компенсировать расходы
на инновационную разработку
Похожие патенты