патент
№ RU 2467127
МПК E02D5/52

СТЫКОВОЕ СОЕДИНЕНИЕ СЕКЦИЙ ТРУБ СВАИ

Авторы:
Петрухин Валерий Петрович Еремин Валерий Яковлевич Шулятьев Олег Александрович
Все (4)
Номер заявки
2010153641/03
Дата подачи заявки
28.12.2010
Опубликовано
20.11.2012
Страна
RU
Как управлять
интеллектуальной собственностью
Чертежи 
10
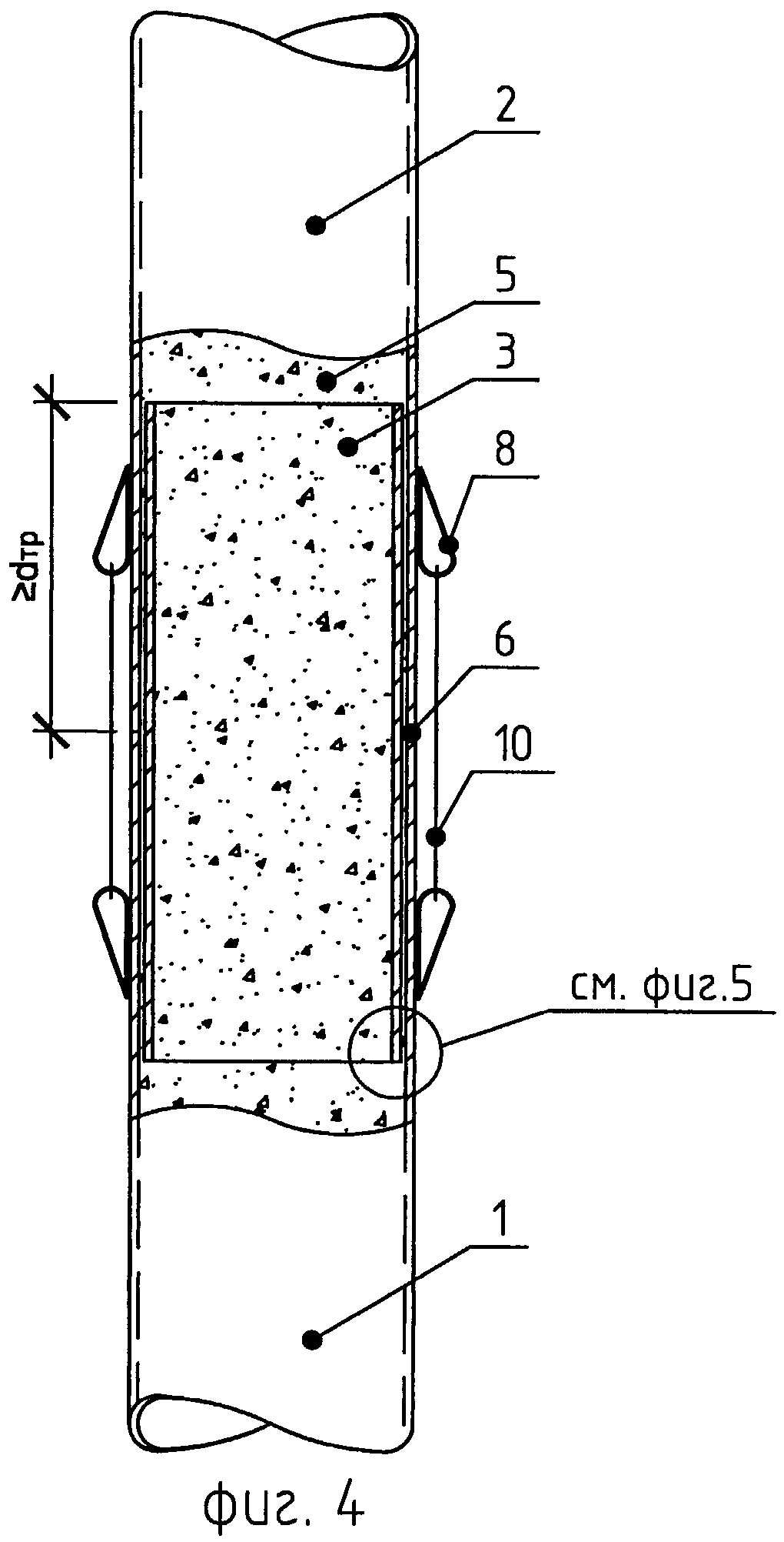
Реферат

Изобретение относится к области геотехнического строительства, а именно к изготовлению свай, воспринимающих вертикальные и горизонтальные силы и моменты, действующие на сваю, боковое давление грунта при их использовании для крепления котлованов и откосов горных выработок, а также для устройства задавливаемых свай, когда невозможно для армирования сваи использовать целиковую трубу на всю длину сваи. Наибольшее преимущество заявляемое изобретение имеет при устройстве свай в условиях, ограничивающих применение труб на всю длину сваи, например при устройстве свай усиления фундаментов зданий из подвальных помещений или под эстакадами и в других условиях. Стыковое соединение секций труб сваи включает размещенный в зоне стыка нижней и верхней трубы дополнительный отрезок трубы меньшего и/или большего диаметра, чем соответственно внутренний или наружный диаметры секций труб сваи. Все пространство, не занятое трубами, заполнено дисперсным твердеющим материалом. При использовании дополнительного отрезка трубы меньшего диаметра он размещен одним концом на глубину не менее одного его диаметра внутри нижней части верхней трубы и зафиксирован в ней, а другим концом упомянутый отрезок трубы свободно расположен внутри трубы нижней секции на глубину не менее одного его, предпочтительно ее, диаметра. Технический результат состоит в повышении несущей способности сваи за счет уменьшения величины отклонения ее продольной оси от проектного положения, а также повышении качества, снижении трудоемкости и материалоемкости. 6 з.п. ф-лы, 10 ил.

Формула изобретения

1. Стыковое соединение секций труб сваи, включающее размещенный в зоне стыка нижней и верхней трубы дополнительный отрезок трубы меньшего и/или большего диаметра, чем соответственно внутренний или наружный диаметры секций труб сваи, а все пространство, не занятое трубами, заполнено дисперсным твердеющим материалом, причем при использовании дополнительного отрезка трубы меньшего диаметра он размещен одним концом на глубину не менее одного его диаметра внутри нижней части верхней трубы и зафиксирован в ней, а другим концом упомянутый отрезок трубы свободно расположен внутри трубы нижней секции на глубину, не менее одного его, предпочтительно ее, диаметра.

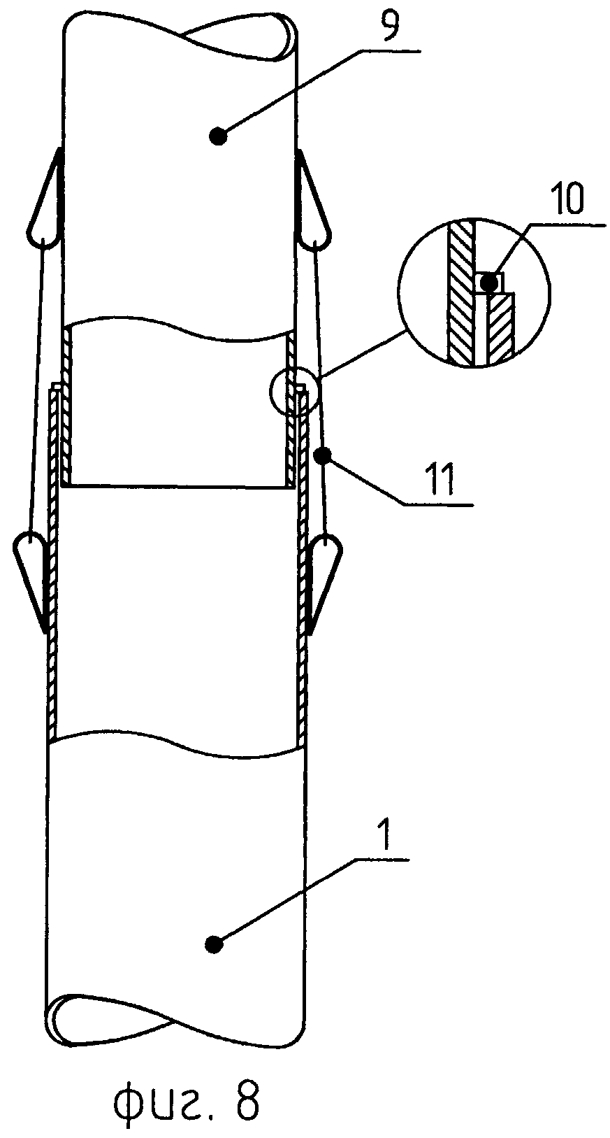
2. Стыковое соединение секций труб сваи по п.1, отличающееся тем, что отрезок трубы меньшего диаметра заходит в полость секции трубы до половины ее длины.

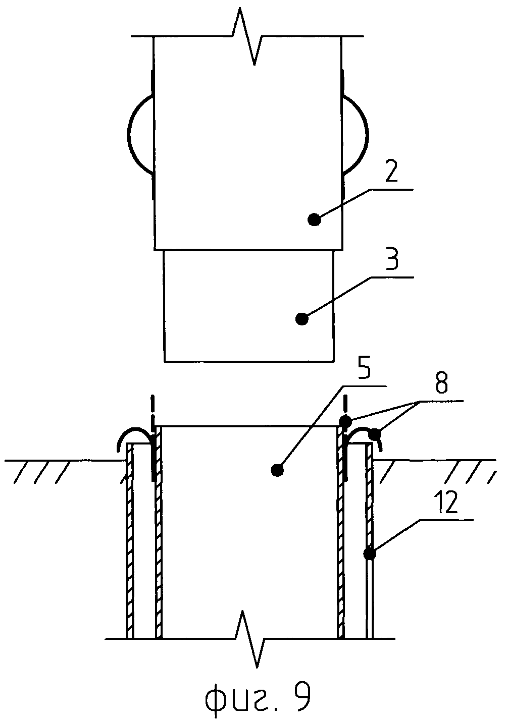
3. Стыковое соединение секций труб сваи по п.1, отличающееся тем, что торцы секций труб сваи в зоне стыка контактируют между собой торцевыми поверхностями по всему их периметру или с образованием каналов для прохода дисперсного твердеющего материала.

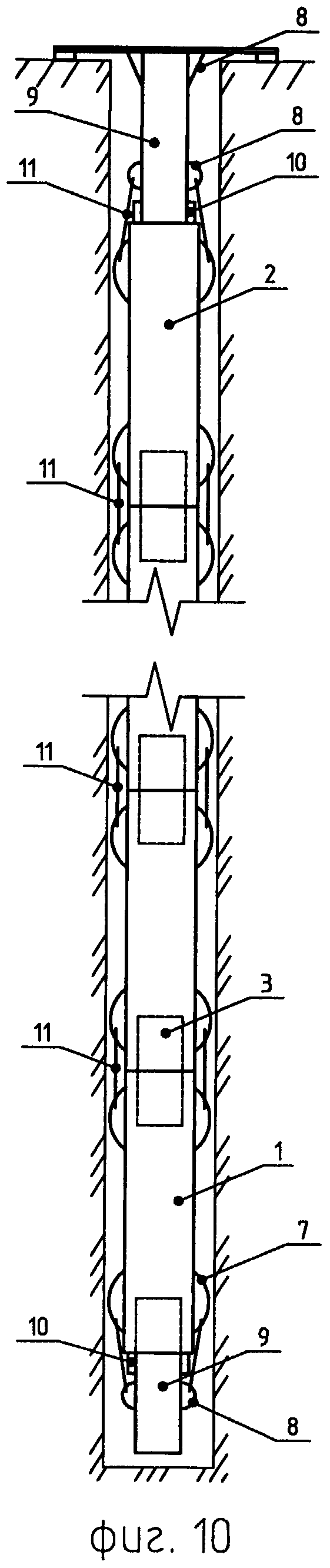
4. Стыковое соединение секций труб сваи по п.1 или 2, отличающееся тем, что каждая секция трубы снабжена центраторами, обеспечивающими защитный слой бетона или временное вывешивание колонны труб.

5. Стыковое соединение секций труб сваи по п.1 или 2, отличающееся тем, что каждая секция трубы снабжена крючками или петлями для временного вывешивания при погружении в скважину.

6. Стыковое соединение секций труб сваи, по п.1 или 2, отличающееся тем, что стыкуемые секции труб выполнены различного диаметра и/или с различной толщиной стенки.

7. Стыковое соединение секций труб сваи, по п.1 или 2, отличающееся тем, что внутрь предпоследней секции трубы перед погружением последней, самой верхней секции, размещаемой в теле ростверка, установлен отрезок трубы, входящий в последнюю секцию.

Описание

[1]

Изобретение относится к области геотехнического строительства, а именно к изготовлению свай, воспринимающих вертикальные и горизонтальные силы и моменты, действующие на сваю, боковое давление грунта при их использовании для крепления котлованов и откосов горных выработок, а также для устройства задавливаемых свай, когда невозможно для армирования сваи использовать цельную трубу на всю длину сваи. Наибольшее преимущество заявляемое изобретение имеет при устройстве свай в условиях, ограничивающих применение труб на всю длину сваи, например при устройстве свай усиления фундаментов зданий из подвальных помещений или под эстакадами и в т.п. условиях.

[2]

Известен способ армирования буровых свай путем погружения последовательно стыкуемых элементов труб с открытым верхним торцом. На концах труб с наружной поверхности зафиксированы элементы (накладки), обеспечивающие соосность отдельных секций и прочное соединение их между собой, а также элементы, центрирующие трубу при погружении ее в скважину. Секции труб соединяются между собой путем электросварки, как секций труб, так и стыковочных элементов (накладок), одновременно обеспечивающих соосность отдельных секций [см. «Реставрация, реконструкция с частичным новым строительством и приспособлением к современным функциональным и инженерно-техническим требованиям комплекса зданий ФГОУ ВПО (Университет) «Московской государственной консерватории им. П.И.Чайковского», Буроинъекционные сваи БИ-1…БИ-2, лист 25; Буроинъекционные сваи БИ-3…БИ-6, лист 26, 45/35-61-09/СП., 2008 г].

[3]

Однако трудоемкость такого стыкового соединения труб армирующих сваи весьма велика. Невозможно исключить неравномерные температурные деформации в каждом узле стыка отдельных секций, соединяемых наплавкой большого объема металла электросваркой, в результате труба, погружаемая в скважину, не имеет прямолинейности. Искривление в каждом узле стыкового соединения жестко зафиксировано электросваркой, в результате армирующая труба представляет ломаную линию, изменяющую направление в каждом стыке. При бурении скважин буровой инструмент всегда отклоняется в сторону, где встречается грунт, легче поддающийся разрушению при бурении. За счет «рыскания» бурового инструмента скважина получает отклонения от прямой линии. Искривления скважины не совпадают с искривлениями армирующей трубы. При погружении в скважину непрямолинейной трубы защитный слой бетона в отдельных местах может выклиниваться до нуля, несмотря на наличие центраторов, которые в этом случае становятся практически бесполезными. В местах, где отсутствует защитный слой бетона или его величина меньше требуемой, происходит интенсивное окисление армирующей трубы. В результате невозможно гарантировать требуемую долговечность армирующей трубы. Погружение состыкованных труб, раскаленных до высокой температуры в зоне стыка секций, недопустимо до снижения температуры в зоне сварки до уровня, при котором исключается разрушение наплавленного металла и материала труб, неравномерно разогретых в процессе электросварки. При армировании сваи трубой, составленной из отдельных секций, соединенных электросваркой, даже после остывания вокруг мест сварки сохраняются локальные зоны повышенной температуры. В этих зонах происходит ускоренная гидратация цемента, образуются бетонные пробки, препятствующие погружению трубы в скважину, заполненную бетонной смесью. Весьма часто образовавшиеся бетонные пробки не позволяют погрузить составную трубу, армирующую сваю, на проектную глубину. Несмотря на высокую трудоемкость электросварного стыкового соединения труб, армирующих сваю, весьма сложно обеспечить прочность стыка, равную прочности трубы без стыка, также заполненной бетонной смесью, при действии горизонтальной нагрузки, например, от бокового давления грунта в свае ограждения борта котлована. При необходимости погрузить в скважину на большую глубину армирующую трубу, состыкованную из многих секций, возникает проблема схватывания бетонной смеси. Даже при введении добавок замедлителей схватывания цемента качественно выполнить более одного стыка за время до окончания схватывания цемента практически невозможно.

[4]

Известно стыковое соединение свай отрезком трубы, охватывающим с зазором нижнюю и верхнюю секции соединяемой сваи и заполненным в его полости и в зазорах между секциями сваи твердеющим дисперсным материалом (патент СССР №9228, E02D 5/52, 1929 г.).

[5]

Наиболее близким из известных является стыковое соединение секций труб сваи, выполненное в виде размещенных с зазорами по его внутреннему и внешнему периметру отрезков труб, соединенных между собой, причем зазор между отрезками труб заполнен твердеющим дисперсным материалом (патент РФ №2098555 C1, E02D 5/52, 1997 г.).

[6]

Известные технические решения не обеспечивают высокого качества и оптимальной несущей способности сваи, имеют высокую стоимость, трудоемкость, расход энергии и времени на выполнение равнопрочного соединения секций труб, армирующих сваю.

[7]

Задачей настоящего изобретения является устранение указанных выше недостатков - повышение несущей способности сваи за счет уменьшения величины отклонения ее продольной оси от проектного положения, а также повышение качества, снижение трудоемкости, расхода энергии и времени на стыковку секций труб между собой при их установке в скважину при минимально возможном расходе ресурсов и максимальном использовании свойств материалов.

[8]

Поставленная задача достигается следующим образом.

[9]

Согласно настоящему техническому решению стыковое соединение секций труб сваи (в процессе монтажа выполняется нежестким, а после завершения монтажа, за счет набора прочности твердеющим материалом, становится жестким), включающее, по крайней мере, две секции - нижнюю трубу (нижнюю секцию) и верхнюю трубу (верхнюю секцию), дополнительно в зоне стыка снабжено короткой трубой (отрезком трубы) меньшего диаметра, которая установлена (введена) одним концом внутрь нижней части верхней трубы и соединена с ней, а другим концом труба меньшего диаметра установлена (введена) внутрь трубы нижней секции. Все свободное пространство заполнено мелкодисперсным твердеющим материалом до верхнего среза верхней трубы. При этом отрезок трубы меньшего диаметра введен вовнутрь нижней части верхней трубы на глубину не менее одного диаметра трубы и закреплен там, а другим концом труба меньшего диаметра свободно расположена внутри трубы нижней секции на глубину не менее одного диаметра трубы. Торцы труб большего диаметра, нижней секции и верхней секции, в зоне стыка контактируют между собой торцевыми поверхностями. При выборе сечений труб следует руководствоваться следующим правилом: зазор между внешней стенкой трубы меньшего диаметра и внутренней стенкой трубы нижней секции заполнен мелкозернистым твердеющим материалом, содержащим зерна, максимальный размер которых меньше величины зазора. Другими словами, внешний радиус внутренней трубы меньше внутреннего радиуса внешней трубы на dmax, где dmax - максимальный размер частиц заполнителя в составе твердеющего материала. Каждая секция трубы, погружаемой в скважину, снабжена центраторами, для обеспечения требуемого защитного слоя бетона. Каждая секция трубы снабжена крючками или подобными элементами для временного вывешивания колонны труб, погруженных в скважину, допускается, чтобы центраторы выполняли функцию элементов для временного вывешивания колонны труб, погруженных в скважину и наоборот, элементы для временного вывешивания колонны труб выполняли функцию центраторов. После установки трубы меньшего диаметра верхней секции в трубу нижней секции до контакта торцевых кромок стыкуемых труб стыкуемые трубы соединяются гибкими связями, например вязальной проволокой, электросваркой или специальными приспособлениями, временно удерживающими погружаемую в скважину колонну труб в сборе, пока затвердевающий материал не набрал прочность. После затвердевания материала, заполняющего скважину и полость труб, колонна труб сохраняет то положение, которое трубы заняли при завершении погружения в скважину. В процессе погружения колонны труб, армирующих сваю, бетонная смесь сохраняет реологические свойства, в том числе подвижность (текучее состояние), поэтому каждое стыковое соединение имеет возможность ограниченного поворота до соприкосновения внешней стенки внутренней трубы (трубы меньшего диаметра) с внутренней стенкой внешней нижней трубы. При этом труба в процессе погружения в скважину будет стремиться повторить форму скважины, а после набора прочности твердеющим материалом (бетоном) армирующая составная труба приобретает необходимую жесткость.

[10]

По длине сваи диаметр армирующих труб и/или толщина стенки могут изменяться в соответствии с действующими на сваю нагрузками, в том числе моментными. При погружении первой нижней секции первой может устанавливаться труба, входящая внутрь трубы следующей секции, для чего одна из этих труб снабжена упорами, ограничивающими максимальную глубину стыкового сопряжения труб двумя диаметрами трубы, а также приспособлениями, соединяющими и удерживающими нижнюю трубу от выскальзывания из верхней трубы. Функцию названных упоров могут выполнять центраторы, установленные в верхней части нижней трубы меньшего диаметра. Центраторы нижней трубы могут быть связаны (соединены) с центраторами выше устанавливаемой трубы. Решается это соединение, например, путем соединения вязальной проволокой центраторов нижней и верхней секций труб. При погружении последней самой верхней секции трубы может устанавливаться труба, входящая внутрь трубы предпоследней секции, для чего такая труба снабжена упорами, удерживающими верхнюю трубу от погружения в нижнюю более чем на два диаметра.

[11]

При погружении составных труб в грунт вдавливанием узел стыка выполняется аналогично узлу стыка труб, армирующих сваю. Полость погруженных в грунт труб перед установкой следующей секции заполняется мелкозернистой бетонной смесью. При этом центраторы и элементы вывешивания не требуются. Труба меньшего диаметра может заходить в полость трубы большего диаметра до половины ее длины. Причем труба может возвышаться над поверхностью земли в начале формирования сваи, а затем, по мере формирования сваи, погружаться в грунт.

[12]

Таким образом, обеспечивается максимально возможная величина защитного слоя бетона, и одновременно повышается несущая способность при возможном отклонении продольной оси сваи. При бурении скважин буровой инструмент всегда отклоняется в сторону, где встречается грунт, легче поддающийся разрушению при бурении. За счет «рыскания» бурового инструмента скважина получает отклонения от прямой линии. Погружение в непрямолинейную скважину трубы, составленной из коротких прямолинейных труб, имеющих некое подобие шарнира в узле стыка, позволяет отклоняться каждой секции труб на некоторый угол до затвердевания бетонной смеси, т.е. в процессе погружения. В этом случае благодаря наличию центраторов каждая секция, повторяя отклонения скважины, занимает оптимальное положение из условий обеспечения максимального защитного слоя бетона. Меняя сечения труб по длине сваи, в соответствии с действующими на сваю в конкретном сечении нагрузками, минимизируется расход металлопроката.

[13]

Как показали экспериментальные исследования при проведении сравнительных испытаний сплошной трубы (без стыка), заполненной бетоном, и состыкованных труб по заявляемому техническому решению (с заполнением бетоном), разрушение образцов состыкованных труб наступало при больших деформациях и больших силовых воздействиях. Бетон, находящийся между внешней поверхностью стенки трубы меньшего диаметра и внутренней поверхностью стенки трубы большего диаметра, работает в условиях трехосного сжатия. Деформации бетона, находящегося в «обойме», ограничены, поэтому для разрушения стыкового соединения требуются нагрузки с более высокими значениями. Таким образом, полость между стенками труб как бы заполнена сверхпрочным бетоном, работающим в замкнутом пространстве. В данном случае бетон обеспечивает совместную работу стыкуемых труб как единой неразрезной трубы.

[14]

Достигается это тем, что стыковое соединение секций труб сваи включает размещенный в зоне стыка нижней и верхней трубы дополнительный отрезок трубы меньшего и/или большего диаметра, чем соответственно внутренний или наружный диаметры секций труб сваи, а все пространство, не занятое трубами, заполнено дисперсным твердеющим материалом, причем при использовании дополнительного отрезка трубы меньшего диаметра он размещен одним концом на глубину не менее одного его диаметра внутри нижней части верхней трубы и зафиксирован в ней, а другой конец, упомянутый отрезок трубы, свободно расположен внутри трубы нижней секции на глубину не менее одного его, предпочтительно ее, диаметра. При этом отрезок трубы меньшего диаметра может заходить в полость секции трубы до половины ее длины. Торцы секций труб сваи в зоне стыка могут контактировать между собой торцевыми поверхностями по всему их периметру или с образованием каналов для прохода дисперсного твердеющего материала. Каждая секция трубы снабжена центраторами, обеспечивающими выполнение защитного слоя бетона или временное вывешивание колонны труб. Также каждая секция трубы может быть снабжена крючками или петлями для временного вывешивания при погружении в скважину. При этом стыкуемые секции труб могут быть выполнены различного диаметра и/или с различной толщиной стенки. Внутрь предпоследней секции трубы перед погружением последней, самой верхней секции, размещаемой в теле ростверка, установлен отрезок трубы, входящий в последнюю секцию.

[15]

Изобретение поясняется чертежами.

[16]

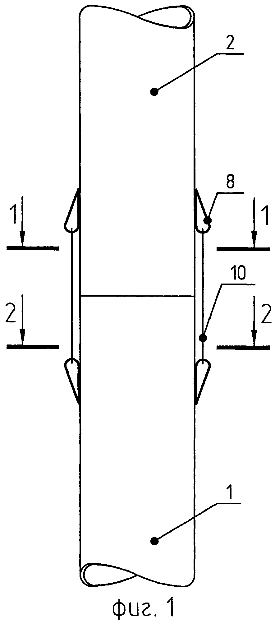
На фиг.1 показан стык двух секций, нижней 1 и верхней 2.

[17]

На фиг.2 показано сечение 1-1 на фиг.1.

[18]

На фиг.3 показано сечение 2-2 на фиг 1.

[19]

На фиг.4 показано стыковое соединение двух секций (нижней 1 и верхней 2) с вырезом по сечению 3-3.

[20]

На фиг.5 показан фрагмент узла А на фиг.4.

[21]

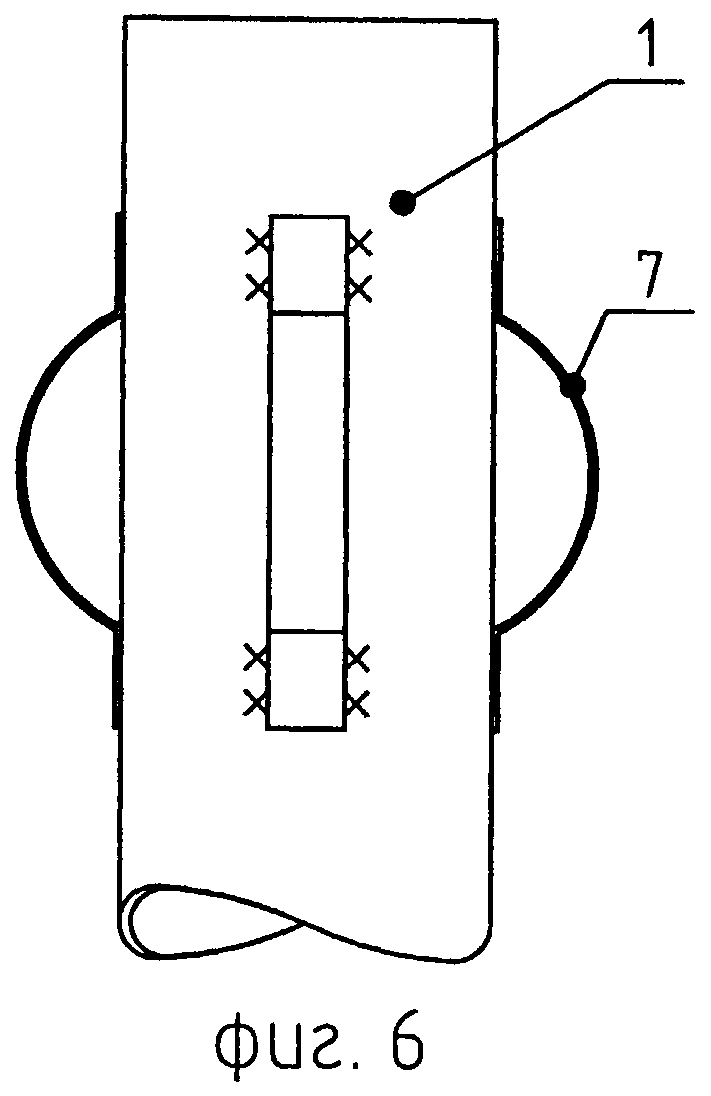
На фиг.6 показан верхний участок нижней секции с центраторами.

[22]

На фиг.7 показан верхний участок нижней секции с крючками для соединения секций.

[23]

На фиг.8 показано стыковое соединение двух секций, нижней 1 и самой верхней, меньшего диаметра, с вырезом по сечению 3-3.

[24]

На фиг.9 показано стыковое соединение двух секций, нижней 1 и верхней 2, в момент их соединения.

[25]

На фиг.10 показано армирование сваи отдельными секциями.

[26]

При этом на чертежах обозначено: нижняя секция 1, верхняя секция 2, соединительная труба 3, радиус наружной поверхности которой меньше радиуса внутренней поверхности секций 1 и 2, так что между внешней поверхностью трубы 3 и внутренними поверхностями секций 1 и 2 обеспечивается зазор, размер которого соответствует удвоенному размеру наиболее крупных частиц в составе твердеющего материала, вставленная в верхнюю секцию 2 и закрепленная в ней, а затем погруженная в нижнюю секцию 1, заполненную твердеющим материалом (бетонной смесью) 5. На концах секций, обращенных к зоне стыка, прикреплены центраторы 7 или крючки 8. При погружении самая нижняя труба 9 и самая верхняя труба 9 имеют меньший диаметр, чем остальные секции, а для исключения проскальзывания труб 9 больше определенной величины на поверхности труб 9 закреплены упоры 10. Для соединения секций между собой применяются соединительные элементы 11. До погружения в скважину армирующих элементов в устье скважины устанавливается инвентарная труба-кондуктор 12. При монтаже секций армирующих элементов набор уже погруженных в скважину секций вывешивается на центраторах 7 или крючках 8.

[27]

Таким образом, впервые предоставляется возможность изготавливать буровые сваи, армированные составными трубами, эффективно работающими на горизонтальные нагрузки, например на боковое давление грунта при креплении борта котлована из подвала здания.

[28]

Процесс устройства свай, армированных составными трубами, может осуществляться следующим образом: в скважину, пробуренную в грунте из помещения, ограниченного по высоте, заполненную пластичной бетонной смесью, погружают нижнюю секцию трубы, армирующей сваю до верхнего среза, нижняя секция вывешивается, в нее вставляется соединительная труба последующей секции. Секции соединяются с помощью соединительных элементов. Также погружаются все армирующие элементы.

Как компенсировать расходы
на инновационную разработку
Похожие патенты