патент
№ RU 2695911
МПК E21B7/08

Способ строительства многоствольной скважины и направляющее устройство для установки обсадной колонны в её дополнительном стволе

Авторы:
Ахмадишин Фарит Фоатович
Номер заявки
2018135817
Дата подачи заявки
09.10.2018
Опубликовано
29.07.2019
Страна
RU
Как управлять
интеллектуальной собственностью
Чертежи 
3
Реферат

Группа изобретений относится к нефтегазовой промышленности и может быть использовано для забуривания и крепления дополнительных стволов многоствольной скважины из ранее пробуренных обсаженных скважин. Способ строительства многоствольной скважины включает вскрытие окна в обсадной колонне первичного ствола скважины и бурение нового дополнительного ствола до проектной глубины с использованием извлекаемого клина-отклонителя, спуск хвостовика с обсадными трубами на устье нового дополнительного ствола скважины с последующей герметизацией дополнительного ствола скважины, обработку верхней части хвостовика для получения доступа в нижнюю часть первичного ствола, извлечение клина-отклонителя, причем внутренний диаметр обсадной колонны первичного ствола до спуска клина-отклонителя в зоне расположения окна и выше расширяют, клин-отклонитель с якорем извлекают до спуска хвостовика, который изготавливают в виде продольно-гофрированной трубы с увеличенным периметром в зоне расширения внутреннего диаметра обсадной колонны первичного ствола. Хвостовик, спускаемый на колонне труб, размещают в дополнительном стволе при помощи прикрепленного снизу направляющего башмака. Выправление гофрированных участков хвостовика осуществляют избыточным давлением с фиксацией развальцовыванием в дополнительном стволе. Обработку верхней части хвостовика осуществляют в два этапа, на первом из которых производят вырезание направляющего окна в хвостовике для создания сообщения с первичным стволом, на втором - развальцовку верхней части хвостовика до прижатия его к расширению заподлицо к стенкам первичного ствола. Направляющий башмак вставлен в нижнюю часть хвостовика с возможностью герметичного продольного перемещения. Хвостовик перед спуском оснащают изнутри с возможностью совместного вращения полой технологической колонной, сообщенной боковыми каналами с герметичной полостью хвостовика и соединенной снизу с направляющим башмаком, а сверху - с колонной труб. Ниже боковых каналов в технологической колонне размещают седло под бросовый с устья элемент, после сброса которого в скважину осуществляют выправление гофрированных участков хвостовика избыточным давлением с последующим отсоединением и извлечением направляющего башмака на поверхность. Обеспечивается повышение надежности способа и устройства, повышение производительности скважины и упрощение процесса изоляции зон осложнений, сокращение аварийности и сроков строительства многоствольных скважин. 2 н.п. ф-лы, 4 ил.

Формула изобретения

1. Способ строительства многоствольной скважины, включающий вскрытие окна в обсадной колонне первичного ствола скважины и бурение нового дополнительного ствола до проектной глубины с использованием извлекаемого клина-отклонителя, спуск хвостовика с обсадными трубами на устье нового дополнительного ствола скважины с последующей герметизацией дополнительного ствола скважины, обработку верхней части хвостовика для получения доступа в нижнюю часть первичного ствола, извлечение клина-отклонителя, причем внутренний диаметр обсадной колонны первичного ствола до спуска клина-отклонителя в зоне расположения окна и выше расширяют, клин-отклонитель с якорем извлекают до спуска хвостовика, который изготавливают в виде продольно-гофрированной трубы с увеличенным периметром в зоне расширения внутреннего диаметра обсадной колонны первичного ствола, хвостовик, спускаемый на колонне труб, размещают в дополнительном стволе при помощи прикрепленного снизу направляющего устройства, выправление гофрированных участков хвостовика осуществляют избыточным давлением с фиксацией развальцовыванием в дополнительном стволе, обработку верхней части хвостовика осуществляют в два этапа, на первом из которых производят вырезание направляющего окна в хвостовике для создания сообщения с первичным стволом, на втором - развальцовку верхней части хвостовика до прижатия его к расширению заподлицо к стенкам первичного ствола, отличающийся тем, что направляющий башмак вставлен в нижнюю часть хвостовика с возможностью герметичного продольного перемещения, хвостовик перед спуском оснащают изнутри с возможностью совместного вращения полой технологической колонной, сообщенной боковыми каналами с герметичной полостью хвостовика и соединенной снизу с направляющим башмаком, а сверху - с колонной труб, при этом ниже боковых каналов в технологической колонне размещают седло под бросовый с устья элемент, после сброса которого в скважину осуществляют выправление гофрированных участков хвостовика избыточным давлением с последующим отсоединением и извлечением направляющего башмака на поверхность.

2. Направляющее устройство для установки обсадной колонны в дополнительном стволе скважины, включающее направляющий башмак с цилиндрической частью и направляющей частью, оснащенной косым срезом, боковое отверстие с соплом для прохода жидкости со стороны среза, расположенные выше косого среза седло и боковые каналы, отличающееся тем, что цилиндрическая часть башмака герметично вставлена в нижнюю часть продольно-гофрированного хвостовика с возможностью продольного перемещения и жестко соединена внутри хвостовика с технологической колонной, направляющая часть оснащена продольным отверстием меньшего диаметра, чем диаметр бокового отверстия, седло расположено в нижней части технологической колонны под боковыми каналами, при этом технологическая колонна сверху снабжена переводником, соединенным герметично с верхней частью хвостовика с возможностью отсоединения после расширения, переводник снизу оснащен выступами, выполненными с возможностью взаимодействия для совместного вращения с продольно-гофрированной трубой хвостовика.

Описание

[1]

Изобретение относится к нефтегазовой промышленности и может быть использовано для забуривания и крепления дополнительных стволов многоствольной скважины из ранее пробуренных обсаженных скважин.

[2]

Известны способ обеспечения связи стволов бокового ответвления (дополнительного ствола) с обсаженным основным стволом скважины и устройство для его осуществления (пат. RU №2239041, МПК Е21В 7/08, 47/12 опубл. в бюл. №30 от 27.10.2004). Способ включает установку извлекаемого шаблона для бокового ответвления в основном стволе напротив окна, причем шаблон оборудован средством направления соединителя в боковой ствол и соединения их между собой элементами зацепления «гребень - канавка», а соединителя с хвостовиком - «конус - конус», при необходимости эти соединения могут комплектоваться уплотнителями для создания герметичного соединения обсадных колонн.

[3]

Устройство для обеспечения связи стволов боковых ответвлений, имеющих установленные хвостовики, с обсаженным основным стволом скважины в подземном пласте, имеющим по меньшей мере одно окно, через которое проходит ствол бокового ответвления, при этом устройство содержит шаблон для бокового ответвления, приспособленный для позиционирования и ориентирования внутри обсадной колонны основного ствола скважины с целью совмещения с окном и стволом бокового ответвления, причем шаблон имеет направляющее средство и первое средство взаимной блокировки и соединитель для бокового ответвления, приспособленный для вхождения во взаимодействие с направляющим средством и перемещения в продольном направлении относительно шаблона в положение соединения, в котором часть соединителя для бокового ответвления размещается внутри ствола бокового ответвления, причем соединитель включает второе средство взаимной блокировки для сопряжения с первым средством взаимной блокировки для образования узла, обеспечивающего связь с боковым ответвлением, создающего путь потока продукции, при этом первое средство взаимной блокировки шаблона и второе средство взаимной блокировки соединителя выполнены и расположены по существу соответственно продольно вдоль тела шаблона для бокового ответвления и продольно вдоль тела соединителя для бокового ответвления.

[4]

Недостатками данных способа и устройства являются:

[5]

- сложность конструкции оборудования, требующей предварительной сборки и разборки на устье скважины для проверки собираемости и, как следствие, высококвалифицированный обслуживающий персонал и высокий уровень культуры производства, что ведет к удорожанию работ;

[6]

- значительное уменьшение внутренних диаметров основного и дополнительного стволов после установки шаблона и соединителя, что ограничивает применение способа и устройства в скважинах малого диаметра;

[7]

- невозможность применения в существующих скважинах, так как в эксплуатационных колоннах нет прорезей для установки и позиционирования шаблона;

[8]

- сложность применения и высокая стоимость используемых конструктивных элементов, что приводит к высоким материальным затратам;

[9]

- необходимость изолирования всех зон осложнений перед спуском хвостовика в дополнительный ствол, так как недохождение хвостовика до забоя приведет к аварийной ситуации с невозможностью создания герметичного соединения стволов, ликвидация которой увеличит сроки и стоимость строительства многоствольной скважины;

[10]

- при необходимости углубления дополнительного ствола требуется дополнительный спуск инструмента для разбуривания башмака хвостовика. Дальнейшее бурение будет осуществляться долотом меньшего диаметра, что уменьшит добывные возможности скважины и увеличит ее стоимость.

[11]

Известен способ строительства многозабойных скважин (пат. RU №2279522, МПК Е21В 7/08, опубл. в бюл. №19 от 10.07.2006), включающий вырезание окна в обсадной колонне первичного ствола скважины и бурение нового дополнительного ствола до проектной глубины с использованием клина-отклонителя, оборудованного шлицами в нижней части и посадочной площадкой, который опирается на извлекаемый посадочный узел со шлицами, опирающейся на шлицы обсадной колонны первичного ствола скважины. После бурения дополнительного ствола клин-отклонитель извлекают из скважины и спускают хвостовик с обсадными трубами и узлом для герметизации устья при помощи вспомогательного клина. Хвостовик цементируют, а вспомогательный патрубок с манжетами в верхней части разбуривают долотом. По окончании освоения нового дополнительного ствола производят извлечение посадочного узла со вспомогательным клином.

[12]

Верхняя часть хвостовика обрабатывается устройством, включающим режущий инструмент (долото), спускаемый на колонне труб и выполненный с возможностью вращения.

[13]

Недостатками данного способа являются:

[14]

- невозможность применения в ранее построенных скважинах, так как в них отсутствует оборудование низа обсадной колонны основного ствола шлицами для посадки на них извлекаемого посадочного узла с посадочной обсадной трубой, на верхнем конце муфты которой устанавливается вспомогательный клин;

[15]

- увеличение количества дополнительных операций по установке и снятию извлекаемого оборудования, закачке вязкопластичной жидкости, разбуриванию вспомогательного патрубка с манжетами долотом, промывке основного ствола от вязкопластичной жидкости;

[16]

- значительное уменьшение диаметра хвостовика в зоне окна, так как размещенный на его поверхности клин для закрепления неустойчивых пород в зоне окна увеличивает диаметр конструкции и ее жесткость, что приведет к проблемам при прохождении хвостовика через окно и прокачивании тампонажной смеси в кольцевое пространство между породой и стенкой хвостовика, так как зазор между хвостовиком и стенками окна может уменьшиться до технологически недопустимого значения;

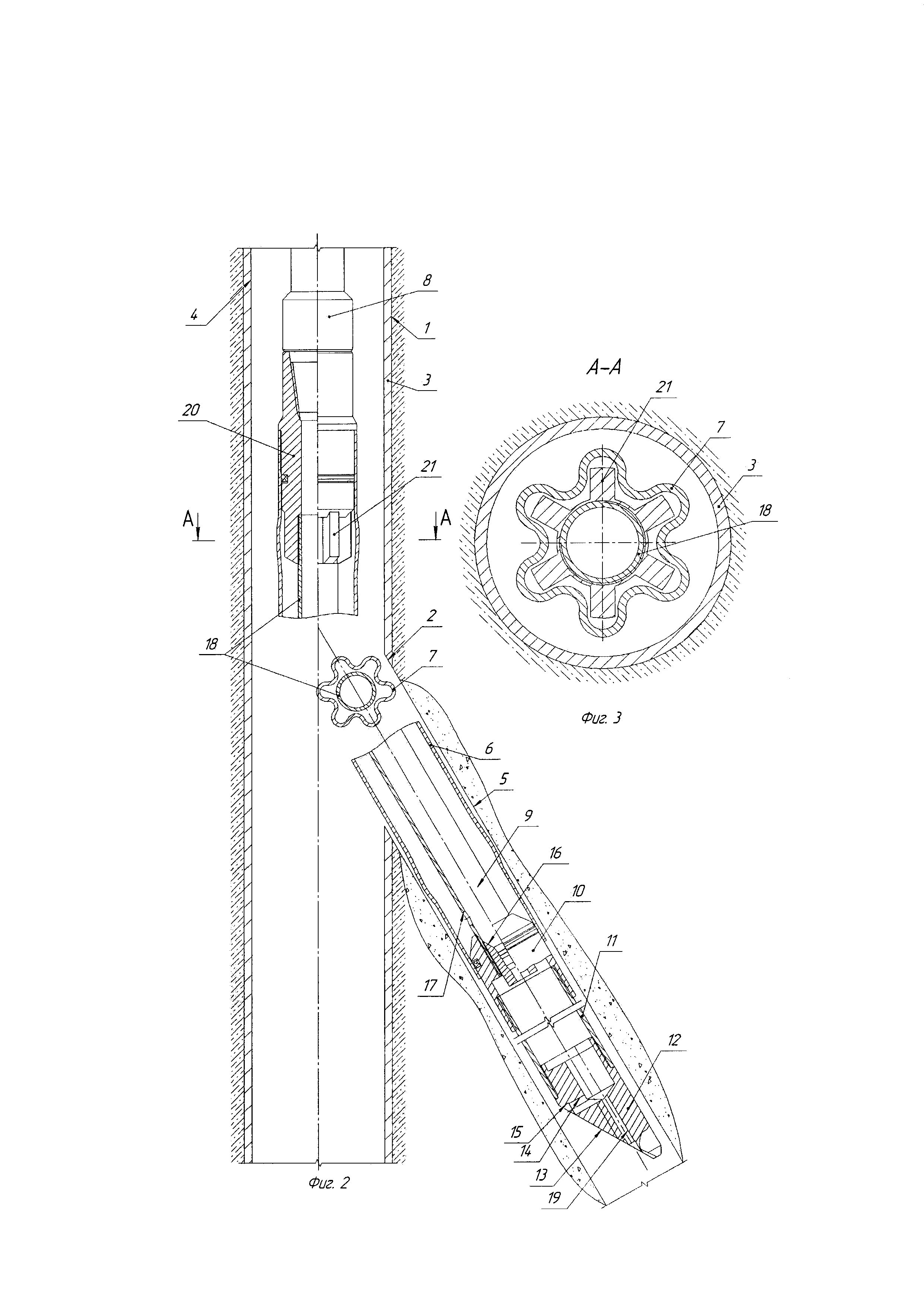
[17]

- невозможность создания герметичного соединения обсадных колонн основного и дополнительного стволов из-за большой разности диаметра окна и диаметра хвостовика и конструкции хвостовика в зоне окна, состоящей из нескольких трубных деталей, размещенных одна в другой (вспомогательный патрубок с манжетами и клин для разобщения неустойчивых пород), и применения цемента для герметизации зазора между обсадными колоннами в зоне окна;

[18]

- повышение процента аварийности при проведении работ при спуске и креплении хвостовика и разбуривании его верхней части, так как малейшая неточность установки хвостовика относительно окна приведет к заходу клина, предназначенного для закрепления неустойчивых пород в зоне окна, в основной ствол скважины и соответственно к необходимости разбуривания дополнительного металла, поломкам долота и дополнительным спуско-подъемным операциям, увеличению времени и материальных затрат при строительстве многоствольных и многозабойных скважин;

[19]

- снижение добывных возможностей скважины и ее рентабельности вследствие того, что крепление обсадной колонны дополнительного ствола осуществляется цементом, а это ведет к уменьшению диаметра дополнительного ствола в продуктивном пласте и загрязнению (кольматации) его цементом;

[20]

- сложность применения и высокая стоимость используемых конструктивных элементов, что приводит к высоким материальным затратам;

[21]

- необходимость изолирования всех зон осложнений перед спуском хвостовика в дополнительный ствол, так как недохождение хвостовика до забоя приведет к аварийной ситуации с необходимостью извлечения хвостовика из скважины и проведения дополнительных работ, что приведет к увеличению сроков строительства многозабойной или многоствольной скважины и ее стоимости;

[22]

- при необходимости углубления дополнительного ствола требуется дополнительный спуск инструмента для разбуривания башмака хвостовика. Дальнейшее бурение будет осуществляться долотом меньшего диаметра, что уменьшит добывные возможности скважины и увеличит ее стоимость.

[23]

Наиболее близким является способ строительства дополнительного ствола многоствольной скважины и устройство для его осуществления (пат.RU №2636608, МПК Е21В 7/08, 43/10, 33/10, опубл. в бюл. №33 от 24.11.2017), включающий вскрытие окна в обсадной колонне первичного ствола скважины и бурение нового дополнительного ствола до проектной глубины с использованием извлекаемого клина-отклонителя, спуск хвостовика с обсадными трубами на устье нового дополнительного ствола скважины с последующей герметизацией дополнительного ствола скважины, обработку верхней части хвостовика для получения доступа в нижнюю часть первичного ствола и извлечение клина-отклонителя. При этом внутренний диаметр обсадной колонны первичного ствола до спуска клина-отклонителя в зоне расположения окна и выше расширяют, а клин-отклонитель с якорем извлекают до спуска хвостовика, который оснащают в районе окна продольно-гофрированной подвеской или изготавливают в виде продольно-гофрированной трубы с увеличенным периметром в зоне расширения внутреннего диаметра первичной обсадной колонны. Хвостовик размещают в дополнительном стволе при помощи прикрепленного снизу направляющего башмака, при этом выправление гофрированных участков хвостовика осуществляют избыточным давлением с фиксацией развальцовыванием в дополнительном стволе. Обработку верхней части хвостовика осуществляют в два этапа, на первом из которых производят вырезание направляющего окна в хвостовике для создания сообщения с первичным стволом, на втором - развальцовку верхней части хвостовика до прижатия его к расширению заподлицо к стенкам первичного ствола.

[24]

Недостатками данного способа являются:

[25]

- увеличение числа спуско-подъемных операций при креплении скважины, так как недохождение хвостовика до забоя приводит к аварийной ситуации с необходимостью извлечения хвостовика из скважины и проведения дополнительных изоляционных работ. Все это ведет к увеличению сроков строительства многоствольной скважины и ее стоимости. Увеличение числа аварийных ситуаций с недохождением хвостовика до забоя связано с тем, что большинство дополнительных стволов из существующих скважин строятся на старых, давно эксплуатируемых месторождениях с горизонтальным участком в продуктивном пласте. При бурении в этих пластах встречаются осложнения в виде осыпей, обвалов верхней стенки скважины и зон полного (катастрофического) поглощения промывочной жидкости, которые могут проявляться на любом этапе строительства дополнительного ствола, в том числе при спуске и креплении хвостовика. На изоляцию их методами намыва различных наполнителей и цементных заливок расходуется большое количество материалов и времени, в большинстве случаев без положительного результата. Особенно трудно преодолимыми эти осложнения становятся на участках набора угла и бурения горизонтальной части дополнительных стволов вследствие особенности работы забойного двигателя с углом перекоса и малым диаметром таких стволов (Изоляция зон поглощений бурового раствора в боковых стволах с применением профильного перекрывателя / К.В. Мелинг, Ф.Ф. Ахмадишин, А.Л. Насыров, Д.В. Максимов, В.К. Мелинг // Нефтяное хозяйство. - 2009. - №11. - С. 107-109; Изоляция кыновских аргиллитов профильным перекрывателем ПБИ-144/130 / Ф.Ф. Ахмадишин, К.В. Мелинг, А.А. Мухаметшин, А.Л. Насыров, С.Н. Андронов // Нефтяное хозяйство. - 2010. - №7. - С. 16-17.);

[26]

- неизвлекаемый направляющий башмак хвостовика, не позволяющий устанавливать поэтапно элементы хвостовика, с проходом через установленный хвостовик из продольно-гофрированных труб, например, когда необходимо изолировать зону осложнения, встретившуюся в процессе бурения или крепления дополнительного ствола, а затем продолжить бурение долотом того же диаметра;

[27]

- при необходимости углубления дополнительного ствола требуется дополнительный спуск инструмента для разбуривания направляющего башмака хвостовика, что увеличит сроки строительства многоствольной скважины и ее стоимость.

[28]

Известен башмак с направляющим устройством (патент ПМ RU №89164, МПК Е21В 29/10, опубл. в бюл. №33 от 27.11.2009), присоединенный на резьбе к хвостовику из профильных труб, содержащий центральный канал, гидравлически связанный с полостью упомянутого хвостовика. При использовании самоориентирующегося направляющего устройства узел крепления выполнен в виде подвески, а в центральном канале башмака профрезерована радиальная проточка, образующая полку с двумя пазами по радиусу, в которые своими выступами вставлена упомянутая подвеска для крепления самоориентирующегося направляющего устройства. В пазы вставлены вкладыши, фиксирующие подвеску от осевого вращения, а сами вкладыши от продольных перемещений зафиксированы прижимной гайкой.

[29]

Недостатками известного башмака являются:

[30]

- наличие сложно изготавливаемых и дорогостоящих шлицевых и сопрягаемых сферических поверхностей, сложность их герметизации и, как следствие, высокая стоимость устройства;

[31]

- сложность конструкции самого башмака и захватного устройства развальцевателя для его извлечения и, как следствие, высокие материальные затраты на изготовление устройства;

[32]

- невозможность закрытия промывочного канала башмака с упором на забой, так как при изоляции зоны осложнения в виде осыпания породы забой рыхлый или отсутствует в зоне провала и катастрофического поглощения промывочной жидкости;

[33]

- сложность соединения конструктивного башмака с самоориентирующимся устройством, так как в конструкции самоориентирующегося устройства установлен гидродвигатель, работающий при большом расходе жидкости, что не осуществимо из-за конструктивно малого размера промывочного канала подвески.

[34]

Известен гидравлический скважинный отклоняющий узел (патент RU №2318112, МПК Е21В 23/00, опубл. в бюл. №06 от 27.02.2008), включающий корпус с центральным проходным каналом, сферической выборкой снизу и внутренней проточкой в средней части, в которую герметично вставлен с возможностью осевого перемещения вниз подпружиненный вверх поршень со штоком, оснащенный центральным проходным каналом. Отклоняющая головка с полусферой вверху герметично взаимодействует с возможностью поворота и отклонения с нижней частью сферической выборки корпуса и при этом подпружинена от корпуса. В корпусе между отклоняющей головкой и штоком установлен эксцентричный полый упор, взаимодействующий сверху с нижним торцом штока. Эксцентричный полый упор оснащен снизу снаружи полусферой и сегментом с нижнего торца, причем полусфера эксцентричного полого упора взаимодействует с верхней частью сферической выборки корпуса, а сегмент взаимодействует с верхней плоскостью полусферы отклоняющей головки с возможностью ее отклонения в противоположную сторону от сегмента при перемещении штока с поршнем вниз.

[35]

Недостатками данного устройства являются:

[36]

- наличие сложно изготавливаемых и дорогостоящих сопрягаемых сферических поверхностей, сложность их герметизации и, как следствие, высокая стоимость устройства;

[37]

- возможность несанкционированного выправления продольно-гофрированной подвески или хвостовика из продольно-гофрированных труб в основном стволе вследствие необходимости поддерживания большого расхода жидкости для отклонения отклоняющей головки на определенный угол от оси устройства при вхождении его в окно дополнительного ствола;

[38]

- невозможность определения момента попадания в окно дополнительного ствола, так как отсутствует фиксатор отклоняющей головки и она свободно вращается по оси устройства;

[39]

- невозможность отсоединения устройства от продольно-гофрированной перемычки и извлечения его из скважины из-за конструктивного отсутствия узла захвата;

[40]

- другое функциональное назначение устройства - отклонение гибкой трубы при проведении работ в многоствольных скважинах.

[41]

Наиболее близким по технической сущности и достигаемому результату является устройство направляющее для ввода хвостовика в боковой ствол (патент RU №2483187, МПК Е21В 23/03, опубл. в бюл. №15 от 27.05.2011), включающее цилиндрическую часть и направляющую часть с косым срезом, боковое отверстие с соплом для прохода жидкости со стороны среза и выдвижной радиальный шток, расположенный в цилиндрической части со стороны бокового отверстия. При этом цилиндрическая часть выполнена сборной, состоящей из верхнего и нижнего блоков, соединенных между собой выше выдвижного штока шарнирным соединением с каналом с проходным сечением, большим, чем сечение сопла бокового отверстия, причем в цилиндрической части выше шарнирного соединения, позволяющего ограниченно отклонять нижний блок относительно верхнего в противоположную от штока сторону, выполнены радиальные отверстия, герметично перекрытые изнутри седлом бросового шарика, а между шарнирным соединением и седлом установлена пробка с боковым продольным проточным каналом, причем седло зафиксировано относительно верхнего блока в транспортном положении срезным элементом и выполнено с возможностью перемещения вниз до взаимодействия с пробкой, герметично перекрывающей проходной канал седла.

[42]

Недостатками устройства являются:

[43]

- невозможность извлечения из скважины, так как в его конструкции отсутствуют устройства для его отсоединения, захвата и извлечения из скважины;

[44]

- наличие сложно изготавливаемых и дорогостоящих сопрягаемых сферических поверхностей, сложность их герметизации и, как следствие, высокая стоимость устройства;

[45]

- невозможность прохождения зон осложнений в виде осыпей и обвалов породы с верхней стенки ствола скважины или шламовых пробок, так как отсутствует устройство для их разрушения и удаления из скважины, что приводит к дополнительным спуско-подъемным операциям;

[46]

- при необходимости углубления дополнительного ствола ниже установленного хвостовика требуется дополнительный спуск инструмента для разбуривания устройства, что увеличит сроки строительства многоствольной скважины и ее стоимость.

[47]

Техническими задачами предлагаемого изобретения являются:

[48]

- повышение надежности способа и устройства за счет исключения аварийных ситуаций, связанных с недохождением хвостовика до проектной глубины, благодаря использованию гидромониторных насадок (сопел);

[49]

- повышение производительности скважины (дебита) за счет сохранения диаметра дополнительного ствола после изоляции зон осложнений;

[50]

- упрощение процессов изоляции зон осложнений (крепи неустойчивых пород) и углубление дополнительного ствола долотом того же диаметра за счет использования в качестве обсадной колонны продольно-гофрированных труб с извлекаемым после установки башмаком;

[51]

- сокращение аварийности и сроков строительства многоствольных скважин и их стоимости.

[52]

Технические задачи решаются способом строительства многоствольной скважины, включающим вскрытие окна в обсадной колонне первичного ствола скважины и бурение нового дополнительного ствола до проектной глубины с использованием извлекаемого клина-отклонителя, спуск хвостовика с обсадными трубами на устье нового дополнительного ствола скважины с последующей герметизацией дополнительного ствола скважины, обработку верхней части хвостовика для получения доступа в нижнюю часть первичного ствола, извлечение клина-отклонителя, причем внутренний диаметр обсадной колонны первичного ствола до спуска клина-отклонителя в зоне расположения окна и выше расширяют, клин-отклонитель с якорем извлекают до спуска хвостовика, который изготавливают в виде продольно-гофрированной трубы с увеличенным периметром в зоне расширения внутреннего диаметра обсадной колонны первичного ствола, хвостовик, спускаемый на колонне труб, размещают в дополнительном стволе при помощи прикрепленного снизу направляющего устройства, выправление гофрированных участков хвостовика осуществляют избыточным давлением с фиксацией развальцовыванием в дополнительном стволе, обработку верхней части хвостовика осуществляют в два этапа, на первом из которых производят вырезание направляющего окна в хвостовике для создания сообщения с первичным стволом, на втором - развальцовку верхней части хвостовика до прижатия его к расширению заподлицо к стенкам первичного ствола.

[53]

Новым является то, что направляющий башмак вставлен в нижнюю часть хвостовика с возможностью герметичного продольного перемещения, хвостовик перед спуском оснащают изнутри с возможностью совместного вращения полой технологической колонной, сообщенной боковыми каналами с герметичной полостью хвостовика и соединенной снизу с направляющим башмаком, а сверху - с колонной труб, при этом ниже боковых каналов в технологической колонне размещают седло под бросовый с устья элемент, после сброса которого в скважину осуществляют выправление гофрированных участков хвостовика избыточным давлением с последующим отсоединением и извлечением направляющего башмака на поверхность.

[54]

Технические задачи также решаются направляющим устройством для установки обсадной колонны в дополнительном стволе скважины, включающим направляющий башмак с цилиндрической частью и направляющей частью, оснащенной косым срезом, боковое отверстие с соплом для прохода жидкости со стороны среза, расположенные выше косого среза седло и боковые каналы.

[55]

Новым является то, что цилиндрическая часть башмака герметично вставлена в нижнюю часть продольно-гофрированного хвостовика с возможностью продольного перемещения и жестко соединена внутри хвостовика с технологической колонной, направляющая часть оснащена продольным отверстием меньшего диаметра, чем диаметр бокового отверстия, седло расположено в нижней части технологической колонны под боковыми каналами, при этом технологическая колонна сверху снабжена переводником, соединенным герметично с верхней частью хвостовика с возможностью отсоединения после расширения, переводник снизу оснащен выступами, выполненными с возможностью взаимодействия для совместного вращения с продольно-гофрированной трубой хвостовика.

[56]

На фиг. 1 показан хвостовик из продольно-гофрированных труб с направляющим устройством в первичном стволе скважины.

[57]

На фиг. 2 показан хвостовик из продольно-гофрированных труб в дополнительном стволе.

[58]

На фиг. 3 показан разрез А-А фиг. 2.

[59]

На фиг. 4 показан хвостовик в скважине после расширения давлением жидкости и отсоединенное направляющее устройство.

[60]

Способ строительства многоствольной скважины 1 (фиг. 1) включает вскрытие окна 2 (фиг. 2) в обсадной колонне 3 (фиг. 1) первичного ствола 4 скважины 1 и бурение нового дополнительного ствола 5 (фиг. 2) до проектной глубины с использованием извлекаемого клина-отклонителя (например, см. патент РФ №2414580 и т.п. - на фиг. 1 и 2 не показан), спуск хвостовика 6 (фиг. 2) с обсадными трубами на устье нового дополнительного ствола 5 скважины 1 с последующей герметизацией дополнительного ствола 5 скважины 1, обработку верхней части хвостовика 6 (например, см. патент РФ №2636608 и т.п. - на фиг. 1 не показана) для получения доступа в нижнюю часть первичного ствола 4 и извлечение клина-отклонителя. Внутренний диаметр обсадной колонны 3 (фиг. 1) первичного ствола 4 до спуска клина-отклонителя в зоне расположения окна 2 (фиг. 2) и выше расширяют (например, фрезерованием - не показано). Клин-отклонитель с якорем извлекают до спуска хвостовика 6, который изготавливают в виде продольно-гофрированной трубы 7 с увеличенным периметром (например, см. патент РФ №2636608 и т.п. - на фиг. 1 и 2 не показаны) в зоне расширения внутреннего диаметра обсадной колонны 3 первичного ствола 4 (на фиг. 1 и 2 не показано). Хвостовик 6 (фиг. 2), спускаемый на колонне труб 8, размещают в дополнительном стволе 5 при помощи прикрепленного снизу направляющего устройства 9 (фиг. 1, 2 и 4). Выправление гофрированных участков (фиг. 1-4) хвостовика 6 осуществляют избыточным давлением с фиксацией развальцовыванием (например, см. патент РФ №2636608 и т.п. - на фиг. 4 не показано) в дополнительном стволе 5 (фиг. 4). Обработку верхней части хвостовика 6 осуществляют в два этапа, на первом из которых производят вырезание направляющего окна (на фиг. 4 не показано) в хвостовике 6 для создания сообщения с первичным стволом 4, на втором -развальцовку верхней части хвостовика 6 до прижатия его к расширению заподлицо к стенкам первичного ствола 4 (например, см. патент №2636608 - на фиг. 4 не показано).

[61]

Направляющее устройство 9 (фиг. 1) для установки хвостовика 6 в дополнительном стволе 5 (фиг. 2) скважины 1 включает в себя направляющий башмак 10 (фиг. 1) с цилиндрической частью 11 и направляющей частью 12, оснащенной косым срезом 13, боковое отверстие 14 с соплом 15 для прохода жидкости со стороны среза 13, расположенные выше косого среза 13 седло 16 и боковые каналы 17. Цилиндрическая часть 11 башмака 10 герметично вставлена в нижнюю часть хвостовика 6 из продольно-гофрированных труб 7 с возможностью продольного перемещения и жестко соединена внутри хвостовика 6 с технологической колонной 18. Направляющая часть 12 башмака 10 оснащена продольным отверстием 19 меньшего диаметра, чем диаметр бокового отверстия 14. Седло 16 расположено в нижней части технологической колонны 18 под боковыми каналами 17. Технологическая колонна 18 сверху снабжена переводником 20, соединенным герметично с верхней частью хвостовика 5 с возможностью отсоединения после расширения. Переводник 20 снизу оснащен выступами 21, выполненными с возможностью взаимодействия для совместного вращения с продольно-гофрированной трубой 7 хвостовика 6.

[62]

Технические соединительные и уплотнительные элементы, не влияющие на работоспособность устройства, для упрощения чертежей и описания на фигурах 1-4 не показаны или показаны условно.

[63]

Направляющее устройство работает следующим образом.

[64]

На устье скважины (на фиг. 1 не показано) собирают хвостовик 6 из продольно-гофрированных труб 7 с увеличенным периметром (например, см. патент РФ №2636608 и т.п. - на фиг. 1 и 2 не показаны). К нижней трубе присоединяют направляющий башмак 10 направляющего устройства 9, который герметично вставлен в нижнюю цилиндрическую часть первой снизу продольно-гофрированной трубы 7 хвостовика 6 с возможностью продольного перемещения. Направляющий башмак 10 жестко соединяют с первой трубой технологической колонны 18, располагая ее внутри продольно-гофрированной трубы 7 хвостовика 6. Затем присоединяют следующую продольно-гофрированную трубу 7 и соединяют их по профильной части, например, сваркой, пайкой и т.п. способами или резьбой по цилиндрическим концам (например, см. патент РФ №1367586 и т.п. - на фиг. 1 и 2 не показаны). Располагают в ней следующую трубу технологической колонны 18, которую соединяют резьбой. Таким образом собирают хвостовик 6 с направляющим устройством 9 расчетной длины, фиксируя сверху переводником 20, и спускают в скважину 1 на колонне труб 8.

[65]

Герметизация направляющего башмака 10 и переводника 20 с хвостовиком 6 может осуществляться герметизирующими элементами (не показаны). Закрепление переводника 20 в цилиндрической части верхней профильной трубы 7 может производиться усаживанием кольцом (см. патент РФ №2387799) или завальцовыванием (см. а.с №1782079) (на фиг. 1 и 2 не показано), или левой резьбой (фиг. 1) и т.п. способами.

[66]

Спустив хвостовик 6 (фиг. 1) в скважину 1 в интервал окна 2 (фиг. 2), колонну труб 8 (фиг. 1) соединяют на устье с ведущей трубой (на фиг. 1 не показана) и буровым насосом или цементировочным агрегатом (на фиг. 1 не показаны) и начинают прокачивать промывочную жидкость через колонну труб 8 и направляющее устройство 9 с расходом не более 25 м3/ч (7 л/с), при котором не происходит изменения геометрических размеров профильных труб хвостовика 6 - они не выправляются, а реактивная тяга струи жидкости достаточна для отклонения (на 2°-4°) направляющего башмака 10 в окно 2 (фиг. 2) обсадной колонны 3 для размещения хвостовика 6 в дополнительном стволе 5 скважины 1 (Стендовые испытания башмака для расширяемого хвостовика /А.Л. Насыров, М.А. Исмагилов, А.А. Мухаметшин // Сборник научных трудов ТатНИПИнефть. Выпуск 84. - М.: ЗАО «Издательство «НЕФТЯНОЕ ХОЗЯЙСТВО», 2016. - С. 136-140.). С целью предотвращения размыва бокового отверстия 14 абразивными частицами промывочной жидкости сопло 15 может быть изготовлено из износостойкого материала при большой длине дополнительного ствола 5 (более 150 м).

[67]

Отклонив направляющий башмак на расчетный угол (2°-4°), начинают проворачивать хвостовик 6 колонной труб 8 ротором на устье (на фиг. 2 не показано) скважины 1 и плавно спускать в скважину 1, при этом переводник 20 выступами 21 (фиг. 3) взаимодействует с продольно-гофрированной трубой 7 хвостовика 6 (фиг. 2 и 3) для совместного вращения. При попадании направляющего башмака 10 (фиг. 2) в окно 2 обсадной колонны 3 его направляющая часть 12 упирается в стенку дополнительного ствола 5, вследствие чего возрастает крутящий момент на роторе (измеряется моментомером на пульте бурильщика - не показан). Это является сигналом того, что хвостовик 6 вошел в дополнительный ствол 5. Останавливают насос и производят спуск хвостовика 6 до проектной глубины дополнительного ствола 5. В случае если хвостовик 6 прошел в обсадной колонне 3 интервал окна 2 свободно и на пульт бурильщика не поступило никакого сигнала, значит отклоняющий башмак 10 отклонялся в противоположную сторону от окна 2 и упирался в стенку обсадной колонны 3 в момент прохождения хвостовиком 6 интервала окна 2. В этом случае останавливают спуск, приподнимают колонну труб 8 с хвостовиком 6 на 5-6 м выше окна 2 и повторяют операцию. После гарантированного попадания хвостовика 6 в дополнительный ствол 5 при дальнейшем его движении по дополнительному стволу 5 могут встречаться зоны осложнений в виде осыпей, обвалов или шламовых пробок (на фиг. 2 не показаны), что фиксируется снижением веса колонны труб 8 на индикаторе веса на устье скважины (не показано). Включают буровой насос и плавным движением вниз с вращением струей жидкости из продольного отверстия 19 направляющей части 11 башмака 9 разрушают и удаляют осыпавшуюся породу или буровой шлам из зоны осложнений дополнительного ствола 5, а струя жидкости из бокового отверстия 14 подхватывает их и выносит на поверхность, что исключает аварийные ситуации, связанные с недохождением хвостовика до проектной глубины, сокращает количество спуско-подъемных операций в процессе крепления дополнительного ствола 5, позволяет упростить такие работы в скважине, сократить время и стоимость строительства многоствольных скважин 1. При этом продольное отверстие 19 так же, как и боковое отверстие 14, может быть защищено от размыва абразивными частицами промывочной жидкости соплом (не показано), аналогичным соплу 15. Затем в колонну труб 8 с устья (на фиг. 4 не показано) скважины 1 вводят бросовый элемент 22 (пробку 22 или шар - не показан) и потоком промывочной жидкости доводят ее через технологическую колонну 18 до седла 16. Продолжая закачку жидкости в колонну труб 8 осуществляют выправление гофрированных участков продольно-гофрированной трубы 7 (фиг. 3) хвостовика 6 (фиг. 2) избыточным давлением через боковые каналы 17. Натяжением колонны труб 8 (фиг. 4) проверяют закрепление хвостовика 6 (увеличение веса колонны труб 8 на индикаторе веса на пульте бурильщика - не показано).

[68]

Останавливают насос и вращением колонны труб 8 вправо отсоединяют переводник 20 от хвостовика 6 в случае их соединения по левой резьбе и извлекают направляющий башмак 10 на поверхность. При этом выправленные продольные гофры продольно-гофрированной трубы 7 (фиг. 3) хвостовика 6 не препятствуют вращению переводника 20 с выступами 21.

[69]

В случае соединения переводника 20 с хвостовиком 6 способом усаживания кольцом или завальцовыванием (на фиг. 1, 2 и 4 не показаны) его отсоединяют следующим способом. Убедившись в надежном закреплении хвостовика 5 созданием осевой нагрузки весом колонны труб 8 (фиг. 4), включают насос и создают давление жидкости, равное по величине давлению выправления гофрированных участков продольно-гофрированной трубы 7 хвостовика 6. Одновременно натяжением колонны труб 8 с необходимым усилием (определяют эмпирически для каждого размера диаметра продольно-гофрированных труб 7) расширяют усаженный участок хвостовика 6 и освобождают переводник 20 (на фиг. 4 не показано) (например, см. патент SU №1782079 и т.п.) с направляющим башмаком 10 и извлекают направляющее устройство 9 на поверхность. Спуском развальцевателей (не показаны) производят окончательную фиксацию хвостовика 6 в дополнительном стволе 5 скважины 1 (например, см. патент РФ №2636608 и т.п.- на фиг. 4 не показано). При необходимости углубления дополнительного ствола 5 (фиг. 2 и 4) дальнейшее его бурение ведут долотами того же диаметра, что и до установки хвостовика 6 из продольно-гофрированных труб 7 (Изоляция зон поглощений бурового раствора в боковых стволах с применением профильного перекрывателя / К.В. Мелинг, Ф.Ф. Ахмадишин, А.Л. Насыров, Д.В. Максимов, В.К. Мелинг // Нефтяное хозяйство. - 2009. - №11. - С. 107-109; Изоляция кыновских аргиллитов профильным перекрывателем ПБИ-144/130 / Ф.Ф. Ахмадишин, К.В. Мелинг, А.А. Мухаметшин, А.Л. Насыров, С.Н. Андронов // Нефтяное хозяйство. - 2010. - №7. - С. 16-17).

[70]

Способ строительства многоствольной скважины и направляющее устройство для установки обсадной колонны в ее дополнительном стволе обеспечивают повышение надежности способа и устройства за счет исключения аварийных ситуаций, связанных с недохождением хвостовика до проектной глубины, благодаря использованию гидромониторных насадок (сопел), что сокращает количество спуско-подъемных операций в процессе крепления дополнительных стволов, позволяет повысить производительность скважины (дебит) и упростить процессы изоляции зон осложнений (крепи неустойчивых пород), так как углубление дополнительных стволов осуществляется долотом того же диаметра, что и до изоляции зон осложнений за счет использования в качестве обсадной колонны (хвостовика) продольно-гофрированных труб с извлекаемым после установки башмаком, и, как следствие, сократить аварийность и сроки строительства многоствольных скважин и их стоимость.

Как компенсировать расходы
на инновационную разработку
Похожие патенты