патент
№ RU 2608291
МПК H05K13/00

СТОЛ СБОРЩИКА ДЛЯ РАБОТЫ С ГИБКИМИ ПЕЧАТНЫМИ КАБЕЛЯМИ

Авторы:
Орлов Сергей Викторович Шкода Валерия Аршаковна Петренко Алексей Борисович
Все (5)
Номер заявки
2015157069
Дата подачи заявки
30.12.2015
Опубликовано
17.01.2017
Страна
RU
Как управлять
интеллектуальной собственностью
Чертежи 
2
Реферат

Изобретение относится к электротехнике, производству радиоэлектронной аппаратуры, в частности к технологии сборки приборов с применением гибких печатных кабелей (ГПК). Конструкция стола, имеющего каркас из стального профиля, покрытого порошковой краской и состоящего из двух частей, верхняя часть каркаса должна быть выполнена в виде прямоугольной рамы, по углам которой имеются вертикальные стойки, направленные вниз, нижняя часть каркаса также имеет прямоугольную раму, по ее углам - вертикальные полые стойки, в которые вставляются стойки верхней части каркаса, столешницу, которая крепится к каркасу в верхней части, в стойках каркаса устанавливаются регулировочные болты для фиксации столешницы по высоте, при этом каркас установлен на колеса, два из которых оснащены стопорным механизмом, столешница стола выполнена из материала, устойчивого к истиранию с антистатическим покрытием. Учитывая особенности работы с ГПК, на столешнице вдоль поперечных сторон стола должно быть выделено место для крепления маркировочной таблицы, с двух сторон по продольным сторонам нанесена шкала для измерения длин кабелей, с обратной стороны столешницы также с двух сторон по продольным сторонам закреплены штанги. На них устанавливаются подвижные фиксаторы, прижимающие ГПК и имеющие с двух сторон кольца, для передвижения по штангам, соединенные резиновой лентой, продетой в поливинилхлоридную трубку. Техническим результатом является исключение механического повреждения: продольного расслоения ГПК, повреждения и отламывания контактных площадок для распайки электрических цепей. 2 ил.

Формула изобретения

Стол сборщика для работы с гибкими печатными кабелями (ГПК) имеет каркас из стального профиля, покрытого порошковой краской, состоящий из двух частей, верхняя часть каркаса выполнена в виде прямоугольной рамы, по углам которой имеются вертикальные стойки, направленные вниз, нижняя часть каркаса также имеет прямоугольную раму, по ее углам имеются вертикальные полые стойки, в которые вставляются стойки верхней части каркаса, столешницу, закрепленную на верхней части каркаса, в стойках каркаса имеются отверстия под регулировочные болты для фиксации столешницы по высоте, колесные опоры, на которые установлен каркас, две из которых со стопорным механизмом, столешница выполнена из материала, устойчивого к истиранию с антистатическим покрытием, отличающийся тем, что на столешнице вдоль поперечных сторон стола выделено место для крепления маркировочной таблицы, с двух сторон по продольным сторонам нанесена шкала для измерения длин кабелей, с обратной стороны столешницы также с двух сторон по продольным сторонам закреплены штанги для передвижения фиксаторов.

Описание

[1]

Изобретение относится к электротехнике, производству радиоэлектронной аппаратуры, в частности к технологии сборки приборов с применением гибких печатных кабелей (ГПК). Перед сборкой приборов, в которых используются ГПК, необходимо осуществлять контроль их длины, толщины, величины волнистости, качества рабочей поверхности кабеля и нанесение на них маркировки. Все указанные операции по технологическому процессу при сборке приборов должны производиться на рабочих столах.

[2]

Известны рабочие столы фирмы VIKING для раскладки и вязки жгутов с регулируемой наклонной рабочей поверхностью от 0 до 80 градусов и специальной горизонтальной перфорацией, позволяющей крепить различные держатели для жгутов, при этом регулировка наклона и фиксирование положения столешницы осуществляется с помощью зажимных рукоятей.

[3]

Эти столы не пригодны для работ с ГПК, так как горизонтальная перфорация на рабочем столе может нанести повреждение рабочей поверхности кабеля.

[4]

Известны рабочие столы фирмы VIKING серии ПС-10, ПС-15, для установки и перемещения оборудования в рабочей зоне. Они снабжены регулировкой столешницы по высоте и 4-мя колесными опорами, две из которых со стопорными механизмами. Их конструкция описана на сайте www.vkg.ru, но на этих рабочих местах отсутствует возможность крепления ГПК. Технологические операции по контролю качества и маркировки ГПК требуют дополнительной оснастки.

[5]

Для работы с ГПК в цехах на различных участках необходимы подкатные рабочие столы с горизонтальной антистатической поверхностью.

[6]

Задачей данного изобретения является создание рабочего места для работы сборщика по подготовке ГПК к сборке приборов радиоэлектронной аппаратуры.

[7]

Для контроля качества ГПК и их маркировки предлагается конструкция стола, имеющего каркас из стального профиля, покрытого порошковой краской и состоящего из двух частей, верхняя часть каркаса должна быть выполнена в виде прямоугольной рамы, по углам которой имеются вертикальные стойки, направленные вниз, нижняя часть каркаса также имеет прямоугольную раму, по ее углам - вертикальные полые стойки, в которые вставляются стойки верхней части каркаса, столешницу, которая крепится к каркасу в верхней части, в стойках каркаса устанавливаются регулировочные болты для фиксации столешницы по высоте, при этом каркас установлен на колеса, два из которых оснащены стопорным механизмом, столешница стола выполнена из материала, устойчивого к истиранию с антистатическим покрытием. Учитывая особенности работы с ГПК, на столешнице вдоль поперечных сторон стола должно быть выделено место для крепления маркировочной таблицы, с двух сторон по продольным сторонам нанесена шкала для измерения длин кабелей, с обратной стороны столешницы также с двух сторон по продольным сторонам закреплены штанги. На них устанавливаются подвижные фиксаторы, прижимающие ГПК и имеющие с двух сторон кольца, для передвижения по штангам, соединенные резиновой лентой, продетой в поливинилхлоридную (ПВХ) трубку.

[8]

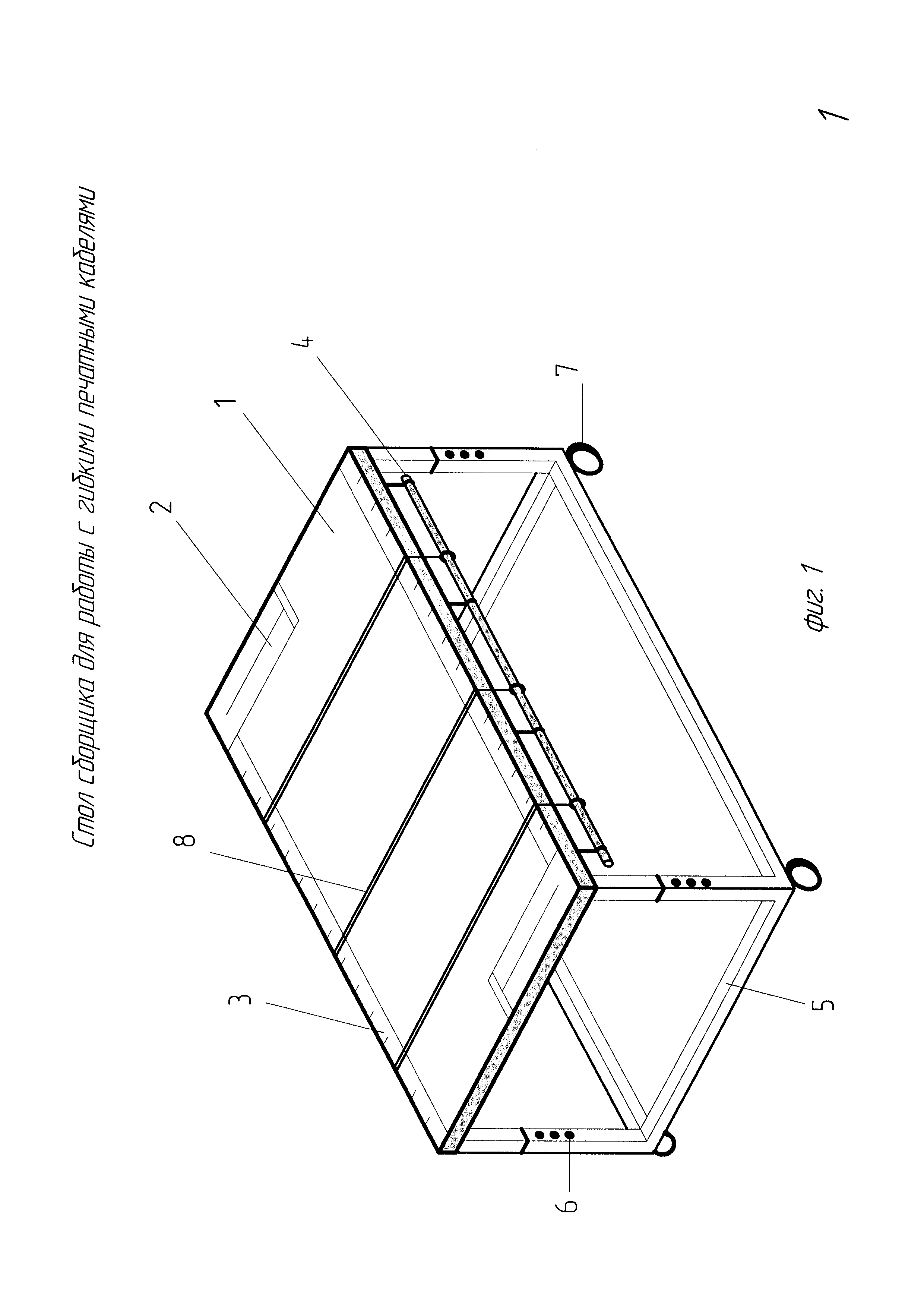
На фигуре 1 представлен стол сборщика радиоэлектронной аппаратуры для работы с гибкими печатными кабелями, имеющий:

[9]

1. столешницу с антистатическим покрытием, местами для крепления маркировочной таблицы и шкалой для измерения длин ГПК, нанесенной по продольным сторонам;

[10]

2. места для крепления маркировочной таблицы;

[11]

3. шкалы продольные;

[12]

4. штанги для крепления фиксаторов;

[13]

5. каркас стола, состоящий из верхней и нижней частей;

[14]

6. регулировочные болты;

[15]

7. колеса со стопорным механизмом;

[16]

8. подвижные фиксаторы.

[17]

На фигуре 2 представлен подвижный фиксатор, состоящий из двух колец, соединенных резиновой лентой, продетой в ПВХ трубку.

[18]

Стол сборщика для работы с ГПК используется в технологии сборки электронных приборов с применением ГПК.

[19]

Технологический процесс включает следующие операции:

[20]

1. проверка электрических цепей ГПК (на сопротивление изоляции между соседними проводниками и целостности проводников методом прозвонки);

[21]

2. проверка габаритных параметров ГПК;

[22]

3. раскладка кабелей по длинам;

[23]

4. маркировка кабелей.

[24]

На регулировочном участке проводится проверка электрических цепей ГПК на сопротивление изоляции и целостность проводников методом прозвонки. При проверке габаритных параметров ГПК на механическом участке проверяется длина кабеля, через каждые 200-300 мм контролируется его ширина и толщина, ширина токопроводящей дорожки и волнистость, отклонение от прямолинейности в поперечном сечении.

[25]

ГПК раскладываются на столе и закрепляются передвижными фиксаторами перед маркировкой в соответствии с маркировочной таблицей, размещенной на столе (фиг. 1).

[26]

После прохождения каждой операции стол сборщика перемещают на следующий участок, при этом ГПК закреплены фиксаторами на столе.

[27]

На монтажном участке проводится маркировка и проверка ее соответствия сборочному чертежу.

[28]

Таким образом, стол для работы с ГПК, имеющий каркас из стального профиля, покрытого порошковой краской, состоящего из двух частей, верхняя часть каркаса должна быть выполнена в виде прямоугольной рамы, по углам которой имеются вертикальные стойки, направленные вниз, нижняя часть каркаса также имеет прямоугольную раму с вертикальными полыми стойками по ее углам, в которые вставляются стойки верхней части каркаса, столешница крепится к каркасу в верхней части, а в стойках каркаса устанавливаются регулировочные болты для фиксации столешницы по высоте, при этом каркас установлен на колеса, два из которых оснащены стопорным механизмом. Столешница выполнена из материала, устойчивого к истиранию с антистатическим покрытием, при этом па столешнице вдоль поперечных сторон стола выделено место для крепления маркировочной таблицы, с двух сторон по продольным сторонам нанесена шкала для измерения длин кабелей. С обратной стороны столешницы также с двух сторон по продольным сторонам закреплены штанги, на которых установлены подвижные фиксаторы из резиновой ленты, продетой в поливинилхлоридную трубку, на концах ленты закреплены кольца для продольного передвижения по штангам. Стол используется для контроля качества ГПК и их маркировки.

[29]

Техническим результатом использования данного приспособления является исключение механического повреждения: продольного расслоения ГПК, повреждения и отламывания контактных площадок для распайки электрических цепей.

Как компенсировать расходы
на инновационную разработку
Похожие патенты