Объектив может быть использован в тепловизорах, чувствительных в спектральном диапазоне от 8 до 12 мкм. Объектив содержит четыре мениска, из которых первый, второй и четвертый по ходу луча - положительные, а третий - отрицательный. Все мениски обращены вогнутыми поверхностями к плоскости изображений. Вогнутая поверхность первого мениска выполнена асферической с конической постоянной в пределах от 2 до 14. Первый и четвертый мениски выполнены из германия, второй - из бескислородного стекла ИКС-25 или из халькогенидного стекла IRG-26, третий - из селенида цинка. Воздушные промежутки между первым и вторым, вторым и третьим менисками составляют не более 0,06 фокусного расстояния объектива. Выполняются следующие соотношения: ϕ=(0,42÷0,58)ϕ, ϕ=(0,04÷033)ϕ, ϕ=-(0,32÷0,48)ϕ, ϕ=(1,17÷1,27)ϕ, где: ϕ, ϕ, ϕ, ϕ- относительные оптические силы соответственно первого, второго, третьего и четвертого менисков; ϕ - оптическая сила объектива. Технический результат - расширение поля зрения без ухудшения качества изображения. 5 ил., 1 табл.
Широкоугольный инфракрасный объектив, содержащий четыре мениска, из которых первый, второй и четвертый по ходу луча мениски - положительные, обращенные вогнутыми поверхностями к плоскости изображений, а третий - отрицательный, обращенный вогнутой поверхностью к плоскости изображений, причем первый и четвертый мениски выполнены из германия, а третий - из селенида цинка, отличающийся тем, что второй мениск выполнен из бескислородного стекла ИКС-25 или из халькогенидного стекла IRG-26, вогнутая поверхность первого мениска выполнена асферической с конической постоянной в пределах от 2 до 14, а воздушные промежутки между первым и вторым, вторым и третьим менисками составляют не более 0,06 фокусного расстояния объектива, при этом выполняются следующие соотношения: ϕ1=(0,42÷0,58)ϕ, ϕ2=(0,04÷033)ϕ, ϕ3=-(0,32÷0,48)ϕ, ϕ4=(1,17÷1,27)ϕ, где: ϕ1, ϕ2, ϕ3, ϕ4 - относительные оптические силы соответственно первого, второго, третьего и четвертого менисков; ϕ - оптическая сила объектива.
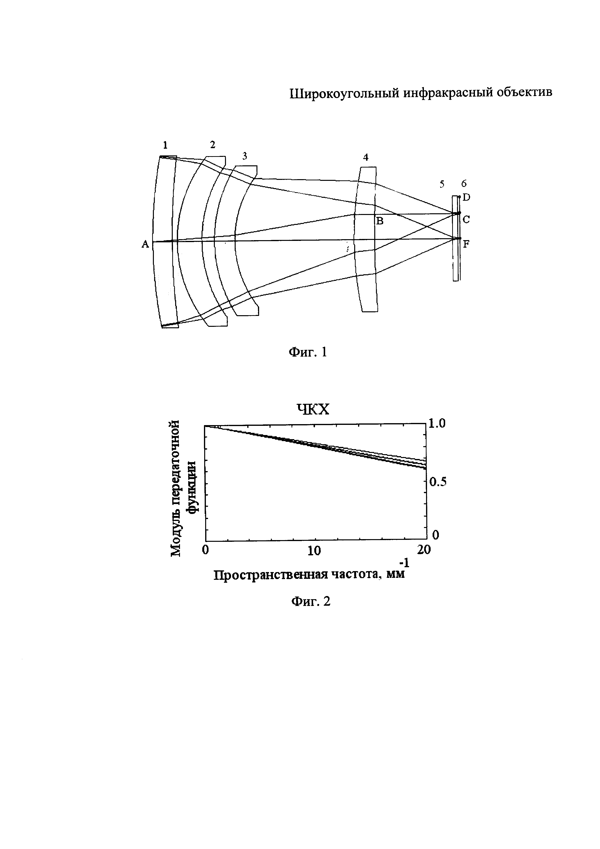
Изобретение относится к области оптического приборостроения, а именно к объективам для инфракрасной области спектра, и может быть использовано в тепловизорах, построенных на основе фотоприемников с микроболометрическими матрицами, чувствительными в спектральном диапазоне от 8 до 12 мкм. Современные матрицы имеют пиксель, равный 17×17 мкм (диагональ пикселя 24 мкм), что сравнимо с рабочей длиной волны. Поэтому для оценки качества изображения необходимо учитывать волновые свойства света, то есть дифракцию на входном зрачке. На практике это достигается расчетом функции концентрации энергии и контраста изображения объектива. В настоящее время аберрационный кружок рассеяния реального объектива определяется при 80% концентрации энергии (критерий Релея). Для микроболометрических матриц с малым размером пикселя контраст изображения объектива должен находиться в пределах 0,55÷0,65 на пространственной частоте 20÷30 мм-1 (критерий Найквиста). Известен светосильный объектив для области спектра 8-12,5 мкм по патенту РФ №2586273 от 21.01.2015 г. Объектив состоит из четырех одиночных менисков, обращенных вогнутыми поверхностями к плоскости изображений. Первый мениск - положительный, второй и третий - отрицательные, четвертый - положительный. Первый, второй и четвертый мениски выполнены из германия, третий - из селенида цинка. Радиус второй оптической поверхности по ходу лучей по модулю может быть равен радиусу шестой оптической поверхности. Радиус третьей оптической поверхности по ходу лучей по модулю может быть равен радиусу пятой оптической поверхности. По второму варианту исполнения объектив имеет фокусное расстояние 130,03 мм, поле зрения 6° и относительное отверстие 1:1,08. Для анализа качества изображения этот объектив пересчитан на фокусное расстояние 42 мм, как у предлагаемого авторами объектива. Анализ качества изображения с учетом дифракции показал, что для относительного отверстия 1:1,25 контраст изображения составляет 0,68 на пространственной частоте 20 мм-1 для осевой точки поля зрения, при диагональном поле зрения 15° контраст равен 0,2, а при 22,5° - нулю. Контраст 0,6 по критерию Найквиста достигается при угле поля зрения 8,5°. Таким образом, объектив при фокусном расстоянии 42 мм имеет малое поле зрения - 8,5°. Наиболее близким к заявляемому техническому решению является объектив для ИК-области спектра по патенту РФ №2604112 от 30.04.2015 г., содержащий четыре мениска, из которых первый, второй и четвертый по ходу луча мениски - положительные, третий - отрицательный. Все мениски обращены вогнутыми поверхностями к плоскости изображений. Первый и четвертый мениски выполнены из германия, второй и третий - из селенида цинка. Выполняются следующие соотношения: ϕ1:ϕ2:ϕ3:ϕ4=(0,70÷0,78):(0,18÷0,57):-(1,0÷1,78):(1,9÷2,5), где: ϕ1, ϕ2, ϕ3, ϕ4 - относительные оптические силы соответственно первого, второго, третьего и четвертого менисков; D2/f’э=0,6÷0,7, где: D2 - воздушный промежуток между первым и вторым менисками; f’э - эквивалентное фокусное расстояние объектива. В данном объективе третий мениск выполнен подвижным вдоль оптической оси. Второй и третий мениски находятся на значительном расстоянии от первого мениска. При фокусном расстоянии 75 мм и относительном отверстии 1:1,25 объектив обладает хорошим качеством изображения, но имеет небольшое поле зрения 7,3°×5,5°. Масштабирование объектива на фокусное расстояние 42 мм показало следующее. Контраст изображения на пространственной частоте 20 мм-1 равен 0,7 для осевой точки поля зрения, 0,35 - для диагонального поля зрения 15° и нулю для поля зрения 22,5°. Контраст изображения 0,6 по критерию Найквиста достигается при угле поля зрения 11°. Таким образом, при фокусном расстоянии 42 мм объектив имеет недостаточное поле зрения - 11° по диагонали. Техническая проблема заключается в получении следующего технического результата: расширение поля зрения без ухудшения качества изображения. Указанный технический результат достигается следующим образом. Широкоугольный инфракрасный объектив, как и прототип, содержит четыре мениска, из которых первый, второй и четвертый по ходу луча мениски - положительные, обращенные вогнутыми поверхностями к плоскости изображений, а третий - отрицательный, обращенный вогнутой поверхностью к плоскости изображений, причем первый и четвертый мениски выполнены из германия, а третий - из селенида цинка. В отличие от прототипа в заявляемом объективе выполнено следующее. Второй мениск выполнен из бескислородного стекла ИКС-25 или из халькогенидного стекла IRG-26, вогнутая поверхность первого мениска выполнена асферической с конической постоянной в пределах от 2 до 14, а воздушные промежутки между первым и вторым, вторым и третьим менисками составляют не более 0,06 фокусного расстояния объектива. При этом выполняются следующие соотношения: ϕ1=(0,42÷0,58)ϕ, ϕ2=(0,04÷033)ϕ, ϕ3=-(0,32÷0,48)ϕ, ϕ4=(1,17÷1,27)ϕ, где: ϕ1, ϕ2, ϕ3, ϕ4 - относительные оптические силы соответственно первого, второго, третьего и четвертого менисков; ϕ - оптическая сила объектива. Пример конкретного выполнения объектива показан на чертежах. На фиг. 1 приведена оптическая схема объектива. На фиг. 2 приведена частотно-контрастная характеристика изображения (ЧКХ). На фиг. 3 приведена функция концентрации энергии (ФКЭ). На фиг. 4 приведена функция рассеяния точки (ФРТ). На фиг. 5 приведены графики астигматизма и дисторсии. Широкоугольный инфракрасный объектив (фиг. 1) содержит размещенные в корпусе по ходу луча четыре мениска 1, 2, 3, 4. Защитное окно 5 установлено перед матрицей 6 фотоприемника, размещенной в плоскости изображений объектива. Мениск 1 - положительный, выполнен из германия, его вторая (вогнутая) поверхность асферизована. Мениск 2 - положительный, выполнен из бескислородного стекла ИКС-25. Мениск 3 - отрицательный, выполнен из селенида цинка (ZnSe). Мениск 4 - положительный, выполнен из германия. Все мениски обращены вогнутыми поверхностями к плоскости изображений (к матрице 6). Центр входного зрачка расположен в точке А. Конструктивные характеристики объектива приведены в таблице 1. Оптические характеристики объектива: В рассматриваемом объективе коническая постоянная К вогнутой поверхности мениска 1 равна: К=5. Относительные оптические силы менисков равны: ϕ1=0,471; ϕ2=0,236; ϕ3=-0,414; ϕ4=1,192. Значения ϕ1, ϕ2, ϕ3, ϕ4 определяются следующим образом: где: f’ - фокусное расстояние объектива; f’1, f’2, f’3, f’4 - фокусные расстояния соответственно менисков 1, 2, 3, 4. В общем случае воздушные промежутки между менисками 1 и 2, 2 и 3 для повышения контраста изображения должны быть не более 0,06 f’. Для обеспечения технологичности воздушные промежутки между менисками 1 и 2 выбираются исходя из допуска ±0,1 мм, а между менисками 2 и 3 - из соображений того, чтобы их края «не наезжали» друг на друга, а прокладочное кольцо имело достаточную толщину (порядка 1 мм). Увеличение расстояний между менисками приводит к снижению контраста изображения. Проведенные расчеты показали, что заявленные технические результаты достигаются при всех заявленных диапазонах конической постоянной и относительных оптических сил: К-2÷14; ϕ1=(0,42÷0,58)ϕ; ϕ2=(0,04÷033)ϕ; ϕ3=-(0,32÷0,48)ϕ; ϕ4=(1,17÷1,27)ϕ. Объектив работает следующим образом. Пучки лучей от предмета последовательно проходят через мениски 1, 2, 3, 4 и сходятся в центре F матрицы 6. На фиг. 1 показан также ход внеосевого пучка лучей АВС, соответствующего длине 0,7 половины диагонали матрицы. Точка D соответствует половине диагонали матрицы 600×800, или с учетом симметричности хода лучей относительно оптической оси, размеру 17 мм, т.е. 22,5°. В пространстве изображений главный луч пучка лучей ВС идет параллельно оптической оси, что способствует коррекции полевых аберраций, таких как кома, астигматизм и дисторсия. Повышение контраста изображения объектива осуществляется за счет комбинации оптических материалов и определенного расположения менисков 1, 2, 3, 4, в результате чего относительные оптические силы ϕ2 и ϕ3 менисков 2 и 3 становятся минимальными, а если учесть, что суммарная относительная оптическая сила этих менисков равна минус 0,1, то мениски 2 и 3 можно рассматривать как афокальный компенсатор сферохроматической аберрации объектива. Для сравнения рассмотрим характеристики качества изображения объектива, а именно ЧКХ, ФКЭ, ФРТ, астигматизм и дисторсию. При этом в примере конкретного исполнения радиусы поверхностей оптических деталей подогнаны под первый класс в соответствии с ГОСТ 1807-75, что снизило качество изображения примерно на 7÷10%. На фиг. 2 представлена ЧКХ заявляемого объектива для пространственной частоты до 20-1 мм. По оси ординат отложен модуль передаточной функции. Верхняя прямая соответствует дифракционно ограниченному объективу. Для относительного отверстия 1:1,25 контраст изображения на частоте 20-1 мм равен 0,6, что соответствует критерию Найквиста. На фиг. 3 представлена ФКЭ в пятне рассеяния. Эта функция позволяет вычислить диаметр пятна рассеяния, в котором сосредоточено 80% энергии, или решить обратную задачу: определить, какой процент энергии попадает на пиксель заданного размера. По оси ординат отложен процент концентрации энергии, а по оси абсцисс - радиус дифракционного пятна рассеяния с учетом геометрических аберраций. Функция рассеяния точки (фиг. 4) наглядно демонстрирует топологию пятен рассеяния в геометрическом приближении. Размер квадратов составляет 0,1×0,1 мм. ФРТ представлена для осевой точки поля зрения 0° и для диагональных (косых лучей) - полей 15° и 22,5°. В поле каждого квадрата впечатан диаметр кружка рассеяния 0,027, 0,028 и 0,030 мм, в котором сосредоточено 80% энергии. Эти результаты получены с помощью графиков ФКЭ (фиг. 3). Кроме того, на каждое пятно впечатан дифракционный диск Эри, составляющий в диаметре 0,032 мм. Все пятна рассеяния вписываются в диск Эри, что подтверждает высокое качество изображения объектива в поле зрения 18°×13,5°. На фиг. 5 представлены графики астигматизма и дисторсии объектива по всему диагональному полю зрения. По оси абсцисс отложены миллиметры. На графиках даны удвоенные поля, так как система обладает осевой симметрией. Графики астигматизма и дисторсии показывают, что благодаря телецентрическому ходу главного луча в пространстве изображений исправлены и астигматизм, и дисторсия. Аналогичные характеристики обеспечиваются при выполнении мениска 2 из халькогенидного стекла IRG-26. Объектив способен работать без ухудшения качества изображения в температурном диапазоне ±50°С при его незначительном перемещении вдоль оптической оси. Таким образом, предложенное изобретение по сравнению с прототипом позволяет увеличить в два раза поле зрения объектива без ухудшения качества изображения.
1. Фокусное расстояние 42 мм 2. Относительное отверстие 1:1,25 3. Поле зрения 18°×13,5° (22,5° по диагонали) 4. Спектральный диапазон 8-12 мкм 5. Длина объектива 60 мм 6. Масса оптических деталей 70 грамм 