патент
№ RU 2691161
МПК G01M17/08

Устройство для имитации процесса вертикального нагружения и снятия нагрузочной характеристики точечного домкратовидного устройства закрепления подвижного состава на сортировочных путях станций

Авторы:
Панин Юрий Алектинович
Номер заявки
2018136973
Дата подачи заявки
22.10.2018
Опубликовано
11.06.2019
Страна
RU
Как управлять
интеллектуальной собственностью
Чертежи 
3
Реферат

Изобретение относится к измерительной технике, в частности к устройствам для механического определения сопротивления движению штока точечного домкратовидного устройства закрепления подвижного состава на сортировочных путях станций под нагрузкой и построения нагрузочной характеристики исследуемого точечного домкратовидного устройства. Устройство содержит корпус с установленными в нем гидродомкратом, датчиком положения, силоизмерительным устройством. Корпус выполнен в виде скобы, нижний конец которой короче верхнего и выполнен с возможностью опирания в нижнюю поверхность головки рельса и в верхнюю поверхность подошвы рельса. На верхнем конце скобы посредством шарниров установлены два дополнительных плеча крепления, по одному с каждой стороны верхнего конца скобы, с возможностью их опирания в нижнюю поверхность подошвы рельса и последующей фиксации клиновидными стопорами. Дополнительные плечи крепления соединены между собой перемычкой, на которой установлен подвижный Г-образный упор для фиксирования перемещения головки точечного домкратовидного устройства, состоящий из стержня с градуировкой и поперечной консоли, с возможностью опирания поперечной консоли в нижнюю часть головки точечного домкратовидного устройства. С внутренней стороны верхнего конца скобы выполнен паз, в котором установлены механический динамометр для фиксирования силы воздействия на головку точечного домкратовидного устройства, опертый на горизонтальную поверхность паза, и гидродомкрат, соединенный с гидронасосом с механическим счетчиком времени для фиксирования времени воздействия на головку точечного домкратовидного устройства. Одна сторона гидродомкрата оперта на механический динамометр, а другая сторона выполнена с возможностью контакта с головкой точечного домкратовидного устройства. Для анализа зафиксированных величин перемещения, силы воздействия и времени воздействия предназначен планшет с тремя подвижными рейками. Технический результат: возможность имитировать процесс вертикального нагружения штока домкратовидного устройства закрепления подвижного состава на сортировочных путях станций, а также получить данные о нагружении, перемещении и времени нагружения. 3 ил.

Формула изобретения

Устройство для имитации процесса вертикального нагружения и снятия нагрузочной характеристики точечного домкратовидного устройства закрепления подвижного состава на сортировочных путях станций, включающее корпус с установленными в нем гидродомкратом, датчиком положения, силоизмерительным устройством, отличающееся тем, что корпус выполнен в виде скобы, нижний конец которой короче верхнего и выполнен с возможностью опирания в нижнюю поверхность головки рельса и в верхнюю поверхность подошвы рельса, на верхнем конце скобы посредством шарниров установлены два дополнительных плеча крепления, по одному с каждой стороны верхнего конца скобы, с возможностью их опирания в нижнюю поверхность подошвы рельса и последующей фиксации клиновидными стопорами, причем дополнительные плечи крепления соединены между собой перемычкой, на которой установлен подвижный Г-образный упор для фиксирования перемещения головки точечного домкратовидного устройства, состоящий из стержня с градуировкой и поперечной консоли, с возможностью опирания поперечной консоли в нижнюю часть головки точечного домкратовидного устройства, а с внутренней стороны верхнего конца скобы выполнен паз, в котором установлены механический динамометр для фиксирования силы воздействия на головку точечного домкратовидного устройства, опертый на горизонтальную поверхность паза, и гидродомкрат, соединенный с гидронасосом с механическим счетчиком времени для фиксирования времени воздействия на головку точечного домкратовидного устройства, одна сторона гидродомкрата оперта на механический динамометр, а другая сторона выполнена с возможностью контакта с головкой точечного домкратовидного устройства, причем для анализа зафиксированных величин перемещения в миллиметрах (мм), силы воздействия в килоньютонах (кН) и времени воздействия в секундах (с) предназначен планшет с тремя подвижными рейками, одна из которых перпендикулярна двум другим, с градуировками в миллиметрах (мм), килоньютонах (кН) и секундах (с), нанесенными по контуру планшета по одной для каждой рейки, и рабочей диаграммой с нормативными значениями точечного домкратовидного устройства, нанесенной на экране планшета.

Описание

[1]

Изобретение относится к измерительной технике, в частности к устройствам для измерения силы сопротивления движению штока точечного домкратовидного устройства закрепления подвижного состава на сортировочных путях станций под нагрузкой и построения нагрузочной характеристики исследуемого точечного домкратовидного устройства.

[2]

Известен стенд для контрольно-сдаточных испытаний гидродемпфера втулки несущего винта С-2363-76, который обеспечивает обкатку, снятие характеристик, замер времени перемещения штока, заполнение гидродемпфера маслом, проверку герметичности, проверку давления открытия клапанов, состоящий из электродвигателя, маховика, ручного тормоза, редуктора, муфты, кривошипа, основания рамы, эксцентрика, шатуна, осевого шарнира, ванны, тяги, пневмоцилиндра, воздухораспределителя, клеммной коробки, кнопки аварийной остановки привода, датчика тахометра, тахогенератора (Электронный ресурс http://depositfiles.com/files/k4t0hlkg25).

[3]

Недостатком указанного стенда является невозможность его применения для измерения силы сопротивления движению штока точечного домкратовидного устройства закрепления подвижного состава на сортировочных путях станций под нагрузкой и построения нагрузочной характеристики исследуемого точечного домкратовидного устройства на сортировочных горках.

[4]

Известен стенд снятия нагрузочной характеристики гидродемпфера, включающий электродвигатель, соединенный посредством штока с маховиком, редуктором и муфтой, которая посредством шатуна соединена с осевым

[5]

шарниром, на котором жестко закреплен исследуемый гидродемпфер с тензодатчиком и тензоусилителем, магнитный датчик перемещений, размещенный на осевом шарнире, последовательно соединенные между собой масштабирующий усилитель, фильтр низких частот, микроконтроллер, преобразователь интерфейсов, персональную ЭВМ и принтер, причем вход масштабирующего усилителя предлагается соединить с выходом тензоусилителя, тогда как вход микроконтроллера соединить с выходом магнитного датчика перемещений (RU, патент на полезную модель №102798, МПК G01М 7/00, опубл. 10.03.2011).

[6]

Недостатком указанного стенда является невозможность его применения для измерения силы сопротивления движению штока точечного домкратовидного устройства закрепления подвижного состава на сортировочных путях станций под нагрузкой и построения нагрузочной характеристики исследуемого точечного домкратовидного устройства на сортировочных горках.

[7]

Известен стенд «ЭНГА» типа СИЛ-02-01, который предназначен для испытания гидравлических гасителей колебаний локомотивов, пассажирских вагонов, вагонов метро. Испытания производятся методом гармонических колебаний под углом установки гидродемпфера от 0 до 90°, с построением рабочей диаграммы (координаты усилие-перемещение) испытываемого гидродемпфера, состоящего из исполнительного модуля, модуля управления и регистрации. Исполнительный модуль состоит из основания и остова портального типа. В нижней части остова размещены мотор-редуктор силового привода, кривошипно-шатунный механизм, устройство крепления нижней проушины испытуемого гидродемпфера, мотор-редуктор угла наклона, тормозной механизм, датчик положения, датчики вертикального положения и счета угла наклона стенда, модуль силовой. В верхней части исполнительного модуля находится устройство крепления верхней проушины гидродемпфера, силоизмерительное устройство, модуль микроконтроллера.

[8]

Модуль управления и регистрации представляет собой специальную стойку с системным блоком, монитором, клавиатурой и принтером (Гидравлические гасители колебаний пассажирских вагонов: учеб. справочник / Н.С. Бачурин, А.А. Красниченко, М.В. Переяслов. - Екатеринбург: Изд-во Ур-ГУПС, 2013. - 38 с).

[9]

Недостатком указанного стенда является невозможность его применения для измерения силы сопротивления движению штока точечного домкратовидного устройства закрепления подвижного состава на сортировочных путях станций под нагрузкой и построения нагрузочной характеристики исследуемого точечного домкратовидного устройства на сортировочных горках.

[10]

Техническим результатом изобретения является создание устройства, позволяющего имитировать процесс вертикального нагружения штока домкратовидного устройства закрепления подвижного состава на сортировочных путях станций, при этом получить данные о нагружении, перемещении и времени нагружения, на основании которых делается вывод о работоспособности исследуемого точечного домкратовидного устройства минимальными средствами, а именно, не применяя устройства тензометрирования, усиления и обработки сигналов с тензорезисторов, компьютер с дополнительным источником питания.

[11]

Указанный технический результат достигается тем, что в устройстве для имитации процесса вертикального нагружения и снятия нагрузочной характеристики точечного домкратовидного устройства закрепления подвижного состава на сортировочных путях станций, включающем корпус с установленными в нем гидродомкратом, датчиком положения, силоизмерительным устройством, корпус выполнен в виде скобы, нижний конец которой короче верхнего и выполнен с возможностью опирания в нижнюю поверхность головки рельса и в верхнюю поверхность подошвы рельса, на верхнем конце скобы посредством шарниров установлены два дополнительных плеча крепления, по одному с каждой стороны верхнего конца скобы, с возможностью их опирания в нижнюю поверхность подошвы рельса и последующей фиксации клиновидными стопорами, причем дополнительные плечи крепления соединены между собой перемычкой, на которой установлен подвижный Г-образный упор, для фиксирования перемещения головки точечного домкратовидного устройства, состоящий из стержня с градуировкой и поперечной консоли, с возможностью опирания поперечной консоли в нижнюю часть головки точечного домкратовидного устройства, а с внутренней стороны верхнего конца скобы выполнен паз, в котором установлены механический динамометр для фиксирования силы воздействия на головку точечного домкратовидного устройства, опертый на горизонтальную поверхность паза, и гидродомкрат, соединенный с гидронасосом с механическим счетчиком времени для фиксирования времени воздействия на головку точечного домкратовидного устройства, одна сторона гидродомкрата оперта на механический динамометр, а другая сторона выполнена с возможностью контакта с головкой точечного домкратовидного устройства, причем для анализа зафиксированных величин перемещения в миллиметрах (мм), силы воздействия в килоньютонах (кН) и времени воздействия в секундах (с) предназначен планшет с тремя подвижными рейками, одна из которых перпендикулярна двум другим, с градуировками в миллиметрах (мм), килоньютонах (кН) и секундах (с), нанесенными по контуру планшета по одной для каждой рейки, и рабочей диаграммой с нормативными значениями точечного домкратовидного устройства, нанесенной на экране планшета.

[12]

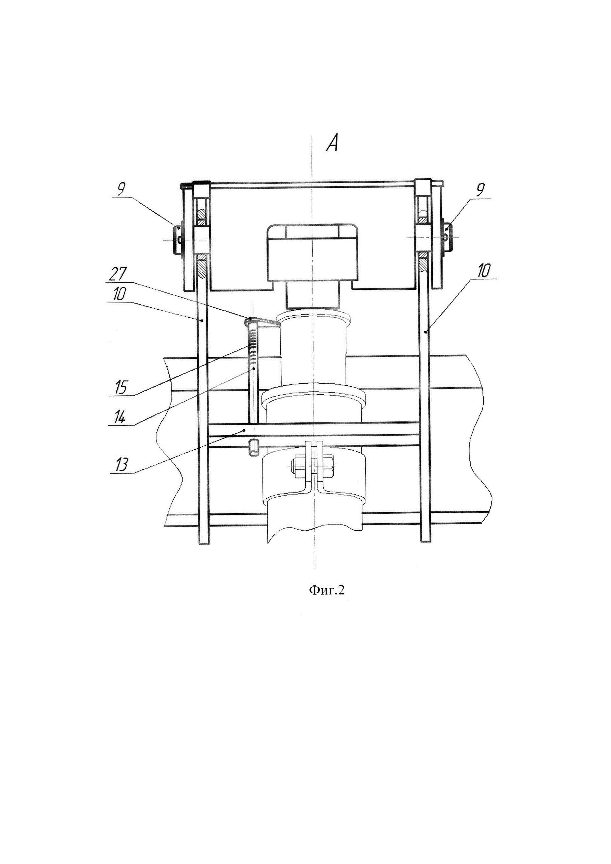
На фиг. 1 представлено устройство для имитации процесса вертикального нагружения и снятия нагрузочной характеристики точечного домкратовидного устройства закрепления подвижного состава на сортировочных путях станций.

[13]

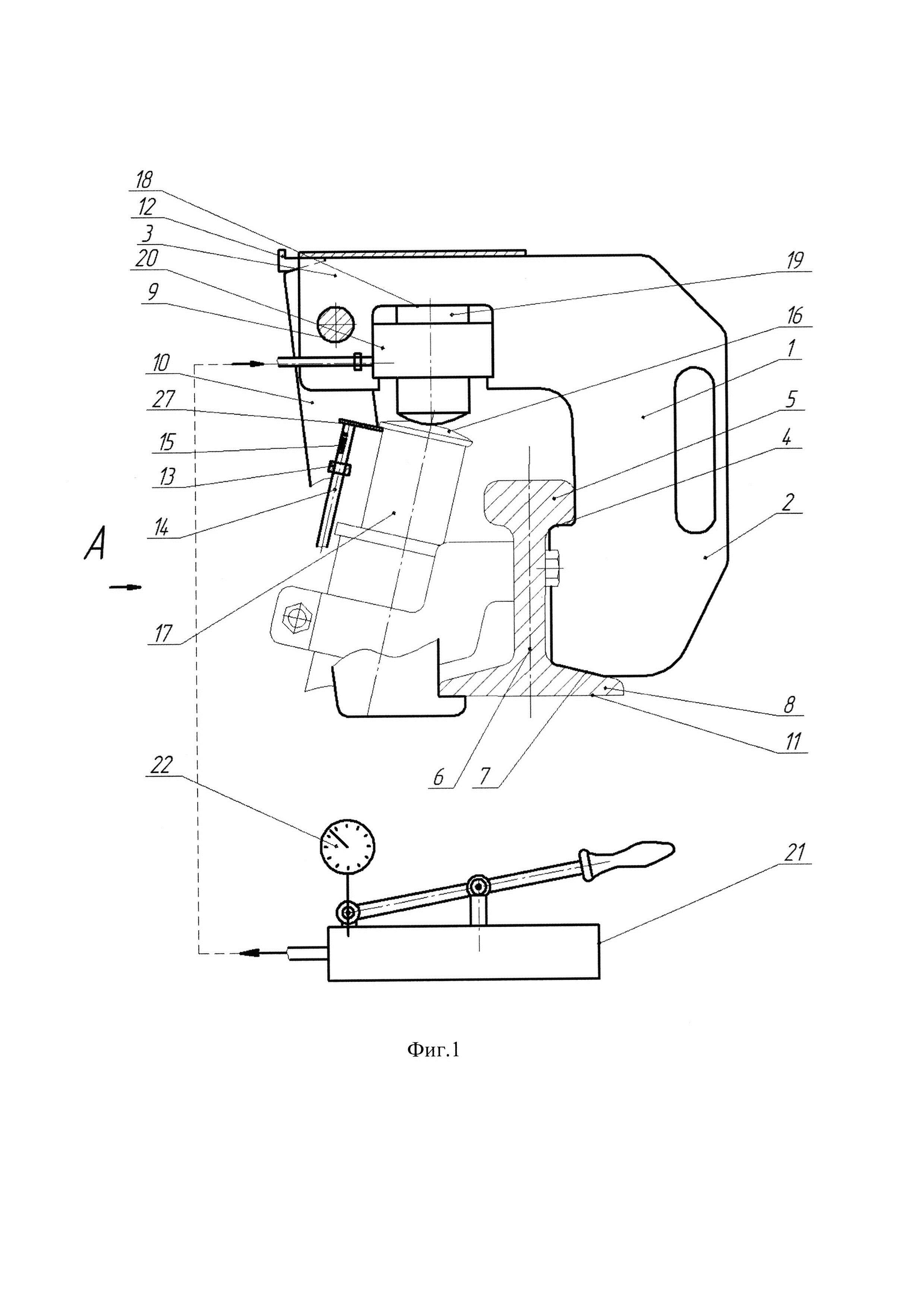
На фиг. 2 - вид А фиг. 1.

[14]

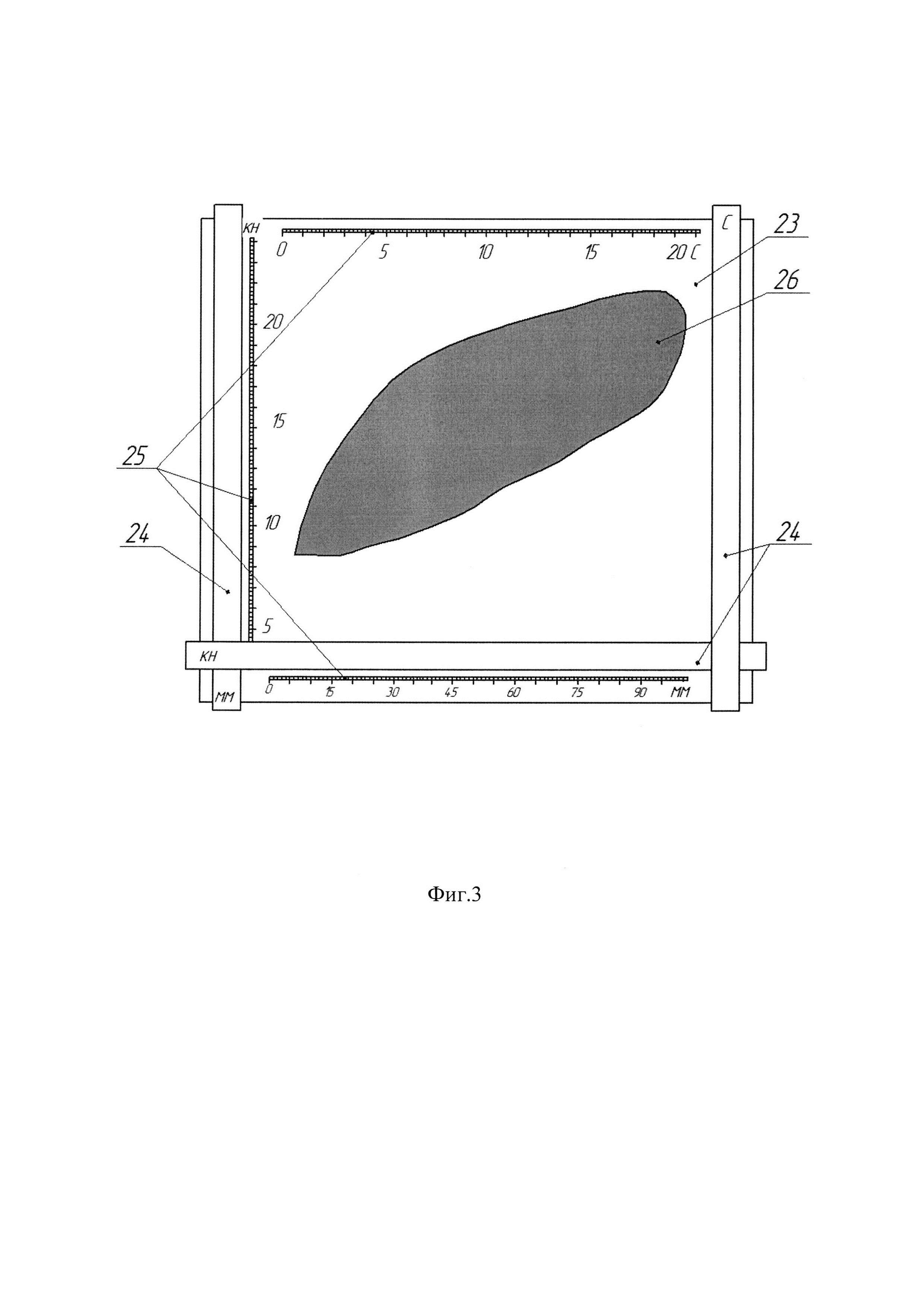
На фиг. 3 - представлен общий вид планшета с тремя подвижными рейками.

[15]

Устройство для имитации процесса вертикального нагружения и снятия нагрузочной характеристики точечного домкратовидного устройства закрепления подвижного состава на сортировочных путях станций (фиг. 1, 2, 3) состоит из корпуса 1, выполненного в виде скобы, нижний конец 2 которой короче верхнего конца 3 и выполнен с возможностью опирания в нижнюю поверхность 4 головки 5 рельса бив верхнюю поверхность 7 подошвы 8 рельса 6. На верхнем конце 3 скобы посредством шарниров 9 установлены два дополнительных плеча 10 крепления, по одному с каждой стороны верхнего конца 3 скобы с возможностью их опирания в нижнюю поверхность 11 подошвы 8 рельса 6 и последующей фиксации клиновидными стопорами 12. Дополнительные плечи 10 крепления соединены между собой перемычкой 13, на которой установлен подвижный Г-образный упор 14 для фиксирования перемещения головки 16 точечного домкратовидного устройства 17, состоящий из стержня 15 с градуировкой и поперечной консоли 27, с возможностью опирания поперечной консоли 27 в нижнюю часть головки 16 точечного домкратовидного устройства 17, а с внутренней стороны верхнего конца 3 скобы выполнен паз 18, в котором установлены механический динамометр 19 для фиксирования силы воздействия на головку 16 точечного домкратовидного устройства 17, опертый на горизонтальную поверхность паза 18, и гидродомкрат 20, соединенный с гидронасосом 21 с механическим счетчиком времени 22 для фиксирования времени воздействия на головку 16 точечного домкратовидного устройства 17, одна сторона гидродомкрата оперта на механический динамометр 19, а другая сторона выполнена с возможностью контакта с головкой 16 точечного домкратовидного устройства 17, причем для анализа зафиксированных величин перемещения в миллиметрах (мм), силы воздействия в килоньютонах (кН) и времени воздействия в секундах (с) предназначен планшет 23 с тремя подвижными рейками 24, одна из которых перпендикулярна двум другим, с градуировками 25 в миллиметрах (мм), килоньютонах (кН) и секундах (с), нанесенными по контуру планшета 23 по одной для каждой рейки, и рабочей диаграммой 26 с нормативными значениями точечного домкратовидного устройства 17, нанесенными на экране планшета 23.

[16]

Устройство работает следующим образом.

[17]

Над головкой 16 точечного домкратовидного устройства 17 в месте его установки на рельсе 6, устанавливается корпус 1 устройства, выполненный в виде скобы, нижний конец 2 которой короче ее верхнего конца 3.

[18]

Установка осуществляется таким образом, чтобы паз 18, выполненный с внутренней стороны верхнего конца 3 корпуса 1, находился над головой 16 точечного домкратовидного устройства 17, а нижний конец 2 корпуса 1 упирался в нижнюю поверхность 4 головки 5 рельса бив верхнюю поверхность 7 подошвы 8 рельса 6. При этом два дополнительных плеча 10 крепления, установленные по одному с каждой стороны верхнего конца 3 корпуса 1 посредством шарниров 9, опираются в нижнюю поверхность 11 подошвы 8 рельса 6 с последующей их фиксацией клиновидными стопорами 12.

[19]

После фиксации корпуса 1 с дополнительными плечами 10 крепления на рельсе 6 в сквозной паз 18 устанавливается механический динамометр 19 с опорой в горизонтальную поверхность паза 18, а под механический динамометр 19 устанавливается гидродомкрат 20, одна сторона гидродомкрата оперта на механический динамометр 19, а другая сторона выполнена с возможностью контакта с головкой 16 точечного домкратовидного устройства 17.

[20]

Затем в перемычку 13, соединяющую два дополнительных плеча 10 крепления, устанавливается подвижный Г-образный упор 14, состоящий из стержня 15 с градуировкой и поперечной консоли 27, таким образом, чтобы поперечная консоль 27 упиралась в нижнюю часть головки 16 точечного домкратовидного устройства 17.

[21]

Гидродомкрат 20 приводится в действие соединенным с ним переносным гидронасосом 21, который при включении в работу одновременно включает механический счетчик времени 22. Включенный в работу гидродомкрат 20 оказывает силовое воздействие на головку 16 точечного домкратовидного устройства 17, которая начинает движение, надавливая своей нижней частью через поперечную консоль 27, на стержень 15 с градуировкой подвижного упора 14, при этом подвижный упор 14 перемещается синхронно с головкой 16 точечного домкратовидного устройства 17.

[22]

После выключения работы переносного гидронасоса 21 прекращается работа гидродомкрата 20. По градуировке подвижного упора 14 снимается показание перемещения головки 16 точечного домкратовидного устройства 17, по показаниям механического счетчика времени 22 снимается время воздействия гидродомкрата 20 на головку 16 точечного домкратовидного устройства 17, по показаниям механического динамометра 19 снимается информация о силе воздействия гидродомкрата 20 на головку 16 точечного домкратовидного устройства 17.

[23]

Полученная информация о перемещении головки 16 точечного домкратовидного устройства 17 в миллиметрах (мм), силовом воздействии на него в килоньютонах (кН) и времени силового воздействия на головку 16 точечного домкратовидного устройства 17 в секундах (с) посредством подвижных реек 24 планшета 23 наносится на экран планшета 23, на котором изображена рабочая диаграмма 26 с нормативными значениями точечного домкратовидного устройства 17. При попадании всех трех показателей в зону рабочей диаграммы 26 домкратовидного устройства 17 делается положительное заключение о работоспособности данного точечного домкратовидного устройства 17 и, наоборот, при непопадании хотя бы одного из трех показателей в зону рабочей диаграммы 26 домкратовидного устройства 17 делается отрицательное заключение о работоспособности данного точечного домкратовидного устройства 17.

[24]

Устройство для имитации процесса вертикального нагружения и снятия нагрузочной характеристики точечного домкратовидного устройства закрепления подвижного состава на сортировочных путях станций позволит определить работоспособность исследуемого точечного домкратовидного устройства минимальными средствами, а именно, не применяя устройства тензометрирования, усиления и обработки сигналов с тензорезисторов, компьютер с дополнительным источником питания.

Как компенсировать расходы
на инновационную разработку
Похожие патенты