патент
№ RU 2191455
МПК H02H3/00

УСТРОЙСТВО ДЛЯ ОГРАНИЧЕНИЯ И ОТКЛЮЧЕНИЯ ТОКА ЭЛЕКТРИЧЕСКОЙ ЦЕПИ

Авторы:
Глинов А.П. Полтанов А.Е. Рындин В.Н.
Все (4)
Номер заявки
2000120033/09
Дата подачи заявки
31.07.2000
Опубликовано
20.10.2002
Страна
RU
Как управлять
интеллектуальной собственностью
Чертежи 
8
Реферат

[25]

Изобретение относится к области защиты электрических сетей и может быть применено для ограничения и отключения тока электрической цепи. Техническим результатом изобретения является повышение эффективности ограничения тока электрической цепи в относительно маломощных электрических сетях при коротком замыкании. Это достигается в устройстве для ограничения и выключения тока электрической цепи, содержащем два параллельных электрода изготовленных из резистивного материала, соединенных между собой на входных концах устройством инициирования электрического разряда. Новым в предложенном устройстве является то, что введены дополнительные пары электродов с соответствующими устройствами инициирования электрического разряда, подключенными между входными концами пар электродов. Основная пара и дополнительные пары электродов объединены в общий электроразрядный блок, в котором каждая пара электродов отделена от остальных электроизоляционной перегородкой. Блок электроразрядных каналов может быть свернут в плоскую или цилиндрическую спираль, в которых последняя пара электродов каждого витка спирали установлена примыкающей через электролизатор к первой паре электродов последующего витка спирали. В выходном конце по крайней мере одного канала содержится электроизоляционная перегородка, установленная вдоль электродов и перекрывающая канал в плоскости, перпендикулярной плоскости электродов данного канала. 3 з.п. ф-лы, 9 ил.

Формула изобретения

1. Устройство для ограничения и отключения тока электрической цепи, содержащее два параллельных электрода, изготовленных из резистивного материала, входные концы которых соединены между собой устройством для инициирования электрического разряда, отличающееся тем, что введены дополнительные пары электродов с соответствующими устройствами для инициирования электрического разряда, причем входные концы двух параллельных электродов и дополнительных электродов соединены токопроводными перемычками, образующими последовательное соединение всех устройств для инициирования электрического разряда, при этом два параллельных электрода и пары дополнительных электродов разделены электроизолятором и образуют единый блок электроразрядных каналов, в котором электроды всех пар, имеющие одинаковую полярность, расположены друг над другом стопой.

2. Устройство по п.1, отличающееся тем, что блок электроразрядных каналов свернут в плоскую спираль, при этом разнополярные электроды расположены в параллельных плоскостях, а последняя пара электродов каждого витка спирали установлена примыкающей через электроизолятор к первой паре электродов последующего витка спирали.

3. Устройство по п.1, отличающееся тем, что блок электроразрядных каналов свернут в цилиндрическую спираль, при этом разнополярные электроды расположены на разных коаксиальных цилиндрических поверхностях, причем последняя пара электродов каждого витка спирали установлена примыкающей через электроизолятор к первой паре электродов последующего витка спирали.

4. Устройство по п.1, или 2, или 3, отличающееся тем, что по крайней мере в одном канале содержится электроизоляционная перегородка, установленная вдоль электродов и перекрывающая канал в плоскости, перпендикулярной плоскости электродов данного канала.

Описание

[1]

Изобретение относится к средствам защиты электрических сетей и предназначено для ограничения и отключения тока электрической цепи. Преимущественно данное изобретение может быть использовано в устройствах защиты электрических сетей и источников электрической энергии от перегрузок при коммутации электрической цепи, например, в результате коротких замыканий.

[2]

Известно устройство для ограничения и выключения тока электрической цепи, содержащее два параллельных электрода, соединенных между собой устройством для инициирования электрического разряда, которое подключено со стороны концов электродов, предназначенных для их включения в защищаемую электрическую цепь [1].

[3]

Данное устройство имеет относительно низкую эффективность, так как рассеяние энергии при ограничении тока короткого замыкания происходит преимущественно в электрической дуге, а при гашении дуги возникает перенапряжение в защищаемой цепи.

[4]

Наиболее близким по конструкции и принципу действия устройством, выбранным в качестве прототипа, является устройство для ограничения и отключения тока электрической цепи, содержащее два параллельных электрода изготовленных из резистивного материала, входные концы которых, предназначенные для включения в защищаемую электрическую цепь, соединены между собой устройством для инициирования электрического разряда [2].

[5]

Недостатком такого устройства является низкая эффективность при использовании его для защиты цепей относительно малой мощности. Это связано с тем, что электромагнитная сила, перемещающая дугу вдоль электродов, обратно пропорциональна квадрату тока цепи, а следовательно, при относительно малых токах затруднено плавное введение сопротивления электродов, ограничивающего этот ток.

[6]

Техническим результатом настоящего изобретения является повышение эффективности путем стабилизации дугового разряда общим магнитным полем нескольких пар электродов, при относительно малой мощности защищаемой цепи.

[7]

Для достижения указанного технического результата предложено усовершенствовать устройство для ограничения и отключения тока электрической цепи, содержащее два параллельных электрода изготовленных из резистивного материала, входные концы которых, соединены между собой устройством для инициирования электрического разряда. Усовершенствование заключается в том, что введены дополнительные пары электродов с соответствующими устройствами для инициирования электрического разряда, причем входные концы всех электродов соединены токопроводными перемычками, образующими последовательное соединение всех устройств для инициирования электрического разряда. Пары основных и дополнительных электродов разделены изоляторами и образуют единый блок электроразрядных каналов, в котором электроды всех пар, имеющие одинаковую полярность, расположены друг над другом стопой.

[8]

Во втором варианте реализации предложенного устройства блок электроразрядных каналов свернут в плоскую спираль, при этом разнополярные электроды расположены в параллельных плоскостях, причем последняя пара электродов каждого витка спирали установлена примыкающей через электроизолятор к первой паре электродов последующего витка спирали.

[9]

В третьем варианте реализации предложенного устройства блок электроразрядных каналов свернут в цилиндрическую спираль, при этом разнополярные электроды расположены на разных коаксиальных цилиндрических поверхностях, причем последняя пара электродов каждого витка спирали установлена примыкающей через электроизолятор к первой паре электродов последующего витка спирали.

[10]

В четвертом варианте реализации предложенного устройства на выходном конце, по крайней мере, одного канала содержится электроизоляционная перегородка, установленная вдоль электродов и перекрывающая канал в плоскости, перпендикулярной плоскости электродов данного канала по высоте.

[11]

Сущность предложенного изобретения поясняется прилагаемыми чертежами. На фиг. 1 показана электрическая схема предложенного устройства. На фиг.2 показано поперечное сечение предложенного устройства. На фиг.3 и фиг.4 показаны чертежи по второму варианту реализации предложенного устройства. На фиг.5, фиг. 6 и фиг.7 показаны чертежи третьего варианта реализации предложенного устройства. На фиг.8 и фиг.9 показана конструкция выходного конца каналов по четвертому варианту реализации предложенного устройства.

[12]

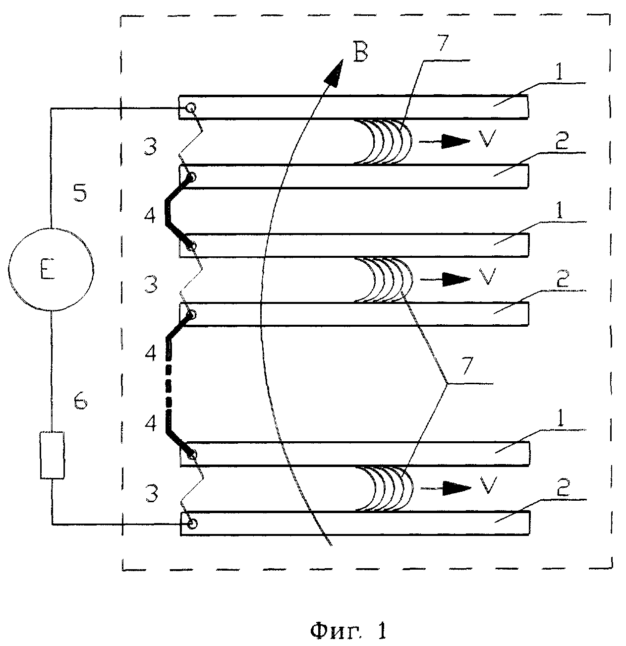
На фиг.1 устройство для ограничения и отключения тока электрической цепи содержит три канала, образованные парами электродов 1 и 2, изготовленных из резистивного материала с повышенным электрическим удельным сопротивлением. Входы каналов, образованные начальными концами электродов 1 и 2 шунтированы устройствами для инициирования электрического разряда 3, например предохранительными плавкими вставками. Кроме того, входы каналов соединены электропроводными перемычками 4 так, что устройства для инициирования электрического разряда 3 соединены последовательно. При этом начальный конец электрода 2 i-го канала соединен с началом электрода 1 i+1-го канала токопроводной перемычкой 4. Входной конец электрода 1 первого канала и входной конец электрода 2 последнего канала, подключены к внешней защищаемой цепи, содержащей источник электрической энергии 5 и нагрузку 6, ток которой необходимо ограничить и отключить.

[13]

Для более наглядного описания, в дальнейшем, принципа действия дополнительно стрелкой В отмечено общее суммарное магнитное поле всех каналов, а стрелками V показан вектор скорости движения электрических дуг 7 после перегорания плавких вставок 3.

[14]

На фиг. 2 показано поперечное сечение каналов предлагаемого устройства имеющего блок из трех электроразрядных каналов, образованных парами электродов 1 и 2, размещенных в электроизоляционном корпусе 8. При этом электроды 1 одной полярности, так же как и электроды 2 другой полярности расположены соответственно друг над другом (отдельными стопами). Каналы разделены друг от друга слоем электроизолятора корпуса 8.

[15]

На фиг.3 в другом варианте реализации предложенного устройства, показана форма блока каналов 8 в виде плоской спирали. Позициями 9 и 10 отмечены соответственно, входной и выходной конец блока каналов. На фиг.4 показано поперечное сечение двух витков плоской спирали. При этом электроды 1 одной полярности, также как и электроды 2 другой полярности, но разных витков спирали, расположены рядом друг с другом стопами через слой электроизолятора корпуса 8.

[16]

На фиг.5 и 6 показаны две проекции конструкции предложенного устройства по третьему варианту реализации, а на фиг.7 поперечное сечение трех витков спирали, в которой блоки электроразрядных каналов свернуты в цилиндрические спирали. При этом электроды 1 одной полярности, также как и электроды 2 другой полярности, но разных витков спирали, расположены рядом друг с другом стопами через слой электроизолятора корпуса 8. Позициями 9 и 10 отмечены соответственно, входной и выходной конец блока каналов.

[17]

На фиг. 7 стрелками В показано суммарное магнитное поле всех каналов в результате протекания электрического тока по двум виткам спирали при указанном расположении электродов.

[18]

На фиг. 8 и фиг.9 показана конструкция выходного конца блока электроразрядных каналов в двух проекциях по четвертому варианту реализации предложенного устройства. На чертеже фиг.8 обозначены концы разнополярных рельсов 1 и 2, электроизолятор 8 и электроизоляционные перегородки 11, установленные, в данном случае, в первом и последнем канале блока. На продольном сечении Д-Д фиг.9 видны электроды 2, электроизолятор 8 и электроизоляционные перегородки 11.

[19]

Работа предлагаемого устройства (фиг.1, фиг.2) осуществляется следующим образом. В исходом состоянии электрический ток от источника электрической энергии 5 протекает по нагрузке 6 и по последовательно соединенным перемычками 4 устройствам для инициирования электрического разряда 3, в данном примере по плавким вставкам предохранителя, подключенным к электродам на входе соответствующих электроразрядных каналов. При одновременном разрушении плавких вставок, например, плавлении и обрыве в результате токовой перегрузки и воздействия общего суммарного магнитного поля В всех каналов, на входе каналов между электродами 1 и 2 возникают электрические дуги 7, которые под действием суммарного магнитного поля В электродов всех каналов перемещаются вдоль электродов со скоростью V. По мере движения дуг, в цепь последовательно с нагрузкой включаются участки электродов 1 и 2, изготовленных из резистивного материала с повышенным удельным сопротивлением, от точек подключения внешней цепи до дуги. В результате падения напряжения на указанных участках электродов, а также на сопротивлениях электрических дуг, ограничивается и уменьшается ток внешней цепи. Электрическая дуга гаснет в результате уменьшения тока. При этом отключается ток нагрузки 4. Плавное введение возрастающего активного сопротивления последовательно во внешнюю цепь позволяет рассеять энергию, накопленную в индуктивности внешней цепи и снизить коммутационные перенапряжения. Воздействие на электрический разряд каждого канала суммарного магнитного поля всех каналов позволяет получить устойчивый компактный по длине дуговой разряд и одновременное движение всех дуг к выходным концам каналов. Это способствует восстановлению электрической прочности на участках каналов, близких ко входу и, тем самым, предотвращает повторные электрические разряды на входных концах каналов, возможные в результате падения напряжения на вводимых, по мере движения дуг, сопротивлениях электродов. Величина общего сопротивления электродов выбирается из условий требуемой кратности ограничения (снижения) тока. Например, для защиты от короткого замыкания электрическое сопротивление электродов может быть соизмеримым с номинальным сопротивлением нагрузки.

[20]

Устройство с конфигурацией каналов, показанных на фиг.3 и фиг.5, работает аналогично устройству с прямыми электродами и позволяет уменьшить габариты. Кроме того, в устройствах фиг.3 и фиг.5 после прохождения дугами первого витка спирали каналов, на дуги действует суммарное магнитное поле В от токов рельсов всех пройденных витков. На фиг.4 показано магнитное поле В при движении дуг по второму витку двухвитковой плоской спирали блока каналов. На фиг. 7 показано магнитное поле В при движении дуг по второму витку трехвитковой цилиндрической спирали блока каналов. В этих случаях общее магнитное поле в районе дуг повышено за счет магнитного поля других витков. Следовательно, электрическая дуга будет эффективнее перемещаться при меньших токах. Кроме того, в таких устройствах более высокое значение величины индуктивной составляющей вводимого сопротивления, что повышает эффективность ограничения тока внешней цепи.

[21]

Электроизоляционные перегородки 11, установленные в выходных концах первого и третьего каналов, показанные на фиг.8 и фиг.9, гасят дуги до выхода из каналов, тем самым предотвращают замыкание дуги между электродами первого и последнего каналов, а следовательно повторное нарастание тока.

[22]

Изобретение позволяет упростить конструкцию устройства для ограничения и отключения тока электрической цепи и повысить быстродействие коммутации при малых коммутационных перенапряжениях, благодаря рассеянию энергии индуктивностей коммутируемой цепи на вводимом активном сопротивлении рельсов. На опытном образце предложенного устройства, содержащем шесть каналов, получено снижение аварийного тока более чем в сорок раз (с 8000 А в момент перегорания плавких вставок, до величины менее чем 200 А в момент погасания дуги) в течение 7-8 миллисекунд.

[23]

Источники информации
1. С.Н. Захаров, Я.Н. Шерман, И.Б. Болотин. Устройство для осуществления движения электрической дуги но замкнутому контуру. Авторское свидетельство СССР 112017, кл. МКИ С 01 R 31/02, H 01 Т 1/02 от 02.08.1958.

[24]

2. А.Е. Полтанов, А.П. Глинов, А.К. Кондратенко, В.Н. Рындин. Устройство для ограничения и отключения тока электрической цепи. Заявка на выдачу патента РФ 98110232/09 (011288) от 26.05.1998.

Как компенсировать расходы
на инновационную разработку
Похожие патенты