патент
№ RU 2657896
МПК C23C14/24

Устройство для синтеза покрытий

Авторы:
Волосова Марина Александровна Мельник Юрий Андреевич Метель Александр Сергеевич
Все (4)
Номер заявки
2017131582
Дата подачи заявки
11.09.2017
Опубликовано
18.06.2018
Страна
RU
Как управлять
интеллектуальной собственностью
Чертежи 
1
Реферат

Изобретение относится к устройству для синтеза покрытий на изделиях. Устройство содержит рабочую вакуумную камеру, размещенный на дне камеры тигель со слитком испаряемого металла внутри него, держатель подложки, источник напряжения смещения и источник питания разряда. Источник напряжения смещения соединен отрицательным полюсом с держателем подложки, а источник питания разряда соединен отрицательным полюсом с камерой. Внутри камеры установлен изолированный от нее электрод, который соединен с положительным полюсом источника напряжения смещения. Тигель изолирован от камеры и соединен с положительным полюсом источника питания разряда. Технический результат - повышение качества синтезируемого покрытия. 1 ил.

Формула изобретения

Устройство для синтеза покрытий, содержащее рабочую вакуумную камеру, тигель со слитком испаряемого металла внутри него, размещенный на дне камеры, держатель подложки, источник напряжения смещения, соединенный отрицательным полюсом с держателем подложки, и источник питания разряда, соединенный отрицательным полюсом с упомянутой камерой, отличающееся тем, что оно снабжено изолированным от камеры и установленным внутри нее электродом, соединенным с положительным полюсом источника напряжения смещения, при этом тигель изолирован от камеры и соединен с положительным полюсом источника питания разряда.

Описание

[1]

Изобретение относится к машиностроению, в частности к устройствам для синтеза покрытий на изделиях в вакуумной камере.

[2]

Известно устройство для синтеза покрытий с магнетронами, в котором плоские мишени из необходимого металла распыляются ионами аргона из плазмы тлеющего разряда в арочном магнитном поле вблизи поверхности мишени, являющейся катодом разряда (Патент США №3878085, 1975 г.). При бомбардировке мишени ионами она эмитирует распыленные атомы металла, осаждающиеся на погруженные в газоразрядную плазму изделия. Свойства осаждаемого покрытия улучшаются с ростом плотности энергии, выделяемой ионами на поверхности покрытия, пропорциональной концентрации плазмы. Недостатком устройства является неоднородность плазмы, концентрация которой снижается в центре рабочей вакуумной камеры в десятки раз по сравнению с ее величиной в области арочного магнитного поля у поверхности мишени на стенке камеры. Из-за этого плотность энергии, выделяемой ионами на поверхности покрытия, не достаточна для достижения нужных параметров синтезируемых покрытий. Кроме того, при синтезе химических соединений металлов, например износостойкого покрытия из нитрида титана, добавление к аргону химически активного газа в несколько раз снижает скорость распыления мишени и осаждения покрытия.

[3]

Известно устройство для синтеза покрытий с дуговыми испарителями металла, в которых мишени из необходимого металла испаряются катодными пятнами вакуумно-дугового разряда между рабочей вакуумной камерой и мишенью (Патент США №5451308, 1995 г.). При давлении газа 0,001 Па эмитируемые катодными пятнами ионы металла, например титана, осаждаются на поверхности установленных в камере изделий в виде покрытий из титана. В случае термического испарения металла скорость осаждения покрытия в результате напуска в камеру химически активного газа не снижается. При подаче в камеру азота до давления 0,1-0,5 Па ионы титана на пути к изделию многократно сталкиваются с молекулами азота, перезаряжаются и становятся нейтральными атомами титана. На поверхности изделия они вступают в реакцию с азотом, образуя износостойкое покрытие из нитрида титана.

[4]

Недостатком устройства являются эмитируемые катодными пятнами микроскопические капли металла, наличие которых в синтезируемом покрытии ограничивает область его применения.

[5]

Наиболее близким решением по технической сущности к изобретению является устройство для синтеза покрытий, содержащее рабочую вакуумную камеру, тигель на дне камеры со слитком испаряемого металла внутри него, электронную пушку рядом с тиглем, источник ускоряющего напряжения пушки, магнитную систему отклонения электронного пучка на поверхность слитка испаряемого металла, источник питания магнитной системы, держатель подложки над тиглем, источник напряжения смещения, отрицательным полюсом соединенный с держателем подложки, а положительным полюсом соединенный с камерой, анод газового разряда в промежутке между подложкой и тиглем и источник питания разряда, отрицательным полюсом соединенный с камерой, а положительным полюсом - с анодом (R. Ramaseshan, Feby Jose, S. Rajagopalan and S. Dash, Preferentially oriented electron beam deposited TiN thin films using focused jet of nitrogen gas, Surface Engineering, Institute of Materials, Minerals and Mining Published by Taylor & Francis on behalf of the Institute Received 6 November 2015; accepted 24 February 2016 DOI 10.1080/02670844.2016.1159832, p. 1-6).

[6]

Электронный пучок мощностью 250 Вт испаряет титан в тигле, атомы титана летят на подложку и вступают на ее поверхности в реакцию с азотом, образуя покрытие из нитрида титана. При давлении азота в камере 0,05 Па и напряжении на аноде 100 В ток разряда в его цепи равен 5 А. В то же время ток ионов из разрядной плазмы на подложку под отрицательным напряжением -500 В настолько мал, что ионы с энергией 500 эВ не могут нагреть ее до рабочей температуры 250°С, и приходится использовать резистивный нагреватель. Большой ток в цепи анода переносится электронами, эмитируемыми сгустками плотной плазмы разряда в магнитном поле в парах титана над испаряемой электронным лучом поверхностью. Ток практически всех ионов из этой плазмы протекает в цепи тигля, а на подложку приходит лишь незначительное число ионов. Энергия, выделяемая на подложке ионами, все же превышает порог активации реакции синтеза, и на поверхности подложки осаждается покрытие из нитрида титана. Микроскопические капли металла в покрытии практически отсутствуют, а скорость испарения металла и осаждения покрытия не зависит рода рабочего газа, будь то инертный или химически активный газ.

[7]

Недостатком устройства-прототипа является неоднородность распределения плазмы в рабочей камере и низкая концентрация плазмы, не обеспечивающая очистку и нагрев подложки перед синтезом покрытия, а также бомбардировку покрытия ионами в процессе его синтеза.

[8]

Задачей предложенного решения является создание устройства для синтеза покрытий, которое обеспечивало бы независимость скорости осаждения покрытий от рода рабочего газа, отсутствие в покрытиях микроскопических капель металла и однородность распределения концентрации плазмы в рабочей камере.

[9]

Технический результат - повышение качества синтезируемого покрытия.

[10]

Поставленная задача решается, а заявленный технический результат достигается тем, что устройство для синтеза покрытий, содержащее рабочую вакуумную камеру, тигель на дне камеры со слитком испаряемого металла внутри него, держатель подложки, источник напряжения смещения, отрицательным полюсом соединенный с держателем подложки, и источник питания разряда, соединенный отрицательным полюсом с камерой, дополнительно содержит изолированный от камеры и установленный внутри нее электрод, соединенный с положительным полюсом источника напряжения смещения, а тигель изолирован от камеры и соединен с положительным полюсом источника питания разряда.

[11]

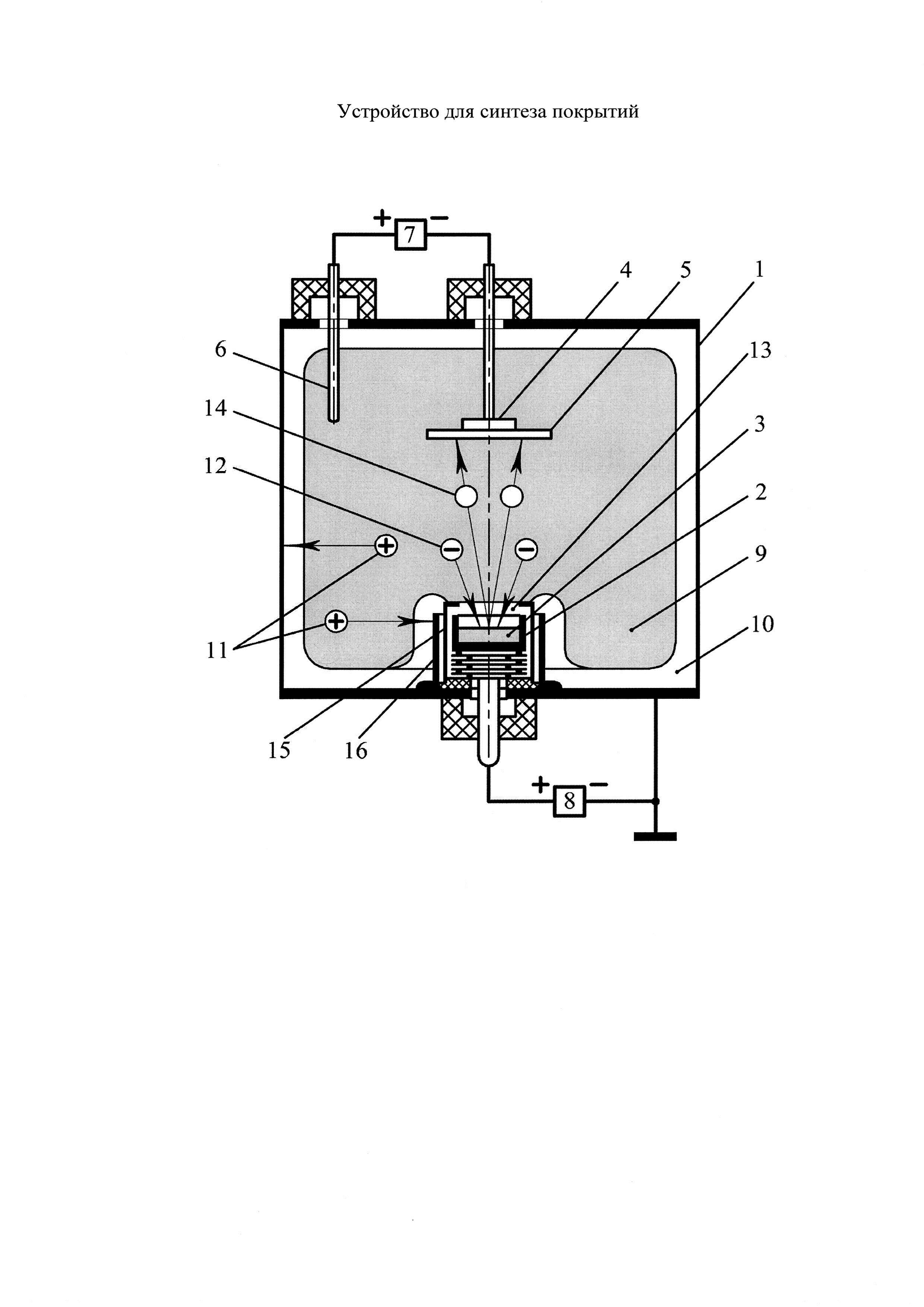
Изобретение поясняется чертежом, на котором изображена схема устройства для синтеза покрытий.

[12]

Устройство для синтеза покрытий содержит рабочую вакуумную камеру 1, изолированный от камеры 1 тигель 2 на ее дне со слитком 3 испаряемого металла, изолированный от камеры 1 держатель 4 подложки 5 внутри нее, изолированный от камеры 1 электрод 6 внутри нее, источник напряжения смещения 7, соединенный отрицательным полюсом с держателем 4 подложки 5, а положительным полюсом - с электродом 6, и источник питания разряда 8, соединенный отрицательным полюсом с камерой 1, а положительным полюсом - с тиглем 2.

[13]

Устройство работает следующим образом.

[14]

Рабочую вакуумную камеру 1 с обрабатываемой подложкой 5 внутри нее откачивают до давления 1 мПа, затем подают в камеру 1 рабочий газ, например азот, и увеличивают давление в камере 1 до 0,1-0,5 Па. Включением источника 8 прикладывают между камерой 1 и тиглем 2 напряжение в несколько сотен вольт. В результате зажигается тлеющий разряд с полым катодом, роль которого играет камера 1, и анодом, роль которого играет, например, молибденовый тигель 2 (материал тигеля традиционно выбирается из условий теплостройкости и химической инертности по отношению к испаряемым металлам и реакционным газам). Камера 1 заполняется однородной плазмой 9, отделенной от ее стенок катодным слоем 10 объемного заряда бомбардирующих стенки камеры 1 ионов 11 (Метель А.С., Григорьев С.Н., Мельник Ю.А., Панин В.В. Заполнение рабочей камеры технологической установки однородной плазмой с помощью стационарного тлеющего разряда // Физика плазмы. 2009. Т. 35. №12. С. 1140-1149). При бомбардировке ионами 11 камера 1 эмитирует электроны, которые ускоряются в катодном слое 10 напряжением в сотни вольт. Каждый ускоренный электрон пролетает через камеру 1 и отражается в катодном слое у ее противоположной стенки. До попадания на анод 2 держатель 4 или подложку 5 электрон проходит внутри камеры 1, многократно отражаясь от ее стенок, путь, на два порядка превышающий ее размеры. Ускоренные электроны успевают побывать во всех частях камеры 1 и поэтому вероятность ионизации ими газа и концентрация образованной плазмы распределены достаточно однородно.

[15]

Когда площадь поверхности анода 2 меньше пороговой величины S*=(2m/M)1/2S, где m - масса электрона, М - масса иона рабочего газа, a S - площадь внутренней поверхности камеры 1, потенциал анода 2 выше потенциала плазмы 9, электроны 12 ускоряются из плазмы 9 в слое отрицательного объемного заряда 13 и бомбардируют анод 2. Если давление реакционного газа, например азота, равно 0,2 Па, то анодное падение потенциала не превышает 50 В, и нагрев анода-тигля 2 пренебрежимо мал. При включении источника 7 все напряжение смещения сосредотачивается в слое объемного заряда между плазмой 9 и подложкой 5 с держателем 4, а разность потенциалов между плазмой 9 и электродом 6 не превышает 10 В. Если, например, ток ионов в цепи подложки равен 0,2 А, а напряжение смещения равно 1 кВ, то выделяемая на поверхности подложки 5 мощность 0,2 кВт достаточна для ее эффективного нагрева и очистки перед синтезом покрытия на ее поверхности.

[16]

Однако при уменьшении давления азота до 0,02 Па анодное падение потенциала при токе разряда 0,2 А увеличивается до 2 кВ, а электрическая мощность нагрева анода возрастает в 40 раз. Ускоренные электроны нагревают и расплавляют, например, слиток титана 3 (исходя из назначения покрытия материал покрытия может быть и другим) внутри молибденового тигля 2, и атомы титана 14 летят на подложку 5. На поверхности подложки 5 они вступают в реакцию с азотом, образуя покрытие из нитрида титана. При синтезе этого покрытия его поверхность бомбардируют ионы азота, ускоряемые напряжением 80-200 В источника 7. Бомбардировка ионами улучшает адгезию покрытия, повышает его плотность и твердость. Изолированный от камеры 1 цилиндрический экран 15 снижает поток теплового излучения от тигля 2 на соединенный электрически с камерой 1 цилиндр 16, который отражает осциллирующие в камере 1 быстрые электроны, эмитированные ее стенками.

[17]

При постоянном разрядном токе анодное падение потенциала возрастает с уменьшением давления до определенного предела, обратно пропорционального току. Эксперименты с испарением титана в молибденовом тигле показали, что при любом разрядном токе рост анодного падения прекращается при средней плотности мощности, выделяемой электронами на поверхности жидкого титана, равной 0,5 кВт/см2. Дальнейшее уменьшение давления и плотности молекул азота над поверхностью жидкого титана практически не влияет на анодное падение потенциала, больше зависящее от плотности испаряемых атомов титана.

[18]

При внутреннем диаметре 2 см молибденового тигля 2 и токе 1,5 А в его цепи уменьшение давления азота до 0,03 Па привело к повышению разрядного напряжения между тиглем и камерой до 1,5 кВ, а анодного падения - до 1 кВ. При достигнутой мощности 1,5 кВт нагрева титана в тигле на установленной на расстоянии 15 см от тигля подложке из быстрорежущей стали было получено за 1 час покрытие с микротвердостью 2300 HV золотистого цвета толщиной 5 мкм из нитрида титана. Микроскопических капель титана в покрытии не обнаружено. В процессе синтеза покрытие бомбардировали ионы азота при напряжении смещения 100 В источника 7. При ограничении плотности мощности нагрева величиной 0,5 кВт/см2 повышение скорости осаждения покрытий возможно лишь в результате увеличения площади испаряемой поверхности, т.е. размеров тигля.

[19]

Использование изолированного от камеры тигля, соединенного с положительным полюсом источника питания разряда, позволяет заполнять камеру однородной плазмой, нагревать ускоряемыми положительным анодным падением потенциала электронами и испарять помещенный в тигель металл, создавая поток атомов металла на погруженную в плазму подложку, что обеспечивает независимость скорости осаждения покрытий от рода рабочего газа, отсутствие в покрытиях микроскопических капель металла и однородность распределения концентрации плазмы в камере, повышающей однородность плотности тока ионов на поверхности покрытия и, как следствие, повышение качества последнего.

[20]

Использование изолированного от камеры и установленного внутри нее электрода, соединенного с положительным полюсом источника напряжения смещения, позволяет регулировать энергию бомбардирующих подложку ионов в широком диапазоне независимо от величины анодного падения потенциала и скорости испарения металла в тигле, что в результате предварительного нагрева и очистки подложки ионами с энергией до 0,5-1 кэВ обеспечивает адгезию покрытия, а в результате бомбардировки покрытия ионами с энергией до 100 эВ обеспечивает повышение плотности и твердости покрытия и, как следствие, повышение качества последнего.

[21]

По сравнению с прототипом предлагаемое устройство для синтеза покрытий позволяет получать на изделиях с разными геометрическими формами и большими размерами покрытия с повышенной адгезией и твердостью. Это в свою очередь обеспечивает более высокую износостойкость покрытий.

[22]

Изложенное позволяет сделать вывод о том, что поставленная задача - создание устройства для синтеза покрытий на изделиях, которое обеспечивало бы независимость скорости осаждения покрытий от рода рабочего газа, отсутствие в покрытиях микроскопических капель металла, и однородность распределения концентрации плазмы в рабочей камере - решена, а технический результат - повышение качества синтезируемого покрытия - достигнут.

[23]

Анализ заявленного технического решения на соответствие условиям патентоспособности показал, что указанные в независимом пункте формулы признаки являются существенными и взаимосвязаны между собой с образованием устойчивой совокупности неизвестной на дату приоритета из уровня техники необходимых признаков, достаточной для получения требуемого синергетического (сверхсуммарного) технического результата.

[24]

Таким образом, вышеизложенные сведения свидетельствуют о выполнении при использовании заявленного технического решения следующей совокупности условий:

[25]

- объект, воплощающий заявленное техническое решение, при его осуществлении предназначен для синтеза на изделиях покрытий, не содержащих микроскопических капель металла, с повышенной на всей поверхности изделия однородностью свойств покрытия;

[26]

- для заявленного объекта в том виде, как он охарактеризован в нижеизложенной формуле, подтверждена возможность его осуществления с помощью вышеописанных в заявке или известных из уровня техники на дату приоритета средств и методов;

[27]

- объект, воплощающий заявленное техническое решение, при его осуществлении способен обеспечить достижение усматриваемого заявителем технического результата.

[28]

Следовательно, заявленный объект соответствует требованиям условий патентоспособности «новизна», «изобретательский уровень» и «промышленная применимость» по действующему законодательству.

Как компенсировать расходы
на инновационную разработку
Похожие патенты