патент
№ RU 2690118
МПК F16D21/06
Номер заявки
2018128147
Дата подачи заявки
01.08.2018
Опубликовано
30.05.2019
Страна
RU
Как управлять
интеллектуальной собственностью
Чертежи 
3
Реферат

Изобретение относится к области машиностроения, а более конкретно к двойным сцеплениям. Двойное сцепление с гасителем крутильных колебаний содержит корпус (9), пакеты фрикционных дисков (3, 5) и (4, 6) разного размера, гаситель крутильных колебаний (7), маятниковый антивибратор (8), гидроцилиндры с поршнями (36 и 42) разного диаметра. Диски расположены концентрично между собой и с гасителем (7) крутильных колебаний. Корпус (9) имеет боковую стенку (11), на которой установлен маятниковый антивибратор (8). На стенке (11) закреплен обод (16), окружающий поршень (36), расположенный напротив пакета фрикционных дисков (3 и 5). Гаситель (7) содержит дуговые пружины (23), размещенные между крышками (18) и (26), имеющими шлицевое соединение с диском (29) ведущего вала (30) сцепления и с ободом (16). Достигается повышение ремонтопригодности. 6 з.п. ф-лы, 4 ил.

Формула изобретения

1. Двойное сцепление с гасителем крутильных колебаний, содержащее корпус, пакеты фрикционных дисков разного размера, расположенные концентрично между собой и с гасителем крутильных колебаний, маятниковый антивибратор, гидроцилиндры с поршнями разного диаметра, отличающееся тем, что корпус сцепления имеет боковую стенку, на которой установлен маятниковый антивибратор и закреплен обод, окружающий поршень большего диаметра, расположенный напротив пакета фрикционных дисков большего диаметра, гаситель крутильных колебаний содержит дуговые пружины, размещенные между крышками, имеющими шлицевое соединение с диском ведущего вала сцепления и с ободом.

2. Двойное сцепление по п. 1, отличающееся тем, что крышки гасителя крутильных колебаний имеют внутренние шлицевые участки, а диск ведущего вала и обод имеют наружные шлицевые участки, расположенные в крышках между их внутренним бортом и упорным кольцом.

3. Двойное сцепление по п. 1, отличающееся тем, что маятниковый антивибратор содержит наружную и внутреннюю маятниковые массы, шарнирно установленные на боковой стенке корпуса по разные ее стороны.

4. Двойное сцепление по п. 3, отличающееся тем, что боковая стенка корпуса сделана с внешним кольцевым выступом, на котором расположен поршень большего диаметра, и с внутренним кольцевым выступом, окружающим поршень меньшего диаметра, на внешнем кольцевом выступе боковой стенки корпуса сделаны наружный и внутренний зубчатые участки, с наружным зубчатым участком зацеплены поршень большего диаметра и ведущие диски, расположенные в пакете большего диаметра, с внутренним зубчатым участком зацеплены ведущие диски, расположенные в пакете меньшего диаметра.

5. Двойное сцепление по п. 4, отличающееся тем, что внутренняя маятниковая масса антивибратора расположена на боковой стенке корпуса между ее внешним кольцевым выступом, на котором расположен поршень большего диаметра, и внутренним кольцевым выступом, окружающим поршень меньшего диаметра.

6. Двойное сцепление по п. 4, отличающееся тем, что внутри обода на поршне большего диаметра установлена крышка компенсационной камеры, в цилиндрической стенке поршня большего диаметра в промежутке между его торцевой стенкой и крышкой компенсационной камеры выполнено отверстие, расположенное напротив радиального отверстия, сделанного во внешнем кольцевом выступе боковой стенки корпуса.

7. Двойное сцепление по п. 4, отличающееся тем, что в поршне меньшего диаметра установлена цилиндрическая оболочка с боковым опорным участком, окружающая крышку его компенсационной камеры, между крышкой камеры и опорным участком оболочки, соприкасающимся с поршнем, установлена пружина.

Описание

[1]

Техническое решение относится к транспортным средствам. Оно касается двойного сцепления с гасителем крутильных колебаний, используемым для снижения амплитуды крутильных колебаний.

[2]

Известны различные конструкции двойных сцеплений с гасителем крутильных колебаний, которые показаны в патентах США №9080636 F16D 21/06, №7743898 F16D 25/10, №6401894 F16D 25/14 и в патенте №1174633 F16D 25/10, выданном Европейским патентным ведомством.

[3]

В качестве прототипа принято двойное сцепление с гасителем крутильных колебаний, показанное в патенте США №9080636. Оно содержит единый сварной корпус, во внутренней полости которого размещены корпус гидроцилиндров с концентрично расположенными пакетами дисков разного размера, маятниковый антивибратор и элементы гасителя крутильных колебаний. В этом двойном сцеплении исключен прямой доступ к уплотнительным элементам поршней его гидроцилиндров, фрикционным дискам муфт для их замены при износе, к тарельчатым пружинам, маятниковым массам, а также к элементам гасителя крутильных колебаний в случае выхода их из строя, что усложняет сборку и разборку двойного сцепления, ухудшает его ремонтопригодность. При этом последовательное расположение в этом двойном сцеплении гидроцилиндров с поршнями за пакетами дисков, установка одного из гидроцилиндров с поршнем и возвратной пружиной за корпусом гидроцилиндров рядом с трубкой отвода рабочей жидкости из внутренней полости корпуса увеличивает осевой габаритный размер сцепления.

[4]

Задача - обеспечение доступа к уплотнительным элементам поршней гидроцилиндров, к фрикционным дискам муфт для их замены при износе, к тарельчатым пружинам, шарнирам маятниковых масс, а также к элементам гасителя крутильных колебаний в случае выхода их из строя с обеспечением уменьшения осевого габаритного размера двойного сцепления для упрощения его размещения в картере коробки передач.

[5]

Решение задачи обеспечения доступа к уплотнительным элементам поршней гидроцилиндров, фрикционным дискам муфт, тарельчатым пружинам, шарнирам маятниковых масс, а также к элементам гасителя крутильных колебаний достигается тем, что в двойном сцеплении с гасителем крутильных колебаний, содержащем корпус, пакеты фрикционных дисков разного размера, расположенные концентрично между собой и с гасителем крутильных колебаний, маятниковый антивибратор, гидроцилиндры с поршнями разного диаметра, корпус сцепления имеет боковую стенку, на которой установлен маятниковый антивибратор и закреплен обод, окружающий поршень большего диаметра, расположенный напротив пакета фрикционных дисков большего диаметра, гаситель крутильных колебаний содержит дуговые пружины, размещенные между крышками, имеющими шлицевое соединение с диском ведущего вала сцепления и с ободом.

[6]

Вследствие такого разборного выполнения двойного сцепления с гасителем крутильных колебаний, содержащем дуговые пружины, размещенные между крышками, имеющими шлицевое соединение с диском ведущего вала сцепления и с ободом, закрепленным на боковой стенке корпуса, на которой установлен маятниковый антивибратор, обеспечивается доступ к уплотнительным элементам поршней гидроцилиндров, к фрикционным дискам муфт для их замены при износе, к тарельчатым пружинам, к шарнирам маятниковых масс, а также к элементам гасителя крутильных колебаний в случае выхода их из строя.

[7]

Крышки гасителя крутильных колебаний имеют внутренние шлицевые участки, а диск ведущего вала и обод имеют наружные шлицевые участки, расположенные в крышках между их внутренним бортом и упорным кольцом.

[8]

Маятниковый антивибратор содержит наружную и внутреннюю маятниковые массы, шарнирно установленные на боковой стенке корпуса по разные ее стороны.

[9]

Боковая стенка корпуса сделана с внешним кольцевым выступом, на котором расположен поршень большего диаметра, и с внутренним кольцевым выступом, окружающим поршень меньшего диаметра, на внешнем кольцевом выступе боковой стенки корпуса сделаны наружный и внутренний зубчатые участки, с наружным зубчатым участком зацеплены поршень большего диаметра и ведущие диски, расположенные в пакете большего диаметра, с внутренним зубчатым участком зацеплены ведущие диски, расположенные в пакете меньшего диаметра. При таком выполнении боковой стенки корпуса двойного сцепления достигается уменьшение осевого габаритного размера двойного сцепления для упрощения его размещения в картере коробки передач. Этому способствует отсутствие необходимости в дополнительных элементах для отвода рабочей жидкости из внутренней полости корпуса сцепления.

[10]

Внутренняя маятниковая масса антивибратора расположена на боковой стенке корпуса между ее внешним кольцевым выступом, на котором расположен поршень большего диаметра, и внутренним кольцевым выступом, окружающим поршень меньшего диаметра.

[11]

Внутри обода на поршне большего диаметра установлена крышка компенсационной камеры, в цилиндрической стенке поршня большего диаметра в промежутке между его торцевой стенкой и крышкой компенсационной камеры выполнено отверстие, расположенное напротив радиального отверстия, сделанного во внешнем кольцевом выступе боковой стенки корпуса.

[12]

В поршне меньшего диаметра установлена цилиндрическая оболочка с боковым опорным участком, окружающая крышку его компенсационной камеры, между крышкой камеры и опорным участком оболочки, соприкасающимся с поршнем, установлена пружина.

[13]

Технический результат, обеспечиваемый изобретением, заключается в улучшении ремонтопригодности двойного сцепления с гасителем крутильных колебаний с обеспечением уменьшения его осевого габаритного размера для упрощения его размещения в картере коробки передач.

[14]

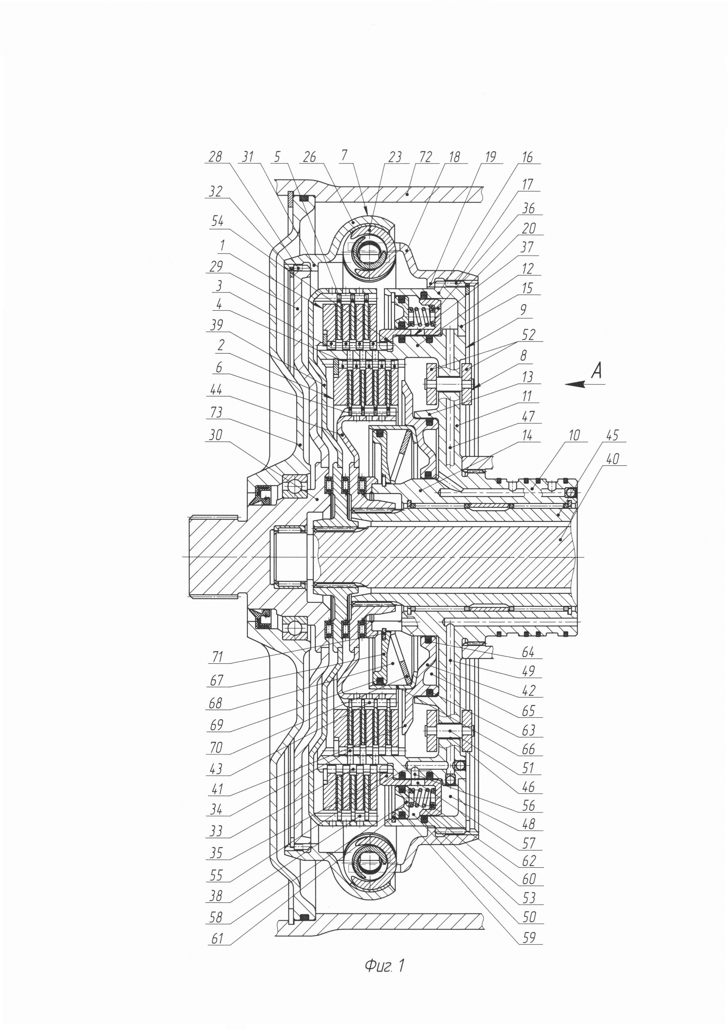
На фигуре 1 показано двойное сцепление с гасителем крутильных колебаний, продольный разрез.

[15]

На фигуре 2 показаны дуговые пружины гасителя крутильных колебаний, часть изометрического изображения.

[16]

На фигуре 3 показана маятниковая масса антивибратора по виду А.

[17]

На фигуре 4 показано двойное сцепление с гасителем крутильных колебаний в разрезе при его последовательной разборке.

[18]

Двойное сцепление с гасителем крутильных колебаний, показанное на фигуре 1, содержит муфты 1 и 2 с концентрично расположенными пакетами ведущих дисков 3 и 4 и ведомых фрикционных дисков 5 и 6 разного диаметра. Гаситель 7 крутильных колебаний и маятниковый антивибратор 8 установлены в корпусе 9 сцепления. Корпус 9 сцепления содержит полую ступицу 10 с боковой стенкой 11. Боковая стенка 11 сделана со ступенчатым внешним кольцевым выступом 12 и внутренним кольцевым выступом 13, окружающими внутренний цилиндрический участок 14 ступицы 10. На боковой стенке 11 установлен упомянутый маятниковый антивибратор 8. С боковой стенкой 11 корпуса сцепления соединена боковая стенка 15 цилиндрического обода 16, имеющего наружный шлицевой участок 17. С шлицевым участком 17 соединена одна из крышек 18 гасителя 7 крутильных колебаний, имеющая внутренний борт 19. Крышка 18 зафиксирована на ободе 16 от осевого перемещения ее внутренним бортом 19 и упорным кольцом 20, расположенным сбоку стенки 15 обода 16.

[19]

С противоположной стороны в крышке 18 (фигура 2) сделаны прорези 21, между краями 22 которых расположены дуговые пружины 23 гасителя 7. В поджатом состоянии дуговые пружины 23 гасителя 7 установлены также в прорезях 24 между их краями 25 в другой крышке 26 гасителя 7. Крышка 26 выполнена с выступами 27, расположенными над прорезями 24 и представляющими собой части наружной торовой поверхности, закрывающими пружины 23 снаружи, образуя для них радиальные упоры.

[20]

Крышка 26 (фигура 1) имеет внутренний шлицевой участок 28, с которым соединен диск 29 ведущего вала 30 сцепления. Диск 29 расположен в крышке 26 у ее внутреннего борта 31 и зафиксирован от осевого перемещения упорным кольцом 32. Ведущий вал 30 сцепления связан дуговыми пружинами 23 гасителя 7 крутильных колебаний с внешним ступенчатым выступом 12 боковой стенки 11 корпуса сцепления. Внешний ступенчатый выступ 12, сделанный на боковой стенке 11 корпуса сцепления, имеет наружный зубчатый участок 33 и внутренний зубчатый участок 34. С наружным зубчатым участком 33 выступа 12 зацеплены ведущие диски 3 сцепления и нажимной участок 35 поршня 36 гидроцилиндра управления муфтой 1, установленного на цилиндрическом участке 37 выступа 12. Ведомые диски 5 муфты 1 зацеплены с внутренним венцом 38 барабана 39, соединяемого с одним из первичных валов 40 коробки передач (не показана). С внутренним зубчатым участком 34 выступа 12 зацеплены ведущие диски 4 муфты 2, расположенные напротив нажимного участка 41 поршня 42 гидроцилиндра управления муфтой 2. Поршень 42 установлен на внутреннем цилиндрическом участке 14 ступицы 10 во внутреннем кольцевом выступе 13. Ведомые диски 6 муфты 2 зацеплены с наружным зубчатым венцом 43 барабана 44, соединяемого с другим первичным валом 45 коробки передач.

[21]

В боковой стенке 11 корпуса 9 между внешним и внутренним кольцевыми выступами 12 и 13 сделаны дуговые пазы 46 (фигура 3), равномерно расположенные между радиальными отверстиями 47, сообщенными с камерой 48 гидроцилиндра управления муфтой 1, и между радиальными отверстиями 49, предназначенными для подачи рабочей жидкости в компенсационную камеру 50. В дуговых пазах 46 установлены стержни 51, с которыми шарнирно соединены наружные и внутренние маятниковые массы 52 антивибратора 8. Маятниковые массы могут быть сделаны так, как показано на фигуре 3. Эти маятниковые массы 52 расположены по разные стороны боковой стенки 11 корпуса 9. Внутренняя маятниковая масса антивибратора 8 расположена на боковой стенке 11 корпуса 9 между ее внешним кольцевым выступом 12 и внутренним кольцевым выступом 13.

[22]

В ободе 16 установлено внутреннее радиальное уплотнение 53, охватывающее поршень 36, который в исходном положении установлен с упором в уступ 54. Уступ 54 сделан на цилиндрическом участке 37 внешнего кольцевого выступа 12. На выступе 12 установлены два радиальные уплотнения 55, между которыми в выступе 12 выполнены радиальные отверстия 56, расположенные напротив отверстий 57, сделанных в поршне 36 для подачи рабочей жидкости через радиальные отверстия 49 в компенсационную камеру 50. Компенсационная камера 50 закрыта крышкой 58 с наружным и внутренним радиальными уплотнениями 59 и 60 в ней. Крышка 58 зафиксирована от осевого перемещения внутренним упорным кольцом 61, установленным в ободе 16.

[23]

В компенсационной камере 50 установлены возвратные пружины 62, расположенные между крышкой 58 и поршнем 36. В поршне 42 гидроцилиндра управления муфтой 2 установлены наружное и внутреннее радиальные уплотнения 63 и 64 его рабочей камеры 65. В поршне 42 установлена цилиндрическая оболочка 66 с боковым опорным участком, окружающая крышку 67 компенсационной камеры 68, содержащую наружное радиальное уплотнение 69. В камере 68 между крышкой 67 и боковым опорным участком оболочки 66 установлена возвратная пружина 70, прижимающая оболочку 66 к поршню 42. Оболочка 66 зафиксирована от осевого перемещения упорным кольцом 71, установленным на внутреннем участке 14 ступицы 10.

[24]

Для проведения разборки двойного сцепления с гасителем крутильных колебаний его демонтируют из картера 72 коробки передач (не показана) при снятой крышке 73 (фигура 1). Разборку двойного сцепления с гасителем крутильных колебаний осуществляют в следующей последовательности (фигура 4). Снимают кольцо 32 и отсоединяют ведущий вал 30 сцепления от крышки 26. Дуговые пружины 23 совместно с крышкой 26 вынимают из прорезей 21 крышки 18. Барабаны 39 и 44 выводят из зацеплений с ведомыми дисками 5 и 6 муфт 1 и 2 соответственно. Снимают кольцо 20 и отсоединяют крышку 18 от корпуса 9 сцепления. Далее разборку корпуса 9 сцепления с элементами управления муфт 1 и 2 производят подетально. Сборку двойного сцепления с гасителем крутильных колебаний осуществляют в обратной последовательности.

[25]

Двойное сцепление с гасителем 7 крутильных колебаний работает при попеременной подаче рабочей жидкости под давлением в камеры 48 и 65 гидроцилиндров муфт 1 и 2 в зависимости от включенной передачи в коробке передач. В момент включения одной из муфт 1 или 2 крутящий момент с ведущего вала 30 передается на крышку 26 и дуговыми пружинами 23 на крышку 18 гасителя 7 крутильных колебаний, соединенную с корпусом 9 сцепления.

[26]

Под воздействием возмущающих сил возникают крутильные колебания корпуса 9, вызывающие деформацию дуговых пружин 23 и угловое смещение фрикционных дисков 5 и 6 относительно дисков 3 и 4. Это сопровождается трением между поверхностями предварительно сжатых дисков 3 и 5 в момент включения муфты 1 или трением между поверхностями предварительно сжатых дисков 4 и 6 в момент включения муфты 2. Резкие динамические нагрузки в двойном сцеплении воспринимаются дуговыми пружинами 23, уравновешивающими за счет их упругой деформации крутящий момент и исключающими возникновение резонансных частот в эксплуатационном диапазоне работы двигателя. За счет трения между поверхностями ведущих дисков 3 и 4 и ведомых фрикционных дисков 5 и 6 осуществляется поглощение энергии, подводимой возбуждающим моментом, и уменьшение амплитуды крутильных колебаний за счет последующего рассеивания энергии в окружающую среду в виде тепла. Рабочая жидкость, проходящая между контактирующими поверхностями фрикционных дисков 3, 4, 5 и 6, способствует уменьшению их температуры нагрева, снижению уровня шума и вибраций. При вращении корпуса 9 сцепления и отсутствии крутильных колебаний маятниковые массы 52 антивибратора 8 под действием центробежных сил занимают радиальное положение по отношению к стенке 11 корпуса 9 (фигура 3). Когда же корпус 9 сцепления начинает совершать крутильные колебания, маятниковые массы 52 начинают перемещаться в дуговых пазах 46. Возникающий момент центробежных сил стремится вернуть маятниковые массы 52 в исходное положение, что снижает резонансные колебания во всем диапазоне изменения числа оборотов двигателя.

[27]

При включении муфты 1 поршень 36 перемещается в осевом направлении под воздействием давления рабочей жидкости в камере 48, прижимая друг к другу ведущие диски 3 и ведомые фрикционные диски 5. За счет действия сил трения между ними они начинают вращаться вместе с барабаном 39, передавая тем самым крутящий момент с ведущего вала 30 на входной вал 40 коробки передач. В момент включения муфты 1 при вращении корпуса 9 сцепления в камере 48, заполненной рабочей жидкостью, возникают центробежные силы, воздействующие на поршень 36. Для компенсации этих центробежных сил предусмотрена компенсационная камера 50, также заполненная рабочей жидкостью через радиальные отверстия 49 в боковой стенке 11 ступицы 10 корпуса 9 и радиальные отверстия 56, совмещенные с отверстиями 57 в поршне 36. Возникающие в камере 50 центробежные силы действуют на поршень 36 с обратной стороны, уравновешивая таким образом центробежные силы, действующие в противоположном направлении.

[28]

При отсутствии давления в камере 48 муфта 1 выключается. Пружины 62, разжимаясь, перемещают поршень 36 в исходное положение до упора в уступ 54, расцепляя ведущие диски 3 и ведомые фрикционные диски 5 муфты 1. Вращение ведомых фрикционных дисков 5 и барабана 39 прекращается, и входной вал 40 коробки передач отсоединяется от ведущего вала 30 двойного сцепления.

[29]

При включении муфты 2 поршень 42 перемещается в осевом направлении под воздействием давления рабочей жидкости в камере 65, прижимая друг к другу ведущие диски 4 и ведомые фрикционные диски 6. За счет действия сил трения между ними они начинают вращаться вместе с барабаном 44, передавая тем самым крутящий момент с ведущего вала 30 на входной вал 45 коробки передач. В момент включения муфты 2 при вращении корпуса 9 сцепления в камере 65, заполненной рабочей жидкостью, возникают центробежные силы, воздействующие на поршень 42. Для компенсации этих центробежных сил предусмотрена компенсационная камера 68, также заполненная рабочей жидкостью. Возникающие в камере 68 центробежные силы действуют на поршень 42 с обратной стороны, уравновешивая таким образом центробежные силы, действующие в противоположном направлении.

[30]

При отсутствии давления в камере 65 муфта 2 выключается. Пружины 70, разжимаясь, перемещают поршень 42 в исходное положение, расцепляя ведущие диски 4 и ведомые фрикционные диски 6 муфты 2. Вращение ведомых фрикционные дисков 6 и барабана 44 прекращается, и входной вал 45 коробки передач отсоединяется от ведущего вала 30 двойного сцепления.

[31]

В созданном двойном сцеплении с гасителем крутильных колебаний, в котором пакеты фрикционных дисков разного размера расположены концентрично между собой и с гасителем крутильных колебаний, поршни гидроцилиндров имеют разный диаметр, корпус сцепления имеет боковую стенку, на которой установлен маятниковый антивибратор и закреплен обод, окружающий поршень большего диаметра, расположенный напротив пакета фрикционных дисков большего диаметра, гаситель крутильных колебаний содержит дуговые пружины, размещенные между крышками, имеющими шлицевое соединение с диском ведущего вала сцепления и с ободом, боковая стенка корпуса выполнена с внешним кольцевым выступом, на котором расположен поршень большего диаметра, и с внутренним кольцевым выступом, окружающим поршень меньшего диаметра, ведущие диски, расположенные в пакетах большего и меньшего диаметра, зацеплены с наружными и внутренними зубчатыми участками, сделанными на внешнем кольцевом выступе боковой стенки корпуса, достигнуто улучшение ремонтопригодности этого двойного сцепления с обеспечением уменьшения его осевого габаритного размера для упрощения его размещения в картере коробки передач.

Как компенсировать расходы
на инновационную разработку
Похожие патенты