патент
№ RU 2632309
МПК B21D37/20

Пуансон для отбортовки ответвления в стенке трубной заготовки (варианты)

Авторы:
Пуйко Алексей Васильевич
Номер заявки
2016121953
Дата подачи заявки
02.06.2016
Опубликовано
03.10.2017
Страна
RU
Как управлять
интеллектуальной собственностью
Чертежи 
2
Реферат

Изобретение относится к обработке металлов давлением и может быть использовано в устройствах для получения ответвлений в трубных заготовках. Пуансон выполнен в виде тела вращения со сквозным центральным отверстием, двумя плоскими основаниями, большее из которых соответствует внутреннему диаметру ответвления. Формоизменяющая часть пуансона образована его меньшим основанием и боковой поверхностью, выполненной сопряжением соосных торообразного и конического участков. Стабилизирующая часть расположена между формообразующей и формоизменяющей частями и образована цилиндрической поверхностью. Формообразующая часть образована большим основанием пуансона и боковой поверхностью, состоящей из последовательно сочлененных соосных конического, торообразного и цилиндрического участков. Пуансон по второму варианту дополнительно содержит ловитель в виде усеченного конуса, плавно сочлененный с формоизменяющей частью, и снабжен опорной частью. Повышается качество изготавливаемых тройников за счет устранения разрывов. 2 н. и 3 з.п. ф-лы, 3 ил.

Формула изобретения

1. Пуансон для отбортовки ответвления в стенке трубной заготовки, выполненный в виде тела вращения со сквозным центральным отверстием, двумя плоскими основаниями, большее из которых соответствует внутреннему диаметру ответвления, боковой поверхностью с выпуклыми участками и состоящий по меньшей мере из трех частей, две из которых являются формоизменяющей и формообразующей, отличающийся тем, что он выполнен с расположенной между формоизменяющей и формообразующей частями и плавно сочлененной с ними стабилизирующей частью, образованной цилиндрической поверхностью, формоизменяющая часть образована меньшим основанием пуансона и боковой поверхностью, выполненной сопряжением соосных торообразного и конического участков, при этом формообразующая часть образована большим основанием пуансона, а ее боковая поверхность, состоитиз последовательно сочлененных соосных конического, торообразного и цилиндрического участков, последний из которых примыкает к большему основанию пуансона.

2. Пуансон по п. 1, отличающийся тем, что на большем основании пуансона жестко закреплены приспособления для фиксации пуансона на штоке.

3. Пуансон для отбортовки ответвления в стенке трубной заготовки, выполненный в виде тела вращения с двумя основаниями, большее из которых соответствует внутреннему диаметру ответвления, боковой поверхностью с выпуклыми участками и состоящий по меньшей мере из трех частей, две из которых являются формоизменяющей и формообразующей, отличающийся тем, что он выполнен с расположенной между формоизменяющей и формообразующей частями и плавно сочлененной с ними стабилизирующей частью, образованной цилиндрической поверхностью, на меньшем основании пуансона жестко закреплен ловитель, выполненный в виде усеченного конуса, плавно сочлененного с формоизменяющей частью, боковая поверхность которой выполнена сопряжением соосных торообразного и конического участков, формообразующая часть образована большим основанием пуансона и боковой поверхностью, состоящей из последовательно сочлененных соосных конического, торообразного и цилиндрического участков, последний из которых примыкает к большему основанию пуансона, при этом пуансон снабжен опорной частью, сочлененной с цилиндрическим участком формообразующей части без выступания в поперечном сечении контура опорной части за пределы контура цилиндрического участка формообразующей части.

4. Пуансон по п. 3, отличающийся тем, что основания ловителя выполнены в виде круга.

5. Пуансон по п. 3, отличающийся тем, что основания ловителя выполнены в виде эллипса.

Описание

[1]

Изобретение относится к обработке металлов давлением и может быть использовано в устройствах для получения ответвлений в трубных заготовках, преимущественно для неравнопроходных тройников.

[2]

Известен пуансон для отбортовки равнопроходного патрубка в трубной заготовке (патент РФ №2304032, В21С 37/29, B21D 19/00, опубл. 10.06.2007), выполненный в виде сочленения конуса с цилиндрическим пояском, диаметр которого равен внутреннему диаметру трубной заготовки. Пуансон имеет дополнительную рабочую секцию в виде размещенных по периферии торцевой поверхности цилиндрического пояска двух разомкнутых кольцевых выступов, внешняя образующая которых выполнена в виде обратного конуса.

[3]

Однако известный пуансон предназначен для изготовления равнопроходных тонкостенных тройников, и его использование не обеспечивает требуемых геометрических параметров магистрали тройника.

[4]

Известен пуансон для отбортовки отверстия (а.с. СССР №1690904, B21D 22/00, B21D 19/00, опубл. 15.11.1991), имеющий крепежную часть, цилиндрическую рабочую часть, тороидальный участок, на торце которого расположен фигурный ловитель с коническим заходным участком.

[5]

Недостатком пуансона является его использование только для изготовления тонкостенных изделий холодной штамповкой.

[6]

Известен пуансон для отбортовки фланца в стенке трубной заготовки (а.с. СССР №1466834, B21D 19/02, B21D 41/02, опубл. 23.03.1989), выбранный в качестве прототипа. Пуансон содержит хвостовик и рабочий элемент в виде направляющей, формообразующей и формоизменяющей частей, расположенных последовательно с возможностью регулировки зазора между ними. Направляющая и формообразующая части выполнены по форме усеченного конуса, формоизменяющая часть образована двумя плоскими основаниями, плавно соединенными боковой выпуклой поверхностью, при этом большее основание соответствует форме отбортовываемого фланца - круга, эллипса или квадрата.

[7]

Недостаток пуансона заключается в ограниченных возможностях использования, связанных со сложной сборкой пуансона и установкой в процессе штамповки, что исключает возможность его применения при горячей штамповке и изготовлении толстостенных изделий.

[8]

Задачей, на решение которой направлено изобретение, является повышение универсальности применения пуансона для изготовления широкой номенклатуры тройников и повышения производительности.

[9]

Технический результат заключается в получении за один проход штамповки ответвления требуемой высоты, без его разрывов при изготовлении тройников с большим перепадом толщин стенок магистрали и ответвления.

[10]

Поставленная задача по первому варианту решается за счет того, что в пуансоне для отбортовки ответвления в стенке трубной заготовки, выполненном в виде тела вращения со сквозным центральным отверстием, двумя плоскими основаниями, большее из которых соответствует внутреннему диаметру ответвления, боковой поверхностью с выпуклыми участками и состоящем по меньшей мере из трех частей, две из которых являются формоизменяющей и формообразующей, согласно изобретению между формоизменяющей и формообразующей частями выполнена стабилизирующая часть, образованная цилиндрической поверхностью и плавно сочлененная с ними, формоизменяющая часть образована меньшим основанием пуансона и боковой поверхностью, выполненной сопряжением соосных торообразного и конического участков, формообразующая часть образована большим основанием пуансона и боковой поверхностью, состоящей из последовательно сочлененных соосных конического, торообразного и цилиндрического участков, последний из которых примыкает к большему основанию пуансона. Кроме того, на большем основании пуансона жестко закреплены приспособления для фиксации пуансона на штоке.

[11]

Поставленная задача по второму варианту решается за счет того, что в пуансоне для отбортовки ответвления в стенке трубной заготовки, выполненном в виде тела вращения с двумя основаниями, большее из которых соответствует внутреннему диаметру ответвления, боковой поверхностью с выпуклыми участками и состоящем по меньшей мере из трех частей, две из которых являются формоизменяющей и формообразующей, согласно изобретению между формоизменяющей и формообразующей частями выполнена стабилизирующая часть, образованная цилиндрической поверхностью и плавно сочлененная с ними, на меньшем основании пуансона жестко закреплен ловитель, выполненный в виде усеченного конуса и плавно сочлененный с формоизменяющей частью, боковая поверхность которой выполнена сопряжением соосных торообразного и конического участков, формообразующая часть образована большим основанием пуансона и боковой поверхностью, состоящей из последовательно сочлененных соосных конического, торообразного и цилиндрического участков, последний из которых примыкает к большему основанию пуансона, при этом пуансон снабжен опорной частью, сочлененной с цилиндрическим участком формообразующей части таким образом, чтобы в поперечном сечении контур опорной части не выступал за пределы контура цилиндрического участка формообразующей части. Кроме того, основания ловителя выполнены в виде круга или в виде эллипса.

[12]

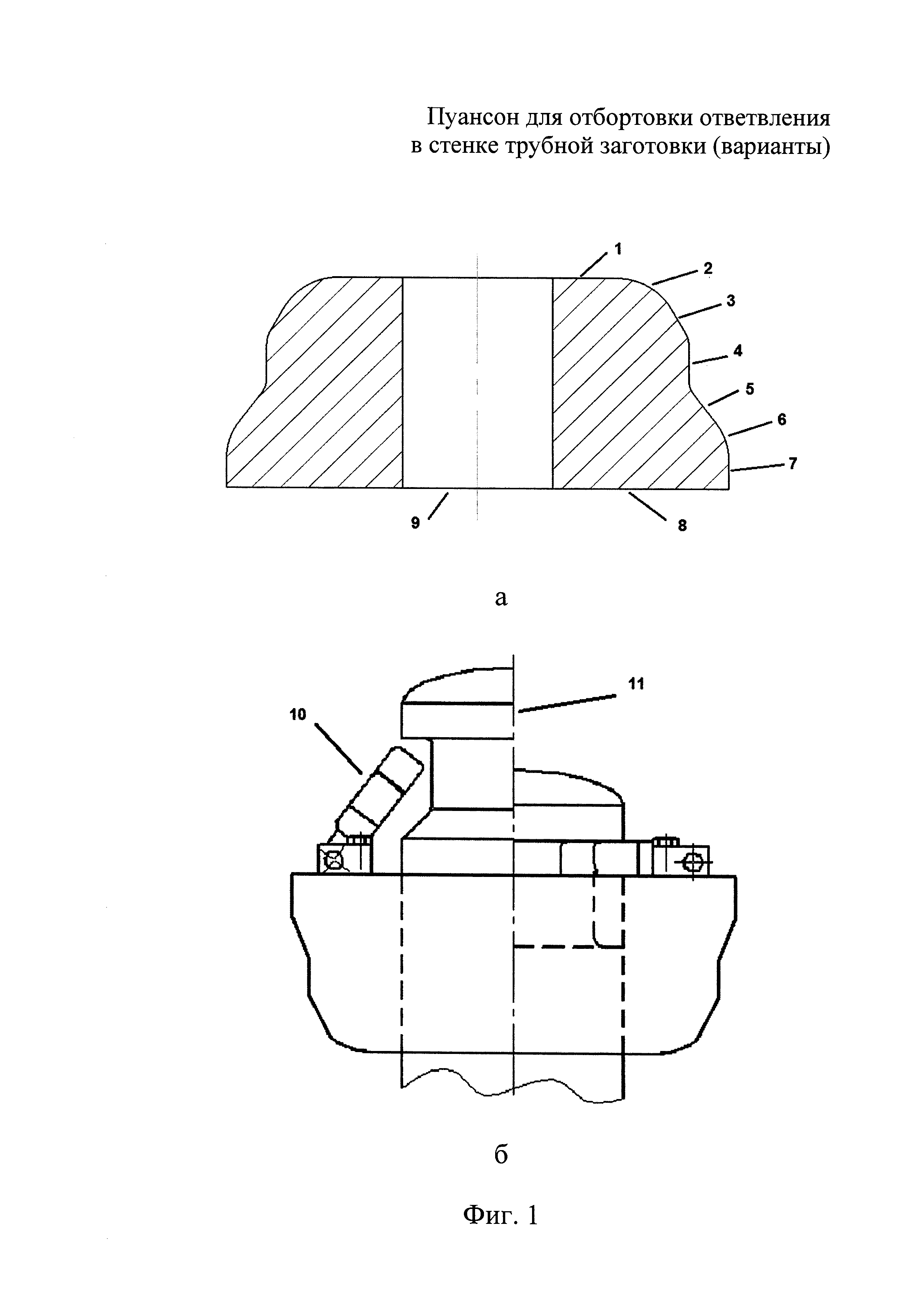
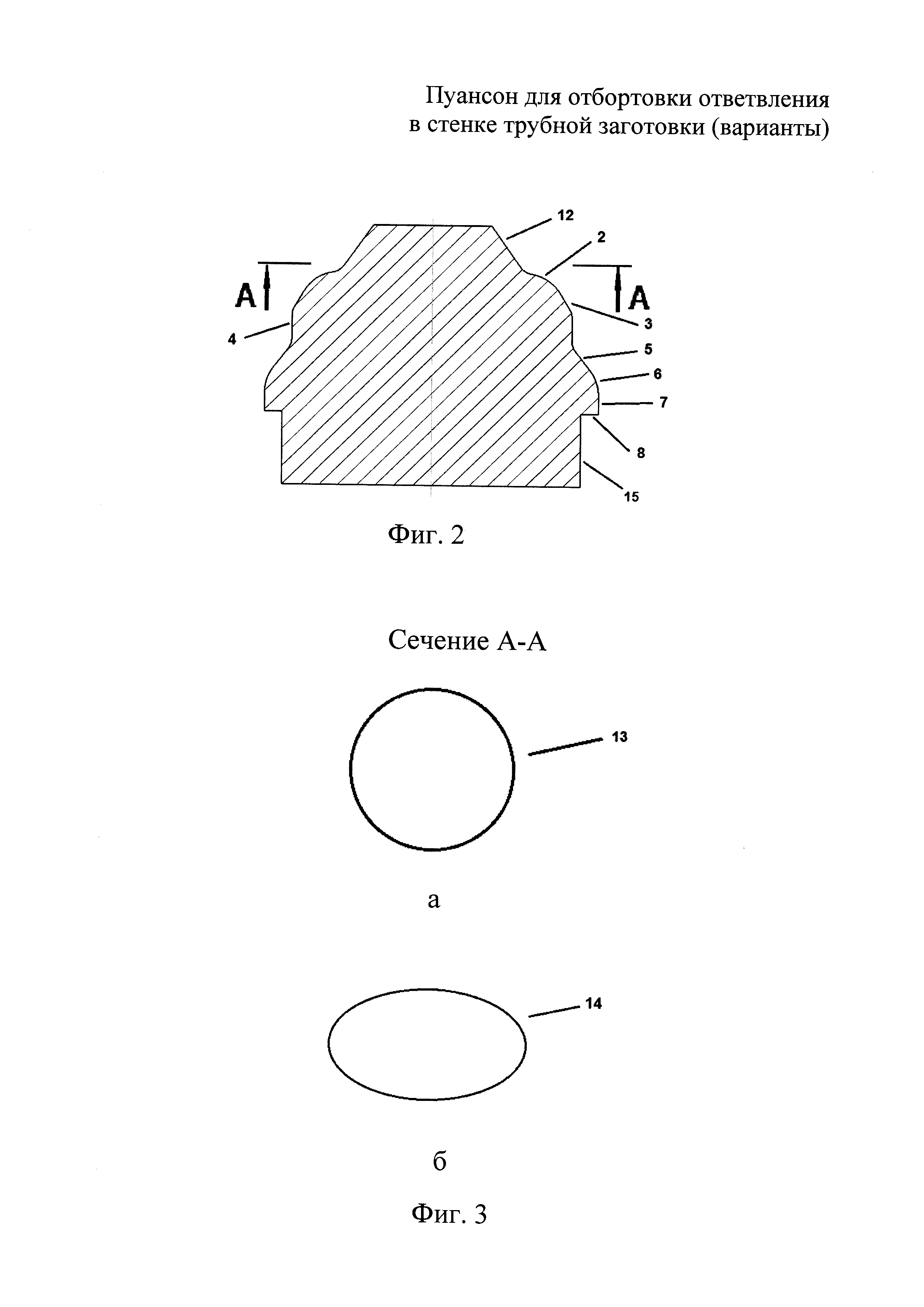
Изобретение иллюстрируется чертежами, где на фиг. 1,а схематично представлен пуансон со сквозным центральным отверстием, на фиг. 1,б - фиксация пуансона на штоке, на фиг. 2 схематично показан пуансон с ловителем в виде усеченного конуса и опорной частью, на фиг. 3,а и 3,б показаны поперечные сечения ловителя пуансона А-А на фиг. 2, соответствующие форме выполненного в заготовке отверстия.

[13]

Пуансон, изображенный на фиг. 1, состоит из формоизменяющей, стабилизирующей и формообразующей частей и выполнен со сквозным центральным отверстием для фиксации на штоке. Пуансон, изображенный на фиг. 2, состоит также из формоизменяющей, стабилизирующей и формообразующей частей и выполнен с ловителем в виде усеченного конуса и опорной частью.

[14]

Формоизменяющая часть пуансона (фиг. 1) образована меньшим основанием 1, боковой поверхностью, образованной торообразным 2 и коническим 3 участками, затем расположена стабилизирующая часть, образованная цилиндрической поверхностью 4 и плавно сочлененная с формоизменяющей и формообразующей частями, боковая поверхность формообразующей части образована коническим 5, торообразным 6 и цилиндрическим 7 участками и примыкает к большему основанию 8 пуансона.

[15]

Пуансон по первому варианту выполнен со сквозным центральным отверстием 9, на большем основании 8 пуансона могут быть выполнены приспособления 10 для фиксации пуансона на штоке 11.

[16]

Пуансон по второму варианту (фиг. 2) выполнен с ловителем 12 в виде усеченного конуса, жестко закрепленным на меньшем основании 1 пуансона и плавно сочлененным с формоизменяющей частью. Основания ловителя 12 могут быть выполнены в виде круга 13 или в виде эллипса 14. Пуансон снабжен опорной частью 15, сочлененной с цилиндрическим участком 7 формообразующей части таким образом, чтобы в поперечном сечении контур опорной части не выступал за пределы контура цилиндрического участка формообразующей части.

[17]

Выполнение формоизменяющей части пуансона с боковой поверхностью, образованной сопряжением соосных торообразного и конического участков, исключает появление концентраторов напряжений при штамповке, снижает усилия при формообразовании, исключает возможность образования разрыва ответвления при окончательной отбортовке и позволяет получить большую высоту отбортовки.

[18]

Выполнение пуансона со стабилизирующей частью, образованной цилиндрической поверхностью и плавно сочлененной с формоизменяющей и формообразующей частями, позволяет восстановить ресурс пластичности металла после формоизменения поверхности изделий и тем самым предотвратить образование трещин (разрывов) ответвлений при окончательном формообразовании поверхности изделий независимо от толщины стенки исходной заготовки.

[19]

Формообразующая часть пуансона, боковая поверхность которой образована сочленением соосных конического, торообразного и цилиндрического участков, служит для окончательного формирования ответвления тройника с требуемой геометрией.

[20]

Плавное сочленение функциональных частей пуансона, выполненное, например, в виде фаски или радиуса скругления, исключает образование дефектов, в частности задиров, наплывов, расслоений на внутренней поверхности ответвления.

[21]

Выполнение пуансона с ловителем в виде усеченного конуса обеспечивает центровку заготовки при штамповке и получение требуемой геометрии изделий.

[22]

Оба основания ловителя могут быть выполнены либо в виде круга, либо в виде эллипса, при этом большее основание повторяет форму и размеры предварительно выполненного в заготовке отверстия, тем самым центрируя заготовку на пуансоне. При изготовлении неравнопроходных тройников с соотношением диаметра магистрали к диаметру ответвления более чем в 2,5 раза большее основание ловителя выполняют в виде круга, в остальных случаях, в том числе и при штамповке равнопроходных тройников, большее основание ловителя выполняют в виде эллипса.

[23]

Выполнение пуансона с опорной частью, сочлененной с цилиндрическим участком формообразующей части, служит для установки или крепления пуансона на брусе при отбортовке ответвлений. Причем в поперечном сечении контур опорной части не должен выступать за пределы контура цилиндрического участка формообразующей части, чтобы при отбортовке ответвлений не произошло заклинивания отбортованного ответвления тройника на пуансоне.

[24]

Пуансон может быть выполнен как монолитным, так и наборным по высоте по меньшей мере из трех основных частей. Пуансон предлагаемой конструкции может быть снабжен дополнительной формообразующей частью, что позволит расширить ассортимент изделий, изготавливаемых с его применением. Использование такого пуансона позволит штамповать без разрывов тройники с соотношением толщин магистрали и ответвления более четырех.

[25]

Пуансон, выполненный по заявляемым вариантам, был использован при изготовлении тройников на АО «Трубодеталь».

[26]

Пример 1. Изготовление неравнопроходного тройника штампованного 406,4x114-28-16 с применением пуансона, выполненного с центральным отверстием и закрепленного на штоке

[27]

В трубной заготовке диаметром 406,4 мм и длиной 4200 мм высверливали, в частности, 4 отверстия диаметром 50 мм, осуществляли локальный нагрев зоны вокруг отверстий до температуры 940÷960°С, выполняли отбортовку ответвлений пуансоном с центральным отверстием и закрепленным на штоке, что позволило получить необходимую высоту отбортовки ответвлений - 30 мм без разрывов.

[28]

Пример 2. Изготовление неравнопроходного тройника штампосварного 1020x168-34-9 (коэффициент утонения 3,5) с применением пуансона, выполненного с центральным отверстием и закрепленного на штоке

[29]

В трубной заготовке диаметром 1020 мм и длиной 1000 мм вырезали отверстие диаметром 90 мм, осуществляли локальный нагрев зоны вокруг отверстия до температуры 940÷960°С, выполняли отбортовку ответвления пуансоном с центральным отверстием и закрепленным на штоке, что позволило получить необходимую высоту отбортовки - 50 мм и толщину ответвления тройника не более 10 мм без разрыва.

[30]

В приведенных примерах заданную геометрию возможно получить при штамповке последовательно двумя пуансонами с дополнительным подогревом зоны вокруг отверстия в заготовке после первой отбортовки. Однако существующий метод является более трудоемким и технологически сложным ввиду необходимости центрирования заготовки после первой отбортовки.

[31]

Пример 3. Изготовление неравнопроходного тройника штампосварного 1020x426-46-18 с применением пуансона, выполненного с ловителем и опорной частью и установленного на опорной поверхности, например на брусе

[32]

В трубной заготовке диаметром 1030 мм и длиной 920 мм вырезали отверстие диаметром 170 мм, нагрели заготовку в печи до температуры 940÷960°С, установили нагретую заготовку на пуансон, выполненный с ловителем с основаниями в виде круга, и осуществляли отбортовку ответвления пуансоном, что позволило получить необходимую высоту отбортовки - 110 мм и толщину ответвления тройника - 20 мм без разрыва.

[33]

Для изготовления изделий, у которых соотношение толщины магистрали к толщине ответвления более четырех, может быть использован пуансон, выполненный, в частности, с двумя формообразующими частями, что позволит осуществить штамповку тройника за один проход пуансона без разрывов ответвления и с получением большой высоты отбортовки.

[34]

При применении пуансона для отбортовки ответвлений нагретой заготовки обеспечивается равномерное распределение деформации по окружности отбортованного ответвления (равномерная толщина стенки по окружности).

[35]

Использование пуансона предлагаемой конструкции расширяет арсенал технических средств, увеличивает номенклатуру изготавливаемых с его применением изделий, позволяет получать за один проход штамповки ответвления требуемой высоты, без разрывов ответвлений при изготовлении тройников с большим перепадом толщин стенок магистрали и ответвления. Применение пуансона обеспечивает выполнение нескольких ответвлений по длине заготовки, высокое качество внутренней поверхности ответвлений тройников и снижение трудоемкости.

Как компенсировать расходы
на инновационную разработку
Похожие патенты