патент
№ RU 2687071
МПК G01S7/40

Имитатор пространственного радиолокационного сигнала

Авторы:
Першин Владислав Александрович
Номер заявки
2018132107
Дата подачи заявки
07.09.2018
Опубликовано
07.05.2019
Страна
RU
Как управлять
интеллектуальной собственностью
Чертежи 
4
Реферат

Изобретение относится к области радиолокации и предназначено для интеграции в состав радиотехнических позиций, обеспечивающих отработку авиационных средств поражения с радиолокационными методами пеленгации целей, и позволяет имитировать радиолокационные отражения (более двух независимых точек, разнесенных в пространстве) от пространственно-распределенных объектов. Достигаемый технический результат - имитация радиолокационных отраженных сигналов от пространственно-распределенных объектов при независимом формировании сигналов с различной спектральной структурой для каждого из каналов, входящих в состав имитатора при возможности ручного управления имитатором, при котором оператор через органы ручного управления и систему индикации имеет доступ к управлению всеми возможными параметрами сигнала для каждого канала формирования сигналов. Технический результат достигается за счет того, что имитатор пространственного радиолокационного сигнала содержит связанные между собой многоканальный модуль формирования сигнала, многоканальный сверхвысокочастотный (СВЧ) модуль преобразования частоты, модуль формирования временной задержки, модуль управления и контроля, систему энергообеспечения, линии связи, систему индикации и органы ручного управления, при этом многоканальный модуль формирования сигнала содержит по меньшей мере два канала формирования сигнала, каждый из которых содержит микроконтроллер канала, а модуль управления и контроля содержит управляющий микроконтроллер и микроконтроллер связи с органами ручного управления и системой индикации, при этом управляющий выход управляющего микроконтроллера соединен с управляющим входом микроконтроллера канала каждого канала формирования сигнала. 4 з.п. ф-лы, 4 ил.

Формула изобретения

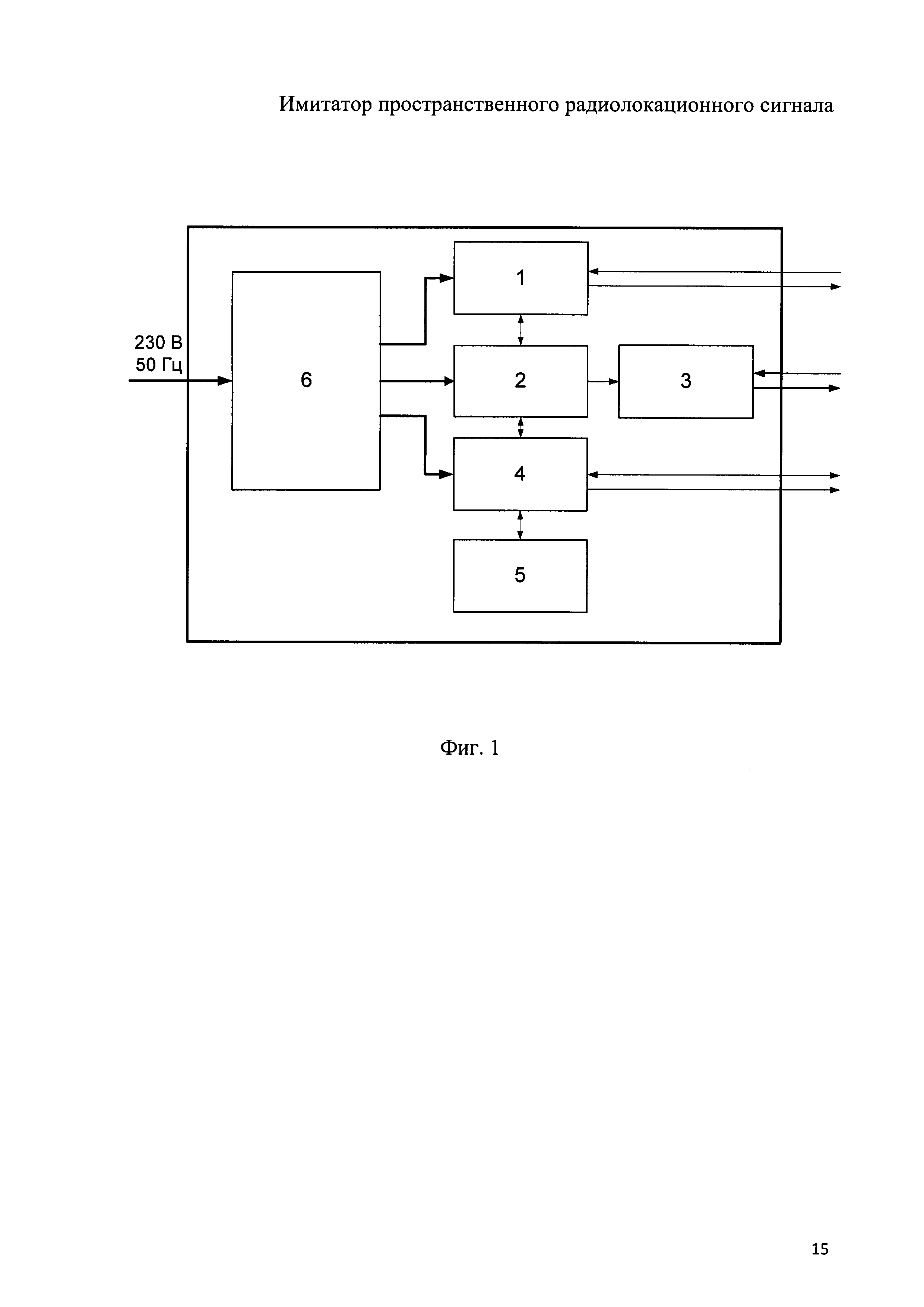
1. Имитатор пространственного радиолокационного сигнала, характеризующийся тем, что содержит связанные между собой многоканальный модуль формирования сигнала, многоканальный СВЧ модуль преобразования частоты, модуль формирования временной задержки, модуль управления и контроля, систему энергообеспечения, линии связи, систему индикации и органы ручного управления, при этом многоканальный модуль формирования сигнала содержит по меньшей мере два канала формирования сигнала, а многоканальный СВЧ модуль преобразования частоты содержит соединенные линией связи делитель мощности и по меньшей мере два смесителя, причем вход каждого смесителя соединен соответственно с выходом каждого канала формирования сигнала, а управляющий вход каждого канала формирования сигнала соединен соответственно с модулем формирования временной задержки, при этом модуль управления и контроля содержит управляющий микроконтроллер и микроконтроллер связи с органами ручного управления и системой индикации, а каждый канал формирования сигнала, входящий в состав многоканального модуля формирования сигнала, содержит микроконтроллер канала, причем управляющий выход управляющего микроконтроллера соединен с управляющим входом микроконтроллера канала каждого канала формирования сигнала.

2. Имитатор пространственного радиолокационного сигнала по п. 1, характеризующийся тем, что канал формирования сигнала содержит последовательно соединенные синтезатор частоты, устройство управления амплитудой, согласующий усилитель, импульсный модулятор, причем управляющий вход синтезатора частоты и управляющий вход устройства управления амплитудой связаны с выходом микроконтроллера канала, при этом управляющий вход импульсного модулятора, который является входом канала формирования сигнала, соединен с модулем формированиявременной задержки, а выход импульсного модулятора соединен с входом смесителя.

3. Имитатор пространственного радиолокационного сигнала по п. 1, характеризующийся тем, что многоканальный модуль формирования сигнала содержит тактовый генератор, выход которого соединен с входом каждого микроконтроллера канала.

4. Имитатор пространственного радиолокационного сигнала по п. 1, характеризующийся тем, что модуль управления и контроля содержит тактовый генератор, выход которого соединен с входами управляющего микроконтроллера и микроконтроллера связи с органами ручного управления и системой индикации.

5. Имитатор пространственного радиолокационного сигнала по п. 1, характеризующийся тем, что система энергообеспечения содержит блок предохранителей.

Описание

[1]

Предлагаемое техническое решение относится к области радиолокации и предназначено для интеграции в состав радиотехнических позиций, обеспечивающих отработку авиационных средств поражения с радиолокационными методами пеленгации целей, и позволяет имитировать радиолокационные отражения (более двух независимых точек, разнесенных в пространстве) от пространственно-распределенных объектов, к которым можно отнести:

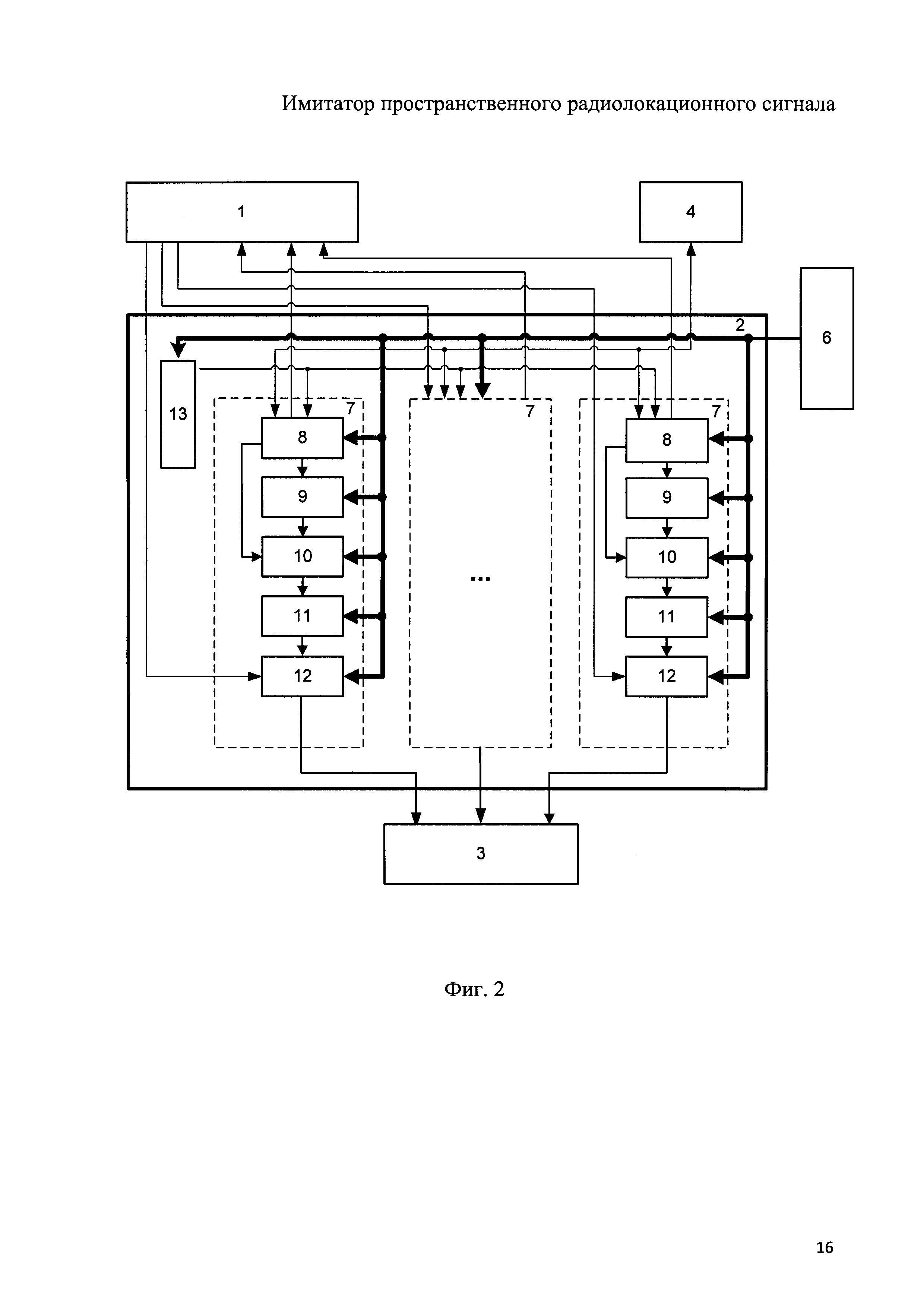
[2]

- групповую цель;

[3]

- одиночную большеразмерную цель на этапе подлета;

[4]

- облака помех в виде дипольных отражателей;

[5]

- подстилающие поверхности (в т.ч. антиподы).

[6]

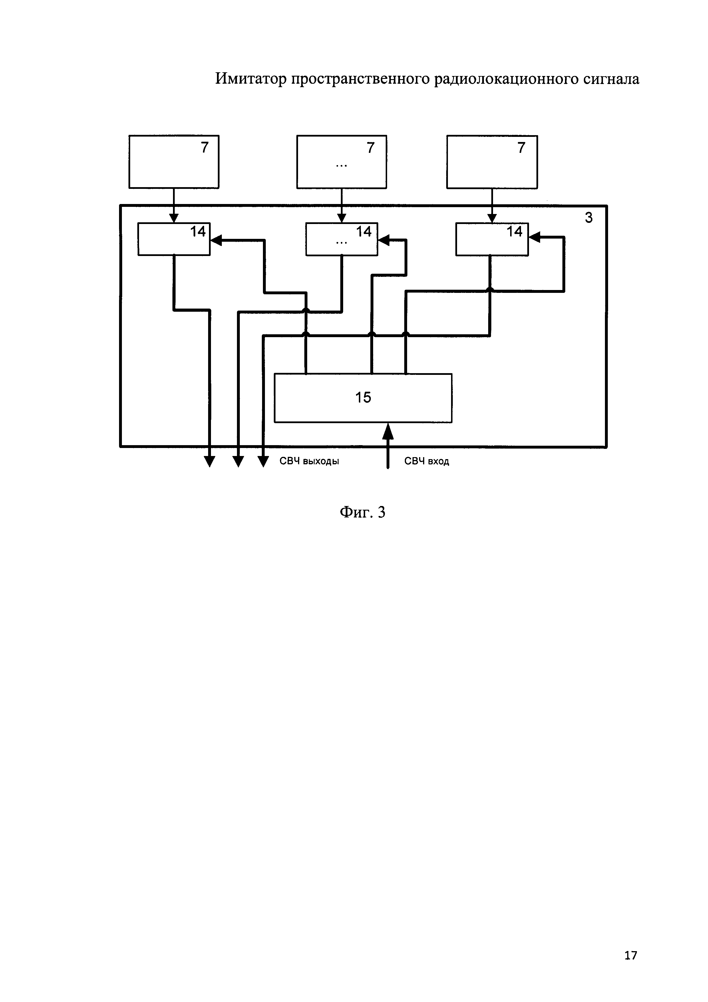
Известен радиолокационный имитатор цели (Патент РФ №2267798), который содержит определенным образом соединенные между собой модуль сверхвысокой частоты (СВЧ), состоящий из последовательно соединенных устройства автоматической регулировки мощности и импульсного модулятора, последовательно соединенных переключателя уровня мощности и цифрового аттенюатора, вход устройства автоматической регулировки мощности является входом СВЧ, а также линию связи, рупорную антенну, группу синтезаторов доплеровских частот, группу умножающих цифроаналоговых преобразователей (ЦАП), группу ключей, первое перепрограммируемое постоянное запоминающее устройство (ППЗУ), второе ППЗУ, интерфейс мультиплексной шины и мультиплексную шину управления.

[7]

Известен цифровой имитатор радиолокационной цели (Патент РФ №2412449), который содержит антенну, последовательно соединенные первый аттенюатор, первый смеситель, схему цифровой задержки сигнала, второй аттенюатор, второй смеситель, третий вентиль, последовательно соединенные синтезатор частоты, делитель мощности, в имитаторе реализуется автоматическое согласование уровня сигнала, смещаемого на промежуточную частоту, с динамическим диапазоном схемы цифровой радиочастотной памяти, ввода фиксированного затухания задержанного на промежуточной частоте сигнала в соответствии с разницей расчетного затухания сигнала в имитаторе и уровня затухания, вводимого между приемной антенной имитатора и смесителем для согласования сигнала с динамическим диапазоном схемы цифровой задержки сигнала.

[8]

Известен радиолокационный имитатор цели (Патент РФ №2358279), который содержит определенным образом соединенные между собой модуль сверхвысокой частоты (СВЧ), линию связи, рупорную антенну, группу синтезаторов доплеровских частот, группу умножающих цифроаналоговых преобразователей (ЦАП), группу ключей, первое перепрограммируемое постоянное запоминающее устройство (ППЗУ), второе ППЗУ, интерфейс мультиплексной шины и мультиплексную шину управления, причем модуль СВЧ состоит из устройства автоматической регулировки мощности, импульсного модулятора, группы амплитудных модуляторов, СВЧ сумматора, переключателя уровня мощности и цифрового аттенюатора, определенным образом соединенных между собой и соответствующими элементами заявленного имитатора.

[9]

К недостаткам указанных аналогов относятся:

[10]

- отсутствие возможности имитации радиолокационных отражений от объектов, разнесенных в пространстве, и как следствие, отсутствие возможности формирования сигналов с различной пространственно-распределенной структурой сигнала;

[11]

- управление только при помощи электронно-вычислительной машины (ЭВМ), и, как следствие, отсутствие возможности установки необходимых параметров в ручном режиме от органов управления, расположенных непосредственно на имитаторе;

[12]

- невозможность проведения автономного контроля работы имитатора (без ЭВМ);

[13]

- отсутствие возможности установки различных типов модуляции сигнала с регулируемыми параметрами, и как следствие, отсутствие независимого формирования сигналов с различной спектральной структурой.

[14]

Техническим результатом предлагаемого изобретения является возможность имитации радиолокационных отраженных сигналов (более двух независимых точек разнесенных в пространстве) от пространственно-распределенных объектов при независимом формировании сигналов с различной спектральной структурой для каждого из каналов, входящих в состав имитатора при возможности ручного управления имитатором, при котором оператор через органы ручного управления и систему индикации имеет доступ к управлению всеми возможными параметрами сигнала для каждого канала формирования сигналов. Дополнительным техническим результатом является возможность проведения автономного контроля работы имитатора без использования ЭВМ.

[15]

Указанный технический результат достигается за счет того, что имитатор пространственного радиолокационного сигнала содержит связанные между собой многоканальный модуль формирования сигнала, многоканальный СВЧ модуль преобразования частоты, модуль формирования временной задержки, модуль управления и контроля, систему энергообеспечения, линии связи, систему индикации и органы ручного управления, при этом многоканальный модуль формирования сигнала содержит по меньшей мере два канала формирования сигнала, а многоканальный СВЧ модуль преобразования частоты содержит соединенные линией связи делитель мощности и по меньшей мере два смесителя, причем вход каждого смесителя соединен соответственно с выходом каждого канала формирования сигнала, а управляющий вход каждого канала формирования сигнала соединен соответственно с модулем формирования временной задержки, при этом модуль управления и контроля содержит управляющий микроконтроллер и микроконтроллер связи с органами ручного управления и системой индикации, а каждый канал формирования сигнала, входящий в состав многоканального модуля формирования сигнала, содержит микроконтроллер канала, причем управляющий выход управляющего микроконтроллера соединен с управляющим входом микроконтроллера канала каждого канала формирования сигнала.

[16]

В предпочтительном варианте осуществления изобретения канал формирования сигнала содержит последовательно соединенные синтезатор частоты, устройство управления амплитудой, согласующий усилитель, импульсный модулятор, причем управляющий вход синтезатора частоты и управляющий вход устройства управления амплитудой связаны с выходом микроконтроллера канала, при этом управляющий вход импульсного модулятора, который является входом канала формирования сигнала, соединен с модулем формирования временной задержки, а выход импульсного модулятора соединен с входом смесителя многоканального СВЧ модуля преобразования частоты.

[17]

В другом предпочтительном варианте осуществления изобретения многоканальный модуль формирования сигнала содержит тактовый генератор, выход которого соединен со входом каждого микроконтроллера канала.

[18]

В другом предпочтительном варианте осуществления изобретения модуль управления и контроля содержит тактовый генератор, выход которого соединен с входами управляющего микроконтроллера и микроконтроллера связи с органами ручного управления и системой индикации.

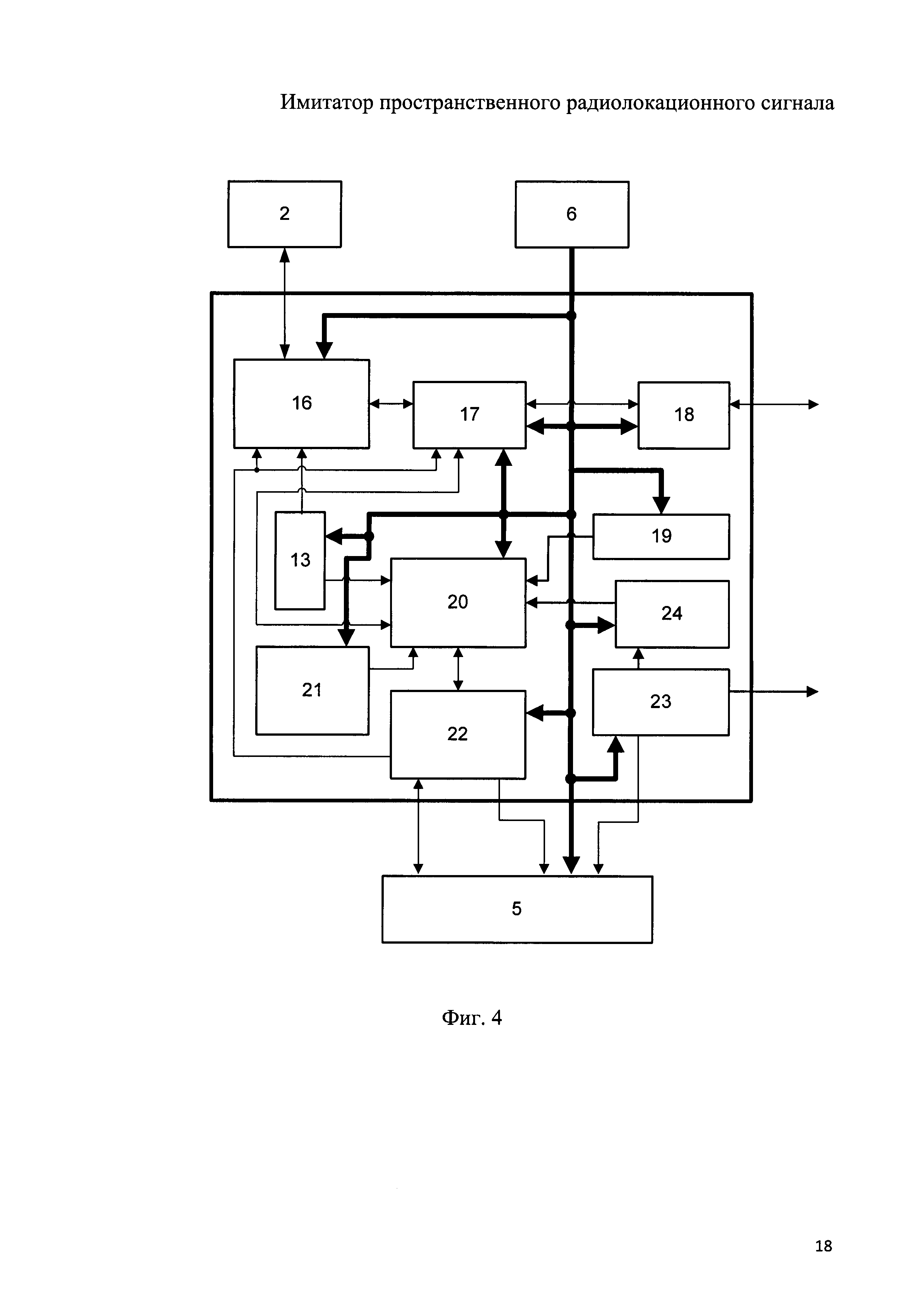
[19]

В еще одном предпочтительном варианте осуществления изобретения система энергообеспечения содержит блок предохранителей.

[20]

Изобретение поясняется чертежами, где:

[21]

Фиг. 1 - Структурная схема имитатора пространственного радиолокационного сигнала.

[22]

На фиг. 1 представлены:

[23]

1 - модуль формирования временной задержки;

[24]

2 - многоканальный модуль формирования сигнала;

[25]

3 - многоканальный СВЧ модуль формирования частоты;

[26]

4 - модуль управления и контроля;

[27]

5 - система индикации и органы ручного управления;

[28]

6 - система энергообеспечения.

[29]

Фиг. 2 - Структурная схема многоканального модуля формирования сигнала.

[30]

На фиг. 2 представлены:

[31]

7 - канал формирования сигнала;

[32]

8 - микроконтроллер канала;

[33]

9 - синтезатор доплеровской частоты;

[34]

10 - устройство управления амплитудой;

[35]

11 - согласующий усилитель;

[36]

12 - импульсный модулятор;

[37]

13 - тактовый генератор.

[38]

Фиг. 3 - Структурная схема многоканального СВЧ модуля формирования сигнала.

[39]

На фиг. 3 представлены:

[40]

14 - смеситель;

[41]

15 - делитель мощности.

[42]

Фиг. 4 - Структурная схема модуля управления и контроля.

[43]

На фиг. 4 представлены:

[44]

16 - управляющий микроконтроллер;

[45]

17 - блок коммутации;

[46]

18 - блок конвертации логических уровней;

[47]

19 - источник опорного напряжения;

[48]

20 - микроконтроллер связи с органами ручного управления и системой индикации;

[49]

21 - энергозависимая память;

[50]

22 - блок дискретной логики и согласующих элементов;

[51]

23 - модуль преобразования и согласования напряжений;

[52]

24 - блок преобразования и согласования напряжений.

[53]

Основными узлами имитатора пространственного радиолокационного сигнала являются:

[54]

- модуль формирования временной задержки (1);

[55]

- многоканальный модуль формирования сигнала (2);

[56]

- многоканальный СВЧ модуль формирования частоты (3);

[57]

- модуль управления и контроля (4);

[58]

- система индикации и органы ручного управления (5);

[59]

- система энергообеспечения (6).

[60]

Модуль формирования временной задержки 1 (фиг. 1) обеспечивает необходимую задержку входного импульса для каждого из каналов формирования сигнала 7 (требуемые параметры формируются микроконтроллером канала 8 независимо для каждого из каналов формирования сигнала). Сформированные независимые для каждого из каналов формирования сигнала 7 импульсы, сдвинутые по времени относительно входного импульса, поступают на импульсный модулятор 12.

[61]

Многоканальный модуль формирования сигнала 2 (фиг. 2), включает в себя по меньшей мере два канала формирования сигнала 7, которые выполнены с синтезатором доплеровских частот 9, с управляемой частотой и фазой (управление осуществляется микроконтроллером канала 8), а также с импульсным модулятором 12 - устройством обеспечивающим импульсную модуляцию сформированного сигнала. Также многоканальный модуль формирования сигнала 2 включает устройство управления амплитудой 10, управление которым осуществляется микроконтроллером канала 8 и согласующий усилитель 11.

[62]

Многоканальный СВЧ модуль формирования частоты 3 (фиг. 3) выполнен из общего для всех каналов формирования сигнала 7 делителя мощности 15 входного СВЧ сигнала (на вход которого поступает опорный СВЧ сигнал) и смесителя 14 на входы которого поступают: сигнал сформированный в канале формирования сигнала 7 и выходной сигнал с делителя мощности 15. После этого образованный в смесителе 14 комбинационный сигнал поступает с выхода смесителя 14 на СВЧ выход имитатора, затем на излучающие антенны (не показаны).

[63]

Модуль управления и контроля 4 (фиг. 4) обеспечивает управление работой имитатора пространственного радиолокационного сигнала. Для управления параметрами формируемых сигналов модуль управления и контроля 4 соединен цифровой шиной данных (не показаны) с микроконтроллерами канала 8 в каждом из каналов формирования сигнала 7. Управление параметрами формируемых сигналов осуществляется по информации, получаемой модулем управления и контроля 4 от органов ручного управления системы индикации и органов ручного управления 5 или от внешней ЭВМ, которые также подключены модулю управления и контроля 4 по цифровым шинам данных.

[64]

Система индикации и органов управления 5 содержит систему индикации, с помощью которой осуществляется контроль исправности функционирования имитатора пространственного радиолокационного сигнала. Система индикации состоит из светодиодов и ЖК-дисплея, предназначенного для визуализации параметров сигналов, формируемых имитатором пространственного сигнала. Органы управления представляют собой набор тумблеров, кнопок и энкодера.

[65]

Система энергообеспечения 6 предназначена для обеспечения электроэнергией всех радиоэлектронных компонентов входящих в состав имитатора пространственного радиолокационного сигнала. Для защиты цепей питания от короткого замыкания в состав системы энергообеспечения входит блок предохранителей (на фиг. не показан);

[66]

Также в состав имитатора пространственного радиолокационного сигнала входит кабельная сеть, обеспечивающая связь между элементами имитатора пространственного радиолокационного сигнала по цифровым, аналоговым, радиочастотным и энергетическим каналам связи.

[67]

Имитатор пространственного радиолокационного сигнала осуществляет в каждом из каналов формирования сигнала, входящих в его состав, независимое формирование сигналов доплеровской частоты с управляемой частотой, фазой и амплитудой, а также импульсной модуляцией. Сигналы доплеровской частоты формируются из опорного входного сигнала с частотой F0 (несущей частоты), поступающие на вход имитатора пространственного радиолокационного сигнала.

[68]

Изобретение работает следующим образом.

[69]

Опорный сигнал с частотой F0 от испытуемого объекта подается на СВЧ вход имитатора пространственного радиолокационного сигнала, которым является многоканальный СВЧ модуль преобразования частоты 3, фиг. 3, и разделяется на когерентные СВЧ сигналы при помощи делителя мощности 15.

[70]

Каждый когерентный СВЧ сигнал поступает на вход смесителя 14, в котором осуществляется модуляция входного СВЧ сигнала.

[71]

Оператор в соответствии со сценарием моделирования задает необходимые параметры сигнала, отраженного от имитируемой цели. Управление имитатором пространственного радиолокационного сигнала осуществляется оператором как от внешней ЭВМ, так и при помощи органов ручного управления и ЖК-дисплея, входящего в состав системы индикации.

[72]

Управление и контроль внутренних подсистем имитатора пространственного радиолокационного сигнала, а также связь с внешней ЭВМ и органами ручного управления совместно с ЖК-дисплеем, осуществляется при помощи распределенной цифровой системы управления. Распределенная цифровая система управления рассредоточена между модулем управления и контроля и многоканальным модулем формирования сигнала и реализована на микроконтроллерах с загруженным в них специальным программным обеспечением, что обеспечивает полностью независимое формирование сигналов с различной спектральной структурой для каждого из каналов имитатора пространственного радиолокационного сигнала. Это достигается благодаря наличию индивидуального микроконтроллера в каждом из каналов имитатора пространственного радиолокационного сигнала, что позволяет управлять в цифровом виде, а значит строго по требуемым алгоритмам, всеми параметрами формируемого сигнала.

[73]

Управление каналами формирования сигнала 7, входящими в состав многоканального модуля формирования сигнала осуществляется управляющим микроконтроллером 16, входящим в состав модуля управления и контроля 4. Управляющий микроконтроллер 16 осуществляет передачу информации с необходимыми параметрами сигнала для каждого микроконтроллера канала 8 из состава каналов формирования сигнала по цифровому каналу связи I2C. Управляющий микроконтроллер 16 по цифровому каналу связи UART может получать информацию от двух источников информации: как от внешней ЭВМ (в режиме управления от внешней ЭВМ), так от микроконтроллера связи с органами ручного управления и системой индикации 5 (в режиме ручного управления). При этом единовременно информация в управляющий микроконтроллер 16 может поступать только от одного источника информации (определяется режимом работы имитатора пространственного радиолокационного сигнала). Переключение источников информации для управляющего микроконтроллера осуществляется при помощи блока коммутации 17. Блок коммутации 17 осуществляет коммутацию и ретрансляцию управляющей информации, поступающей от внешней ЭВМ или микроконтроллера связи с системой индикации и органами ручного управления 20. Направление коммутации определяется режимом работы имитатора пространственного радиолокационного сигнала (задается оператором).

[74]

В режиме управления от внешней ЭВМ управляющая информация, формируемая на ЭВМ и передаваемая по цифровому каналу связи RS-232, поступает на вход блока конвертации логических уровней 18, где происходит конвертация интерфейса RS-232 в интерфейс UART. Таким образом, в режиме управления от внешней ЭВМ управляющая информация с ЭВМ поступает на вход блока конвертации логических уровней 18, после чего поступает в блок коммутации 17, затем в управляющий микроконтроллер 16.

[75]

В ручном режиме управления управляющая информация, формируется в микроконтроллере связи с органами ручного управления и системой индикации 20 при помощи использования оператором системы индикации и органов ручного управления 5. Блок дискретной логики и согласующих элементов 22 предназначен для расширения аппаратных возможностей микроконтроллера связи с органами ручного управления и системой индикации 20. Блок дискретной логики и согласующих элементов 22 обеспечивает устранения дребезга кнопок из состава органов ручного управления, расширение количества портов ввода/вывода микроконтроллера связи с органами ручного управления и системой индикации 20, формирование управляющих логических сигналов. Энергонезависимая память 21 обеспечивает хранение графической информации, предназначенной для вывода на ЖК-дисплей из состава системы индикации. Блок преобразования и согласования напряжений 24 обеспечивает защиту микроконтроллера связи с органами ручного управления и системой индикации 20 от возможных скачков питающих напряжений при проведении контроля питающих напряжений. Для правильного контроля питающих напряжений используется независимый источник опорного напряжения 19. Модуль преобразования и согласования напряжений 23 обеспечивает вывод питающих напряжений на контрольный разъем и систему индикации и защиту цепей контроля питания от перегрузок по току и короткого замыкания.

[76]

Таким образом, в режиме ручного управления управляющая информация, формируемая микроконтроллером связи с органами ручного управления и системой индикации 20 (информация формируется при помощи использования оператором системы индикации и органов ручного управления 5) поступает в блок коммутации 17, затем в управляющий микроконтроллер 16.

[77]

В канале формирования сигнала 7 микроконтроллер канала 8 работает согласно информации, получаемой от модуля управления и контроля 4, управляя при этом входящими в состав синтезатором частоты 9 и устройством управления амплитудой 10, а также передавая информацию на модуль формирования временной задержки 1.

[78]

В каждом канале формирования сигнала 7 при помощи синтезатора частоты 9 формируется монохроматический сигнал с необходимой частотой (частотой доплеровского смещения) и фазой. Сгенерированный синтезатором частоты 9 сигнал последовательно подается на устройство управления амплитудой 10, согласующий усилитель 11 и импульсный модулятор 12, на управляющий вход которого соединен с модулем формирования временной задержки 1. С выхода импульсного модулятора сформированный сигнал поступает на вход каждого смесителя 14 соответствующего канала. Образованный в смесителе 14 комбинационный сигнал поступает с выхода смесителя 14 на СВЧ выход имитатора, затем на излучающие антенны (на фиг. не показаны).

[79]

Обеспечение необходимыми питающими напряжениями модуля формирования временной задержки 1, многоканального модуля формирования сигнала 2, модуля управления и контроля 4, системы индикации и органов ручного управления 5 осуществляется при помощи системы энергообеспечения 6.

[80]

Электропитание имитатора пространственного радиолокационного сигнала осуществляется от сети переменного тока напряжением 230 В и частотой 50 Гц.

[81]

Конструктивно имитатор радиолокационного сигнала заключен в корпус.

Как компенсировать расходы
на инновационную разработку
Похожие патенты