патент
№ RU 2620175
МПК F16H41/02

РЕГУЛИРУЕМЫЙ ГИДРОТРАНСФОРМАТОР

Авторы:
Ерусланкин Сергей Александрович Егоров Олег Владимирович Сантоян Хорен Хоренович
Все (9)
Номер заявки
2016125564
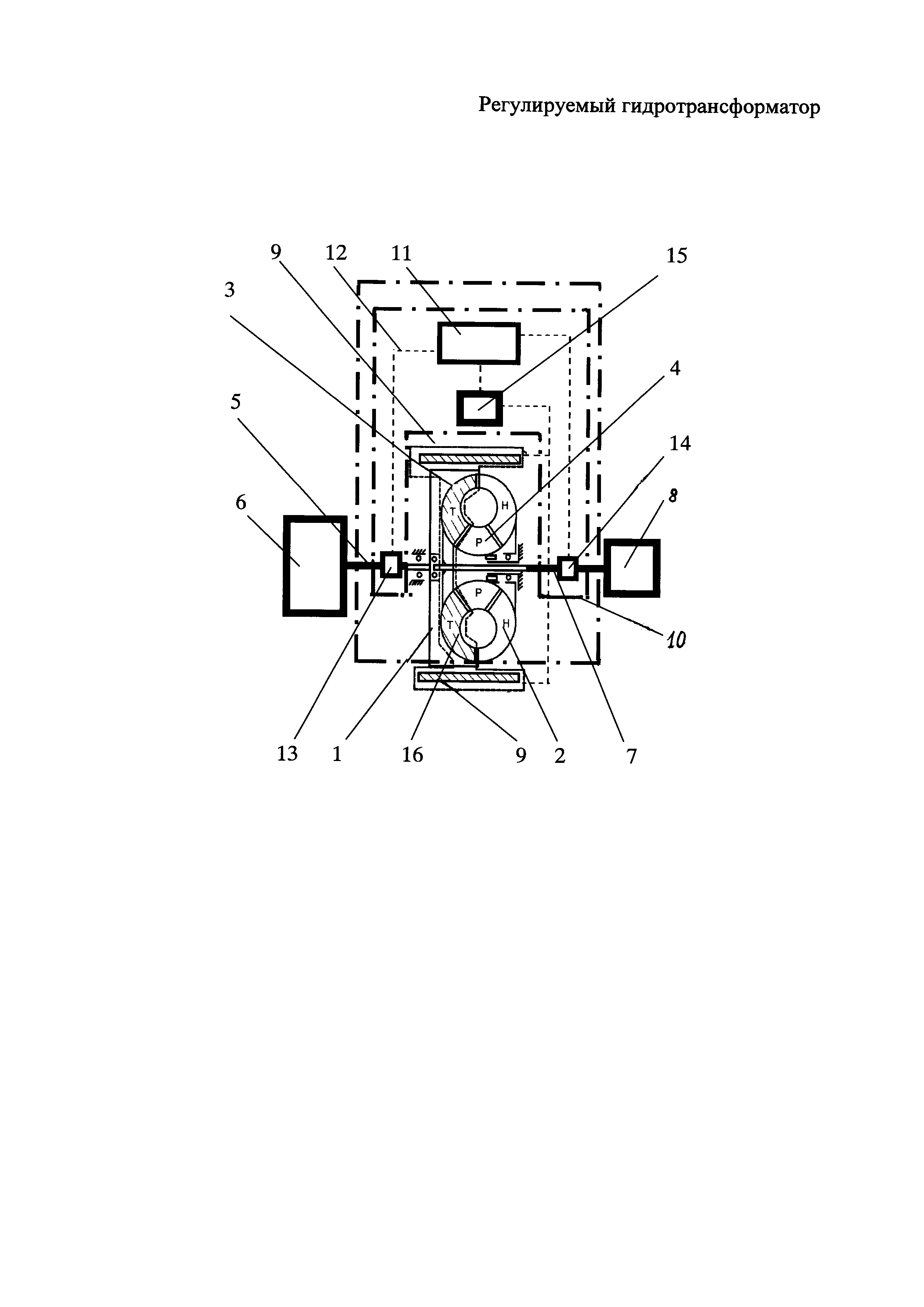
Дата подачи заявки
27.06.2016
Опубликовано
23.05.2017
Страна
RU
Как управлять
интеллектуальной собственностью
Чертежи 
1
Реферат

[15]

Изобретение относится к машиностроению. Регулируемый гидротрансформатор содержит корпус, заполненный рабочей жидкостью, с размещенными в нем насосным и турбинным колесами, а также реактором. Насосное и турбинное колеса жестко связаны с ведущим и ведомым валами. Гидротрансформатор снабжен вентильно-индукторным электроприводом и управляющей системой, состоящей из блока управления, датчиков угловой скорости, а также блока преобразования питания. Датчики угловой скорости установлены на ведущем и ведомом валах. Вентильно-индукторный электропривод выполнен в виде статора, установлен на внешней поверхности корпуса гидротрансформатора и подключен к блоку преобразования питания. На турбинном колесе установлен пакет из листового магнитомягкого материала с возможностью взаимодействия со статором посредством вращающегося электромагнитного поля. Снижаются механические потери. 1 ил.

Формула изобретения

Регулируемый гидротрансформатор, содержащий корпус, заполненный рабочей жидкостью, с размещенными в нем насосным и турбинным колесами, а также реактором, при этом насосное и турбинное колеса жестко связаны с ведущим и ведомым валами, соответственно, а реактор выполнен подвижным относительно насосного и турбинного колес с подвижным и неподвижным венцами, отличающийся тем, что устройство дополнительно снабжено вентильно-индукторным электроприводом и управляющей системой, состоящей из блока управления, датчиков угловой скорости, а также блока преобразования питания, при этом датчики угловой скорости установлены на ведущем и ведомом валах, вентильно-индукторный электропривод выполнен в виде статора, установлен на внешней поверхности корпуса гидротрансформатора и подключен к блоку преобразования питания, а на турбинном колесе установлен пакет из листового магнитомягкого материала с возможностью взаимодействия со статором посредством вращающегося электромагнитного поля.

Описание

[1]

Изобретение относится к области машиностроения, преимущественно к устройствам гидродинамических передач транспортных средств.

[2]

Известно устройство гидротрансформаторов, содержащее корпус с размещенными в нем насосным и турбинным колесами и реактором. Каждое рабочее колесо состоит из трех частей: входной, средней и выходной. Лопатки каждой средней части представляют собой одно целое с чашей и тором. Входная и выходная части выполнены сменные, прикреплены к средней части и содержат две втулки, соединенные с чашей и тором. Между втулками установлены сменные лопатки, плавно сопрягаемые с лопатками сменной части (см. АС СССР №241187, МПК F16H 41/00, опубл. 1969 г.).

[3]

Недостаток устройства состоит в том, что гидротрансформатор является экспериментальным и применим в узкой области, а именно для исследования влияния геометрических параметров на передаточные свойства гидротрансформатора.

[4]

Кроме того, известно устройство гидротрансформатора, принятое в качестве прототипа, содержащее корпус, с размещенными в нем насосным и турбинным колесами и реактором с несколькими лопаточными венцами. Длина лопаток каждого венца реактора равна ширине всего реактора, при этом один из венцов выполнен неподвижным, а остальные - поворотными вокруг оси гидротрансформатора (см. АС СССР №369317, МПК F16H 48/08, опубл. 1973 г.).

[5]

Известное устройство позволяет повысить энергоемкость - момент ведущего вала и мощность гидротрансформатора, однако имеет следующие недостатки: малый диапазон регулирования, сложность конструкции, низкий ресурс работы в связи с наличием в конструкции трущихся поверхностей, что в итоге приводит к снижению надежности.

[6]

Технической задачей настоящего изобретения является снижение механических потерь между насосным и турбинным колесами.

[7]

Решение поставленной технической задачи становится возможным благодаря тому, что в регулируемом гидротрансформаторе, содержащем корпус, заполненный рабочей жидкостью, с размещенными в нем насосным и турбинным колесами, а также реактором, при этом насосное и турбинное колеса жестко связаны с ведущим и ведомым валами, соответственно, а реактор выполнен подвижным относительно насосного и турбинного колес с подвижным и неподвижным венцами, согласно изобретению устройство дополнительно снабжено вентильно-индукторным электроприводом и управляющей системой, состоящей из блока управления, датчиков угловой скорости, а также блока преобразования питания, при этом датчики угловой скорости установлены на ведущем и ведомом валах, вентильно-индукторный электропривод выполнен в виде статора, установлен на внешней поверхности корпуса гидротрансформатора и подключен к блоку преобразования питания, а на турбинном колесе установлен пакет из листового магнитомягкого материала с возможностью взаимодействия со статором посредством вращающегося электромагнитного поля.

[8]

Решение поставленной технической задачи достигается за счет дополнительного снабжения гидротрансформатора вентильно-индукторным электроприводом и управляющей системой, что позволяет формировать вращающееся электромагнитное поле, взаимодействующее с пакетом из листового магнитомягкого материала, установленного на турбинном колесе. При этом сформированное электромагнитное поле дополнительно воздействует на турбинное колесо, снижая механические потери и расширяя диапазон регулирования гидротрансформатора.

[9]

Изобретение поясняется чертежом, где изображена схема регулируемого гидротрансформатора. На чертеже приведены следующие буквенные обозначения: Н - насосное колесо; Т - турбинное колесо; Р - реактор, пунктирной линией показана электросвязь между элементами управления гидротрансформатора.

[10]

Регулируемый гидротрансформатор содержит корпус 1, заполненный рабочей жидкостью, с размещенными в нем насосным и турбинным колесами 2 и 3 и реактором 4. При этом насосное и турбинное колеса 2 и 3 связаны с ведущим валом 5 и приводом - двигателем 6 внутреннего сгорания, а турбинное колесо 3-е ведомым валом 7 и коробкой 8 переключения передач. Реактор 4 выполнен подвижным относительно насосного и турбинного колес 2 и 3 с подвижными и неподвижным венцами (на чертеже не обозначены). Регулируемый гидротрансформатор дополнительно снабжен вентильно-индукторным электроприводом 9 и управляющей системой 10. Последняя состоит из блока 11 управления и подключенных к нему через электропровода 12 датчиков угловой скорости - тахометров 13 и 14, установленных на ведущем и ведомом валах 5 и 7, соответственно, а также блока 15 преобразования питания. При этом вентильно-индукторный электропривод 9 выполнен в виде статора, установлен на внешней поверхности корпуса 1 гидротрансформатора и подключен к блоку 15 преобразования питания. Причем на поверхности турбинного колеса 3 установлен пакет 16 из листового магнитомягкого материала, который имеет возможность взаимодействовать с вентильно-индукторным электроприводом 9 в виде статора посредством вращающегося электромагнитного поля.

[11]

Регулируемый гидротрансформатор работает следующим образом.

[12]

При работе двигателя 6 внутреннего сгорания, крутящий момент ведущего вала 5 передается на насосное колесо 2, расположенное в корпусе 1 гидротрансформатора. Перетекание рабочей жидкости в корпусе 1 гидротрансформатора от насосного колеса 2 через реактор 4 приводит в движение ротор - турбинное колесо 3 вместе с пакетом 16 из листового магнитомягкого материала. Управляющая система 10 включает в себя датчики угловой скорости - тахометры 13 и 14, расположенные на ведущем и ведомом валах 5 и 7, соответственно, блок 15 преобразования питания, блок 11 управляющей системы. Управляющая система 10 предназначена для определения угловых скоростей ведущего и ведомого валов 5 и 7, а также для подачи сигнала по электропроводам 12 на турбинное колесо 3 с пакетом 16 из листового магнитомягкого материала. При изменении нагрузки на ведомом валу 7 возникает разность угловых скоростей на ведущем и ведомом валах 5 и 7, которую определяет блок 11 управления. При этом повышаются механические потери в корпусе 1 гидротрансформатора, связанные с недостаточной передачей количества энергии рабочей жидкости от насосного колеса 2 к турбинному колесу 3. Далее сформированное между вентильно-индукторным электроприводом 9 и ротором - турбинным колесом 3, вращающееся электромагнитное поле воздействует через корпус 1 гидротрансформатора на пакет 16 из листового магнитомягкого материала, дополнительно вращая турбинное колесо 3, компенсируя ранее появившиеся механические потери. Угловые скорости соответствующих ведущего и ведомого валов 5 и 7 выравниваются, и управляющая система 10 прекращает подачу сигнала по электропроводам 12 через блок 15 преобразования питания на вентильно-индукторный электропривод 9, передавая заданный крутящий момент на ведомый вал 7 и коробку 8 переключения передач.

[13]

Регулируемый гидротрансформатор за счет использования в составе вентильно-индукторного электропривода 9, выполненного в виде статора, и ротора - турбинного колеса 3 с пакетом 16 из листового магнитомягкого материала, а также управляющей системы 10, позволяет обеспечить повышение угловой скорости (крутящего момента) ротора - турбинного колеса 3 при компенсации значительной части механических потерь между насосным и турбинным колесами 5 и 7 в широком диапазоне, практически безынерционно, что, в итоге позволяет повысить коэффициент полезного действия гидродинамической передачи в целом.

[14]

Таким образом, изобретение позволяет снизить механические потери между насосным и турбинным колесами.

Как компенсировать расходы
на инновационную разработку
Похожие патенты